Технология производства яблочного пюре со смородиной
Министерство образования и науки Украины
ОНАПТ
Кафедра: БКПиН
Реферат
На тему: « Технология производства яблочного пюре со смородиной»
Студентки: Чёрной А.А.
Группа: ТЛ-33б
№ зачетной книжки: 110068
Преподаватель: доцент, Палвашова А.И.
Одесса, 2013
Содержание:
- История возникновения яблочного пюре………………………4
- Пищевая ценность сырья, их сорта и характеристика…………6
- Технологическая схема производства………………………….10
- Описание технологической схемы……………………………..11
- Пищевая ценность консервы……………………………………17
Введение

Консервированное пюре это консервы, полученные путем протирания и (или) предварительной ферментной обработки плодов, овощей или бахчевых культур с добавлением пищевых кислот, пищевых добавок, сахара и поваренной соли или без них (неконцентрированные) концентрированные.
Пюре классифицируют:
- по способу консервирования на две группы стерилизованные и консервированные химическими консервантами.
Стерилизованные пюре выпускают как готовый продукт и как полуфабрикат, предназначенный для дальнейшей переработки. На основе стерилизованных пюре готовят пюреобразные консервы для детского питания, соусы и пасты:
- по технологии изготовления пюре и концентрированное пюре (соусы, пасты);
- по используемому сырью плодово-ягодные, овощные, из смеси плодоовощного сырья.
Пищевая ценность пюре характеризуется высоким содержанием питательных веществ, содержащихся в исходном сырье.
Требования к сырью
Сырье для производства пюре должно быть свежим, здоровым, с максимальным содержанием сухих растворимых веществ, пектина и органических кислот. Это обеспечивает желирующую консистенцию и необходимый выход готовых продуктов, получаемых из пюре. Для производства пюре используют плоды технической или близкой к потребительской стадии зрелости. Недозревшие и перезревшие плоды дают плохо желирующее пюре с пониженным вкусом и ароматом.
Для получения пюреобразных продуктов форма и внешний вид плодов значения не имеют, но по размеру желательно применять более крупные плоды, поскольку косточка и семенная камера в крупных плодах занимают меньший удельный вес, чем в мелких плодах. Это снижает отходы, увеличивает выход пюре при протирании. Кроме того, для производства пюре можно использовать отходы (кожицу, сердцевину), образовавшиеся при подготовке плодов для других видов консервов (компотов, варенья). При переработке яблок на сок пюре получают из выжимок после отделения сока. Такое пюре имеет более густую консистенцию и характеризуется высоким содержанием пектина.
История возникновения яблочного пюре.
Питание детей до года невозможно представить себе без овощного или фруктового пюре, заботливо протертого мамой через ситечко. Детки еще не могут есть твердую пищу, и пюре это единственная возможность познакомить их со вкусом «взрослой» пищи.
Особенно любимо детьми фруктовое пюре и это вовсе неудивительно, ведь оно отличается нежной консистенцией и приятным вкусом. Данное блюдо обогатит организм малыша минеральными веществами, растительными волокнами и полезными витаминами. Первое пюре для ребенка обязательно должно быть однокомпонентным, например, только из груш или яблок, затем можно попробовать дать ребенку пюре из абрикосов или слив, а вот с экзотическими фруктами нужно повременить. Но не только детки отдают предпочтение этому блюду яблочное, абрикосовое и грушевое пюре заслуженно любимы и взрослыми, ведь это и самостоятельное блюдо, и отличная начинка для выпечки.
Пожалуй, ответа на загадку-головоломку «кто придумал фруктовое пюре?» нам уже не найти, да и не такая уж у него сложная технология изготовления, как, например, у мороженого. Зато можно проследить происхождение слова «пюре», которое пришло в наш язык из французского еще в середине XIX века, слово это страдательное причастие от глагола «очищать» (purer).

Кстати, во Франции и по сей день невероятно популярны chaussons aux pommes - слоеные пирожки с фруктовой начинкой, которое и представляет собой яблочное пюре. Впрочем, интересно то, что французы зовут это сладкое лакомство компот (compote).
Рецепт этого сладкого блюда не представляет никакой загадки для взрослых. Вам понадобится взять 1 кг яблок, очистить плоды от семенных коробочек и кожуры. Мякоть порезать небольшими кубиками, сложить их в кастрюлю и добавить все остальные ингредиенты: 2 столовых ложек сахара, такое же количество воды и лимонного сока, пакетик ванильного сахара и корицу по вкусу (с ней пюре получится необычайно пряным и вкусным). Накройте кастрюлю крышкой и доведите смесь компонентов до кипения, варите «компот» около 10 минут на среднем огне, не забывая помешивать время от времени. Конечно же, время варки напрямую будет зависеть от сорта яблок, вполне возможно, что если они будут мягкими, то время приготовления уменьшится. Варить яблоки следует под закрытой крышкой это поможет жидкости меньше испаряться. Потом сырье следует немного охладить и превратить в пюре, используя блендер. Если вам хочется, то можно добавить немного корицы. Такое яблочное пюре можно после охлаждения подавать на стол, а можно и использовать в качестве начинки для сладкой выпечки.
Кстати, необходимо заметить, что фруктовое пюре является составной частью многих распространенных десертов, например, пюре из манго используется для приготовления суфле из этого тропического плода. А ананасовое пюре это один из компонентов для приготовления мусса из ананаса.
Как видите, вроде бы обычное блюдо, которым мы с удовольствием кормим наших деток, имеет довольно богатую историю и весьма широкую область применения, вот почему каждая хорошая хозяйка должна знать несколько рецептов приготовления фруктового пюре.
Пищевая ценность сырья:

Сорта яблок:
РЕД ДЕЛИШЕС (RED DELICIOUS)
Это один из классических сортов - одно из самых популярных яблок для перекуса. Этот плод в форме сердца трудно спутать с плодами других сортов. Темно-карминовый, изящный, с прочной глянцевой кожицей - он, поистине, величав. Хрустящие яблоки с нежным сладким вкусом и бело-кремовой сочной мякотью лучше всего подходят для салатов. "Делишес" долгое время сохраняется.
ГОЛЬДЕН ДЕЛИШЕС (GOLDEN DELICIOUS)
Гольден Делишес подходит для всего. Этими сладкими, сочными и хрустящими яблоками можно перекусывать просто так, использовать в выпечке и для салатов. Их мякоть остается белоснежной дольше любых других яблок.
ГАЛА (GALA)
Созревает этот сорт в конце августа, и его гладкая, блестящая кожица переливается всеми красками осеннего листопада: лимонно-желтыми, огненно-оранжевыми, красными. Яблоки Гала хрустящие, с плотной и сочной мякотью, ароматные и сладкие. Яблоко источает аромат свежести, орехов и карамели. В основном, яблоки употребляют просто так или для салатов и соусов. Несмотря на то, что собирают их рано, плоды хорошо хранятся в холодильнике до февраля-марта.
ФУДЖИ (FUJI)
Созревает в конце октября, словно пытается вобрать в себя каждую частичку уходящего с осенними днями тепла и дарить потом всякому, кто его отведает. "Фуджи" - настоящая экзотика родом из Японии. Это отличная замена фаст фуду и закускам с высоким содержанием сахара. Фуджи также отлично подходит для использования в выпечке и салатах. Яблоки фуджи округлые, красно-малинового цвета с хрустящей, скалывающейся сочной мякотью и великолепным сладким вкусом. Этот зимний сорт яблок в обычных условиях отлично хранится четыре месяца. В холодильнике он способен прекрасно сохранять свежесть и плотность до мая.
ГРАННИ СМИТ (GRANNY SMITH)
Круглое яблоко насыщенного ярко-зеленого цвета с плотной кожицей, необычайно кислым вкусом и твердой мякотью. Эти яблоки подходят как для использования в кулинарии, так и для употребления в свежем виде. Но особенно Гранни Смит хороши в пирогах. Этот сорт еще называют - "зеленый тоник". Благодаря своей сочности и кисловатому вкусу, Гранни Смит прекрасно утоляет жажду и источает запах зелени и цветов.
БРЭБЕРН (BRAEBURN)
Это сладкое, пряное яблоко. Гамма цветов - от оранжевого до красного на желтом фоне. Крепкое, сочное, хрустящее плотное яблоко с нежным сочетанием цветочного и фруктового ароматов лучше всего подходит для выпечки.
ДЖОНАГОЛД (JONAGOLD)
Это яблоко с оранжевым оттенком обладает кисло-сладким вкусом. Сорт отлично подходит для использования в кулинарии (особенно, в выпечке и салатах). Мякоть средней плотности, но несмотря на это, хранятся яблоки до марта.
ПИНК ЛЕДИ (PINK LADY)
Яблоко с плотной, хрустящей мякотью и необычным кисловатым вкусом. Его можно использовать и просто так, и в салатах, соусах и выпечке. Пинк Леди - один из последних собираемых сортов, время сбора выпадает на конец октября. Прохладные осенние ночи придают этому сорту его розовый цвет, благодаря которому яблоко получило свое название.
Пищевая ценность черной смородины:
Полная пищевая ценность (38 ккал)
|
Белки |
1 г |
Ненасыщеные жирные кислоты |
0.1 г |
|
Жиры |
0.2 г |
Моно- и дисахариды |
7.3 г |
|
Углеводы |
11.5 г |
Органические кислоты |
2.29 г |
|
Крахмал |
|
Холестерин |
|
|
Зола |
0.9 г |
Холин |
|
|
Пищевые волокна |
4.8 г |
Вода |
83.3 г |
Витамины
|
А |
В1 |
В2 |
В6 |
В9 |
С |
Е |
РР |
|
0,1 |
0,03 |
0,04 |
0,1 |
5 |
200 |
0,9 |
0,3 |
|
Микроэлементы Железо 1.3 мг Цинк 130 мкг Йод 1 мкг Медь 130 мкг Марганец 180 мкг Фтор 17 мкг Молибден 24 мкг Бор 55 мкг Кобальт 4 мкг |
Макроэлементы
|
Кальций |
36 мг |
|
Магний |
31 мг |
|
Натрий |
32 мг |
|
Калий |
350 мг |
|
Фосфор |
33 мг |
|
Хлор |
14 мг |
|
Сера |
2 мг |
Интересные факты о черной смородине
- Название «черная смородина» происходит от древнерусского слова «смородь», т.е. «сильный запах».
- Уже через две недели после того, как плоды смородины полностью созрели, потеря в них витамина С может достигать 70%.
- В ягодах смородины содержатся витамины В, Р, Е, каротин (витамин А), пектины, сахара, фосфорная кислота, дубильные вещества, эфирное масло, витамин группы К, соли фосфора, железа и калия.
- В ее листьях содержатся помимо витамина С, фитонциды, магний, марганец, серебро, медь, свинец, сера, эфирное масло.
- В черной смородине так высоко содержание витамина С, что для того, чтобы обеспечить суточную потребность организма в аскорбиновой кислоте достаточно ежедневно съедать всего 20 ягод.
- Смородина считается продуктом здорового и рационального питания, способствующего повышению иммунитета, оздоровлению и укреплению организма и полезна при различных заболеваниях.
- Черная смородина является прекрасным средством профилактики проблем с сердечно-сосудистой системой, болезни Альцгеймера и появления злокачественных новообразований. Выявлена е способность предупреждать развитие диабета, проблем со зрением и препятствовать ослаблению интеллектуальных способностей у пожилых людей. Полезна черная смородина при болезнях почек, печени и дыхательных путей. Особенно показана эта ягода при прогрессирующем атеросклерозе.
- Высокое содержание в черной смородине витамина К и фенольных соединений делает эту ягоду противопоказанной при тромбофлебите, а длительное и неограниченное ее потребление может привести к повышенной свертываемости крови.
- Противопоказана черная смородина при повышенной кислотности желудка, язве желудка и двенадцатиперстной кишки, при гиперацидных гастритах. Несмотря на то, что свежие ягоды и сок черной смородины разрешены при проблемах с печенью, их нельзя принимать при гепатите.
- 100% сок черной смородины может вызвать аллергическую реакцию особенно у детей, хотя в разумных дозах способствует повышению гемоглобина в крови.
- Некоторые специалисты считают, что в период беременности от применения смородинового сока в лечебных целях лучше отказаться.
Технологическая схема производства яблочного пюре.

Описание технологической схемы.
Технологический процесс производства пюре включает мойку и инспекцию, тепловую обработку, протирание и консервирование.
- Семечковые плоды моют в двух последовательно установленных моечных машинах: барабанной и вентиляторной, косточковые в вентиляторной, ягоды в моечно-встряхиающей. Для удаления посторонних примесей и загнивших или заплесневевших экземпляров мытые плоды инспектируют.

Тепловая обработка
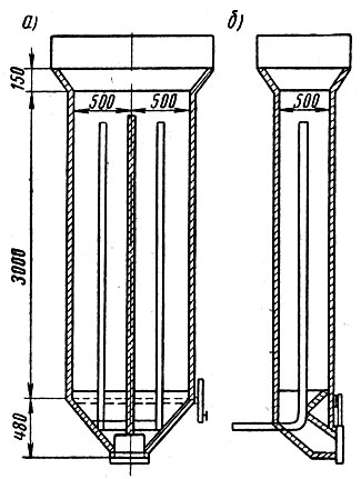
Для размягчения тканей некоторые виды плодов и ягод после инспекции подвергают тепловой обработке. Цель тепловой обработки размягчить ткань плодов для облегчения протирания и инактивировать окислительные ферменты. Тепловую обработку проводят преимущественно паром, а ягоды нагревают в воде (черная и красная смородина, клюква, брусника, крыжовник). Ягоды с нежной мякотью не бланшируют, а протирают в свежем виде (земляника, малина, черника, голубика). Основным оборудованием, используемым для нагревания плодов, являются шнековые подогреватели, шахтные шпарители и дигестеры.

Шнековый подогреватель состоит из двух расположенных один за другим цилиндрических горизонтальных корпусов, снабженных греющими рубашками. Внутри корпусов проходит общий вал со шнеком и мешалкой. Греющий пар подается в паровые рубашки и непосредственно вдувается в продукт через форсунки, расположенные в каждом корпусе. Температура разваривания 90-96°С. Благодаря комбинированному нагреву разжижения фруктовой массы в шнековом подогревателе практически не происходит, так как наряду с накоплением конденсата из продукта удаляется влага.
В вертикальном шахтном шпарителе, используемом для прошпаривания семечковых плодов, сырье проходит сверху вниз через деревянную шахту и по пути обрабатывается баротирующим паром из барботера, проходящего через центр шахты. Плоды выходят снизу, и весь конденсат, образующийся при шпарке, остается в пюре, что снижает содержание в нем сухих веществ.
Под влиянием нагревания и кислот, присутствующих в плодах, происходит гидролиз протопектина, находящегося в срединных пластинках и клеточных стенках. При этом связь между клетками нарушается, часть их стенок разрушается и ткань размягчается. Тепловая обработка (шпарка) увеличивает выход пюре.
В зависимости от вида плодов и степени их зрелости продолжительность и температура тепловой обработки подбираются индивидуально, так чтобы мякоть плодов размягчилась по всей глубине. При недостаточной тепловой обработке образуются значительные отходы при протирании.
При чрезмерной термической обработке плоды сильно развариваются, происходит глубокий распад пектиновых веществ. В результате пюре получается жидким, снижаются его желирующие свойства.
Инактивация ферментов при термической обработке предотвращает окисление дубильных веществ кислородом воздуха и образование темноокрашенных продуктов окисления флобафенов, поэтому недостаточная тепловая обработка может вызывать потемнение пюре при протирании.
Кроме того, при тепловой обработке плодов и ягод происходят удаление воздуха из тканей и частичная карамелизация сахаров
, приводящая к появлению желтоватой окраски у плодов со светлой мякотью.
Протирание
После тепловой обработки плоды и ягоды сразу поступают на протирочные машины.
Плодовая масса при этом разделяется на две фракции: жидкую, состоящую из измельченной мякоти, и твердую, включающую семена, кожицу и косточки. При протирании косточковых плодов используют проволочные или резиновые бичи, которые не разбивают косточки. В зависимости от перерабатываемого сырья бичи применяют разных конструкций.
Для первого протирания используют сита диаметром отверстий 1-1,5 мм, для второго сита диаметром отверстий 0,5-0,8 мм. Качество протирания контролируют по отсутствию в пюре дробленых косточек, кожицы, семенных камер и огрубевших частиц мякоти. Второе протирание называется финишированием. В результате финиширования пюре приобретает тонкоизмельченную нежную консистенцию. Отходы, образующиеся при протирании, являются вторичным сырьем для производства пектинового концентрата (яблочные выжимки), активированного угля (скорлупа косточковых плодов), жирных масел (семена косточковых плодов).

Расфасовка и стерилизация
Пюре расфасовывают в стеклянные и металлические банки вместимостью до 3 дм3 и более.
При фасовке в тару вместимостью не более 3 дм3 пюре нагревают до 85-90°С и в дальнейшем подвергают стерилизации. При фасовке в тару вместимостью более 3 дм3 пюре нагревают до 95-97°С, сразу укупоривают, укладывают на бок на 10-15 мин для стерилизации верхнего незаполненного пространства и крышек и передают на хранение без стерилизации.
Пюре в стеклянных и металлических банках вместимостью не более 3 дм3 стерилизуют в автоклавах при 90°С для пюре из плодов с высокой кислотностью, при 100°С для всех остальных плодов и ягод. Пюре из темноокрашенных плодов и ягод фасуют только в стеклянные банки (черная смородина, вишня, клюква, черника, голубика).
Консервированные пюре-полуфабрикаты с химическими консервантами (сернистая кислота, сорбиновая кислота, бензойнокислый натрий) используются только как полуфабрикаты для кондитерской промышленности. Вводят химические консерванты непосредственно после протирки, не допуская больших задержек. Обычно пюре консервируют, когда оно охладится до 40-50°С. Консерванты добавляют в смеситель в закрытом резервуаре с мешалкой в виде раствора. При сульфитировании пюре лучше использовать баллон с сернистым ангидридом. Учитывая токсичность сернистой кислоты, обязательным условием является десульфитация перед использованием его в пищевой промышленности. Основная задача десульфитации заключается не только в том, чтобы готовый продукт содержал остаточное количество SО2 в допустимых нормах (не более 0,002%), но и избавить от постороннего неприятного привкуса и запаха.
Десульфитацию обычно проводят простым кипячением с водой в варочной аппаратуре из эмалированной или нержавеющей стали. Добавляют сахар для варки продукта только после достижения необходимой полноты десульфитации. На процесс десульфитации влияет вязкость пюре, поэтому при десульфитации горячую воду добавляют несколько раз.
Лучшим способом консервировния пюре-полуфабрикатов является асептическое консервирование.
Для асептического консервирования и хранения фруктовых пюре применяют комплекс А9-КЛЮ, в котором пюре стерилизуют путем впрыскивания острого пара и последовательно охлаждают в атмосферном и вакуумном охладителе, затем хранят в резервуарах вместимостью 100 м3 в асептических условиях.
Концентрированное пюре это пюре, полученное удалением путем физического воздействия части содержащейся в нем воды с целью увеличения содержания растворимых сухих веществ не менее чем на 50%. Также оно может быть изготовлено путем смешивания концентрированных фруктовых и/или овощных пюре.
Фруктовая паста относится к концентрированным пюре. Она представляет собой натуральный продукт, полученный путем уваривания пюре из одного или двух видов плодов, а также смеси плодов и овощей. В зависимости от видов используемого сырья пасту вырабатывают с содержанием 20-60% сухих веществ. Технологический процесс производства пюре для пасты аналогичен производству стерилизованного пюре. Отличие в том, что протирание должно проводиться на строенной протирочной машине с диаметром отверстий сит 1,2; 0,8 и 0,4 мм. Более тонкое измельчение массы необходимо для придания готовому продукту более нежной, гомогенной консистенции.
Так, например, вырабатывают пасту из винограда светло-и темно-окрашенных среднеазиатских сортов. Виноград моют, инспектируют, отделяют гребни на гребнеотделителе. Ягоды бланшируют в шнековом подогревателе 5-8 мин при 100°С, затем протирают на протирочной машине.
На основе виноградного пюре готовят двухкомпонентные пасты: виноградно-сливовую и виноградно-яблочную. Подготовленные пюре стерилизуют в теплообменниках при 100°С в течение 120 с или при 110°С в течение 30 с, затем охлаждают до 75-80°С и подают на уваривание в вакуум-аппарат. Уваренную массу нагревают до 85°С и фасуют в тару вместимостью 10 л.
Пасту в банках вместимостью 0,25-1 дм3 стерилизуют в автоклавах при 100°С в течение 25-40 мин в зависимости от вместимости тары. Готовая паста должна иметь мажущуюся или слегка зернистую консистенцию, однородный, близкий к натуральному цвет, кисловато-сладкий вкус. Для айвовой и грушевой пасты допускается наличие каменистых клеток, для виноградной пасты кристаллов винного камня, растворимых в воде при 70°С. За рубежом популярны фруктово-ягодные и фруктово-овощные пасты, изготавливаемые из мякоти плодов с добавлением сахара. Фруктово-овощные пасты (арбузная, арбузно-томатная и томатно-яблочная) получают увариванием свежей протертой арбузной мякоти в вакуум-выпарных аппаратах или увариванием смеси свежих томатов и яблок или из пюре-полуфабрикатов, заготовленных асептическим способом. Паста имеет приятные вкус и аромат, ярко-красный цвет; может использоваться при приготовлении различных кулинарных блюд.
Соусы представляют собой протертую фруктовую массу, уваренную с сахаром. К соусам относятся соус яблочный, отличающийся высоким содержанием сухих веществ (до 23%), овощной соус из кабачков (до 22% сухих веществ), а также консервы-полуфабрикаты для общественного питания (соус луковый, соус тыквенный). Из плодов и овощей вначале получают стерилизованное пюре по принятой для стерилизованного пюре технологии. Протертую массу помещают в двустенный котел с мешалкой и добавляют к ней просеянный сахарный песок в соотношении примерно 10:1. Смесь тщательно перемешивают, доводят до кипения и уваривают при кипении до содержания сухих веществ не менее 21%, в абрикосовом соусе не менее 23% сухих веществ.
На вкусовые качества соуса влияет сахарокислотный коэффициент, поэтому лучшими по качеству являются соусы из плодов, содержащих 0,4-0,6% кислот.
После уваривания соус быстро расфасовывают при температуре не ниже 85°С. Соус фасуют в подготовленные стеклянные или металлические лакированные банки вместимостью до 1 дм3. Наполненные банки сразу укупоривают и передают на стерилизацию при 100°С в течение 12-18 мин в зависимости от вместимости тары.
Технология производства плодово-ягодного натурального пюре на производствах детского питания.
Подготовленное сырье, как и в других случаях консервирования, бланшируют до размягчения, но не разваривают.
Бланширование проводят с учетом вида сырья, сорта, степени зрелости и характеристики шпарителя. Однако время бланширования для яблок и груш не должно превышать 15 мин, для косточковых 10 мин при температуре 100 °С. Черную смородину, крыжовник бланшируют 3-8 мин в воде при температуре 90-100 °С. Количество воды должно составлять 10-15 % массы сырья. Такие ягоды, как землянику и малину, не бланшируют. В процессе бланширования необходимо обеспечить равномерное прогревание плодов и ягод.
Протирание плодов и ягод проводят сразу же после бланширования: семечковые плоды и ягоды на протирочных машинах, а косточковые на протирочных машинах с проволочными бичами или с бичами с резиновыми накладками. Полученную массу вторично протирают на финишере с диаметром отверстий сита 0,4 мм. Качество протирания контролируют по отсутствию в пюре дробленых косточек, кожицы, частей семенных камер и грубых частей плодовой мякоти.
Подогрев, фасование и укупоривание. Подогревать пюре можно в открытых котлах и трубчатых подогревателях до температуры не ниже 85 °С, а в случае горячего розлива не ниже 95-97 °С.
Натуральное пюре фасуют в стеклянную или жестяную лакированную тару вместимостью не более 1 дм3 и укупоривают (герметизируют). По договоренности допускается фасование пюре в банки вместимостью до 3 дм3. Пюре из черной смородины, вишни, клюквы, черники расфасовывают только в стеклянную тару.
Стерилизация. Укупоренные банки типа І-82-1000 стерилизуют по формуле 25-30-25 мин при температуре 100 °С и давлении 147 кПа. Этот режим стерилизации разработан для натурального плодово-ягодного пюре.
Массовая доля сухих веществ в натуральном пюре должна быть не менее 13 % для абрикосового и вишневого, 12 для сливового и черносмородинового, 11 для яблочного и 8,5 % для земляничного.
Пищевая ценность яблочного пюре со смородиной: