ПРОЕКТИРОВАНИЕ МЕХАНИЧЕСКОГО ПРИВОДА С ЦИЛИНДРИЧЕСКИМ РЕДУКТОРОМ
Министерство транспорта Российской Федерации
Федеральное агентство железнодорожного транспорта
Федеральное государственное бюджетное образовательное учреждение
высшего профессионального образования
Омский государственный университет
путей сообщения (ОмГУПС (ОмИИТ))
Кафедра: «Теория механизмов и детали машин»
ПРОЕКТИРОВАНИЕ МЕХАНИЧЕСКОГО ПРИВОДА
С ЦИЛИНДРИЧЕСКИМ РЕДУКТОРОМ
Пояснительная записка к курсовому проекту по дисциплине
«Детали машин и основы конструирования»
ИНМВ.314500.000 ПЗ
|
Студент гр. 12 Б __________ А. И. Турков __________ Руководитель к. т. н., доцент, __________ В. В. Иванов |
Омск 2015
Реферат
Курсовой проект содержит 56 страниц, 27 рисунков, 4 таблицы, 7 источников, 3 приложения, 5 листа графического материала.
Ременная передача, редуктор, зубчатое колесо, подшипник, муфта, шпонка.
Объектом проектирования является механический привод, состоящий из электродвигателя, ременной передачи и цилиндрического двухступенчатого редуктора.
Цель работы закрепление теоретических знаний в области прочностных расчетов деталей машин и приобретение опыта конструирования.
Выполненные расчеты позволили определить геометрические и конструктивные размеры деталей, проверить их на прочность, выполнить эскизную компоновочную схему, сборочный чертеж редуктора, рабочие чертежи деталей.
Содержание
|
Введние…………………………………………………………………………… Исходные данные…….…………………….…………………………………. 1 Выбор электродвигателя…………………………………………………… 2 Расчет ременной передачи ………………………………………………… 3 Расчет и конструирование цилиндрического двухступенчатого редуктора…………………………..………………………….……………. 3.1 Кинематический расчет…….…………………….………………………. 3.2 Материалы зубчатых колес.……………………...………………………. 3.3 Расчет межосевого расстояния и геометрических параметров быстроходной ступени редуктора (колеса косозубые)………………… 3.4 Расчет межосевого расстояния и геометрических параметров тихоходной ступени редуктора (колеса прямозубые)………………….. 3.5 Ориентировочный расчет и конструирование валов.…..…………….... 3.6 Выбор подшипников качения…..………………..………………............ 3.7 Конструирование зубчатых колес…..…………………………………… 3.8 Конструирование крышек подшипников……………………………….. 3.9 Конструирование корпуса редуктора…………………………………… 3.10 Компоновочная схема редуктора………………………………………. 3.11 Расчет валов на совместное действие изгиба и кручения……………. 3.12 Расчет подшипников качения………………………………………….. 3.13 Проверка прочности шпоночных соединений………………………... 3.14 Выбор и расчет муфты………………………………………………….. 3.15 Выбор марки масла для зубчатых передач и подшипников…………. 3.16 Рекомендуемые посадки деталей………………………………………. Заключение…………………………………………………………………..…... Библиографический список………………………….………...………….......... |
5 6 7 8 14 14 15 16 22 25 30 30 33 34 39 41 47 49 51 53 54 55 56 |
Введение
Целью выполнения проекта является закрепление знаний, полученных из ранее освоенных дисциплин и использование их при проектировании механического привода.
Задачей работы является подбор электродвигателя, выполнение кинематического расчета, расчет ременной передачи и редуктора, определение геометрических и конструктивных размеров деталей и проверок их на прочность.
При выполнении графической части проекта использованы результаты проведенных расчетов.
Поставленные задачи решались с учетом изменений в действующих стандартах и рекомендаций, учитывающих опыт создания и эксплуатации подобных устройств.
Исходные данные
1. Режим работы постоянный, нереверсивный.
2. Мощность на выходном валу редуктора Р3 = 3,3 кВт.
3. Частота вращения выходного вала редуктора n3 = 70 об/мин.
4. Частота вращения (синхронная вала электродвигателя nс = 1000 об/мин.
5. Электродвигатель соединен с редуктором посредством клиноременной передачи.
6. Редуктор соединен с приемным валом машины посредством фланцевой муфты.
7. Ступени редуктора: быстроходная косозубая; тихоходная прямозубая.
8. Опоры валов редуктора выполнить в виде подшипников качения.
9. Смазка жидкая индустриальными маслами окунанием. Определить марку масла.
10. Долговечность передачи принять Lh = 18000 часов.
1 ВЫБОР ЭЛЕКТРОДВИГАТЕЛЯ
Потребная мощность электродвигателя для привода, кВт,
, (1.1)
где Р3 мощность на выходном валу редуктора, кВт;
коэффициент полезного действия (КПД) привода,
, (1.2)
где р = 0,95 КПД ременной передачи;
б = т = 0,98 КПД быстроходной и тихоходной ступени редуктора (для зубчатой цилиндрической передачи);
п = 0,99 КПД одной пары подшипников;
k количество пар подшипников.
.
Рп = кВт.
По потребной мощности электродвигателя Рп и синхронной частоте вращения вала из [1, табл. 24.9; 2, табл. П.1] выбирается тип электродвигателя так, чтобы соблюдалось условие: , где Рэ номинальная мощность электродвигателя, указанная в каталоге, кВт, и затем выписываются номинальная мощность Рэ и рабочая частота вращения вала nэ, об/мин.
Тип электродвигателя 4А112 МВ6.
Номинальная мощность электродвигателя Рэ = 4,0 кВт.
Рабочая частота вращения вала nэ = 950 об/мин.
2 РАСЧЕТ КЛИНОРЕМЕННОЙ ПЕРЕДАЧИ
|
Рис. 2.1. Кинематическая схема привода с ременной передачей: 1 электродвигатель; 2 редуктор; 3, 4 ведущий и ведомый шкивы; 5 ремень; 6 приемный вал машины; 7 муфта |
Ременная передача (рис. 2.1) состоит из сшитого в кольцо (бесконечного) ремня 5, надетого с натягом на два шкива ведущий 3 и ведомый 4. При движении ремень передает вращающий момент с ведущего шкива на ведомый за счет силы трения между ремнем и шкивом. Передаваемая нагрузка тем больше, чем больше натяжение, угол обхвата шкива ремнем и коэффициент трения. Достоинствами ременной передачи являются плавность и безударность работы, предельность нагрузки (при достижении нагрузки выше расчетной происходит буксование проскальзывание ремня по ободу шкива), простота устройства, относительно низкая начальная стоимость. Основное назначение передачи в приводе повысить вращающий момент. |
Расчет ременной передачи заключается в определении геометрических размеров и долговечности приводного ремня.
Клиновые ремни изготавливают двух конструкций: кордтканевые и кордшнуровые. Кордтканевые ремни (рис. 2.2, а) состоят из нескольких слоев прорезиненной текстильной кордткани 2, передающей основную нагрузку; резинового или резинотканевого слоя растяжения 1, находящегося над кордом; резинового или (реже) резинотканевого слоя сжатия 3, расположенного под кордом, и нескольких слоев оберточной прорезиненной ткани 4. В кордшнуровых клиновых ремнях (рис. 2.2, б) вместо слоев кордткани предусматривают слой кордшнура 2 толщиной 1,6 1,7 мм, слой растяжения 1 из резины средней твердости и слой сжатия 3 из более твердой резины.
Проектирование клиноременной передачи начинают с выбора сечения ремня по номограмме (рис. 2.3) в зависимости от мощности Рп на ведущем валу и частоты nэ вращения вала.
Р1 = 3,729 кВт; nэ = 950 об/мин.
Для выбранного сечения ремня из [4, табл. П.7] выписываются технические данные, из [4, табл. П.8] подбирается требуемый шкив. С целью повышения ресурса работы передачи рекомендуется устанавливать шкивы с углом профиля канавок 36.
Тип сечения Б; b0 = 17 мм; h = 10,5 мм; bр = 14 мм; A = 138 мм2;
длина ремня в интервале 800-6300 мм.
Параметры ведущего шкива:
c = 5 мм; e = 16 мм; t = 20 мм; f = 12,5 мм; K = 7,5 мм;
расчетный диаметр: d1 = 140-220 мм.
Принимаем d1 = 180 мм.


Из условия рационального соотношения размеров диаметра ведомого шкива ременной передачи и редуктора рекомендуется в расчетах принять следующее передаточное число ременной передачи: 1 Uр 2.
Принимаем Uр = 1,5.
Диаметр ведомого шкива, мм,
; (2.1)
1,5180 = 270 мм.
Рассчитанное значение диаметра d2 округляется до ближайшего стандартного ([4, табл. П.8]).
d2 = 280 мм.
Межосевое расстояние (предварительное), мм:
, (2.2)
где h высота ремня, мм;
;
; (2.3)
.
; (2.4)
.
Расчетная длина ремня, мм,
; (2.5)
.
Найденное значение Lр округляется до ближайшего стандартного ([4, табл. П.7]).
= 1900.
Уточненное межосевое расстояние, мм,
, (2.6)
где , слагаемые формулы (2.5);
;
.
Угол обхвата ремнем малого шкива, гр.,
; (2.7)
.
Расчетная мощность, передаваемая одним клиновым ремнем, Вт,
, (2.8)
где С, СL, Ср коэффициенты, учитывающие влияние угла обхвата ([4, табл. П.9]), влияние длины ремня ([4, табл. П.10]), режим работы передачи ([4, табл. П.11]) соответственно;
С = 0,98; СL = 0,98; Cр = 1,1.
Ро номинальная мощность, передаваемая одним ремнем ([4, табл. П.12]).
Р0 = 3.56 КВт.
КВт.
Требуемое число ремней
, (2.9)
где Рп мощность на ведущем валу передачи (потребная мощность);
Сz коэффициент, учитывающий число ремней ([4, табл. П.13]). Для определения коэффициента Сz предварительно принимают некоторое число ремней (z = 2 4).
Найденное значение z округляется до целого числа.
Принимаем первоначально z = 2. При этом коэффициент Cz = 0,95.
z =.
Скорость ремня, м/с,
; (2.10)
м/с.
Сила предварительного натяжения ремня, Н,
. (2.11)
Коэффициент , учитывающий влияние центробежных сил, принимается в зависимости от сечения ремня ([4, табл. П.14]).
При сечении типа А = 0,1.
Н.
Сила, действующая на вал, Н,
; (2.12)
Н.
Рабочий ресурс (долговечность) клиноременной передачи, ч,
, (2.13)
где Nоц число циклов, выдерживаемых ремнем. Для клиновых ремней с кордной тканью сечением О и А Nоц = 4,6107, сечением Б, В, Г 4,7107.
ч.
Ширина шкива B определяется по формуле:
(2.14)
мм.
Рассчитанная ременная передача имеет следующие размеры: d1, d2, a, , 1, A, h, Нo, Fп, B, L, по которым выбирается тип ремня.
d1 = 180 мм; d2 = 280 мм; а = 381,73 мм; = 8,954 м/с;
1= 165,068; А = 138 мм; h = 10,5 мм; Нo = 2771,88 часов.
FП = 829,416 кН; B = 45 мм; L = 1900 мм.
3 РАСЧЕТ И КОНСТРУИРОВАНИЕ ЦИЛИНДРИЧЕСКОГО
ДВУХСТУПЕНЧАТОГО РЕДУКТОРА
3.1 Кинематический расчет
Общее передаточное число привода
, (3.1а)
где nэ рабочая частота вращения вала электродвигателя, об/мин.
U =.
Общее передаточное число привода можно представить и как произведение:
, (3.1б)
где Uр, Uб, Uт передаточные числа ременной передачи, быстроходной и тихоходной ступеней редуктора соответственно. Передаточное число ременной передачи Uр определено в п. 2: Uр = 1,5.
Тогда передаточное число редуктора рассчитывается по формуле:
. (3.2)
.
В соответствии с пособием 2, табл. 1.3 передаточные числа тихоходной и быстроходной ступеней редуктора: , .
;
.
3.2.1 Частоты и угловые скорости вращения валов редуктора
Частоты вращения входного, промежуточного и выходного валов редуктора, об/мин: ; ; .
об/мин;
об/мин;
об/мин.
Угловые скорости входного, промежуточного и выходного валов редуктора, с-1:
; ; .
рад/с;
рад/с;
рад/с.
3.2.2 Мощности и вращающие моменты на валах редуктора
Мощности входного, промежуточного и выходного валов редуктора, кВт:
; ; .
Потребная мощность Рп определена в п. 2: Рп = 3,05 кВт.
Р1 = 3,7290,95 = 3,543 кВт;
Р2 = 3,5430,980,99 = 3,437 кВт;
Р3 = 3,4370,980,99 = 3,335 кВт.
Моменты входного, промежуточного и выходного валов редуктора, Нм:
; ; .
Т1 = Нм;
Т2 = Нм;
Т3 = Нм.
3.2 Материалы зубчатых колес
Основным материалом для изготовления зубчатых колес служит термически обрабатываемая сталь, по сравнению с другими материалами она в наибольшей степени обеспечивает контактную прочность и прочность зубьев на изгиб.
В зависимости от твердости (или термообработки) стальные зубчатые колеса разделяют на две группы: твердостью НВ 350 (с объемной закалкой, закалкой током высокой частоты, цементацией, азотированием); твердостью НВ 350 (зубчатые колеса из нормализованной или улучшенной стали).
Применение материала с НВ 350 позволяет существенно повысить нагрузочную способность зубчатых передач, однако колеса из такого материала плохо прирабатываются, поэтому требуют повышенной точности изготовления, а также жесткости опор и валов. Кроме того, нарезание зубьев при высокой твердости материала затруднено. Это обусловливает выполнение термообработки после нарезания зубьев. Часто некоторые виды термообработки вызывают значительное коробление зубьев. Исправление формы зубьев требует осуществления дополнительных операций: шлифовки, притирки, обкатки. Эти трудности проще преодолеть в условиях крупносерийного и массового производства, когда окупаются затраты на специальное оборудование, инструменты и приспособления.
Твердость материала НВ 350 позволяет производить нарезание зубьев после термообработки. При этом можно получать высокую точность без применения дорогих отделочных операций. Колеса этой группы хорошо прирабатываются и не подвержены хрупкому разрушению при динамических нагрузках. Для лучшей приработки зубьев твердость шестерни рекомендуется назначать больше твердости колеса на 30 50 единиц.
Технологические преимущества материала при НВ 350 обеспечили ему широкое распространение для изготовления заготовок колес в условиях индивидуального и мелкосерийного производства, в мало- и средненагруженных передачах.
Для получения передач небольших габаритов следует подобрать материал шестерни твердостью, близкой к НВ 300.
Механические характеристики марок стали, используемых для изготовления зубчатых колес и других деталей машин, приведены в [7, табл. П.1; 1, с. 11, 12.
С целью сокращения номенклатуры материалов в двух- и многоступенчатых редукторах назначают одну и ту же марку стали для всех шестерен (аналогично и для колес).
Данные о материалах, используемых для изготовления зубчатых колес, представим в виде табл. 3.1.
Т а б л и ц а 3.1 Механические характеристики материалов зубчатых колес
|
Зубчатое колесо |
Марка стали |
Термообра-ботка |
Твердость сердцевины НВ, МПа |
Предел прочности в, МПа |
|
Шестерня I и II ступеней |
40ХН |
улучшение |
300 |
980 |
|
Колесо I и II ступеней |
40ХН |
нормализация |
250 |
980 |
3.3 Расчет межосевого расстояния и геометрических параметров
быстроходной ступени редуктора (колеса косозубые)
При расчете передач следует считать, что редуктор выполняется в виде самостоятельного механизма, поэтому в соответствии с ГОСТ 21354-87 основным параметром передачи является межосевое расстояние аб,
, (3.3)
где Ка = 430 вспомогательный коэффициент для косозубых передач;
Uб передаточное число быстроходной ступени редуктора;
Т2 вращающий момент на промежуточном валу, Нм;
КН коэффициент, учитывающий неравномерность распределения нагрузки по ширине венца, принимаемый из графика (рис. 3.1, а, кривая 1) с учетом схемы редуктора (рис. 3.2) в зависимости от параметра , где bа коэффициент ширины зубчатого колеса относительно межосевого расстояния, принимается из ряда 0,25; 0,315; 0,4; 0,5.
Принимаем = 0,5;
.
Тогда = 1,175;
НР допускаемое контактное напряжение, МПа.
В дальнейших расчетах примем, что все нечетные индексы относятся к шестерне, четные к колесу.
Допускаемое контактное напряжение для косозубой передачи, МПа,
, (3.4)
где допускаемые контактные напряжения для материалов шестерни и колеса,
; (3.5) , (3.5)
где , пределы контактной усталости поверхностей зубьев, соответствующие базовому числу циклов напряжений шестерни и колеса, МПа,
; (3.7) , (3.6)
где НВ1, НВ2 твердость материалов колес (табл. 3.1);
МПа,
МПа;
Sн = 1,1 коэффициент запаса прочности для зубчатых колес с однородной структурой материала;
ZN коэффициент долговечности,
; (3.9) (3.7)
при NK NHlim;
; (3.11) (3.8)
при NK NHlim, где NHlim базовое число циклов нагружений, соответствующее пределу выносливости, миллионов циклов,
; (3.13) , (3.9)
;
;
NK суммарное число циклов нагружений, миллионов циклов,
; (3.15) , (3.10)
где n1, n2 частоты вращения валов, об/мин;
Lh требуемый ресурс передачи, ч.
6063318000 = 683,64106;
6018518000 = 199,8106,
Т.к. >, > то
; .

а б
Рис. 3.1. Коэффициент неравномерности распределения нагрузки по ширине венца (НВ 350): а КН при расчете контактной прочности зубьев;
б КF при расчете зубьев на изгиб
При выполнении расчетов принимаем = 0,9, где ZR, ZV, ZL, ZX коэффициенты, учитывающие влияние исходной шероховатости сопряженных поверхностей зубьев, окружной скорости, смазочного материала, размер зубчатого колеса.
МПа;

МПа;
МПа;
мм.
Модуль зубьев, мм, m = (0,01 0,02)аб.
m = (0,01 0,02)117,56 = 1,176 2,351 мм.
Значение модуля принимается из определенного интервала и согласовывается со стандартным (табл. 3.2).
Т а б л и ц а 3.2 Значения нормальных модулей
|
Ряд |
Модуль, мм |
|||||||||||
|
1-й 2-й |
1,0 1,25 |
1,25 1,375 |
1,5 1,75 |
2,0 2,25 |
2,5 2,75 |
3,0 3,5 |
4,0 4,5 |
5,0 5,5 |
6,0 7,0 |
8,0 9,0 |
10,0 11,0 |
12,0 14,0 |
Принимаем m = 2,5 мм.
Сумма зубьев шестерни и колеса , где = (8 18) угол наклона линии зуба. Принимаем = 12.
Zс =,
Число зубьев шестерни , 30 Z1 17.
Z1 =;
Число зубьев колеса .
Z2 = 92 21 = 71.
Значения Zс и Z1 округляем до целых чисел.
Уточненное значение угла наклона зубьев .
= .
Делительные диаметры, мм: ; .
d1 = мм; d2 = мм.
Диаметры вершин зубьев, мм: ; .
= d1 + 2m = 54 + 22,5 = 59 мм;
= d2 + 2m = 181.5 + 22,5 = 186,5 мм.
Диаметры впадин зубьев, мм: ; .
= d1 2,5m = 54 2,52,5 = 48,75 мм;
= d2 2,5m = 181.5 2,52,5 = 175,25 мм.
Уточненное межосевое расстояние, мм, .
0,5(54 + 181.5) = 117,75.
Рабочая ширина зубчатого венца, мм, .
0,5117,75 = 58,75 59 мм.
Ширина венца шестерни, мм, .
b1 = 59 + 2,5 = 61,5 62 мм.
|
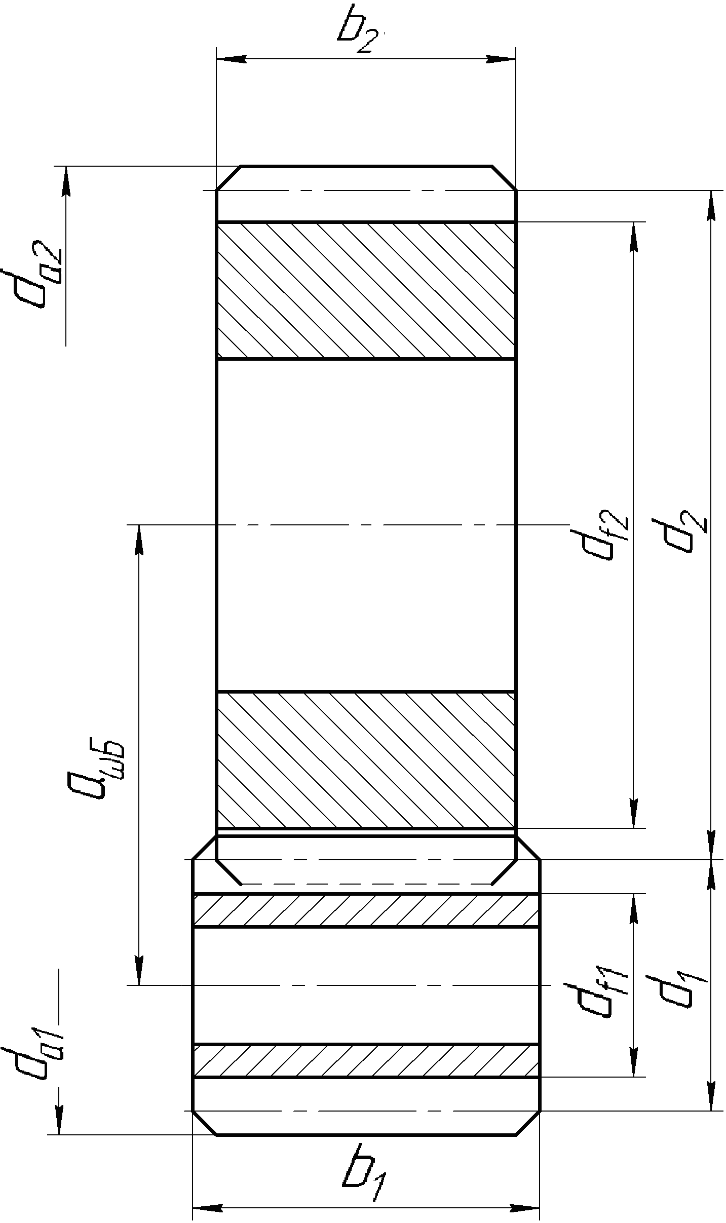
Размеры зубчатой передачи представлены на рис. 3.3. Окружная скорость зубчатых колес, м/с, . (3.17) V1 = м/с. В зависимости от окружной скорости устанавливаем степень точности передачи (табл. 3.3).
Т а б л и ц а 3.3 Степень точности цилиндрических зубчатых передач по ГОСТ 1643-81 Степень точности Окружная скорость, м/с прямые зубья |
непрямые зубья 8 до 6 до 10 |
Рис. 3.3. Размеры зубчатой передачи быстроходной ступени редуктора |
Степень точности 8-я.
3.3.1 Проверочный расчет зубьев колес на прочность
После определения геометрических размеров рабочие поверхности зубьев необходимо проверить на контактную прочность, для чего следует определить рабочие контактные напряжения Н и сравнить их с допускаемыми НР. Должно выполняться условие: Н НР.
Рабочее контактное напряжение, МПа,
, (3.11)
где ZE = 190 коэффициент, учитывающий механические свойства материалов сопряженных зубчатых колес, изготовленных из стали;
коэффициент, учитывающий форму сопряженных поверхностей зубьев в полюсе зацепления (для косых зубьев);
ZH = 1,77 cos 11,979 = 1,731;
коэффициент, учитывающий суммарную длину контактных линий, где коэффициент торцевого перекрытия, для передач без смещения при 20;
;
;
окружная сила, Н;
Н;
КА = 1,1, КНV, КН, КН коэффициенты, учитывающие внешнюю динамическую нагрузку при равномерном нагружении двигателя и ведомой машины, динамическую нагрузку в зацеплении ([7, табл. П.2]), неравномерность распределения нагрузки по ширине венца (подразд. 3.3), распределение нагрузки между зубьями ([7, табл. П.3]).
КНV = 1,15; КН = 1,175; КН = 1,07.
МПа <
< 388,0,64 МПа.
Рабочее контактное напряжение менее допускаемого.
Выносливость зубьев, необходимую для предотвращения усталостного излома, устанавливают для каждого колеса сопоставлением расчетного местного напряжения от изгиба в опасном сечении на переходной поверхности и допускаемого напряжения: . При заданных условиях нагружения редуктора рабочие изгибные напряжения в три четыре раза ниже допускаемых , поэтому в данной работе проверку зубьев на выносливость по изгибным напряжениям можно не выполнять.
3.4 Расчет межосевого расстояния и геометрических параметров
тихоходной ступени редуктора (колеса прямозубые)
Межосевое расстояние передачи, мм,
, (3.12)
где Ка = 495 вспомогательный коэффициент для прямозубых передач;
Uт передаточное число тихоходной ступени редуктора;
Т3 вращающий момент на ведомом валу передачи, Нм;
КН коэффициент, учитывающий неравномерность распределения нагрузки по ширине венца, определяется по графику (см. рис. 3.1, а, кривая 2) в зависимости от параметра , где ba коэффициент ширины венца зубчатого колеса относительно межосевого расстояния, принимается из ряда 0,4; 0,5; 0,63; 0,8; 1,0.
Принимаем = 1.
.
Тогда = 1,2.
В качестве допускаемого контактного напряжения НР для прямозубой передачи допускаемое контактное напряжение для зубчатого колеса определяют по формуле:
, (3.13)
где предел контактной усталости поверхности зубьев, соответствующий базовому числу циклов напряжений колеса, МПа,, где НВ4 твердость материала колеса (табл. 3.1);
МПа;
коэффициент долговечности,
при NK NHlim; (3.14а)
при NK NHlim, (3.14б)
где , базовое число циклов напряжений, соответствующее пределу выносливости, и суммарное число циклов напряжений соответственно, миллионов циклов,
; (3.22) , (3.15)
где n3 частота вращения ведомого вала передачи, об/мин;
Lh требуемый ресурс, ч;
;
.
Т.к. >, то
;
Sн = 1,1 коэффициент запаса прочности.
При выполнении расчетов принимаем .
МПа.
мм.
Модуль зубьев, мм, .
m = (0,01 - 0,02)·126,124 = 1,26 - 2,52.
Значение модуля принимаем из вычисленного интервала и согласовываем со стандартным (табл. 3.2).
Принимаем: m = 2,5.
Сумма зубьев шестерни и колеса ;
.
Число зубьев шестерни ;
.
Число зубьев колеса ;
Z4 = 101 28 = 73.
Значения Zс и Z3 округляем до целых чисел.
Делительные диаметры, мм: ; .
d3 = 2,5·28 = 70 мм;
d4 = 2,5·73 = 182,5 мм.
Диаметры вершин зубьев, мм: ; .
= 70 + 2·2,5 = 75 мм;
= 182,5 + 2·2,5 = 187,5 мм.
Диаметры впадин зубьев, мм: ; .
= 70 2,5·2,5 = 63,75 мм;
= 182,5 2,5·2,5 = 176,25 мм.
Уточненное межосевое расстояние, мм, .
0,5(70 + 182,5) = 126,25 мм.
Рабочая ширина зубчатого венца, мм, .
b = b4 = 0,5·126,25 = 63,125 63 мм.
Ширина венца шестерни, мм, .
b3 = 63 + 2,5 = 65,5 66 мм.
Значения b3 и b4 округляем до целых чисел.
Окружная скорость зубчатых колес, м/с, , где n2 частота вращения промежуточного вала, об/мин.
м/с.
В зависимости от окружной скорости установим степень точности передачи (табл. 3.3).
Степень точности 8-я.
3.4.1 Проверочный расчет зубьев колес на прочность
Определив геометрические размеры передачи, следует проверить рабочие поверхности зубьев на контактную прочность. Для этого нужно определить рабочее контактное напряжение Н и сравнить с допускаемым НР. Должно выполняться условие: Н НР.
Рабочее контактное напряжение, МПа,
, (3.16)
где ZE = 190 коэффициент, учитывающий механические свойства материалов сопряженных зубчатых колес, изготовленных из стали;
коэффициент, учитывающий форму сопряженных поверхностей зубьев в полюсе зацепления (для прямых зубьев);
коэффициент, учитывающий суммарную длину контактных линий, где коэффициент торцевого перекрытия;
;
;
окружная сила на делительном диаметре шестерни, Н;
Н;
КА = 1,1, КНV, КН, КН коэффициенты, учитывающие внешнюю динамическую нагрузку при равномерном нагружении двигателя и ведомой машины, динамическую нагрузку в зацеплении ([7, табл. П.2]), неравномерность распределения нагрузки по ширине венца (подразд. 3.4), распределение нагрузки между зубьями ([7, табл. П.3]).
КHV = 1,15, КН = 1,2; КН = 1,05;
МПа <
= 478,023 МПа.
Рабочее контактное напряжение менее допускаемого.
Выносливость зубьев, необходимую для предотвращения усталостного излома, устанавливают для каждого колеса сопоставлением расчетного местного напряжения от изгиба в опасном сечении на переходной поверхности и допускаемого напряжения: . При заданных условиях нагружения редуктора рабочие изгибные напряжения в три четыре раза ниже допускаемых , поэтому в данной работе задача проверки зубьев на выносливость по изгибным напряжениям не ставится.
3.5 Ориентировочный расчет и конструирование валов
Ориентировочный расчет валов производится на ранней стадии проектирования, когда изгибающие моменты еще не определены. Расчет выполняют на чистое кручение по пониженным допускаемым напряжениям , затем определяют диаметры отдельных ступеней валов.
Основным материалом для валов служит термически обрабатываемая среднеуглеродистая сталь марок 35, 40, 45 или легированная сталь марок 40Х, 40ХН и др.
3.5.1 Входной вал
Диаметр выходного конца вала (рис. 3.4)
, (3.17)
где Т1 вращающий момент на валу (подразд. 3.1), Нмм;
к = (20 25) МПа допускаемое напряжение кручения для среднеуглеродистой стали марок 35, 40, 45.
мм;

Рис. 3.4. Входной вал
Диаметр вала под уплотнение
, (3.18)
где t = 2,0 высота буртика ([7, табл. П.5; 1, с. 46);
dупл = 22 + 2·2,0 = 26 мм.
Диаметр dупл согласовываем с диаметром уплотнения ([7, табл. П.6; 1, табл. 24.26).
dупл = 26 мм.
Диаметр вала dп в месте посадки подшипника может быть равен диаметру вала под уплотнением или больше его, но должен быть кратным пяти, т. е. .
dп = 30 мм.
Между подшипником и шестерней на том же диаметре dп, что и подшипник, располагают разделительное кольцо. Диаметральные размеры кольца определяются из условия контакта его торцов с колесом и внутренним кольцом подшипника.
Диаметр кольца со стороны подшипника , где r = 1,6 координата фаски подшипника ([7, табл. П.5; 1, с. 46).
dб.п = 30 + 3·1,6 = 29,8 мм.
Значение dб.п округляем до стандартного ([7, табл. П.7; 1, табл. 24.1):
dб.п = 36мм.
Диаметр вала под шестерней dб.п dк dп.
Значения dк принимаем из [7, табл. П.7, 1, табл. 24.1).
dк = 32 мм.
Диаметр разделительного кольца со стороны шестерни ,
где f = 1,0 размер фаски ([7, табл. П.5; 1, с. 46).
dб.к = 32 + 3·1,0 = 35 мм.
Значение dб.к округляем до стандартного ([7, табл. П.7; 1, табл. 24.1):
dб.к = 36 мм.
3.5.2 Промежуточный вал
Диаметр вала под колесом и шестерней (рис. 3.5)
, (3.19)
где Т2 вращающий момент на промежуточном валу (см. подразд. 3.1), Нмм;
к = (10 13) МПа.
мм.
Значение dк округляем до стандартного ([7, табл. П.7; 1, табл. 24.1):
dк = 42 мм.
Диаметр вала в месте посадки подшипника
, (3.20)
где r = 3,0 координата фаски подшипника ([7, табл. П.5; 1, с. 46).
dп = 42 33 = 33 мм.
Значение dп округляем до величины, кратной пяти:
dп = 35 мм.
Диаметр разделительного кольца со стороны подшипника
, (3.21)
dб.п = 35 + 3·3 = 44 мм;
со стороны колеса и шестерни
, (3.22)
где f = 1,6 размер фаски ([7, табл. П.5; 1, с. 46),
dб.к = 42 + 3·1,6 = 48 мм.

Рис. 3.5. Промежуточный вал
Значения dб.п округляем до стандартных ([7, табл. П.7; 1, табл. 24.1):
dб.п = 45 мм;
3.5.3 Выходной вал
Диаметр выходного конца вала (рис. 3.6)
, (3.23)
где Т3 вращающий момент на валу (см. подразд. 3.1), Нмм;
к = (20 25) МПа;
мм.
Значение d3 округляем до стандартного ([7, табл. П.4; 1, табл. 24.28):
d3 = 45 мм.
Диаметр вала под уплотнение
, где t = 2,8 высота буртика ([7, табл. П.5; 1, с. 46),
dупл = 45 + 2·2,8 = 50,6 мм.

Рис. 3.6. Выходной вал
Диаметр dупл согласовываем с диаметром уплотнения ([7, табл. П.6; 1, табл. 24.26):
dупл = 52 мм.
Диаметр вала dп в месте посадки подшипника может быть равен диаметру вала под уплотнением или больше его, но должен быть кратным пяти, т. е. :
dп = 55 мм.
Диаметр разделительного кольца со стороны подшипника ,
где r = 3,0 координата фаски подшипника ([7, табл. П.5; 1, с. 46),
dб.п = 55 + 3·3,0 = 64 мм.
Значение dб.п округляем до стандартного ([7, табл. П.7; 1, табл. 24.1):
dб.п = 65 мм.
Диаметр вала под колесом dб.п dк dп.
Значения dк принимаем из [7, табл. П.7; 1, табл. 24.1):
dк = 60 мм.
Диаметр разделительного кольца со стороны колеса ,
где f = 1,6 размер фаски ([7, табл. П.5; 1, с. 46),
dб.к = 60 + 3·1,6 = 64,8 мм.
Значение dб.к округляем до стандартного ([7, табл. П.7; 1, табл. 24.1):
dб.к = 65 мм.
3.6 Выбор подшипников качения
Подшипники качения выбираются из 1, табл. 24.10, 24.15 24.17 в зависимости от диаметров dп валов, начиная с легкой серии. Для опор валов с цилиндрическими прямозубыми колесами необходимо использовать радиальные шариковые подшипники, для валов с цилиндрическими косозубыми, коническими и червячными колесами и червяка радиально-упорные или роликовые конические. Для выбранных подшипников выписываем их маркировку, наружный D и внутренний d диаметры и ширину В, значения статической Сor и динамической Сr грузоподъемности.
Входной вал:
36206, подшипники радиально-упорные легкой серии 2 шт.
d = 30 мм;
D = 62 мм;
B = 16 мм;
r = 1,0 мм;
r1 = 0,5 мм;
Cr = 22 кН; C0r = 12 кН;
Промежуточный вал:
36207, подшипники радиально-упорные легкой серии 2 шт.
d = 35 мм;
D = 72 мм;
B = 17 мм;
r = 1,0 мм;
r1 = 0,5 мм;
Cr = 30,8 кН; C0r = 17,8 кН;
Выходной вал:
211, подшипники радиальные легкой серии 2 шт.
d = 55 мм;
D = 100 мм;
B = 21 мм;
r = 2,0 мм;
Cr = 43,6 кН; C0r = 25 кН.
3.7 Конструирование зубчатых колес
Для изготовления стальных зубчатых колес рекомендуется применять кованые или штампованные заготовки, имеющие более высокие механические характеристики.
Шестерни (рис. 3.7) изготавливают за одно целое с валом, если расстояние а от впадины зуба до шпоночного паза меньше 2,5m (рис. 3.8). Если а 2,5m, то шестерня выполняется съемной,
, (3.24)
где диаметр окружности впадин шестерни быстроходной или тихоходной ступени (см. подразд. 3.3, 3.4);
диаметр вала под шестерней тихоходной или быстроходной ступени (п. 3.5.1, 3.5.2);
t2 глубина паза ступицы шестерни ([7, табл. П.16; 1, табл. 24.29).
Размеры шестерни быстроходной и тихоходной ступеней определены ранее (см. подразд. 3.3, 3.4).
Быстроходная ступень:
2,5m1 = 2,52,5 = 6,25 мм;
а1 = = мм;
a1 < 2,5m1.
Шестерня быстроходной ступени выполняется заодно с валом.
Тихоходная ступень:
2,5m2 = 2,52,5 = 6,25 мм;
а2 = = мм;
a2 < 2,5m2.
Шестерня тихоходной ступени выполняется съемной.
На торцах зубчатого венца выполняем фаски размером f = (0,5 0,7)m, округлив до стандартного значения ([7, табл. П.8; 1, с. 69).
f = 0,52,5 = 1.25 1.2мм быстроходная ступень;
f = 0,62,5 = 1,5 1,6 мм тихоходная ступень.
Конструкцию кованых зубчатых колес (рис. 3.9) применяют при наружном диаметре dа менее 500 мм.
Диаметр ступицы , где dк диаметр ступени вала, предназначенной для посадки колеса (п. 3.5.1 3.5.3).
dст2 = 1,6= 1,642 = 67.2 67 мм быстроходная ступень.
dст4 = 1,6= 1,660 = 96 мм тихоходная ступень.
Длина ступицы .
Если окажется меньше ширины венца колеса b, то принимаем равным b.
= 1,442 = 58,8 59 мм < b2 = 59 мм быстроходная ступень;
= 1,542 = 63 мм тихоходная ступень.
Принимаем = b4 = 63 мм.
Толщина обода колеса , где m модуль передачи, мм. Величина о должна быть не менее 8 10 мм.
o2 = 4,02,5 = 10 мм быстроходная ступень;
o4 = 4,02,5 = 10 мм тихоходная ступень.
Рис. 3.7. Шестерня передачи
Диаметр окружности, по которой располагаются центры отверстий,
, где Dо = df 2о.
D02 = 181.5 210 = 161.5 мм;
Dотв2 = 0,5(161.5 + 67) = 228,5 229 мм быстроходная ступень;
D04 = 193,75 210 = 173,75 мм;
Dотв4 = 0,5(176,25 + 63) = 239,25 239 мм тихоходная ступень.
Диаметр отверстий dотв = 15 25.
Толщина диска , где b ширина венца колеса (см. подразд. 3.3, 3.4).
С2 = 0,2b2 = 0,259 = 11.8 12 мм быстроходная ступень;
С4 = 0,2b4 = 0,263 = 12,625 13 мм тихоходная ступень.
На торцах зубчатого венца, ступицы, углах обода выполняем фаски f, размеры которых принимаем из [7, табл. П.8; 1, с. 69:
fвенца = 2,0 мм; fступицы = 2,0 мм; fобода = 2.0 мм быстроходная ступень;
fвенца = 2,0 мм; fступицы = 2,0 мм; fобода = 2.0 мм тихоходная ступень.

Рис. 3.9. Колесо зубчатое кованое
3.8 Конструирование крышек подшипников
Крышки подшипников изготавливают из чугуна марки СЧ 21. Конструкция глухой крышки показана на рис. 3.10, а, крышки с отверстием для выходного конца вала на рис. 3.10, б. При конструировании крышек определяющим размером является диаметр D отверстия в корпусе под подшипник. Значения толщины стенки крышки, диаметра d4 и число z винтов крепления крышки к корпусу приведены в [7, табл. П.9; 1, с. 169. Размеры других элементов определяют по формулам:
(3.25); (3.26); (3.27); (3.28); (3.29); (3.30); (3.31).

а б
Рис. 3.10. Крышки подшипника
Крышки входного вала 1 проходная, 1 глухая.
D = 62 мм; 5 мм; d4 = 6 мм; Z = 4; 1,25 = 6,0 мм; 15 = 5 мм;
62 + 46 = 86 мм; 6 + 1 = 7 мм; 62 + 26 = 76 мм;
dупл = 26 мм;dв = 24 + 1 = 27 мм; 6 мм; dМ = 45 мм;
h = 14 мм; b = 5 мм; мм.
Крышки промежуточного вала 2 глухих.
D = 72 мм; 6 мм; d4 = 8 мм; Z = 4; 1,26 = 7.2 7 мм; 16 = 6 мм;
72 + 48 = 104 мм; 8 + 1 = 9 мм; 72 + 28 = 88 мм.
8 мм;
Крышки выходного вала 1 проходная, 1 глухая.
D = 100 мм; 7 мм; d4 = 10 мм; Z = 6; 1,27 = 8,4 8 мм; 17 = 7 мм; 100 + 410 = 140 мм; 10 + 1 = 11 мм; 100 + 210 = 120 мм;
dупл = 52 мм; dв = 52 + 1 = 53 мм; 10 мм; dМ = 65 мм;
h = 10 мм; b = 5 мм; 1,25 = 6 мм.
3.9 Конструирование корпуса редуктора
Для удобства монтажа деталей корпус обычно выполняют разъемным (рис. 3.11, а). Плоскость разъема проходит через оси валов и делит корпус на основание (нижнюю часть) и крышку (верхнюю часть).
Толщина стенки корпуса к и крышки 1к редуктора:
; (3.32) , (3.33)
где ат межосевое расстояние тихоходной ступени, мм.
Если в результате расчетов окажется к 8 и 1к 8, то к = 1к = 8 мм.
= 0,025126,25 + 3 = 6.156 8 мм;
= 0,02126,25 + 3 = 5,525 8 мм.
Толщина верхнего фланца основания корпуса редуктора b = 1,5к.
b = 1,58 = 12 мм.
Толщина нижнего фланца основания корпуса редуктора р = 2,35к.
p = 2,358 = 18,8 19 мм.
Толщина фланца крышки редуктора b1 = 1,51к.
b1 = 1,58 = 12 мм.
Толщина ребер жесткости основания m и крышки m1 редуктора:
; (3.34) . (3.35)
m = 18 = 8 мм; m1 = 18 = 8 мм.

а

б в
Рис. 3.11. Корпус редуктора
Диаметр фундаментных болтов ;
d1 = 0,03126,25 + 12 = 15,788 16 мм.
Диаметр болтов у подшипников ;
d2 = 0,7516 = 12 12 мм.
Диаметр болтов, соединяющих основание корпуса с крышкой, ;
d3 = 0,516 = 8 8 мм.
Диаметр винтов, крепящих смотровую крышку, ;
d5 = 0,416 = 6,4 6 мм.
Найденные значения диаметров болтов округляем до стандартных значений ([7, табл. П.10]).
Значения ширины фланцев корпуса К1 К3 и расстояния от наружной поверхности стенки корпуса С1 С3 до осей болтов d1 d3 выбираются из [7, табл. П.10] в зависимости от диаметров болтов d1 d3. Диаметры отверстий под болты принимаем на 1 мм больше диаметров болтов.
С1 = 21 мм, К1 = 39 мм; С2 = 18 мм, К2 = 33 мм; С3 = 13 мм, К3 = 24 мм.
Размеры элементов болтов, гаек и шайб показаны на рис. 3.12, их значения приведены в [7, табл. П.11 П.13].
Расположение оси отверстия для болта диаметром d2 определяется размером е (см. рис. 3.11, б), (11,2)d2;
1.212 = 14.4 15 мм.
Высота бобышки hб выбирается таким образом, чтобы на ее горизонтальной поверхности могла разместиться головка болта d2 у подшипника.
Диаметр гнезда .
= 86 + 5 = 91 мм;
= 104 + 5 = 109 мм;
= 140 + 5 = 145 мм.
Если плоскости стенок редуктора располагаются под прямым или тупым углом, то их сопрягают дугами радиусом r и R (рис. 3.13, а) 1, если под острым углом, то рекомендуется соединять плоскости стенок редуктора короткой вертикальной стенкой (рис. 3.13, б). В обоих случаях принимают .
r = 0,58 = 4 мм.
R = 1,58 = 12 мм.
В местах расположения обработанных платиков, приливов, бобышек, во фланцах толщину стенок корпуса редуктора необходимо увеличивать. Если отношение значений толщины 6 / к 2 (рис. 3.13, в), то сопряжение стенок выполняют радиусом . При отношении 6 / к 2 одно сечение должно переходить в другое плавно (рис. 3.13, г, д). При этом принимают: h 4(7 к); 7 = 1,5к; .
7 = 1,58 = 12 мм; h 4(12 8) = 16 мм; r = 0,58 = 4 мм.
Толщину наружных ребер жесткости у их основания принимают равной 0,9 1,0 толщины основной линии к (рис. 3.14), а высоту ребер hр 5к.
hр 58 = 40 мм.
При конструировании корпусных деталей следует отделять обрабатываемые поверхности от «черных» (необрабатываемых). Обрабатываемые поверхности выполняют в виде платиков (рис. 3.15), высоту h которых можно принимать равной (0,4 0,5) к; С = 2 4 мм.
h = 0,58 = 4 мм.

Рис. 3.12. Крепежные детали: а болт; б гайка; в шайба

Рис. 3.13. Элементы корпуса редуктора
Рис. 3.14. Наружные ребра жесткости Рис. 3.15. Платик
для крышки подшипника
Во избежание поломки сверл поверхность детали должна быть перпендикулярна оси сверла (рис. 3.16, а). Поверхность детали на выходе сверла также должна быть перпендикулярна оси сверла (рис. 3.16, б).

Рис. 3.16. Расположение поверхности детали относительно оси сверла
3.10 Компоновочная схема редуктора
Компоновочную схему редуктора (рис. 3.17) выполняем на миллиметровой бумаге формата А1 в масштабе 1:1 тонкими линиями, чтобы при необходимости можно было произвести необходимые изменения.
Последовательность вычерчивания компоновочной схемы редуктора:
- провести оси валов на расстоянии аб и ат друг от друга;
2) изобразить валы в соответствии с найденными размерами (п. 3.5.1 3.5.3);
3) по полученным ранее размерам bi и di (см. подразд. 3.3, 3.4) изобразить зубчатые колеса. Зазор между торцами шестерни тихоходной ступени и колеса быстроходной принять равным а2;
4) отступив от внешних торцов колес на расстояние а, провести линии, очерчивающие внутреннюю стенку корпуса редуктора;
- зазор между делительным диаметром колеса тихоходной ступени (шестерни быстроходной) и внутренней стенкой редуктора принять равным а1;
- провести пунктирную линию, соответствующую наружной стенке редуктора, отступив на расстояние к (см. подразд. 3.9) от линии внутренней стенки редуктора;
- отступив на расстояние К2 от пунктирной линии, провести линии, описывающие привалочные плоскости для крышек подшипников качения;
- на расстоянии К3 от пунктирной линии провести линии, ограничивающие торцевые размеры верхнего фланца корпуса;
- изобразить подшипники качения с соответствующими габаритами (см. подразд. 3.6);
- отверстия под подшипники закрыть крышками (см. рис. 3.10).
При выполнении компоновочной схемы, представленной на рис. 3.17, размеры можно принимать из табл. 3.4.
Т а б л и ц а 3.4 Размеры к компоновочной схеме редуктора
|
Обозначение |
Наименование |
|
|
Примечания |
1 |
2 |
|
3 |
аб, ат а а1 а2 |
Межосевые расстояния быстроходной и тихоходной ступеней соответственно Расстояние между торцом колеса и внутренней стенкой редуктора Расстояние между делительным диаметром колеса и внутренней стенкой редуктора Расстояние между торцами колес |
|
аб = 117,5 мм; ат = 1326,25 мм а = 10 мм a1б = a + mБ = 10 + 2,5 = 12,5 мм a1т = a + mТ = 10 + 2,5 = 12,5 мм а2 = 0,5а = 0,510 = 5 мм |
||
|
1 |
2 |
3 |
|
bi di dст Di, К2, К3 Dфi, 2i |
Ширина венца зубчатого колеса Диаметры делительных окружностей зубчатых колес Длина ступицы колеса Диаметр ступицы колеса Диаметры наружного и внутреннего колец подшипников, ширина подшипников Размеры фланцев редуктора Размеры крышек подшипника Расстояния между центрами подшипников и зубчатых колес промежуточного вала Расстояние от крышки подшипника до шкива ременной передачи Ширина шкива ременной передачи Расстояние от крышки подшипника до муфты Длина полумуфты |
Из 4.3.2: b1 = 62 мм; b3 = 66 мм Из 4.3.2: b2 = 59 мм; b4 = 64 мм d1 = 54 мм; d3 = 70 мм; d2 = 181.5 мм; d4 = 182.5 мм = 59 мм; = 63 мм dст2 = 67 мм; dст4 = 96 мм D1 = 62 мм; dп1 = 30 мм; Bп1 = 16 мм D2 = 72 мм; dп2 = 35 мм; Bп2 = 17 мм D3 = 100 мм; dп3 = 55 мм; Bп3 = 21 мм K2 = 33 мм; K3 = 24 мм Из 4.9: = 86 мм; = 5 мм; = 104 мм;= 6 мм; = 140 мм; = 7 мм = 48 мм
= 69.5 мм = 53.5 мм 15 мм = B = 45 мм 10 мм определяется после подбора муфты из стандарта или нормали |
Рис. 3.17. Компоновочная схема редуктора
3.11 Расчет валов на совместное действие изгиба и кручения
Валы редуктора нагружены силами, действующими в зацеплениях передач, и испытывают деформации изгиба и кручения. Для упрощения расчетов принято, что силы сосредоточенные, они приложены в срединах венцов зубчатых колес и направлены по нормалям к профилям зубьев в полюсах зацепления. При расчете эти силы раскладывают на составляющие, действующие вдоль координатных осей. Схема редуктора и усилий, действующих в передачах, приведена на рис. 3.18.
Усилия, действующие в передачах:
окружные
(3.36) (3.37) (3.38) (3.39)
Н;
Н;
Н;
Н.
радиальные
(3.40) (3.41) (3.42) (3.43)
Н;
Н;
5068.914tg20° = 1844.934 Н;
4986.082tg20° = 1814.785 Н.
осевые
(3.44) (3.45) (3.46) (3.47)
= 1991.802tg11.979° = 422.608 Н;
= 1955.481tg11.979° = 414.901 Н;
= 0;
= 0,
где = 20 угол профиля делительный;
угол наклона линии зуба.

Рис. 3.18. Силы, действующие в зубчатых передачах
Последовательность расчета рассмотрим на примере промежуточного вала, подвергающегося действию наибольшего числа сил.
Размеры на схеме:
= 48 мм = 0,048 м; = 69,5 мм = 0,0695 м; = 53.5 мм = 0,0535 м;
181.5 мм = 0,1815 м.
Реакции в опорах вала (подшипниках) от сил, действующих в плоскости XOZ вдоль оси Z (рис. 3.19):
(3.48)
; (3.49)
Н.
(3.50)
. (3.51)
Н.
Реакции в опорах вала от сил, действующих в плоскости XOY вдоль осей Х и Y:
(3.52)
; (3.53)
Н;
(3.54)
; (3.55)
Н.
Суммарные реакции:
(3.56)
Н;
(3.57)
Н.
Изгибающие моменты и эпюры, обусловленные силами, действующими в плоскости XOZ:
участок вала АВ
МИ = RAVX; (3.58)
Х = 0; МAV = RAV 0 = 0; (3.59)
Х = ; МBV = RAV; (3.60)
МBV = 2992,0770,048 = 143,638 Нм;
участок вала ВС
; (3.61)
Х = ; ; (3.62)
МBV = 2992,0770,048 = 143,638 Нм;
Х = +; ; (3.63)
2992,0770,1175 1955,4810,0695 = 215,708 Нм;
участок вала СД
; (3.64)
Х = +; ; (3.65)
2992,0770,1175 1955,4810,0695 = 215,708 Нм;
Х = ++; . (3.66)
2992,0770,171 1955,4810,123 5068,9140,0535 0 Нм.
По найденным значениям изгибающих моментов строятся эпюры.
Изгибающие моменты и эпюры, обусловленные силами, действующими в плоскости ХOY:
участок вала АВ
МИ = RAНX; (3.67)
Х = 0; МAН = RAН 0 = 0; (3.68)
Х = ; МBН = RAН; (3.69)
МBН = 166,2610,048 = 7,98 Нм;
участок вала ВС
; (3.70)
Х = ; ; (3.71)
Нм;
Х = +; ; (3.72)
166,2610,1175 727,5810,0695 414,901 = 68,673 Нм;
участок вала СД
; (3.73)
Х = +; ; (3.74)
166,2610,1175 727,5810,0695 414,901 = 68,673 Нм;
Х = ++; ; (3.75)
166,2610,171 727,5810,123 414,901 + 1844,9340,0535
0 Нм.
Суммарные изгибающие моменты:
(3.76)
Нм;
(3.77)
Нм.
Эквивалентный момент по третьей теории прочности:
, если МВ МС; (3.78)
, если МС МВ. (3.79)
Т.к. МС МВ, то Нм.
Диаметр вала в опасном сечении ;
мм.
Допускаемое напряжение и выбирают незначительным, чтобы валы имели достаточную жесткость, обеспечивающую нормальную работу зацепления и подшипников. Валы рекомендуется изготавливать из стали марок 35, 40, 45, Ст 5, Ст 6, для которых и = (50 60) МПа.

Рис. 3.19. Схема нагружения силами и моментами промежуточного вала
Вычисленное значение диаметра вала d в опасном сечении сравним с диаметром вала dк под колесом, определенным при ориентировочном расчете (см. п. 3.5.2). Должно выполняться условие: dк d. При невыполнении этого условия следует принять dк = d и вновь определить размеры вала (см. п. 3.5.2).
dк = 38 мм > d = 37,395 мм.
Условие выполняется.
3.12 Расчет подшипников качения
В основу расчета подшипников качения положены два критерия: по остаточной деформации и усталостному выкрашиванию. При частоте вращения кольца n 10 об/мин критерием расчета является остаточная деформация, расчет выполняется по статической грузоподъемности Сor; при n 10 об/мин критерием расчета подшипника является усталостное выкрашивание дорожек качения, расчет выполняют по динамической грузоподъемности Сr. Суждение о пригодности подшипника выносится из сопоставления значений требуемой и базовой грузоподъемности (Стр Сr) или долговечности (L10h L10h).
Расчет подшипников качения приведен в пособии 1, с. 120.
Последовательность расчета подшипников качения рассмотрим на примере промежуточного вала.
Частота вращения вала n2 = 185 об/мин. Базовая долговечность подшипника L10h = 18000 ч. Диаметр посадочных поверхностей вала dп = 35 мм. Действующие силы: радиальные 2992,077 Н и 4231,329 Н; осевая Fa = 422,608 Н.
Учитывая диаметр посадочных поверхностей вала и характер действующей нагрузки, выберем радиально-упорный шариковый подшипник 36207 (см. подразд. 3.6), для которого статическая грузоподъемность Сor = 17800 Н; динамическая Сr = 30800 Н.
Схема установки подшипников и действующих на них сил представлена на рис. 3.20.

Рис. 3.20. Схема установки подшипников и действующих на них сил
Определим отношение:
.
По величине отношения из [7, табл. П.14] найдём параметр осевого нагружения:
; (3.80)
е = 0,324.
Осевые составляющие от радиальных нагрузок:
; (3.81)
Н;
; (3.82)
Н.
Суммарные осевые нагрузки на подшипник:
так как S2 S1, Fa S2 S1, то из [7, табл. П.15] следует:
1370,95 Н;1370,95 - 422,608 = 948,342 Н.
Для опоры, нагруженной большей осевой силой, определим отношение: .
Уточним значение параметра осевого нагружения из [7, табл. П.14]:
; е2 = 0,396.
Определим отношение для правой, более нагруженной опоры:
< е2 = 0,396, где V коэффициент вращения внутреннего кольца подшипника.
Так как < е2, то из [7, табл. П.14] для е2 найдём значения коэффициентов радиальной Х и осевой Y нагрузок:
Х = 1; Y = 0.
Эквивалентная динамическая нагрузка правой опоры
, (3.83)
где Кб = 1,3 коэффициент безопасности;
Кт = 1 температурный коэффициент,
Р2 = (1 1 4231.329 + 0 1370.95) 1,3 1 = 5500.728 Н.
Уточним коэффициент е1 для левой опоры ([7, табл. П.14]):
; е1 = 0,365.
Найдём отношение: < е1 = 0,365.
Определим коэффициенты Х и Y по данным [7, табл. П.14]:
Х = 1; Y = 0.
Эквивалентная динамическая нагрузка левой опоры
; (3.84)
Р1 = (1 1 2992,077 + 0 948,342) 1,3 1 = 3889,7 Н.
Для более нагруженной опоры (правой) определим долговечность выбранного подшипника 1, с. 120 129; 2, с. 239 242:
, (3.85)
где а1 = 1 коэффициент надежности при вероятности безотказной работы 90 %;
а23 = 0,7 0,8 коэффициент, характеризующий совместное влияние на долговечность особых свойств металла деталей подшипника и условий его эксплуатации;
ч.
Так как рассчитанная долговечность L10h больше базовой L10h (18651,984 18000), выбранный подшипник пригоден для данных условий.
3.13 Проверка прочности шпоночных соединений
Шкив, зубчатые колеса и муфту насаживают на валы редуктора и предохраняют от проворачивания призматическими шпонками (рис. 3.21). Размеры сечения шпонки выбирают в зависимости от диаметра вала в месте установки шпонки ([7, табл. П.16; 1, табл. 24.29).
Рабочая длина шпонки (рис. 3.22) , где длина ступицы зубчатого колеса, шкива или полумуфты; b ширина шпонки.
Полученное значение рабочей длины шпонки округляем до стандартного ([7, табл. П.17; 1, табл. 24.29).

Рис. 3.21. Шпоночное соединение Рис. 3.22. Рабочая длина шпонки
Шпонки входного вала
Шкив:
= 22 мм; b = 8 мм; h = 7 мм; t1 = 4,0 мм; t2 = 3,3 мм;
= B = 45 мм; 45 8 10 = 27 28 мм.
Шпонки промежуточного вала
Колесо быстроходное:
dк2 = 35 мм; b = 12 мм; h = 8 мм; t1 = 5,0 мм; t2 = 3,3 мм;
= = 59 мм; 59 12 10 = 37 36 мм.
Шпонки выходного вала
Колесо тихоходное:
dк3 = 60 мм; b = 18 мм; h = 11 мм; t1 = 7,0 мм; t2 = 4,4 мм;
= = 64 мм; 64 18 10 = 36 мм.
Муфта:
d3 = 45 мм; b = 14 мм; h = 9 мм; t1 = 5,5 мм; t2 = 3,8 мм;
= = 105 мм; 105 14 10 = 81 80 мм.
Часть шпонки, выступающую из вала, проверяют по напряжению смятия:
, (3.86)
где Тi вращающий момент на валу, Нмм;
z число шпонок;
рабочая длина шпонки, мм;
di диаметр вала в месте установки шпонки, мм;
h высота шпонки, мм;
t1 глубина паза вала, мм;
, рабочее и допускаемое напряжение смятия, МПа.
В расчетах принимаем = 100 МПа.
Если , то следует поставить вторую шпонку, диаметрально расположенную относительно первой.
Для шкива:
МПа < = 100 МПа.
Для быстроходного колеса промежуточного вала:
МПа < = 100 МПа.
Для тихоходного колеса выходного вала:
МПа < = 100 МПа.
Для муфты:
МПа < = 100 МПа.
3.14 Выбор и расчет муфты
Муфту выбирают из стандартов или нормалей машиностроения в зависимости от расчетного вращающего момента Тр и диаметров соединяемых валов ([7, табл. П.19]).
При работе муфта испытывает колебания нагрузки, обусловленные характером работы приводимой в движение машины. Расчетный вращающий момент, Нм,
Тр = kрТ3, (3.87)
где kр коэффициент режима работы привода от электродвигателя, kр = 1,5;
Т3 момент на выходном валу редуктора, Нм (см. подразд. 3.1).
Тр = 1,5454,98 = 682,47 Нм.
При выборе муфты должно соблюдаться условие: Тр Тс, где Тс вращающий момент, передаваемый стандартной муфтой (указанный в стандарте или нормали машиностроения).
Тс = 1000 Нм.
Затем в зависимости от типа муфты проверяют на прочность отдельные ее элементы.
3.14.1 Расчет фланцевой муфты
1.16.1.1. Болты в отверстия поставлены с зазором (рис. 3.23).
В этом случае вращающий момент передается силами трения, возникающими на соприкасающихся поверхностях полумуфт за счет затяжки болтов силой Fзат. Должно выполняться условие: Fтр Ft, где Fтр сила трения на стыке полумуфт; Ft окружная сила, стремящаяся провернуть одну полумуфту относительно другой. Учитывая указанное выше условие и то, что болт работает на растяжение и кручение, рабочее напряжение в ослабленном резьбой сечении определяют по выражению:
, (3.88)
где = 13,835 внутренний диаметр резьбы болта, мм ([7, табл. П.18]);
Тр = 682,47 расчетный вращающий момент, Нмм
f = 0,15 коэффициент трения ([7, табл. П.18]);
D0 = 140 диаметр окружности, проходящей через центры болтовых отверстий, мм ([7, табл. П.18]);
z = 6 число болтов ([7, табл. П.18]);
[р] допускаемое напряжение растяжения для материала болта, МПа, [р] = 0,5;
предел текучести материала болта (для стали Ст 3 = 220 МПа, для стали 35 320, для стали 45 360 МПа).
МПа < = 110 МПа.

Рис. 3.23. Муфта фланцевая
3.15 Выбор марки масла для зубчатых передач и подшипников
Экономичность и долговечность машины зависят от правильного выбора смазочного материала. Потери на трение снижаются с увеличением вязкости смазки, однако повышаются гидромеханические (на перемешивание смазочного материала), поэтому выбор вязкости масла сводится к определению некоторого относительного ее значения на основе опыта изготовления и эксплуатации узлов машин, рекомендаций теории смазывания.
Ориентировочное значение вязкости масла для смазывания зубчатых передач определяется в зависимости от фактора з.п:
, (3.89)
где Ннv твердость по Виккерсу активных поверхностей зубьев в шестерне (см. подразд. 3.2). Соотношения между числами твердости НВ и НV приведены в [7, табл. П.20];
н рабочее контактное напряжение, МПа (п. 3.3.1, 3.4.1);
V окружная скорость в зацеплении, м/с (см. подразд. 3.3, 3.4).
Для двухступенчатого редуктора следует определить значение фактора з.п для обеих ступеней и из рис. 3.24 найти соответствующие им значения вязкости б и т.
Быстроходная ступень:
Ннv = 322; н1 = 317,756 МПа; V = 1,778 м/с.
;
Б = 85106 м2/с;
Тихоходная ступень:
Ннv = 322; н2 = 325,412 МПа; V = 0,678 м/с;
.
Т = 140106 м2/с.
Так как редуктор имеет общую масляную ванну, то следует определить среднее значение вязкости смазки:
. (3.90)
ср = м2/с.
Марка масла выбирается по среднему значению вязкости масла из [7, табл. П.21].
В редукторах и коробках передач подшипники обычно смазываются смазочным материалом, применяемым для зацеплений.
Марка масла МС-20А, масло авиационное ГОСТ 21743-76.
Марка масла И-100А, масло индустриальное ГОСТ 20799-88.

Рис. 3.24. График зависимости вязкости масла от фактора з.п
3.16 Рекомендуемые посадки деталей
3.16.1 Посадки ступиц зубчатых колес на валы:
прямозубое колесо со шпонкой Н7/р6;
косозубое колесо со шпонкой Н7/r6,
Н7/s6.
3.16.2 Посадка шкива ременной передачи на вал:
шкив со шпонкой при умеренных толчках нагрузки Н7/m6;
Н7/n6.
3.16.3 Посадки подшипников качения:
посадка в корпус Н7/0;
посадка на вал L0/к6.
3.16.4 Посадка крышек подшипников в корпус:
крышка глухая Н7/d11;
крышка проходная Н7/h8.
3.16.5 Посадка разделительных колец на вал D9/к6.
Заключение
На основании произведенных расчетов выбран электродвигатель 4А112 МВ6, определены:
передаточные отношения ременной и зубчатых передач:
= 1,5; 3,418;= 2,647;
мощности, частоты вращения и вращающие моменты на валах редуктора:
3,543 кВт; 3,437 кВт; 3,335 кВт;
n1 = 633 об/мин; n2 = 185 об/мин; n3 = 70 об/мин;
T1 = 53,449 Нм; T2 = 177,412 Нм; T3 = 454,98 Нм.
Путем подбора диаметров шкивов, толщины ремня, получена
требуемая долговечность ременной передачи Н0 = 2771,88 часов.
Используя недорогие, но достаточно прочные стали: 40Х, 35ХМ, сталь 45, рассчитаны компактные зубчатые передачи, определены диаметры валов и сделаны проверки на прочность.
Разработана эскизная компоновка редуктора, позволившая принять
окончательное решение о размерах деталей редуктора с учетом характера действующих в зацеплении сил и размеров валов, подобраны подшипники
качения и проверены на долговечность, их ресурс составляет 18651,984 ч.
Для соединения редуктора с приемным валом машины из стандартов выбрана муфта, и ее отдельные элементы проверены на прочность.
Расчетным путем определена марка масла И-100А для зубчатых колес и подшипников, установлено потребное количество масла.
По размерам, полученным из расчетов, выполнены сборочный чертеж редуктора и рабочие чертежи деталей.
Полученные навыки проектирования могут быть использованы при выполнении проектно-конструкторских работ по специальным дисциплинам.
Библиографический список
- Д у н а е в П. Ф. Конструирование узлов и деталей машин. 8-е изд., перераб. и доп. / П. Ф. Д у н а е в, О. П. Л е л и к о в. М.: Академия, 2004. 496 с.
- ГОСТ 21354-87. Передачи зубчатые цилиндрические эвольвентные внешнего зацепления. Расчет на прочность. М.: Изд-во стандартов, 1988. 128 с.
- Проектирование механических передач / Под ред. С. А. Ч е р н а в с к о г о. 4-е изд., перераб. М.: Машиностроение, 1976. 608 с.
- Проектирование электромеханического привода. Расчет и конструирование ременных передач. Часть 1: Методические указания к выполнению курсового проекта по дисциплине «Детали машин и основы конструирования». 2-е изд., с измен. / Г. П. Здор, А. В. Бородин; Омский гос. ун-т путей сообщения. Омск, 2013. 30 с.
- К у д р я в ц е в В. Н. Детали машин / В. Н. К у д р я в ц е в . Л.: Машиностроение, 1980. 464 с.
- И в а н о в М. Н. Детали машин. 10-е изд., испр. / М. Н. И в а н о в, В. А. Ф и н о г е н о в. М.: Высшая школа, 2006. 408 с.
- Проектирование электромеханического привода. Расчет и конструирование цилиндрического двухступенчатого редуктора: Методические указания к выполнению курсового проекта по дисциплине «Детали машин и основы конструирования». Часть 2. 2-е изд., стереотипное / Г. П. Здор, А. В. Бородин; Омский гос. ун-т путей сообщения. Омск, 2014. 49 с.
ПРОЕКТИРОВАНИЕ МЕХАНИЧЕСКОГО ПРИВОДА С ЦИЛИНДРИЧЕСКИМ РЕДУКТОРОМ

