РАСЧЕТ УСТАНОВКИ ЭЛЕКТРОЦЕНТРОБЕЖНОГО НАСОСА ДЛЯ СКВАЖИНЫ № 96 МЕСТОРОЖДЕНИЯ Одопту-Суша
Министерство образования и науки Российской Федерации
федеральное государственное бюджетное образовательное учреждение
высшего профессионального образования
«Сахалинский государственный университет»
Технический нефтегазовый институт
Кафедра нефтегазового дела
КУРСОВАЯ РАБОТА
по дисциплине
«НЕФТЕГАЗОПРОМЫСЛОВОЕ ОБОРУДОВАНИЕ»
на тему:
«рАСЧЕТ УСТАНОВКИ ЭЛЕКТРОЦЕНТРОБЕЖНОГО НАСОСА ДЛЯ СКВАЖИНЫ № 96 МЕСТОРОЖДЕНИЯ Одопту-Суша»
|
Автор работы |
______________________ (подпись, дата) |
Ларионов Д.Ф. |
|
Научный руководитель |
______________________ (подпись, дата) |
Новиков Д. Г. |
Южно-Сахалинск 2015
Министерство образования и науки Российской Федерации
федеральное государственное бюджетное образовательное учреждение
высшего профессионального образования
«Сахалинский государственный университет»
Технический нефтегазовый институт
Кафедра нефтегазового дела
ЗАДАНИЕ НА КУРСОВУЮ РАБОТУ
По дисциплине «НЕФТЕГАЗОПРОМЫСЛОВОЕ ОБОРУДОВАНИЕ»
Студенту Ларионов Д.Ф. группы
1.Тема «рАСЧЕТ УСТАНОВКИ ЭЛЕКТРОЦЕНТРОБЕЖНОГО НАСОСА ДЛЯ СКВАЖИНЫ № 96 МЕСТОРОЖДЕНИЯ ОДОПТУ - СУША»
Утверждена на заседании кафедры
протокол № ______ от «__»__________ 20__ года.
2. Срок сдачи студентом законченной работы «__» _____ 20__ года.
3. Исходные данные к работе: подбор оборудования и выбор узлов насосный центробежной установки; проверка диаметрального габарита погружного оборудования; проверка параметров трансформатора и станции управления.
4. Содержание работы: введение, глава 1:_установка электроцентробежного насоса, глава 2: расчетная часть, глава 3: техника безопасности, заключение.
5. Перечень графического материала: таблица, график, рисунки.
6. Руководитель:
Новиков Д.Г., ст. преподаватель кафедры нефтегазового дела, ТНИ, СахГУ
дата и подпись руководителя
Задание принял к исполнению
дата и подпись студента
Содержание
Введение
Эксплуатация скважин установками погружных центробежных насосов (УЭЦН) является в настоящее время основным способом добычи нефти в России. Данными установками извлекается на поверхность около двух третей от общей годовой добычи нефти в нашей стране.
Электроцентробежные скважинные насосы (ЭЦН) относятся к классу динамических лопастных насосов, характеризующихся большими подачами и меньшими напорами по сравнению с объемными насосами.
Диапазон подач скважинных электроцентробежных насосов - от 10 до 1000 м3/сутки и более, напор - до 3500 м. В области подач свыше 80 м3/сут ЭЦН имеет самый высокий КПД среди всех механизированных способов добычи нефти. В интервале подач от 50 до 300 м3/сут КПД насоса превышает 40 %.
Одно из важнейших условий эффективного использования УЭЦН это правильный подбор УЭЦН к скважине, то есть выбор для каждой конкретной скважины таких взаимообусловленных типоразмеров насоса, электродвигателя с гидрозащитой, кабеля, трансформатора, подъемных труб из имеющегося парка оборудования, и такой глубины спуска насоса в скважину, которые обеспечат освоение скважины и технологическую норму отбора жидкости (номинального дебита) из нее в установившемся режиме работы системы скважина УЭЦН при наименьших затратах.
Подбор УЭЦН к скважине на современном уровне связан с выполнением относительно трудоемких и громоздких вычислений и осуществляется с помощью ЭВМ.
Одно из важнейших условий эффективного использования УЭЦН это правильный подбор УЭЦН к скважине, то есть выбор для каждой конкретной скважины таких взаимообусловленных типоразмеров насоса, электродвигателя с гидрозащитой, кабеля, трансформатора, подъемных труб из имеющегося парка оборудования, и такой глубины спуска насоса в скважину, которые обеспечат освоение скважины и технологическую норму отбора жидкости (номинального дебита) из нее в установившемся режиме работы системы скважина УЭЦН при наименьших затратах.
Подбор УЭЦН к скважине на современном уровне связан с выполнением относительно трудоемких и громоздких вычислений и осуществляется с помощью ЭВМ.
Глава 1 УСТАНОВКИ ЭЛЕКТРОЦЕНТРОБЕЖНЫХ НАСОСОВ
1.1 Общая схема установки погружного электроцентробежного насоса.
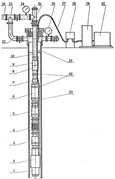
На сегодняшний день предложено большое число различных схем и модификаций установок ЭЦН. На рисунке 1 приведена одна из схем оборудования добывающей скважины установкой погружного центробежного электронасоса.

Рисунок 1 Схема установки погружного центробежного насоса в скважине
На рисунке 1 обозначены: компенсатор 1, погружной электродвигатель (ПЭД) 2, протектор 3, приёмная сетка 4 с газосепаратором 5, насос 6, ловильная головка 7, обратный клапан насосный 8, спускной клапан 9, колонна насосно-компрессорных труб (НКТ) 10, колено 11, выкидная линия 12, обратный клапан устьевой 13, манометры 14 и 16, устьевая арматура 15, кабельная линия 17, соединительный вентиляционный ящик 18, станция управления 19, трансформатор 20, динамический уровень жидкости в скважине 21, пояса 22 для крепления кабельной линии к НКТ и насосному агрегату и эксплуатационная колонна скважины 23.
При работе установки насос 6 откачивает жидкость из скважины на поверхность по насосно-компрессорным трубам 10. Насос 6 приводится в действие погружным электродвигателем 2, электроэнергия к которому подводится с поверхности по кабелю 17. Охлаждение двигателя 2 производится потоком скважинной продукции.Наземное электрооборудование станция управления 19 с трансформатором 20 предназначено для преобразования напряжения промысловой электросети до величины, обеспечивающей оптимальное напряжение на входе в электродвигатель 2 с учётом потерь в кабеле 17, а также для управления работой погружной установки и её защиты при аномальных режимах.
Допустимое по отечественным техническим условиям максимальное содержание свободного газа на входе в насос составляет 25%. При наличии газосепаратора на приёме ЭЦН допустимое газосодержание увеличивается до 55%. Зарубежные фирмы-производители УЭЦН рекомендуют применять газосепараторы во всех случаях, когда входное газосодержание составляет более 10 %.
1.2 Электроцентробежный насос (ЭЦН)
Модуль-секция насоса (рисунок 2) состоит из корпуса 1, вала 2, пакетов ступеней (рабочих колес 3 и направляющих аппаратов 4), верхнего подшипника 5, нижнего подшипника 6, верхней осевой опоры 7, головки 8, основания 9, двух ребер 10 (служат для защиты кабеля от механических повреждений) и резиновых колец 11, 12, 13.
Рисунок 2 Схема модулясекции насоса
1 корпус; 2 вал; 3 колесо рабочее; 4 аппарат направляющий;
5 подшипник верхний; 6 подшипник нижний; 7 опора осевая верхняя; 8 головка; 9 основание; 10 ребро; 11, 12, 13 кольца резиновые.
Рабочие колеса свободно передвигаются по валу в осевом направлении и ограничены в перемещении нижним, и верхним направляющими аппаратами. Осевое усилие от рабочего колеса передается на нижнее текстолитовое кольцо и затем на бурт направляющего аппарата. Частично осевое усилие передается валу вследствие трения колеса о вал или прихвата колеса к валу при отложении солей в зазоре или коррозии металлов. Крутящий момент передается от вала к колесам латунной шпонкой, входящей в паз рабочего колеса. Шпонка расположена по всей длине сборки колес и состоит из отрезков длиною 400 - 1000 мм.
Направляющие аппараты сочленяются между собой по периферийным частям, в нижней части корпуса они все опираются на нижний подшипник 6 (рисунок 2) и основание 9, а сверху через корпус верхнего подшипника зажаты в корпусе.
Рабочие колеса и направляющие аппараты насосов обычного исполнения изготавливаются из модифицированного серого чугуна и радиационно модифицированного полиамида, насосов коррозионно-стойкого исполнения из модифицированного чугуна ЦН16Д71ХШ типа «нирезист».
Валы модулей секций и входных модулей для насосов обычного исполнения изготавливаются из комбинированной коррозионно-стойкой высокопрочной стали ОЗХ14Н7В и имеют на торце маркировку «НЖ» для насосов повышенной коррозионной стойкости из калиброванных прутков из сплава Н65Д29ЮТ-ИШ-К-монель и имеют на торцах маркировку «М».
Валы модулей-секций всех групп насосов, имеющих одинаковые длины корпусов 3, 4 и 5 м, унифицированы.
Соединение валов модулей-секций между собой, модуля секции с валом входного модуля (или вала газосепаратора), вала входного модуля свалом гидрозащиты двигателя осуществляется при помощи шлицевых муфт.
Соединение модулей между собой и входного модуля с двигателем фланцевое. Уплотнение соединений (кроме соединения входного модуля с двигателем и входного модуля с газосепаратором) осуществляется резиновыми кольцами.
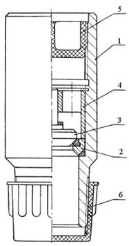
1.3 Газосепаратор
Для откачивания пластовой жидкости, содержащей у сетки входного модуля насоса свыше 25 % (до 55 %) по объему свободного газа, к насосу подсоединяется модуль насосный газосепаратор (рисунок 3).
Рисунок 3 схема узла газосепаратора
1 головка; 2 переводник; 3 сепаратор; 4 корпус; 5 вал;
6 решетка; 7 направляющий аппарат; 8 рабочее колесо; 9 шнек;
10 подшипник; 11 основание.
Газосепаратор устанавливается между входным модулем и модулем-секцией. Наиболее эффективны газосепараторы центробежного типа,
в которых фазы разделяются в поле центробежных сил. При этом жидкость концентрируется в периферийной части, а газ в центральной части газосепаратора и выбрасывается в затрубное пространство. Газосепараторы серии: модульный насосный-газосепаратор (МНГ) имеют предельную подачу 250 500 м3/сут., коэффициент сепарации 90 %, массу от 26 до 42 кг.
- Гидрозащита и погружной электродвигатель (ПЭД)
Двигатель погружного насосного агрегата состоит из электродвигателя и гидрозащиты. Электродвигатели (рисунок 4) погружные трехфазные коротко замкнутые двухполюсные маслонаполненные обычного и коррозионно-стойкого исполнения унифицированной серии ПЭДУ и в обычном исполнении серии ПЭД модернизации Л. Гидростатическое давление в зоне работы не более 20 МПа. Номинальная мощность от 16 до 360 кВт, номинальное напряжение 530- 2300 В, номинальный ток 26- 122.5А.
Рисунок 4 Схема узла электродвигателя серии ПЭДУ
1 соединительная муфта; 2 крышка; 3 головка; 4 пятка;
5 подпятник; 6 крышка кабельного ввода; 7 пробка; 8 колодка кабельного ввода; 9 ротор; 10 статор; 11 фильтр; 12 основание.
Гидрозащита (рисунок 5) двигателей ПЭД предназначена для предотвращения проникновения пластовой жидкости во внутреннюю полость электродвигателя, компенсации изменения объема масла во внутренней полости от температуры электродвигателя и передачи крутящего момента от вала электродвигателя к валу насоса.
Гидрозащита состоит либо из одного протектора, либо из протектора и компенсатора. Могут быть три варианта исполнения гидрозащиты.
Рисунок 5 Схема узла гидрозащиты:
а открытого типа; б закрытого типа
А верхняя камера; Б нижняя камера; 1 головка; 2 торцевое уплотнение;
3 верхний ниппель; 4 корпус; 5 средний ниппель;6 вал;
7 нижний ниппель; 8 основание; 9 соединительная трубка; 10 диафрагма.
Первый: состоит из протекторов П92, ПК92 и П114 (открытого типа) из двух камер. Верхняя камера заполнена тяжелой барьерной жидкостью (плотность до 2 г/см3, не смешиваемая с пластовой жидкостью и маслом), нижняя маслом, что и полость электродвигателя. Камеры сообщены трубкой. Изменения объемов жидкого диэлектрика в двигателе компенсируются за счет переноса барьерной жидкости в гидрозащите из одной камеры в другую.
Второй: состоит из протекторов П92Д, ПК92Д и П114Д (закрытого типа), в которых применяются резиновые диафрагмы, их эластичность компенсирует изменение объема жидкого диэлектрика в двигателе.
Третий: гидрозащита 1Г51М и 1Г62 состоит из протектора, размещенного над электродвигателем и компенсатора, присоединяемого к нижней части электродвигателя. Система торцевых уплотнений обеспечивает защиту от попадания пластовой жидкости по валу внутрь электродвигателя. Передаваемая мощность гидрозащит 125 250 кВт, масса 53 59 кг.
- Телеметрическая система (ТМС)
Телеметрическая система (ТМС) предназначена для контроля некоторых технологических параметров скважин, оборудованных УЭЦН (давление, температура, вибрация) и защиты погружных агрегатов от аномальных режимов работы (перегрев электродвигателя или снижение давления жидкости на приеме насоса ниже допустимого).
Система ТМС состоит из скважинного преобразователя, трансформирующего давление и температуру в частотно-манипулированный электрический сигнал, и наземного прибора, осуществляющего функции блока питания, усилителя-формирователя сигналов и устройства управления режимом работы погружным электронасосом по давлению и температуре.
Скважинный преобразователь давления и температуры (ПДТ) выполнен в виде герметичного цилиндрического контейнера, размещаемого в нижней части электродвигателя и подключенного к нулевой точке его статорной обмотки.
Наземный прибор, устанавливаемый в комплектное устройство ШГС, обеспечивает формирование сигналов на ее отключение и выключение насоса по давлению и температуре.
В качестве линии связи и энергопитания погружного датчика (ПД) используется силовая сеть питания погружного электродвигателя.
1.6 Клапан сливной и клапан обратный
Сливной клапан (рисунок 7) предназначен для слива жидкости из насосно -компрессорных труб при подъеме УЭЦН из скважины.
Сливной клапан состоит из корпуса 1 с ввернутым в него штуцером 2, который уплотнен резиновым кольцом 3.
Перед подъемом УЭЦН из скважины конец штуцера, находящийся во внутренней полости клапана, сбивается (обламывается) сбрасыванием в скважину специального инструмента и жидкость из колонны НКТ вытекает через отверстие в штуцере в за трубное пространство.
Сливной клапан устанавливается между обратным клапаном и колонной труб НКТ.
На период транспортировки сливной клапан закрывают крышками 4 ,5.

Рисунок 7 Схема узла клапан сливной
1 корпус; 2 штуцер; 3 резиновое кольцо; 4,5 крышки.
Клапан обратный.
Обратный клапан (рисунок 8) предназначен для предотвращения обратного (турбинного) вращения рабочих колес насоса под воздействием столба жидкости в напорном трубопроводе при остановках насоса и облегчения ею последующею запуска, используется для опрессовки колонны НКТ после спуска установки в скважину.
Обратный клапан состоит из корпуса 1 обрезиненного седла 2, на которое опирается тарелка 3. Тарелка имеет возможность осевого перемещения в направляющей втулке 4.
Под воздействием потока перекачиваемой жидкости тарелка поднимается, тем самым открывая клапан. При остановке насоса тарелка опускается на седло под воздействием столба жидкости в напорном трубопроводе и клапан закрывается. Обратный клапан устанавливается между верхней секцией насоса и сливным клапаном. На период транспортировки обратный клапан закрывают крышками 5 и 6

Рисунок 8 Схема узла клапан обратный
1 корпус; 2 обрезиненное седло; 3 тарелка; 4 направляющая втулка; 5,6 крышки.
1.7 Кабель
Кабельная линия представляет собой кабель в сборе, намотанный на кабельный барабан.
Кабель в сборе состоит из основного кабеля круглого(рисунок 9а) (ПКБК) кабель, полиэтиленовая изоляция, бронированный, круглый или плоского кабель полиэтиленовый бронированный плоский (КПБП) (рисунок 9б), присоединенного к нему плоского кабеля с муфтой кабельного ввода (удлинитель с муфтой).
Рисунок 9 Кабели
а круглый, б плоский.
1 жила, 2 изоляция, 3 оболочка, 4 подушка, 5 броня.
Кабель состоит из трех жил, каждая из которых имеет слой изоляции и оболочку; подушки из прорезиненной ткани и брони. Три изолированные жилы круглого кабеля скручены по винтовой линии, а жилы плоского кабеля уложены параллельно в один ряд.
Кабель КФСБ с фторопластовой изоляцией предназначен для эксплуатации при температуре окружающей среды до + 160 С.
Кабель в сборе имеет унифицированную муфту кабельного ввода К38 (К46) круглого типа. В металлическом корпусе муфты герметично заделаны изолированные жилы плоского кабеля с помощью резинового уплотнителя.
К токопроводящим жилам прикреплены штепсельные наконечники.
Круглый кабель имеет диаметр от 25 до 44 мм. Размер плоского кабеля от 10.1х25.7 до 19.7х52.3 мм. Номинальная строительная длина 850, 1000 1800 м.
1.8 Станция управления и трансформатор
Комплектные устройства станции управления и трансформатора обеспечивают включение и выключение погружных двигателей, дистанционное управление с диспетчерского пункта и программное управление, работу в ручном и автоматическом режимах, отключение при перегрузке и отклонении напряжения питающей сети выше 10 % или ниже 15 % от номинального, контроль тока и напряжения, а также наружную световую сигнализацию об аварийном отключении (в том числе со встроенной термометрической системой).
Комплексная трансформаторная подстанция погружных насосов (КТППН) предназначена для питания электроэнергией и защиты электродвигателей погружных насосов из одиночных скважин мощностью 16 125 кВт включительно. Номинальное высокое напряжение 6 или 10 кВ, пределы регулирования среднего напряжения от 1208 до 444 В (трансформатор ТМПН100) и от 2406 до 1652 В (ТМПН160). Масса с трансформатором 2705 кг.
Глава 2 РАСЧЕТНАЯ ЧАСТЬ
2.1. Исходные данные для расчета установки электроцентробежного насоса для скважины №96 месторождения Одопту-Суша
При проведении подбора УЭЦН необходимы следующие исходные данные:
1.Плотность, кг/м3:
-воды 1030
-сепарированной нефти 850
-газа в нормальных условиях 1
2.Коэффициент вязкости, м2/с10-5
-нефти 5,1
3.Планируемый дебит скважины, м3/сутки 120
4.Обводненность продукции пласта, доли единицы 0,5
5.Газовый фактор, м3/ м3 42
6.Объемный коэффициент нефти, ед. 1,23
7.Глубина расположения пласта (отверстий перфорации), м 2250
8.Пластовое давление МПа -11,2
9.Давление насыщения, МПа 5
10.Пластовая температура и температурный градиент, С 50, 0,02
11.Коэффициент продуктивности, м3/ МПа 21
12.Буферное (затрубное) давление, МПа 1,1/1,1
13.Содержание механических примесей, мг/л 110
14.Содержание сероводорода и углекислого газа 0
15.Размеры обсадной колонны, мм 130
16.Текущее объемное газосодержание 0,18
17. Эффективная вязкость смеси, м2/с*10-5-4,1
2.2. Подбор оборудования и выбор узлов установки ЭНЦ
Подбор установки УЭЦН ведется в следующей последовательности:
1.Определяется плотность смеси на участке «забой скважины прием насоса» с учетом упрощений:
Рсм = [pи b + pв (1- b)] (1- Г) + рг Г, (3.1)
где и плотность сепарированной нефти, кг/куб.м; в плотность пластовой воды; г плотность газа в стандартных условиях; Г текущее объемное газосодержание; b обводненность пластовой жидкости.
см = [1030·0,5+850·(1-0,5)]·(1-0,18)+1·0,18=771 кг/м3
2.Определяется забойное давление, при котором обеспечивается заданный дебит скважины:
Рзаб = Рпл-Q / Kпрод, (3.2)
где Рпл пластовое давление, МПа; Q заданный дебит скважины, м3/сут; Кпрод коэффициент продуктивности скважины, м3/МПа.
Рзаб = 11,2-120/21=5.49 МПа=5,5·106 Па
3.Определяется глубина расположения динамического уровня при заданном дебите жидкости:
НДИН = Lскв Рзаб / Рсм g. (3.3)
где: Lскв глубина расположения пласта, м
Ндин = 2250-5,5·106/771·9,8=1523 м
4.Определяется давление на приеме насоса, при котором газосодержание на входе в насос не превышает предельно-допустимое для данного региона и данного типа насоса (например Г = 0,15):
Рпр = ( 1 Г ) Р НАС, (3.4)
(при показателе степени в зависимости разгазирования пластовой жидкости т = 1,0), где: Рнас давление насыщения, МПа.
Рпр = (1-0,15)·5=4.25 МПа=4,25·106 Па
5.Определяется глубина подвески насоса:
L= HДИН + Рпр / Рсм g (3.5)
L = 1523+4,25·106/771·9,8=1124 м
6.Определяется температура пластовой жидкости на приеме насоса:
(3.6)
где Тпл пластовая температура, °С; Gт температурный градиент, °С/1м.
Т = 50-(2250-1124)·0,02=27,5 °С
7.Определяется объемный коэффициент жидкости при давлении на входе в насос:
(3.7)
где В - объемный коэффициент нефти при давлении насыщения; b - объемная обводненность продукции; Рпр давление на входе в насос,МПа; Рнас - давление насыщения,МПа.
В*=0,5+(1-0,5)[1+(1.23-1)4,25/5]=1,1
8.Вычисляется дебит жидкости на входе в насос:
(3.8)
Qпр = 120·1,1=132 м3/сут=0,0015 м3/с
9.Определяется объемное количество свободного газа на входе в насос:
(3.9)
где G газовый фактор, м3/м3.
Gпр = 42·[1-(4,25/5)]=6,3 м3/м3
10.Определяется газосодержание на входе в насос:
(3.10)
вх = 1 / [(1+4,25/5) /1,1) / 6,3+1]=0,8
11.Вычисляется расход газа на входе в насос:
3.11)
Qг.пр.с =132·0,8/(1-0,8)=528 м3/с
12.Вычисляется приведенная скорость газа в сечении обсадной колонны на входе в насос:
(3.12)
где fскв площадь сечения скважины на приеме насоса.
fскв = ·d2/4,
где: d диаметр обсадной колонны,м
fскв = 3,14·0,132/4=0,013м2
С = 528/0,013=40615 м/сут=0,47 м/с
13.Определяется истинное газосодержание на входе в насос:
(1.13)
где Сп скорость всплытия газовых пузырьков, зависящая от обводненности продукции скважины (Сп=0,02 см/с при b<0,5 или Сп = 0,16 см/с при b>0,5).
= 0,8/[1+(0,0016/0,47)·0,8]=0,8
14.Определяется работа газа на участке «забой прием насоса»:
(3.14)
Рг1 = 5[[1/(1-0,4·0,8)]-1]=2,35 МПа
15.Определяется работа газа на участке «нагнетание насоса устье скважины»:
(3.15)
где;
Величины с индексом «буф» относятся к сечению устья скважины и являются «буферными» давлением, газосодержанием и т.д.

В*буф=0,5+(1-0,5)[1+(1,23-1) ]=1,05
Gбуф = 42·[1-(1,1/5)]=32,8 м3/м3
буф = 1/[((1+4,25/5)/1,05)/32,8+1]=0,95
буф = 0,95/[1+(0,0016/0,47)·0,95]=0,95
Рг2 = 5[[1/(1-0,4·0,95)]-1]=3 МПа
16.Определяется потребное давление насоса:
(3.16)
МПа
где Ндин глубина расположения динамического уровня; Р6уф буферное давление; Рг1 давление работы газа на участке «забой прием насоса»; Рг2 давление работы газа на участке «нагнетание насоса устье скважины».
По величине подачи насоса на входе, потребному давлению (напору насоса) и внутреннему диаметру обсадной колонны выбирается типоразмер погружного центробежного насоса. [Рисунок 10 Характеристики центробежных насосов, параметры насосов типа ЭЦНА, ЭЦНАК ТУ 3631-025-21945400-97].
Определяются величины, характеризующие работу этого насоса в оптимальном режиме (подача, напор, КПД, мощность) и в режиме подачи, равной «О» (напор, мощность).
Qов=165 м3/сут=0,0019м3/с,
Нов=475 м, ов=0,60, Nов=15кВт
Определяется коэффициент изменения подачи насоса при работе на нефтеводогазовой смеси относительно водяной характеристики:
(3.17)
где эффективная вязкость смеси, м2/с*10-5; QoB оптимальная подача насоса на воде(рисунок 10), м3/с.
КQ =1-4,95·0,0000410,85·0,0019-0,57=0,967
19.Вычисляется коэффициент изменения КПД насоса из-за влияния вязкости:
(3.18)
К = 1-1,95·0,0000410,4/0,00190,28=0,8
20.Вычисляется коэффициент сепарации газа на входе в насос:
(3.19)
где fскв площадь кольца, образованного внутренней стенкой обсадной колонны и корпусом насоса, м2.
fскв.к = fскв +fн,
где: fн площадь сечения насоса, м2.
fн =·d2н/4,
где: dн диаметр насоса, (Справочник по добыче нефти Андреев В.В. Уразаков К.Р., глава 6 Эксплуатация нефтяных скважин бесштанговыми насосами. Установки погружных центробежных насосов, таблица 1), м.
fн = 3,14·0,1242/4=0,012 м2
fскв.к =0,013-0,012=0,001 м2
Кс = 1/[1+(6,02·0,0015/0,001)]=0,1
Таблица 1 Установки погружных центробежных насосов
|
Показатель |
|
|
Группа установки |
|||
|
|
|
|
|
5 |
5А |
6 |
|
Поперечный размер установки,мм |
116 |
124 |
137 |
|||
|
|
|
|
|
|
||
|
Внутренний диаметр эксплуатационной |
121.7 |
130 |
144.3 |
|||
|
колонны,мм |
|
|
|
|
|
21.Определяется относительная подача жидкости на входе в насос:
(3.20)
где QoB подача в оптимальном режиме по «водяной» характеристики насоса, м3/с.
q = 0,0015/0,0019=0,78
22.Определяется относительная подача на входе в насос в соответствующей точке водяной характеристики насоса:
(3.21)
qпр = 0,0015/0,0019·0,967=0,82
23.Вычисляется газосодержание на приеме насоса с учетом газосепарации:
. (3.22)
пр =0,8·(1-0,1)=0,72
24.Определяется коэффициент изменения напора насоса из-за влияния вязкости:
KHv= l-(l,07v0,6qnp/QoB0,57) (3.23)
KHv = 1-(1,07·0,0000410,6·0,82/0,00190,57)=1
Для определения изменения напора и других показателей работы центробежных погружных насосов при вязкости жидкости, значительно отличающейся от вязкости воды и вязкости девонской нефти в пластовых условиях (более 0,030,05 см2/с), и незначительном содержании газа на приеме первой ступени насоса для учета влияния вязкости можно воспользоваться номограммой П.Д. Ляпкова. Для наших значений эта диаграмма нам не понадобиться
25.Определяется коэффициент изменения напора насоса с учетом влияния газа:
(3.24)
где
А = 1/[15,4-19,2·0,82+(6,8·0,82)2]=0,032
К = [(1-0,8)/(0,85-0,31·0,82)0,032]=0,2
26.Определяется напор насоса на воде при оптимальном режиме:
(3.25)
Н = 8,4·106/771·9,8·0,2·1=5559 м
27.Вычисляется необходимое число ступеней насоса:
Z = H/hcT (3.26)
где hc напор одной ступени выбранного насоса.
hс =Hтабл/100,
где: Hтабл напор (рисунок 10), м.
hст =1835/100=18,35м
Z =5595/18,35=304
Число Z округляется до большего целочисленного значения и сравнивается со стандартным числом ступеней выбранного типоразмера насоса. Если расчетное число ступеней оказывается больше, чем указанное в технической документации на выбранный типоразмер насоса, то необходимо выбрать следующий стандартный типоразмер с большим числом ступеней и повтоить расчет, начиная с п. 17.
Если расчетное число ступеней оказывается меньше, чем указанное в технической характеристике, но их разность составляет не более 5 %, выбранный типоразмер насоса оставляется для дальнейшего расчета. Если стандартное число ступеней превышает расчетное на 10 %, то необходимо решение о разборке насоса и изъятии лишних ступеней. Другим вариантом может быть решение о применении дросселя в устьевом оборудовании. Дальнейший расчет ведется с п.18 для новых значений рабочей характеристики.
28.Определяется КПД насоса с учетом влияния вязкости, свободного газа и режима работы:
(3.27)
где оВ максимальный КПД насоса на водяной характеристики.
= 0,967·1·0,6=0,58
29.Определяется мощность насоса:
(3.28)
N= 8,4·106·0,0019/0,58=27517 Вт=27,5 кВт
30.Определяется мощность погружного двигателя:
(3.29)
где: ПЭД КПД погружного электродвигателя
NПЭД = 27,5/0,54=51 кВт
31.Проверка насоса на возможность отбора тяжелой жидкости.
В скважинах с возможным фонтанированием или выбросом жидкости при смене скважинного насоса глушение осуществляется заливкой тяжелой жидкости (воды, воды с утяжелителями). При спуске нового насоса необходимо откачать насосом эту «тяжелую жидкость» из скважины, чтобы установка начала работать на оптимальном режиме при отборе нефти. При этом сначала необходимо проверить мощность, потребляемую насосом в том случае, когда насос перекачивает тяжелую жидкость. В формулу для определения мощности вводится плотность, соответствующая перекачиваемой тяжелой жидкости (для начального периода ее отбора).
При этой мощности проверяется возможный перегрев двигателя. По увеличению мощности и перегреву определяется необходимость комплектации установки более мощным двигателем.
По окончании отбора тяжелой жидкости проверяется вытеснение тяжелой жидкости из НКТ пластовой жидкостью, находящейся в насосе. В этом случае давление, создаваемое насосом, определяется характеристикой работы насоса на пластовой жидкости, а противодавление на выкиде - столбом тяжелой жидкости.
Необходимо проверить и вариант работы насоса, когда откачка тяжелой жидкости ведется не в трап, а на излив, если это допустимо по расположению скважины.
Проверка насоса и погружного двигателя на возможность откачки тяжелой жидкости (жидкости глушения) при освоении скважины ведется по формуле:
(3.30)
где гл плотность жидкости глушения,( 920 кг/м3).
Ргл = 920·9,8·2250+1,1·106+5,5·106-11,2·106=14,7 МПа
При этом вычисляется напор насоса при освоении скважины:
(3.31)
Нгл = 14,7·106/920·9,8=1630м
Нгл>Н ; 1630>475
Величина Нгл сравнивается с напором Н паспортной водяной характеристики насоса.
Определяется мощность насоса при освоении скважины:
(3.32)
Nгл =14,7·106·0,0019/0,58=48155 Вт=48,15 кВт
Мощность, потребляемая погружным электродвигателем при освоении скважины:
(3.33)
NПЭД.гл = 48,15/0,54=90 кВт
32.Установка проверяется на максимально допустимую температуру на приеме насоса:
(3.34)
100°С>27,5°С
где [Т] максимально допустимая температура откачиваемой жидкости на приеме погружного насоса.
33.Установка проверяется на теплоотвод по минимально допустимой скорости охлаждающей жидкости в кольцевом сечении, образованном внутренней поверхностью обсадной колонны в месте установки погружного агрегата и внешней поверхностью погружного двигателя, для чего рассчитываем скорость потока откачиваемой жидкости:
(3.35)
где
площадь кольцевого сечения; D внутренний диаметр обсадной колонны; d внешний диаметр ПЭД.
F = 0,785·(0,132-0,1162)=0,0027м2
W = 0,0019/0,0027=0,7 м/с
Если скорость потока откачиваемой жидкости W оказывается больше минимально допустимой скорости откачиваемой жидкости [W], тепловой режим погружного двигателя считается нормальным.
Если выбранный насосный агрегат не в состоянии отобрать требуемое количество жидкости глушения при выбранной глубине подвески, она (глубина подвески) увеличивается на L = 10 100 м, после чего расчет повторяется, начиная с п. 5. Величина L зависит от наличия времени и возможностей вычислительной техники расчетчика.
После определения глубины подвески насосного агрегата по инклинограмме проверяется возможность установки насоса на выбранной глубине (по темпу набора кривизны на 10 м проходки и по максимальному углу отклонения оси скважины от вертикали). Одновременно с этим проверяется возможность спуска выбранного насосного агрегата в данную скважину и наиболее опасные участки скважины, прохождение которых требует особой осторожности и малых скоростей спуска при ПРС.
Необходимые для выбора установок данные по комплектации установок, характеристики и основные параметры насосов, двигателей и других узлов установок даны как в настоящей книге, так и в специальной литературе .
Для косвенного определения надежности работы погружного электродвигателя рекомендуется оценить его температуру, так как перегрев двигателя существенно снижает срок его работы. Увеличение температуры обмотки на 810 °С выше рекомендованной заводом-изготовителем снижает срок службы изоляции некоторых видов в 2 раза. Рекомендуют следующий ход расчета. Вычисляют потери мощности в двигателе при 130 °С:

(3.36)
где b2, с2 и d2 расчетные коэффициенты; Nн и д.н номинальные мощности и КПД электродвигателя соответственно. Перегрев двигателя определяют по формуле:
(3.37)
где b3 и с3 конструктивные коэффициенты.
Далее определяют температуру жидкости, охлаждающей двигатель (toxл), и коэффициент, учитывающий влияние обводненности и наличие свободного газа на охлаждение двигателя:
(3.38)
(3.39)
В связи с охлаждением потери в двигателе уменьшаются, что учитывается коэффициентом Kt.
(3.40)
где b5 коэффициент [15].
Тогда потери энергии в двигателе (N) и его температура (tдв) будут равны:
(3.41)
(3.42)
Температура обмоток статора большинства двигателей не должна быть больше 130 °С. При несоответствии мощности выбранного двигателя той, которая рекомендуется комплектовочной ведомостью, выбирается двигатель другого типоразмера того же габарита. В некоторых случаях возможен выбор двигателя большего габарита по диаметру, но при этом необходимы проверка поперечного габарита всего агрегата и сопоставление его с внутренним диаметром обсадной колонны скважины.
При выборе двигателя необходимо учитывать температуру окружающей жидкости и скорость ее потока. Двигатели рассчитаны на работу в среде с температурой до 90 °С. В настоящее время лишь один тип двигателя допускает повышение температуры до 140 °С, дальнейшее же ее повышение снизит срок службы двигателя. Такое использование двигателя допустимо в особых случаях. Обычно желательно снизить его нагрузку для уменьшения перегрева обмоточных проводов. Для каждого двигателя рекомендуется своя минимальная скорость потока исходя из условий его охлаждения. Эту скорость необходимо проверить.
34.Проверка параметров кабеля и НКТ
При проверке выбранного ранее кабеля необходимо учитывать в основном три фактора: 1) потери энергии в кабеле; 2) снижение напряжения в нем при запуске установки; 3) габарит кабеля.
Потери энергии в кабеле (в кВт) определяются из следующей зависимости:
(3.43)
где I сила тока двигателя; Lкаб вся длина кабеля (глубина спуска двигателя и примерно 50 м кабеля на поверхности); Rо активное сопротивление 1 м длины кабеля,
Lкаб = L+50.
Lкаб = 1124+ 50=1174 м
(3.44)
где 20 удельное сопротивление жилы кабеля при 20 °С с учетом нагартовки и скрутки, принимается равным 0,0195 Ом·мм2/м; q площадь сечения жилы кабеля, мм2; температурный коэффициент линейного расширения меди, равный 0,0041/ °С; tкаб температура жилы кабеля, которую можно при ориентировочных расчетах принять равной средней температуре в стволе скважины.
Rо = ([1+0,0041·(27,5-20)]·(1,31)·0,0195/50)10=0,53 Ом/км
Nкаб = 3·37,5·0,53·1174·10-3=70 кВт
Допустимую потерю энергии в кабеле можно определить экономическим расчетом при сравнении затрат на дополнительную энергию и затрат на замену кабеля с большим сечением и меньшими потерями энергии. Ориентировочно можно ограничивать потери энергии 610% от общей мощности, потребляемой установкой. Снижение напряжения в кабеле при работе установки компенсируется трансформатором, поэтому к электродвигателю в нормальном режиме его работы подводится его рабочее напряжение. Но при пуске двигателя сила тока возрастает в 45 раз и снижение напряжения может быть настолько значительным, что двигатель не запустится. Поэтому необходимо проверять снижение напряжения в кабеле при пусковом режиме. Это особенно важно при кабелях большой длины. Снижение напряжения определяется из зависимости
(3.45)
где Хо индуктивное удельное сопротивление кабеля, Ом/м; для кабеля с площадью сечения 25 и 35 мм2 равно 0,1·103 Ом/м; cos и sin коэффициенты мощности и реактивной мощности установки соответственно; коэффициент мощности установки достаточно велик благодаря значительной длине кабеля; при правильной комплектации установки он равен 0,860,9.
Uпуск =
·(0,53·0,86+0,1·0,6)·65·1174/100=638 В
Допустимое снижение напряжения указывается в заводской характеристике двигателя. Оно сравнивается с рассчитанным по формуле (3.45).
Допустимые сечения кабеля проверяются с учетом размеров других элементов установки.
НКТ проверяются на допустимые гидравлические сопротивления потоку, прочность и диаметр, обеспечивающий проход оборудования в скважину. При движении жидкости потери напора не должны превышать 56 % полезного напора насоса.
Гидравлические сопротивления определяются из зависимости
(3.46)
где: коэффициент Дарси,
= 0,021/d0,3н ,
где: dн диаметр насоса (Каталог Установки погружных центробежных насосов для нефтяной промышленности = 0,124 мм), мм.
= 0,021/0,1240,3=0,04
= 0,021/0,1160,3=0,07
Р =771·0,04·(1174·(4,110-5)2/2·0,130)=0,00024 Па
При движении газожидкостной смеси такое определение сопротивлений дает весьма ориентировочные результаты.
Прочность труб проверяют с учетом веса колонны НКТ, давления откачиваемой жидкости и веса всего оборудования (кабеля, погружного агрегата).
Проверка габаритов проводится согласно указаниям следующего раздела данного параграфа.
2.3 Проверка диаметрального габарита погружного оборудования
Диаметральный габарит погружного оборудования должен обеспечить спуск и подъем его без повреждения в скважину и достаточно полное использование внутренней полости скважины. Обычно зазор между оборудованием и обсадными трубами составляет 310 мм. При значительной глубине скважины и увеличенной ее кривизне необходимо принимать увеличенный зазор. Диаметральный габарит определяется обычно в трех сечениях по длине оборудования. Первое сечение берется у муфты НКТ. Здесь диаметральный габарит равен сумме диаметров кабеля и муфты с учетом плюсовых допусков на их изготовление. Второе сечение берется над погружным агрегатом с учетом его габарита и габарита ближайшей муфты НКТ, у которой находится круглый кабель. Такая муфта обычно расположена в 1020 м от агрегата и вместе с последним представляет довольно жесткую систему. Если габарит этого сечения превышает допустимый, то трубы заменяются на меньший размер на длине 4050 м. Таким образом, уменьшается жесткость этой системы (НКТ погружной агрегат) без существенного увеличения потерь напора в трубах.
Последнее сечение диаметральное сечение самого агрегата (Da) без муфты, труб и круглого кабеля.
Если габариты оборудования неприемлемы в первом и последнем сечениях, необходимо изменить размер кабеля, НКТ, насоса или двигателя. При этом проверяются расчетом и соответствующие этапы выбора узлов установки, указанные в предыдущих разделах.
2.4 Проверка параметров трансформатора и станции управления.
Трансформатор проверяется на возможность поднять напряжение тока до суммы напряжения, требуемого двигателем, и снижения напряжения в кабеле в рабочем режиме двигателя. Кроме того, проверяется мощность трансформатора.
Снижение напряжения в кабеле определяется по зависимости, но с учетом рабочей, а не пусковой силы тока. Мощность проверяется сравнением мощности трансформатора (в кВт·А) и мощности, которую необходимо ввести в скважину (в кВ·А).
При выборе станции управления необходимо учитывать тип трансформатора, силу тока, подаваемого на двигатель, и некоторые другие условия.
КПД поверхностного оборудования для расчетов можно принимать равным примерно 0,98.
Глава 3 Техника безопасности
3.1 Охрана труда при эксплуатации установок скважинных центробежных насосов.
При монтаже и эксплуатации установок ЭЦН должны строго соблюдаться правила безопасности в нефтяной промышленности, правила устроиства, правила технической эксплуатации и правила техники безопасности при эксплуатации электроустановок потребителями. Кроме того, практически во всех нефтяных компаниях разработаны либо Стандарты предприятия, либо Регламенты на проведение основных работ с установками ЭЦН.
Все работы с электрооборудованием установки производится двумя работниками, причем один из них должен иметь квалификацию электрика не ниже 3 группы.
Включение и выключение установки нажатием кнопки или поворотом выключателя, расположенной на наружной стороне двери станции управления, выполняются персоналом, имеющим квалификацию не ниже 1 группы и прошедшим специальный инструктаж.
Оборудование установки ЭЦН монтируется согласно руководству по эксплуатации.
Кабель от станции управления до устья скважины прокладывается на металлических стойках на высоте от земли 0,5 м. Этот кабель должен иметь на своей длинне открытое соединение с тем, газ из скважины не мог проходить по кабелю (например по скрутке проволок в жиле) в помещении станции управления. Для этого делается металлическая коробка, в которой размещено соединение жил кабеля, исключающее перемещение газа к станции управления.
Все наземное оборудование установки надежно заземляется.
Сопротивление контура заземления должно быть не более 4Ом.
При спуско-подъемных работах скорость движения труб с кабелем не должен быть более 0.,25м/с. Для намотки и смотки кабеля с барабана используются установки УПК с дистанционным управлением приводом механизированного барабана.
При работах по погрузке и разгрузке оборудование установок ЭЦН с транспортных средств необходимо соблюдать правила безопасности при такелажных работах. В частности, нельзя быть на пути кабельного барабана, спускаемого лебедкой с откосов машины или саней. Нельзя находиться и сзади него. Все погрузочные и разгрузочные устройства должны подвергаться переодическим испытаниям и не реже чем раз в 3 месяца осматриваться и регулироваться.
На транспортировочном агрегате все части установки ЭЦН должны быть надежно закреплены. Насосы, гидрозащита и электродвигатель закрепляются скобами и винтами, трансформатор, станция управления - цепями, а барабан - за свою ось четырьмя винтовыми растяжками.
Заключение
При добычи нефти на месторождениях, в процессе эксплуатации скважин, непрерывно собирается информация, используемая в контроле над разработкой, она обрабатывается, анализируется и используется для разработки геолого-технических мероприятий.
Подбором УЭЦН обычно называют выбор таких типоразмеров насоса, погружного электродвигателя с протектором, электрокабеля, автотрансформатора или трансформатора, диаметра НКТ и глубины спуска насоса в скважину, сочетание которых на установившемся режиме обеспечивает заданный отбор жидкости при наименьших затратах.
Главным направлением ГТМ, является увеличение продуктивности добывающих скважин и оптимизацию их режимов. В этом случае необходимо производить оптимальный подбор основного подземного оборудования. Оптимальный подбор означает такое соответствие характеристик скважины и подземного оборудования, при котором затраты электроэнергии на подъём скважинной жидкости к устью сведены к минимуму.
Для качественного подбора оборудования и определении режима работы скважины необходимо:
-производить очистку забоя при каждом ТРС;
-использовать проверенные результаты гидродинамических исследований скважин;
-применять современные установки и технологии по извлечению запасов углеводородного сырья:
- тщательно изучать данные по геофизическим исследованиям скважин с целью точного определения залегания продуктивных пластов.
Список используемых источников
1. Ивановский В.Н., Дарищев В.И., Сабиров А.А., Каштанов В.С., Пекин С.С. Скважинные насосные установки для добычи нефти. М: ГУП Изд-во «Нефть и газ» РГУ нефти и газа им. И.М. Губкина, 2002. -824 с.
2. Мищенко И.Т. Скважинная добыча нефти: Учебное пособие для вузов.-М: ФГУП Изд-во «Нефть и газ» РГУ нефти и газа им. И.М. Губкина, 2003. -816 с.
3. Ивановский В.Н., Дарищев В.И., Каштанов В.С. и др. Оборудование для добычи нефти и газа. Часть 1. М.: Нефть и газ, 2002. -768 с.
4. Андреев В.В., Уразаков К.Р., Далимов В.У. Справочник по добыче нефти. М.: ООО «Недра - Бизнесцентр», 2000. -374 с.
5.Справочник по добыче нефти/В.В.Андреев, К.Р.Уразаков, У.Далимов и др.; Под ред. К.Р.Уразакова. 2000. 374с.: Ил.
6.Нефтепромысловое оборудование: Справочник/Под ред. И.Бухаленко. 2-е изд., перераб. и доп. - М., Недра, 1990.
PAGE 44
Рисунок 10 Характеристика насосов ЭЦНМ5А ТУ26-06-1485-96 на поподачу 160 м3/сут на воде плотностью р = 1000 кг/м3 Количество ступеней 10100 ЭЦНА5А-160 ТУ3631-025-21945400-97
РАСЧЕТ УСТАНОВКИ ЭЛЕКТРОЦЕНТРОБЕЖНОГО НАСОСА ДЛЯ СКВАЖИНЫ № 96 МЕСТОРОЖДЕНИЯ Одопту-Суша