Изучение особенности сварки плавлением стали 10Г2С
Содержание:
Введение………………………………………………………….....2
1. Исходные данные……………………………………………….3
2. Характеристики свариваемой конструкции………………...3
3. Выбор способа сварки………………………………………....4
4. Особенности сварки стали 10Г2С…………….…………...5
5. Выбор сварочных материалов………………….………….....7
6. Выбор основного и вспомогательного оборудования….....9
7. Разработка технологического процесса сварки……………..…..…10
7.1 Подготовка конструкции к сборке……………………..……….10
7.2 Сборка конструкции под сварку………………………….11
7.3 Подогрев металла…………………………………….……11
7.4 Сварка…………………………………………………..……12
8. Контроль производства сварочных работ……………….….13
9. Охрана труда…………………………………………………….14
10. Список использованной литературы……………………….16
Введение
Цель работы: изучение особенности сварки плавлением стали 10Г2С и разработка технологического процесса сварки цилиндрической толстолистовой конструкции.
Сварка является одним из основных технологических процессов в промышленности. Сварку применяют при изготовлении и монтаже строительных конструкций, трубопроводов, технологического оборудования из различных марок сталей, цветных металлов и сплавов, других материалов.
Производительность и качество сварочных работ и, как следствие, эффективность современного строительно-монтажного производства определяются главным образом их техническим уровнем и квалификацией специалистов. Последний фактор становится особенно важным в условиях все возрастающего насыщения сварочного производства сложным оборудованием, использования в сварных конструкциях трудносвариваемых сталей и сплавов, применения новых прогрессивных технологических процессов, повышения требований к качеству сварных соединений.
1.Исходные данные
1.Цилиндрическая толстолистовая конструкция. Длина 4000 мм. Диаметр 1000. Толщина 20 мм. Сталь марки 10Г2С (t8/5 10 40 c)
2. Тип соединения: стыковое .
3. Характеристика соединения: кольцевое поворотное двухцелендрический.
4. Характеристика шва: Односторонний стыковой с полным проплавлением.
5. Положение сварки: нижнее.
6. Способ сварки: механизированная сварка в защитном газе.
7.Условия производства: температура металла 20С.
2. Характеристики свариваемой конструкции.
Геометрические размеры:
Длина 4000мм.
Диаметр 1000.
Толщина 20 мм.
Сталь марки 10Г2С.
t8/5 10 40 c.

Рис 1. Внешний вид цилиндрической толстолистовой конструкции.
По условию цилиндрическая толстолистовая конструкция изготавливается из конструкционной низколегированной стали для сварных конструкций стали 10Г2С. Ниже приведены химический состав и механические свойства стали.
Таблица 2.1 Химический состав в % материала 10Г2С
|
C |
Si |
Mn |
Cr |
N |
Ni |
Cu |
As |
S |
P |
||||||||||
|
0,12 |
0.8 - 1.1 |
1.3 - 1.65 |
До 0.3 |
0.008 |
до 0.3 |
до 0.3 |
до 0.08 |
до 0.04 |
до 0.035 |
Таблица 2.2 Механические свойства стали 10Г2С при температуре 20°.
|
Класс прочности по ГОСТ 19281-89 |
Предел текучести Т, МПа |
Временное сопротивление В, МПа |
Относительное удлинение S ,% |
|
590-640 |
295-355 |
430-490 |
21 |
3.Выбор способа сварки
Способ сварки механизированная сварка в защитном газе.
Механизированная дуговая сварка (прежний термин полуавтоматическая) представляет собой процесс дуговой сварки плавящимся электродом, при котором подача проволоки в зону сварки осуществляется с помощью механизмов сварочных полуавтоматов. Перемещение дуги вдоль свариваемых кромок и манипулирование электродом при сварке производится вручную. Такая схема процесса, во многом сохраняя приемы и достоинства ручной сварки (простота, надежность, маневренность, малое время на подготовку к сварке и т.п.),делает ее весьма пригодной и в настоящее время наиболее перспективной для производства сварочных работ во многих отраслях промышленности и особенно в машиностроении.

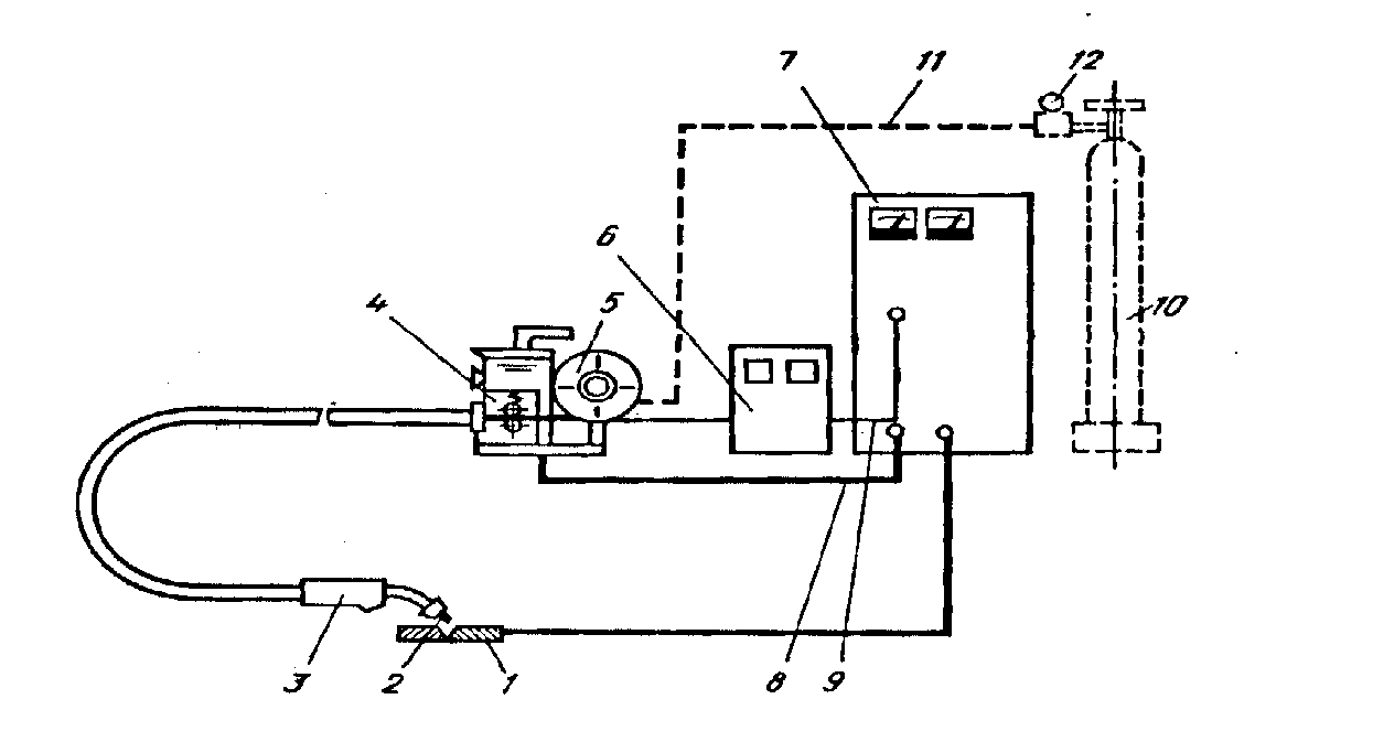
Рис. 2. Схема механизированной сварки плавящимся электродом:
1 свариваемые детали; 2 плавящийся электрод (проволока); сварочный полуавтомат: 3 горелка с гибким шлангом; 4 механизм подачи проволоки; 5 кассета с проволокой; 6 шкаф управления; 7 источник питания; 8 сварочный кабель; 9 провод цепи управления; 10 баллон с газом; 11 газовый шланг; 12 газовый редуктор-расходомер (1012 устанавливаются при сварке с использованием защитного газа)
Сварка в защитных газах является одним из способов дуговой сварки. При этом способе в зону дуги подается защитный газ, струя которого, обтекая электрическую дугу и сварочную ванну, предохраняет расплавленный металл от воздействия атмосферного воздуха, окисления и азотирования. Сварка в защитных газах отличается следующими преимуществами: высокая производительность (в 2...3 раза выше обычной дуговой сварки), возможность сварки в любых пространственных положениях, хорошая защита зоны сварки от кислорода и азота атмосферы, отсутствие необходимости очистки шва от шлаков и зачистки шва при многослойной сварке; малая зона термического влияния; относительно малые деформации изделий; возможность наблюдения за процессом формирования шва; доступность механизации и автоматизации. Недостатками этого способа сварки являются необходимость принятия мер, предотвращающих сдувание струи защитного газа в процессе сварки, применение газовой аппаратуры, а в некоторых случаях и применение относительно дорогих защитных газов.
Известны следующие разновидности сварки в защитном газе: в инертных одноатомных газах (аргон, гелий), в нейтральных двухатомных газах (азот, водород), в углекислом газе. В практике наиболее широкое применение получили аргонодуговая сварка и сварка в углекислом газе. Инертный газ гелий применяется очень редко ввиду его большой стоимости. Для сварки ответственных конструкций широко применяется сварка в смеси газов аргона и углекислого газа в соотношении 85% аргона и 15% С02. Качество этой сварки сталей очень высокое. Питание дуги осуществляют источники постоянного тока с жесткой характеристикой. В последние годы применяются в основном сварные выпрямители серии ВДУ с универсальной внешней характеристикой, т. е. жесткой, либо крутопадающей простым переключением пакетника.
Переменный ток не применяется из-за низкой устойчивости процесса горения дуги, плохого формирования и плохого качества шва. Напряжение на дуге при сварке в С02должно быть не более 30 В, так как с увеличением напряжения и длины дуги увеличивается разбрызгивание и окисление. Обычно напряжение дуги 22 28 В, скорость сварки 20-80 м/ч, расход газа 720 л/мин. Сварка в С02 с проволокой дает провар более глубокий, чем электроды, поэтому при переходе с ручной сварки оправданным считается уменьшение катетов примерно на 10%. Это объясняется повышенной плотностью тока на 1 мм2электродной проволоки. Основные элементы режима сварки в С02 в табл.1.
Таблица 3
Типовые параметры режима сварки в С02
|
Диаметр проволоки, мм |
Сварочный ток, А |
Скорость подачи проволоки м/ч |
Напряжене на дуге, В |
Расход газа, л/мин |
Вылет проволоки, мм |
|
0,8 |
50110 |
устанавл. подбором под режим |
1820 |
57 |
612 |
|
1,0 |
70150 |
1921 |
79 |
713 |
|
|
1,2 |
90230 |
2125 |
1215 |
815 |
|
|
1,6 |
150300 |
2328 |
1217 |
1320 |
Сварку в углекислом газе производят почти во всех пространственных положениях, что очень важно при производстве строительно-монтажных работ. Сварку осуществляют при питании дуги постоянным током обратной полярности.
Рис. 2. Движение электрода во время сварки в углекислом газе при выполнении многослойного шва
На рисунке показаны движения электрода во время сварки в углекислом газе при выполнении многослойного шва.
3. Состав оборудования
В состав технологического оборудования, необходимого для выполнения сварочных работ при дуговой механизированной сварке в защитных газах входят:
· источник питания;
· сборочно-сварочные приспособления;
· газовая аппаратура;
· приборы газовой магистрали;
· сварочный аппарат (полуавтомат).
4. Особенности сварки стали 10Г2С
Cталь марки 10Г2С1 относится к конструкционным низколегированным.
Низколегированные низкоуглеродистые стали 09Г8, 09Г2С, 10Г2С, практически не закаливаются при всех способах сварки. Применяют при сварке заготовок толщиной свыше 30 мм.
Низколегированные низкоуглеродистые стали 09Г8, 09Г2С, 10Г2С при сварке покрытыми электродами не закаливаются и мало склонны к перегреву. Сварку этих сталей производят аналогично сварке низкоуглеродистой стали.
Неоднородность напряженного состояния заготовок при упруго-пластическом деформировании вызывает возникновение остаточных напряжений и деформаций, интенсифицирующих процессы МХПМ, деформационного охрупчивания и старения сталей. Деформационное старение низколегированных и низкоуглеродистых сталей способствует сближению значений предела текучести и временного сопротивления, снижению характеристик трещиностойокости, малоцикловой и коррозионно-механической прочности. Склонность материала к деформационному старению оценивается по изменению отношения предела текучести к временному сопротивлению, отражающему основные механические и эксплуатационные характеристики. Дана количественная оценка и предложены технологические способы снижения отрицательных эффектов упруго-пластического деформирования, основанные на обеспечении принципов взаимозаменяемости базовых деталей и снижении остаточных напряжений и деформаций.
Ее существенным преимуществом является возможность выполнения швов во всех пространственных положениях. Оба вида сварки могут быть рекомендованы для соединений конструкций из низколегированных и низкоуглеродистых сталей.
Производим расчёт параметра трещинообразования(Рс), он показывает склонность стали к образованию холодных трещин
Рс=Рсм+H/60+/600
Рсм коэффициент, характеризующий охрупчивание металла в следствии структурных превращений;
H количество диффузионного водорода в металле шва[Н]-10
толщина свариваемого металла, мм.
Коэффициент Рсм=С+Si/30+Mn/20+Cu/20+Ni/60+Cr/20+Mo/15+V/10+5B
Pсм=0.12+0.8/30+0.1/20+0.1/20=0,15
Pc=0,15+10/60+20/600=0.35
Pc=0,43 Pc0.37 это значит, что сварные соединения не склонны к образованию холодных трещин.
Расчёт углеродного эквивалента Сэкв
Сэкв=(С+Mn)/6+(Cr+Mo+V)/5+(Ni+Cu)/15, %
Сэкв=(0,12+1,3)/6+(0,1)/5=0,25%
Сэкв=0,25%<0.2-0.25% - это значит, что сварные соединения не чувствительны к образованию закалочных структур
5.Выбор сварочных материалов
Конструкция по условию курсового проекта будет изготавливаться из низкоуглеродистой низколегированной стали 10Г2С. Данная сталь имеет высокие механические свойства (временное сопротивление 510МПа) и может хорошо работать в условиях динамических переменных нагрузок.
Низколегированые стали рекомендуется сваривать проволокой Св-08Г2С d = 1,2мм по ГОСТ 2246 70.
Таблица 5.1 Химический состав проволоки Св-08Г2С по ГОСТ 2246 70.
|
Марка проволоки |
Углерод |
Кремний |
Марганец |
Хром |
|
Св 08Г2С |
0,05 0,11 |
0,70 0,95 |
1,80 2,10 |
0,20 |
Дополнительное легирование марганцем позволяет получать качественное сварное соединение в среде CO2.
Сварочно-технологические свойства: Устойчивость дуги хорошая, формирование шва удовлетворительное, склонность к образованию пор и трещин низкая.
6.Выбор основного и вспомогательного оборудования
1.Основное оборудование:
Сварку заданной стали обеспечит сварочный аппарат Kemppi Kempact Pulse 3000. Ниже приведены технические данные.


Рис.3
Kempact Pulse 3000 - эффективный аппарат синергетической сварки MIG/MAG с функциями импульсной сварки и сварки двойными импульсами. Аппарат предназначен MIG/MAG для сварки алюминия и других материалов, имеющий разнообразные функции для профессионалов с четкими требованиями к точности управления качеством сварки.
Kempact Pulse 3000 имеет функцию импульсной сварки, сварки двойными импульсами, а также сохраненные в памяти программы сварки, используемые для автоматической оптимизации настроек конкретных сварочных операций.
2.Вспомогательное оборудование.
Для очистки кромок металла будем применять шлифовальную машинку.
2.1 Кантователи предназначены для установки свариваемого изделия и поворота его вокруг горизонтальной оси, а также для перемещения изделия по вертикали. Кантователи не имеют - сварочной скорости. Они различаются по принципу устройства привода поворота. Наиболее распространены кантователи центровые, цепные, книжные, кольцевые.
Центровые кантователи (рис. 4) имеют две стойки, на которых смонтированы приводы со шпинделями и рабочими органами. Одна из стоек, обычно неподвижная, имеет привод вращения шпинделя. Вторая, подвижная, имеет механизм перемещения по направляющим.
Рис. 4. Кантователь двухстоечный с подъемными центрами:
1 - стойки; 2 - шпиндели; 3 - приводы
В случае небольших перемещений вместо перемещения всей стойки может выдвигаться лишь шпиндель. Кроме того, каждая стойка может иметь синхронизированный привод подъема центров, который упрощает работу при сварке рамных конструкций.
Основными параметрами кантователей являются крутящий момент, грузоподъемность, минимальная и максимальная высота подъема центров. Выбор кантователя проводится аналогично выбору манипулятора по грузоподъемности и крутящему моменту. Основные параметры и размеры сварочных двухстоечных кантователей с подъемными центрами .
2.2Для изготовления кромок будем применять кромкорез TruTool TKF 1100 (1А1) с электроприводом
2.3 Болгарка BOSH PWS 650.

3. Проволока сварочная омедненная СВ08Г2С
Проволока сварочная по ГОСТ 2246-70 диаметром 0,5-2,0 мм и 6,0-8,0 мм и легированная диаметром 0,8-4,0 мм поставляется в мотках массой не более 80кг, диаметром 2,5-5,0 мм поставляется в бухтах массой 500-1200кг.
Мотки (бухты) обертываются водонепроницаемой двухслойной упаковочной бумагой или парафинированной бумагой.
По назначению сварочная проволока подразделяется:
проволока сварочная для сварки (наплавки);
проволока сварочная для изготовлении электродов.
Проволока сварочная ГОСТ 2246-70 применяется для механизированных способов cварки.
Временное сопротивление разрыву соответствует ГОСТ 2246-70.
Проволока сварочная поставляется в мотках прямоугольного сечения или на крупногабаритных металлических катушках емкостью до 1000кг.
Мотки сварочной проволоки обертываются влагонепроницаемой бумагой, затем тарной тканью, на катушках не упаковывается.
Проволока сварочная марки СВ08Г2С применяется для изготовления электродов.
Проволока сварочная поставляется на катушках массой до 1000кг, по требованию потребителя в мотках. Требования к упаковке согласно ГОСТ 2246-70.
Проволока сварочная омедненная марки СВ08Г2С
Проволока сварочная омедненная марки СВ08Г2С гарантирует высокие сварочно-технологические свойства, стабильность механических свойств металлошва и надежность сварных соединений.

http://metizorel.ru/prov2246.html
4. Щиток
7. Разработка технологического процесса сварки
1.Исходные данные
1.Цилиндрическая толстолистовая конструкция. Длина 4000 мм. Диаметр 1000. Толщина 20 мм. Сталь марки 10Г2С (t8/5 10 40 c)
2. Тип соединения: стыковое .
3. Характеристика соединения: кольцевое поворотное двух цилиндрический.
4. Характеристика шва: Односторонний стыковой с полным проплавлением.
5. Положение сварки: нижнее.
6. Способ сварки: механизированная сварка в защитном газе.
7.Условия производства: температура металла 20С.
7.1 Подготовка конструкции к сборке.
7.1 Подготовка и хранение сварочных материалов
Сварочные материалы следует хранить в сухом отапливаемом помещении, в условиях, предохраняющих от увлажнения и загрязнения. Температура помещения должна быть не ниже 15 °С.
7.2 Подготовка конструкции к сборке.
При подготовке металла и конструкции к сборке и сварке необходимо провести входной контроль который включает:
- Проверку качества основного материала и , несмотря на наличие сертификата предприятия изготовителя, проверку химического состава стали, в том числе для определения действительного значения эквивалентного углерода;
- Внешний осмотр на наличие трещин и расслоений;
В целях избегания образования в швах пор и других включений торцевые поверхности кромок и прилегающие к ним зоны металла шириной 25-30 мм. Подлежат очистке от ржавчины, краски, масляных и других загрязнений. Очистку выполняем шлифовальной машинкой BOSH PWS 650.По условию проекта необходимо выполнить односторонний стыковой шов с полным проплавлением, что по ГОСТ 16037-80 соответствует типу стыкового соединения С8.Разделку кромок выполняем при помощи кромкореза TruTool TKF 1100 (1А1).
По условию проекта необходимо выполнить кольцевой поворотный двух цилиндрический шов без скоса кромки с частичным проплавлением, что по ГОСТ 16037-80. соответствует типу С-8 , с зазором 2мм. рис 3.1. Подготовленные под сварку кромки и прилегающие к ним участки металла шириной не менее 20мм, должны быть самым тщательным образом очищены, очистку производить шлифовальной машинкой.
Выписка из ГОСТ 16037-80
|
Условное |
Конструктивные элементы и размеры |