Теплотехнический расчет здания
Содержание
Введение…………………………………………………………………………..3
- Теплотехнический расчет ограждающих конструкций
- Теплотехнический расчет наружных стен…………………………4-6
- Теплотехнический расчет чердачного перекрытия…………….....6-8
- Теплотехнический расчет перекрытий над неотапливаемыми подвалами…………………………………………………………...9-11
- Подбор светопрозрачных конструкций……………………………..11
- Проверка конструкции на отсутствие конденсации влаги
- Проверка конструкции наружной стены………………………… . 12
- Проверка конструкции наружной стены в части наружного
угла…………………………………………………………………12-13
- Расчет ограждений на теплоустойчивость в теплый
период года…………………………………………………………….14-16
- Теплоусвоение поверхности полов…………………………………… 17
- Воздушный режим эксплуатации наружных ограждений
- Определение сопротивления воздухопроницанию ограждающих конструкций………………………………………………………18-19
- Определение сопротивления воздухопроницанию
окон и дверей……………………………………………………..19-20
- Влажностный режим наружных ограждений
- Определение сопротивления паропроницанию ограждающих конструкций………………………………………………………22-23
- Определение сопротивления паропроницанию чердачного
перекрытия…………………………………………………………..24
Заключение……………………………………………………………………..25
Список используемой литературы…………………………………………..26
ВВЕДЕНИЕ
Выполнение курсовой работы имеет цель закрепить теоретический материал по основным вопросам дисциплины «Строительная теплофизика», приобрести навыки самостоятельной работы в области проектирования наружных ограждений и опыт работы со справочной и специальной литературой.
Поддержание искусственного климата в помещении - важная, но не простая задача в связи с многообразием конструктивно-планировочных решений зданий, изменчивостью атмосферных воздействий, повышением уровня требований к устойчивости комфортных условий и стремлением к экономному расходованию топлива.
Помещения в здании изолированы от внешней среды, что позволяет создать в них определенный микроклимат. Наружные ограждения защищают от непосредственных климатических воздействий, специальные системы отопления, вентиляции и кондиционирования воздуха (собирательно их можно называть системами кондиционирования микроклимата) поддерживают в помещениях в течение всего года определенные параметры внутренней среды.
В теплотехническом отношении наружные ограждающие конструкции зданий должны удовлетворять следующим требованиям:
а) обладать достаточными теплозащитными свойствами, чтобы лучше сохранять тепло в помещении в холодное время и защитить помещение от перегрева летом;
б) температура на внутренних поверхностях, воздухопроницаемость и влажность наружных ограждений не должны превосходить допускаемых нормами пределов, чтобы избежать появления конденсата, ощущения дутья, ухудшения теплозащитных свойств и санитарно-гигиенических условий ограждаемого помещения.
Проектирование наружных ограждений построено на принципах ограничения количества тепла, теряемого ограждением в отопительный период и поддержания на внутренней поверхности наружного ограждения температуры, при которой на поверхности не образуется конденсат.
Теплотехнический расчет обычно начинают с определения расчетного сопротивления теплопередаче R0 основной части (глади) конструкции ограждения. Необходимым является условие, чтобы полное сопротивление теплопередаче R0 было равно или больше минимально допустимого по санитарно-гигиеническим соображениям (или требуемого) сопротивления теплопередаче.
Процессы передачи тепла, переноса влаги и фильтрации воздуха взаимосвязаны, и одно явление оказывает влияние на другое. Поэтому определение тепло -, влаго - и воздухозащитных свойств должно проводиться как общий расчет требуемых защитных свойств наружных ограждений здании.
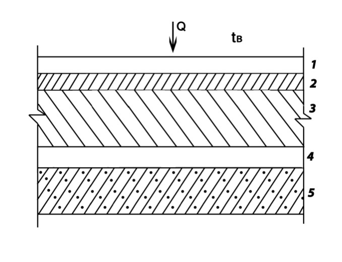
- Теплотехнический расчет наружных стен

1,5 - отделочные слои: цементно-песчаный раствор = 1800кг/м3, 1 = 0,025 м, 5 = 0,025 м;
2,4 - конструктивные слои: железобетон
= 2500кг/м3 , 2 = 0,05 м, 4 = 0,15 м;
3- слой утеплителя: плиты минераловатные жесткие к.с. = 200 кг/м3
Теплозащитные свойства наружных ограждений определяют двумя показателями: сопротивлением теплопередаче R0 и теплоустойчивостью, которую оценивают по показателю инерции ограждения D.
Величина R0 определяет сопротивление ограждения передаче теплоты в стационарных условиях, а теплоустойчивость характеризует сопротивляемость ограждения передаче изменяющихся во времени периодических тепловых воздействий.
Наиболее важным является определение расчетного сопротивления теплопередаче R основной части (глади) конструкции ограждения; с этого и начинают теплотехнический расчет ограждения.
Приведенное сопротивление теплопередаче ограждающих конструкций Ro следует принимать в соответствии с заданием на проектирование, но не менее требуемых значений, R0тр, определяемых исходя из санитарно-гигиенических и комфортных условий и условий энергосбережения.
Теплозащитные свойства наружных ограждений (стен, перекрытий, покрытий) устанавливают следующими расчетами.
1) Рассчитывают градусо-сутки отопительного периода (ГСОП) по формуле:
, (2.1)
где toт.пер. - средняя температура периода со средней суточной температурой наружного воздуха < 8 °С (средняя температура наружного воздуха в отопительный период),°С [табл. 1, 2] 1, равна -7,8
Zот. пер. - продолжительность отопительного периода, сут./год [табл. 1, 2], равна 203.
tв - расчетная температура воздуха внутри помещения. Расчетная температура воздуха внутри жилых и общественных зданий tв для холодного периода года должна быть не ниже оптимальных значений, приведенных в таблице 2.1, согласно ГОСТ 30494. Параметры воздуха зданий производственного назначения следует принимать согласно ГОСТ 12.1.005 и норм проектирования соответствующих зданий и сооружений. Расчетная температура воздуха внутри здания tв для теплого периода года должна быть не выше допустимых значений, приведенных в таблице 2.2, согласно ГОСТ 30494., равна +18
ГСОП= (18+ 7.8)203=5237 сут·°С
2) Определяют минимальное приведенное сопротивление теплопередаче, R02тр, м2°С/Вт, ограждающих конструкций здания, исходя из условий энергосбережения [табл. 1* , 1].
Формула интерполяции,
Где у=5237 сут, =4000, = 6000, = 2.8, = 3.5.
Х= 2.8+ (3.5 2.8)(1237/2000)=3.23
3) Определяют требуемое сопротивление теплопередаче R01тр, м2°С/Вт,
наружного ограждения по формуле:
где t н - расчетная зимняя температура наружного воздуха, равная средней температуре наиболее холодной пятидневки с коэффициентом обеспеченности 0,92 , °С [табл. 1, 2], равна -36;
n - коэффициент, принимаемый в зависимости от положения поверхности ограждающей конструкции по отношению к наружному воздуху [табл. 3*, 1], равен 1;
tн - нормативный температурный перепад между температурой внутреннего воздуха и температурой внутренней поверхности ограждающей конструкции, °С [табл. 2*, 1], равен 4;
в - коэффициент теплоотдачи на внутренней поверхности ограждения, Вт/ (м2°С) [табл. 4*, 1], равен 8,7.
4) Производят сравнение сопротивлений теплопередаче: рассчитанного из условий выполнения санитарно-технических и комфортных условий R01тр, и, принятого по условиям энергосбережения R02тр. Большее значение сопротивления теплопередаче принимают для выполнения последующих расчетов. Принимаем
5) Термическое сопротивление R, м2°С/Вт, слоя многослойной ограждающей конструкции, а также однородной (однослойной) ограждающей конструкции определяют по формуле:
где d - толщина слоя, м;
l - расчетный коэффициент теплопроводности материала слоя, Вт/(м °С), равен
6) Сопротивление теплопередаче Ro, м2°С/Вт, ограждающей конструкции определяют по формуле:
7) Определяют общую толщину конструкции общ, м, по формуле:
8)Определяют величину тепловой инерции D ограждающей конструкции по формуле:
,
где n- количество слоев в ограждении, равно 5.
9) Определяют коэффициент теплопередачи К, Вт/(м2 °С), ограждения по формуле:

1.2 Теплотехнический расчет чердачного перекрытия
1 - железобетонная панель = 2500кг/м3 , 1 = 0,22 м;
2 - один слой рубероида = 600 кг/м3 , 2 = 0,003 м;
4 - цементно-песчаная стяжка = 1800кг/м3, 4 = 0,03 м;
3 - слой утеплителя из: газобетона = 400кг/м3
1) Рассчитывают градусо-сутки отопительного периода (ГСОП) по формуле:
где
toт.пер. - средняя температура периода со средней суточной температурой наружного воздуха < 8 °С, равна -7,8
Zот. пер. - продолжительность отопительного периода, равна 203сут./год
tв - расчетная температура воздуха внутри помещения, равна +18.
ГСОП= (18+ 7.8)203=5237 сут·°С
2) Определяют минимальное приведенное сопротивление теплопередаче, R02тр, м2°С/Вт, ограждающих конструкций здания, исходя из условий энергосбережения [табл. 1* , 1].
Формула интерполяции,
Где у=5237 сут, =4000, = 6000, = 3,7, = 4,6.
Х= 3,7+ (4,6 3,7)(1237/2000)=4,26
3) Определяют требуемое сопротивление теплопередаче R01тр, м2°С/Вт,
наружного ограждения по формуле:
где t н - расчетная зимняя температура наружного воздуха, равная средней температуре наиболее холодной пятидневки с коэффициентом обеспеченности 0,92 , °С [табл. 1, 2], равна -36;
n - коэффициент, принимаемый в зависимости от положения поверхности ограждающей конструкции по отношению к наружному воздуху [табл. 3*, 1], равен 1;
tн - нормативный температурный перепад между температурой внутреннего воздуха и температурой внутренней поверхности ограждающей конструкции, °С [табл. 2*, 1], равен 4;
в - коэффициент теплоотдачи на внутренней поверхности ограждения, Вт/ (м2°С) [табл. 4*, 1], равен 8,7.
4) Производят сравнение сопротивлений теплопередаче: рассчитанного из условий выполнения санитарно-технических и комфортных условий R01тр, и, принятого по условиям энергосбережения R02тр. Большее значение сопротивления теплопередаче принимают для выполнения последующих расчетов. Принимаем
5) Термическое сопротивление R, м2°С/Вт, слоя многослойной ограждающей конструкции, а также однородной (однослойной) ограждающей конструкции определяют по формуле:
где d - толщина слоя, м;
l - расчетный коэффициент теплопроводности материала слоя, Вт/(м °С),
6) Сопротивление теплопередаче Ro, м2°С/Вт, ограждающей конструкции определяют по формуле:
7) Определяют общую толщину конструкции общ, м, по формуле:
8)Определяют величину тепловой инерции D ограждающей конструкции по формуле:
,
где n- количество слоев в ограждении, равно 4.
14) Определяют коэффициент теплопередачи К, Вт/(м2 °С), ограждения по формуле:
1.3 Теплотехнический расчет перекрытий над
неотапливаемым подвалом

1 - линолеум ПВХ на тканевой подоснове = 1800кг/м3 , 1 = 0,007 м;
2 - цементно-песчаная стяжка = 1800кг/м3, 2 = 0,02 м;
4 - один слой рубероида = 600 кг/м3 , 4 = 0,003 м;
5 - железобетонная плита = 2500кг/м3 , 5 = 0,22 м;
3 - слой утеплителя из: вермикулита вспученного = 200 кг/м3
1) Рассчитывают градусо-сутки отопительного периода (ГСОП) по формуле:
где
toт.пер. - средняя температура периода со средней суточной температурой наружного воздуха < 8 °С, равна -8,01C
Zот. пер. - продолжительность отопительного периода, равна 215сут./год
tв - расчетная температура воздуха внутри помещения, равна +18C.
ГСОП= (18+ 7.8)203=5237 сут·°С
2) Определяют минимальное приведенное сопротивление теплопередаче, R02тр, м2°С/Вт, ограждающих конструкций здания, исходя из условий энергосбережения [табл. 1* , 1].
Формула интерполяции,
Где у=5237 сут, =4000, = 6000, = 3,7, = 4,6.
Х= 3,7+ (4,6 3,7)(1237/2000)=4,26
3) Определяют требуемое сопротивление теплопередаче R01тр, м2°С/Вт,
наружного ограждения по формуле:
где t н - расчетная зимняя температура наружного воздуха, равная средней температуре наиболее холодной пятидневки с коэффициентом обеспеченности 0,92 , °С [табл. 1, 2], равна -36;
n - коэффициент, принимаемый в зависимости от положения поверхности ограждающей конструкции по отношению к наружному воздуху [табл. 3*, 1], равен 0,9;
tн - нормативный температурный перепад между температурой внутреннего воздуха и температурой внутренней поверхности ограждающей конструкции, °С [табл. 2*, 1], равен 2;
в - коэффициент теплоотдачи на внутренней поверхности ограждения, Вт/ (м2°С) [табл. 4*, 1], равен 8,7.
4) Производят сравнение сопротивлений теплопередаче: рассчитанного из условий выполнения санитарно-технических и комфортных условий R01тр, и, принятого по условиям энергосбережения R02тр. Большее значение сопротивления теплопередаче принимают для выполнения последующих расчетов. Принимаем
5) Термическое сопротивление R, м2°С/Вт, слоя многослойной ограждающей конструкции, а также однородной (однослойной) ограждающей конструкции определяется по формуле, из которой находим толщину утепляющего слоя:
где d - толщина слоя, м, равны
l - расчетный коэффициент теплопроводности материала слоя, Вт/(м °С), равны
6) Сопротивление теплопередаче Ro, м2°С/Вт, ограждающей конструкции определяют по формуле:
7) Определяют общую толщину конструкции общ, м, по формуле:
8)Определяют величину тепловой инерции D ограждающей конструкции по формуле:
,
где n- количество слоев в ограждении, равно 5.
14) Определяют коэффициент теплопередачи К, Вт/(м2 °С), ограждения по формуле:
1.4 Подбор светопрозрачных конструкций-
окон и балконных дверей
Производят подбор заполнений световых проемов (окон, балконных дверей и фонарей).
1) Для подбора остекления необходимо найти требуемое сопротивление теплопередачи R0тр, м2°С/Вт, из условий энергосбережения в зависимости от ГСОП [табл. 1*,1].
ГСОП=5237
2) Определив R0тр, м2°С/Вт, принимают необходимую для заданного района строительства конструкцию остекления, руководствуясь [1, приложение 6 (справочное)]. Выбирать конструкцию заполнения светового проема следует из условия, чтобы фактическое приведенное сопротивление теплопередаче остекления R0, м2°С/Вт , было бы не ниже R0тр, м2°С/Вт.
То есть должно выполняться условие R0 R0тр. Здесь R0, м2°С/Вт, принимают по [1, приложение 6* (справочное)].
Принимается к установке двухкамерный стеклопакет с твердым селективным покрытием в ПВХ-переплетах с сопротивлением теплопередачи
3) Определяют коэффициент теплопередачи К, Вт/(м2 °С), ограждения по формуле:
2. ПРОВЕРКА КОНСТРУКЦИИ
НА ОТСУТСТВИЕ КОНДЕНСАЦИИ ВЛАГИ
При проектировании конструкции ограждения необходимо знать нет только величину его сопротивления теплопередаче, но и температуры в любой плоскости ограждения при заданных значениях температур воздуха с одной и с другой стороны ограждения. Эти сведения дают возможность определить условия конденсации влаги в толще конструкции и правильно назначить место расположения пароизоляционных слоев. Особое значение для теплотехнической оценки ограждения имеет величина температур на его внутренней поверхности, так как по ней оценивается возможность образования конденсата на ограждении.
2.1. Проверка конструкции наружной стены
в основной ее глади
Расчет производят в следующей последовательности.
1) Определяют температуру внутренней поверхности tв, °С, ограждающей конструкции (без теплопроводного включения) по формуле:
Температура внутреннего воздуха больше температуры точки росы, соответственно конденсации влаги на внутренней поверхности наружной стены наблюдаться не будет.
2.2 Проверка конструкции наружной стены
в части наружного угла
1) Определяют температуру внутренней поверхности tв, °С, ограждающей конструкции (без теплопроводного включения) по формуле:
2) 




3) Определяем температуру внутренней поверхности в части наружного угла по формуле:

2)Температура внутренней поверхности наружного угла меньше температуры точки росы, соответственно в углу будет наблюдаться конденсация влаги. Для предотвращения этого необходимо предусмотреть следующие мероприятия:
1. Делаем скругление угла по внутренней стороне стен.

5,24 *0,75=3,93

2. Установка стояка отопления
C
3. Расчет ограждений на теплоустойчивость
в теплый период года
Теплый период года более благоприятный по комфортности тепловых условий для человека, чем холодный. Однако здания, особенно расположенные в южных районах, в жаркие летние месяцы подвергаются значительному перегреву. В результате создаются резко дискомфортные тепловые условия в закрытых помещениях и, в связи с этим, большая напряженность системы терморегуляции организма человека. В этот период года ограждения с внешней стороны интенсивно облучаются солнцем и омываются нагретым наружным воздухом, они должны защитить помещения от больших поступлений тепла и сильного перегрева в дневные часы. В летний период определяющую роль в режиме зданий играют теплопоступления от солнечной радиации. Суточная ее периодичность является причиной типичного для летнего режима нестационарного характера всех процессов теплообмена.
В то же время тепловой режим помещений должен отвечать определенным требованиям, для удовлетворения которых используют средства тепло- и солнцезащиты зданий в виде теплоустойчивых, орошаемых водой и вентилируемых ограждений, затеняющих устройств солнцезащитных стекол и др.
Колебания температуры наружного воздуха внутренней поверхности и воздуху помещения передаются через различные ограждения с разной скоростью. Это обусловлено теплоустойчивостью ограждений. Теплоустойчивость - свойство ограждения сохранять относительное постоянство температуры при колебаниях внешних тепловых воздействий.
Цель данного расчета состоит в определении амплитуды колебаний температуры внутренней поверхности ограждения под воздействием изменяющихся в теплый период года параметров климата.
1) В районах со среднемесячной температурой июля 21°С и выше амплитуда колебаний температуры внутренней поверхности ограждающих конструкций (наружных стен с тепловой инерцией менее 4 и покрытий менее 5)
Аtв зданий жилых, больничных учреждений (больниц, клиник, стационаров и госпиталей), диспансеров, амбулаторно-поликлинических учреждений, родильных домов, домов ребенка, домов-интернатов для престарелых и инвалидов, детских садов, яслей, яслей-садов (комбинатов) и детских домов, а также производственных зданий, в которых должны соблюдаться оптимальные нормы температуры и относительной влажности воздуха в рабочей зоне или по условиям технологии должны поддерживаться постоянными температура и относительная влажность воздуха, не должна быть более требуемой амплитуды, Автр, °С, определяемой по формуле:
,
где tн - среднемесячная температура наружного воздуха за июль, °С, принимаемая согласно [табл. 2, 2], равна 28,9.
Данная формула применима для населенных пунктов со средней температурой наружного воздуха за июль месяц больше 21С. Для всех остальных пунктов Автр=2,5°С.
2) Амплитуду колебаний температуры внутренней поверхности ограждающих конструкций Ав, °С, определяют по формуле:
,
где Аtнрасч - расчетная амплитуда колебаний температуры наружного воздуха, °С, определяемая по формуле:
,
где Аtн - максимальная амплитуда суточных колебаний температуры наружного воздуха в июле, °С, принимаемая согласно [табл.2, 2], равна 14,2;
r - коэффициент поглощения солнечной радиации материалом наружной поверхности ограждающей конструкции [прил.7, 1], равен 0,7;
Imax-Iср разность максимального и среднего значений суммарной солнечной радиации (прямой и рассеянной), Вт/м2, принимаемые согласно [табл. 5, 2] для наружных стен - как для вертикальных поверхностей западной ориентации и для покрытий - как для горизонтальной поверхности, равна 506 ;
aн - коэффициент теплоотдачи наружной поверхности ограждающей конструкции по летним условиям, Вт/(м2 °С), определяемый по формуле:
,
где - минимальная из средних скоростей ветра по румбам за июль, повторяемость которых составляет 16 % и более, принимаемая согласно [табл. 2, 2], но не менее 1 м/с, равна 1,6;
v - величина затухания расчетной амплитуды колебаний температуры наружного воздуха Аtнрасч в ограждающей конструкции, определяемая по формуле:
,
где D -тепловая инерция ограждающей конструкции;
s1, s2, ..., sn - расчетные коэффициенты теплоусвоения материала отдельных слоев ограждающей конструкции, Вт/м2 °С, принимаемые по [прил. 3*, 1];
y1, y2, ..., yn-1, yn - коэффициенты теплоусвоения наружной поверхности отдельных слоев ограждающей конструкции, Вт/(м2 °С).
Коэффициент теплоусвоения наружной поверхности слоя y, Вт/(м2 °С), с тепловой инерцией D 1 следует принимать равным расчетному коэффициенту теплоусвоения s материала этого слоя конструкции.
Коэффициент теплоусвоения наружной поверхности слоя y с тепловой инерцией D < 1 следует определять расчетом, начиная с первого слоя (считая от внутренней поверхности ограждающей конструкции) следующим образом:
а) для первого слоя - по формуле:
б) для i-го слоя - по формуле:
единицы измерения Вт/м2*C
=
4. ТЕПЛОУСВОЕНИЕ ПОВЕРХНОСТИ ПОЛОВ
В последнее время в строительной теплофизике большое внимание уделяется нормированию, теплофизическим расчетам и проектированию полов. Это связано с внедрением в практику строительства новых видов материалов для конструкции полов. Пол как конструктивный элемент здания выполняет несущие и ограждающие функции. Поэтому к нему предъявляются дополнительные требования, связанные с контактным теплообменом между конструкциями пола и объектами, находящимися в помещении. Так как продолжительность контакта участков тела человека с полом незначительны по времени, процессы передачи тепла рассматриваются в нестационарной постановке.
При контакте ног человека с поверхностью пола происходит передача тепловой энергии. Во избежание переохлаждения ног количество тепла, поглощаемого полом должно соответствовать притоку тепла к ногам при работе системы терморегуляции организма. Во всех случаях охлаждение поверхности ног не должно быть ниже температур, допускаемых гигиеническими нормами. Например, при контакте босой ноги с полом температура кожи в течение двух минут не должна опускаться ниже 27 °С.
Теплообмен между ногой и полом определяется величиной тепловой активности материала пола, характеризуемой коэффициентами теплоусвоения. При теплотехнических расчетах полов для характеристики тепловой активности используется показатель теплоусвоения поверхности пола. Он показывает, какое количество тепловой энергии поглощается единицей поверхности пола за единицу времени при разности температур пола и ноги в один градус.
Поверхность пола жилых и общественных зданий, вспомогательных зданий и помещений промышленных предприятий и отапливаемых помещений производственных зданий (на участках с постоянными рабочими местами) должна иметь показатель теплоусвоения Yn, Вт/(м2°С), не более нормативной величины, установленной [табл. 11*, 1].
Показатель теплоусвоения поверхности пола Yn, м2°С, определяют следующим образом:



5. ВОЗДУШНЫЙ РЕЖИМ ЭКСПЛУАТАЦИИ
НАРУЖНЫХ ОГРАЖДЕНИЙ
Воздушным режимом здания называют общий процесс обмена воздухом между помещениями и наружным воздухом, который происходит под действием естественных сил и работы искусственных побудителей движения воздуха. Наружный воздух поступает в помещения через проницаемые ограждения и по каналам приточных вентиляционных систем. Внутри здания воздух может обмениваться между помещениями через двери и неплотности во внутренних конструкциях.
Свойство ограждения или материала пропускать через себя воздух называется воздухопроницаемостью. Если ограждение воздухопроницаемо, то при наличии разности давлений воздуха р, Па, с одной и другой сторон ограждения через него будет проникать воздух. Это явление называется фильтрацией. Фильтрацию наружного воздуха в помещение называют инфильтрацией, а внутреннего воздуха из помещения - эксфильтрацией. Положение зон инфильтрации и эксфильтрации в здании зависит от геометрии, конструктивных особенностей, режима вентилирования здания, а также от времени года и климата.
Интенсивность фильтрации (расход воздуха через ограждение) зависит от воздухопроницаемости ограждения и величина разности давлений может возникнуть в двух случаях: 1) под влиянием разности температур воздуха с одной и другой сторон ограждения (гравитационное давление); 2) под влиянием ветра при равенстве температур (ветровое давление).
Инфильтрация наружного воздуха приводит к дополнительным затратам тепла на его подогрев. Эксфильтрация внутреннего воздуха увлажняет ограждения и снижает их теплозащитные качества. Между фильтрующим воздухом и ограждением происходит теплообмен, который специфичен для каждого вида конструкций (массив ограждения, стык панелей, окна, воздушные прослойки и т.д.).
5.1. Определение сопротивления воздухопроницанию ограждающей конструкции
Воздухопроницаемость оценивается сопротивлением воздухопроницанию.
1) Сопротивление воздухопроницанию ограждающих конструкций, за исключением заполнений световых проемов (окон, балконных дверей и фонарей), зданий и сооружений Rи должно быть не менее требуемого сопротивления воздухопроницанию Rитр, м2чПа/кг, определяемого по формуле:
,
где Dp - разность давлений воздуха на наружной и внутренней поверхностях ограждающих конструкций, Па, определяемая следующим образом:
,
где Н - высота здания (от поверхности земли до верха карниза), м, равна 10,95;
gн, gв - удельный вес соответственно наружного и внутреннего воздуха, Н/м3, определяемый по формуле:
здесь t - температура воздуха: внутреннего (для определения gв), наружного (для определения gн), равна +18 и -36 соответственно;
- максимальная из средних скоростей ветра по румбам за январь, повторяемость которых составляет 16 % и более, принимаемая согласно [табл. 1, 2]; для типовых проектов скорость ветра следует принимать равной 5 м/с, а в климатических подрайонах 1Б и 1Г - 8 м/с, равна 6,6;
Gн - нормативная воздухопроницаемость ограждающих конструкций, кг/(м2ч), принимаемая в соответствии с [1, табл. 12*], равна 0,5.
2) Сопротивление воздухопроницанию многослойной ограждающей конструкции Rи, м2 ч Па/кг, определяют по формуле:
=39988 м2 ч Па/кг
где Rи1, Rи2, Rи3, Rи4, Rи5 - сопротивления воздухопроницанию отдельных слоев ограждающей конструкции, м2 ч Па/кг, принимаемые по [прил. 9*, 1].
Rи1=373 м2 ч Па/кг
Rи2=19620 м2 ч Па/кг
Rи3=2 м2 ч Па/кг
Rи4=19620 м2 ч Па/кг
Rи5=373 м2 ч Па/кг
5.2.Определение сопротивления воздухопроницанию
окон и балконных дверей.
Сопротивление воздухопроницанию окон и балконных дверей жилых и общественных зданий, а также окон и фонарей производственных зданий Rи должно быть не менее требуемого сопротивления воздухопроницанию Rитр, м2 ч/кг, определяемого по формуле:
,
Gн -нормативная воздухопроницаемость ограждающих конструкций, кг/(м2ч), принимаемая по [1, табл. 12*], равна 5;
Dр - разность давлений воздуха на наружной и внутренней поверхностях ограждающих конструкций, равна 10,43Па;
Dро = 10 Па - разность давления воздуха, при которой определяется сопротивление воздухопроницанию Rи.
6. ВЛАЖНОСТНЫЙ РЕЖИМ
НАРУЖНЫХ ОГРАЖДЕНИЙ
Влажностный режим ограждений существенно влияет на их теплофизические качества. Увлажненные материалы имеют белее высокие коэффициенты теплопроводности. Повышенная влажность ограждений неприемлема и с гигиенической точки зрения, так как создает неблагоприятные условия для развития в них плесени, грибов и других биологических процессов и способствует повышению влажности воздуха в помещении. От степени увлажнения конструкций зависит также их долговечность (морозостойкость, прочность, коррозиестойкость и пр.).
По способу проникновения в конструкции различают влагу: строительную, грунтовую, метеорологическую, эксплуатационную, гигроскопическую (сорбционную) и конденсационную. Наибольшую опасность для ограждений представляют гигроскопическое конденсационное увлажнение. Гигроскопическое увлажнение происходит вследствие способности материала поглощать влагу из воздуха, а конденсационное при конденсации водяных паров на внутренней поверхности ограждения или в его толще.
Влажность воздуха может быть охарактеризована его абсолютной влажностью, выражаемой количеством влаги в граммах, содержащейся в 1 м3 воздуха. Однако, для расчетов, связанных с конденсацией влаги, удобнее пользоваться величиной парциального давления водяного пара, называемой упругостью водяного пара е и измеряемой в паскалях. Чем больше абсолютная влажность воздуха, тем больше и упругость водяного пара. В воздухе при каждой конкретной температуре может содержаться определенное максимально возможное количество влаги. Этому предельному значению соответствует максимальная упругость водяного пара Е, Па. Величина Е зависит от температуры воздуха: чем выше температура, тем больше значение Е, т.е. тем большее предельное количество влаги может содержаться в воздухе.
Действительная упругость водяного пара е не дает представления о степени насыщения воздуха влагой. Для этого ее нужно сравнивать с максимальной упругостью водяного пара Е при данной температуре исследования. В практике оценки степени насыщения воздуха влагой используется относительная влажность воздуха , выраженная в процентах отношением действительной упругости водяного пара е к максимальной упругости его Е при конкретной температуре помещения.
Если температура воздуха с данной влажностью повысится, то его относительная влажность понизится, так как величина упругости водяного пара е останется без изменения, а значение максимальной упругости Е увеличится с повышением температуры. Наоборот, при охлаждении воздуха по мере понижения температуры относительная влажность его будет увеличиваться вследствие уменьшения величины Е. При температуре, когда Е станет равной е относительная влажность воздуха будет = 100 %, т.е. воздух будет предельно насыщен водяным паром и при дальнейшем понижении его температуры начнется конденсация влаги. Эта температура называется температурой точки росы tр.
Отсутствие конденсации влаги на внутренней поверхности ограждения не дает полную гарантию отсутствия увлажнения, так как последнее может происходить вследствие сорбции и конденсации водяных паров в толще ограждения. В большинстве случаев это является главной причиной повышения влажности материалов. При разности парциальных давлений водяных паров внутреннего и наружного воздуха в толще ограждения возникает поток водяного пара, направленный в сторону меньшего давления. По мере прохождения влажного воздуха через конструкцию упругость водяного пара падает, но одновременно с этим и понижается его температура, что приводит в ряде случаев к образованию конденсата в материале.
Основным конструктивным мероприятием для обеспечения защиты от конденсации влаги внутри ограждения является рациональное расположение в ограждении слоев различных материалов. Необходимо, чтобы с внутренней стороны располагались плотные, теплопроводные и малопроницаемые материалы, а с наружной пористые, малотеплопроводные. В этом случае падение упругости водяного пара будет наибольшим в начале ограждения, а падение температуры, наоборот, в конце ограждения. Это позволит предохранить конструкцию не только от конденсации влаги, но и от сорбционного увлажнения. Если такое расположение слоев невозможно, то следует устраивать пароизоляционные слои, располагая их в конструкции до зоны конденсации.
6.1.Определение сопротивления паропроницанию
ограждающих конструкций
Свойство материала пропускать водяные пары называется паропроницаемостью. Прохождение паров зависит от сопротивления материалов паропроницанию.
Сопротивление паропроницанию Rп, м2чПа/мг, ограждающей конструкции (в пределах от внутренней поверхности до плоскости возможной конденсации) должно быть не менее наибольшего из следующих требуемых сопротивлений паропроницанию.
а) требуемого сопротивления паропроницанию Rп1тр , м2чПа/мг, из условия недопустимости накопления влаги в ограждающей конструкции за годовой период эксплуатации;
б) требуемого сопротивления паропроницанию Rп2тр, м2чПа/мг из условия ограничения влаги в ограждающей конструкции за период с отрицательными среднемесячными температурами наружного воздуха.
Расчет производят следующим образом:
1) Определяют плоскость возможной конденсации.
Плоскость возможной конденсации в однородной однослойной ограждающей конструкции располагается на расстоянии 2/3 толщины конструкции от её внутренней поверхности, а в многослойной конструкции совпадает с наружной поверхностью утеплителя (рис.1).
Рис.1.Плоскость возможной конденсации влаги для многослойной конструкции
2) Определяют сопротивление паропроницанию части ограждающей конструкции, расположенной между внутренней поверхностью ограждающей конструкции и плоскостью возможной конденсации по формуле:
где d - толщина слоя ограждающей конструкции, м
;
m - расчетный коэффициент паропроницаемости материала слоя ограждающей конструкции, мг/(м ч Па), принимаемый по [прил 3*,1]
;
k - количество слоев от внутренней поверхности ограждающей конструкции до плоскости возможной конденсации, равен 2.
3) Находят требуемое сопротивление паропроницанию из условия недопустимости накопления влаги в ограждающей конструкции за годовой период эксплуатации по формуле:
,
где ев - упругость водяного пара внутреннего воздуха, Па, при расчетной температуре и влажности этого воздуха E=1341,6 Па;
Е -упругость водяного пара, Па, в плоскости возможной конденсации за годовой период эксплуатации, определяемая по формуле:
,
где z1, z2, z3 - продолжительность, месяцев, зимнего, весенне-осеннего и летнего периодов, определяемая согласно [табл. 3, 2] с учетом следующих условий:
а) к зимнему периоду относятся месяцы со средними температурами наружного воздуха ниже минус 5 °С;
б) к весенне-осеннему периоду относятся месяцы со средними температурами наружного воздуха от минус 5 до плюс 5 °С;
в) к летнему периоду относятся месяцы со средними температурами наружного воздуха выше плюс 5 °С;
5,2,5 месяцев соответственно;
E1, Е2, Е3 - упругости водяного пара, Па, принимаемые по температуре в плоскости возможной конденсации, определяемой при средней температуре наружного воздуха соответственно зимнего, весенне-осеннего и летнего периодов (приложение 4), 203, 748, 1829 Па соответственно;
Rп.н - сопротивление паропроницанию, м2 ч Па/мг, части ограждающей конструкции, расположенной между наружной поверхностью ограждающей конструкции и плоскостью возможной конденсации, определяемое по формуле:
где d - толщина слоя ограждающей конструкции, м, 0,088;
m - расчетный коэффициент паропроницаемости материала слоя ограждающей конструкции, мг/(м ч Па), 0,06;
ен - средняя упругость водяного пара наружного воздуха, Па, за годовой период, 634.
4) Требуемое сопротивление паропроницанию Rп2тр, м2чПа/мг, из условия ограничения влаги в ограждающей конструкции за период с отрицательными среднемесячными температурами наружного воздуха находят по формуле:
,
где zo - продолжительность, сутках, периода влагонакопления, принимаемого равным периоду с отрицательными среднемесячными температурами наружного воздуха, равна 151;
Ео - упругость водяного пара, Па, в плоскости возможной конденсации, определяемая при средней температуре наружного воздуха периода месяцев с отрицательными среднемесячными температурами, равна 221;
w - плотность материала увлажняемого слоя, кг/м3, принимаемая равной о согласно [прил 3*, 1], равна 350;
dw - толщина увлажняемого слоя ограждающей конструкции, м, принимаемая равной 2/3 толщины однородной (однослойной) стены или толщине теплоизоляционного слоя (утеплителя) многослойной ограждающей конструкции, равна 0,261м;
Dwср - предельно допустимое приращение расчетного массового отношения влаги в материале (приведенного в3*, е 2имаемый по[,11*, 1тановка в части наружного угла стояка системы отопления, что позволяет увеличивать температуру п [прил. 3*, 1]) увлажняемого слоя, %, за период влагонакопления zo, принимаемое по [табл. 14*, 1], равно 3% ;
h - коэффициент, определяемый по формуле:
,
где ен.о - средняя упругость водяного пара наружного воздуха, Па, периода месяцев с отрицательными среднемесячными температурами, определяемая согласно [прил.3, 3], равна 230
Предусматривается еще один слой.
- Определение сопротивления паропроницанию
чердачного перекрытия
1) Сопротивление паропроницанию Rп, м2чПа/мг, чердачного перекрытия или части конструкции вентилируемого покрытия, расположенной между внутренней поверхностью покрытия и воздушной прослойкой, в зданиях со скатами кровли шириной до 24 м должно быть не менее требуемого сопротивления паропроницанию Rптр, м2 ч Па/мг, определяемого по формуле:
, где
,
2) При определении действительного сопротивления паропроницанию учитывают [прил. 11,1] .
, где
Действительное сопротивление паропроницанию больше требуемого ,что соответствует условиям расчета.
Заключение
В данной курсовой работе я научилась выполнять теплотехнический расчет наружных ограждающих конструкций здания. Определила расчетные сопротивления теплопередаче, общие толщины и коэффициенты теплопередачи конструкций наружных стен, чердачного перекрытия, перекрытий над неотапливаемыми подвалами и конструкций окон и балконных дверей. Также в данной работе я произвела проверку конструкций стены на отсутствие конденсации влаги. Это необходимо для того, чтобы определить условия конденсации влаги в толще конструкции наружной стены и правильно назначить место расположения пароизоляционных слоев. В ходе этого расчета выяснилось, что температура внутренней поверхности наружного угла меньше температуры точки росы, соответственно в углу будет наблюдаться конденсация влаги. Для предотвращения этого я предусмотрела скругление угла по внутренней стороне и установила стояк отопления. Благодаря этим мероприятиям температура увеличилась на 25% и 6 градусов по Цельсию соответственно. Затем я определила сопротивления воздухопроницанию и паропроницанию ограждающих конструкций. Таким образом, все эти теплотехнические расчеты позволяют решать инженерные задачи по разработке системы отопления в здании.
Список используемой литературы
- СНиП РК 2.04-03-2002. Строительная теплотехника/ Комитет по делам строительства Министерства индустрии и торговли Республики Казахстан. Астана: «KAZGOR», 2003. 54 с.
- СНиП РК 2.04-01-2001. Строительная климатология/ Комитет по делам строительства Министерства индустрии и торговли Республики Казахстан. Астана: «KAZGOR», 2001. 113 с.
- СНиП 2.01.01 - 82. Строительная климатология и геофизика /Госстрой СССР. М.: Стройиздат, 1983. 136 с.
- Справочник проектировщика: внутренние санитарно-технические устройства. Ч. 1. Отопление / Под. ред. И.Г. Староверова. 4-еизд., перераб. и доп. М.: Стройиздат, 1990. 343 с.
- Руководство по теплотехническому расчету и проектированию ограждающих конструкций зданий/ НИИСФ. М.:Стройиздат, 1985. 141 с.
- Методические указания к курсовой работе по строительной теплофизике «Теплотехнический расчет ограждающих конструкций здания»/ Рывкина Н.В.- Астана: ЕНУ им.Л.Н.Гумилева, 2014-46с