Кронблок УКБ5-125
Министерство образования и науки РТ
Альметьевский государственный нефтяной институт
Кафедра нефтегазового оборудования
КУРСОВОЙ ПРОЕКТ
по дисциплине: «Техника и технология бурения нефтяных
и газовых скважин»
на тему: «Кронблок УКБ5-125»
выполнил: студент гр. 29-41
Останков К.В.
проверил: Фатхутдинова Р.М.
Альметьевск 2012 г.
СОДЕРЖАНИЕ
Введение…………………………………………………………………………….4
1. Краткий обзор и анализ существующего оборудования……………………..6
2. Назначение, техническая характеристика и принцип действия
кронблока …………………………………………………………………….……..8
2.1 Назначение………………………………………………………………………8
2.2 Техническая характеристика…………………………………………………..8
2.3 Конструкция и принцип работы кронблока…………………………………..9
3. Монтаж, эксплуатация и ремонт кронблока…..………….……….…………..11
3.1 Монтаж…………………………………………………………………………11
3.2 Эксплуатация кронблока……………………………………………………...12
3.3 Ремонт оборудования…………………………………………………………14
3.4 Правила хранения и расконсервации………………………………………...17
4. Безопасность жизнедеятельности………….……………………………….…18
4.1 Требования техники безопасности к талевой системе……………………..18
4.2 Общие положения техники безопасности при работе с буровым
оборудованием……………………………………………………………………18
5. Расчетная часть………………….……………………………………………..20
5.1 Определение натяжений в струнах талевой системы и усилия на канатных шкивах кронблока……………………………………………………………………20
5.2 Расчет оси талевого блока…………………………………………………….22
5.3 Расчет шкива талевого блока…………………………………………………29
Заключение………………………………………………………………………...30
Список литературы………………………………………………………………..31
|
[0.1] 4.2 Общие положения техники безопасности при работе с буровым оборудованием |
ВВЕДЕНИЕ
В данной работе рассматривается кронблок, его назначение, конструкция, принцип действия, эксплуатация, ремонт, а также расчет основных элементов.
Целями работы являются:
- практическое закрепление и углубление знаний;
- усвоение принципов и методов расчета и конструирования;
- приобретение и развитие навыков по приложению полученных теоретических знаний к решению практических задач;
- усвоение принципов поиска оптимального решения поставленной задачи;
- выработка аналитического решения при изучении той или иной техники и технологии и сравнение их с подобными отечественными и зарубежными образцами;
- выработка умения грамотно и сжато, техническим языком излагать суть изучаемого вопроса с выводами и иллюстрациями описываемой проблемы, схемами, рисунками, чертежами;
- обработка навыков выполнения рабочих чертежей оборудования в соответствии с требованиями стандартов.
Кронблок устанавливают на верхней площадке вышки, называемой наголовником. Это неподвижный элемент талевой системы.

1 шкивы; 2 ось; 3 рама; 4 предохранительный кожух; 5 вспомогательные шкивы
Рисунок 1 Кронблок
Конструкция кронблока зависит от типа вышки, действующей нагрузки и объёма СПО. Шкивы кронблоков монтируют на подшипниках качения на одной или 2-х соосно расположенных осях, установленных в опорах на раме, либо соосно. При несоосной схеме ось шкива, служащего для подвижной струны талевого каната, располагается перпендикулярно к оси остальных шкивов. Кронблоки с несоосным расположением шкивов применяют в мачтовых вышках, установках с буровой лебёдкой, расположенной ниже пола буровой, для того, чтобы подвижный конец каната не цеплял ферму мачты. Или при использовании АСП (автоматическая система подачи) с механизированной расстановкой свечей.

1 ограждение; 2 шкив; 3 опора; 4 ось шкивов; 5 кожух; 6 подкронблочная рама
Рисунок 2 Кронблок с 3 шкивами
Двухсекционный блок с соосным расположением осей, в котором шкив с осью перпендикулярны, смонтирован на опоре, установленной на полке рамы. Две секции (трёхшкивные) смонтированы на опорах. Каждый шкив смонтирован на оси на двух цилиндрических роликоподшипниках, внешние кольца которых зафиксированы в ступицы шкива пружинным кольцом, а внутренние на оси распорными кольцами. Смазка к подшипникам каждого шкива подаётся через пресс-маслёнку по каналам, просверленным по оси.
- КРАТКИЙ ОБЗОР И АНАЛИЗ СУЩЕСТВУЮЩЕГО ОБОРУДОВАНИЯ
Кронблок включает один или несколько роликов, смонтированных на единой раме, установленной на верхнем поясе буровой вышки. Кронблоки в современных буровых установках для глубокого бурении обычно состоят из двух групп шкивов, смонтированных соосно на подшипниках качения. Оси неподвижно закреплены в разъемных опорах на раме, сваренной из профильного проката. Существуют конструкции, например кронблоки УКБ6-250 и УКБ7-320, у которых ось одного ведущего шкива смонтирована перпендикулярно к оси трехшкивной секции. Кронблоки отличаются грузоподъемностью, числом шкивов и их диаметром. Техническая характеристика кронблоков приведена в таблице 1.
Кронблоки имеют шифры, в которые входят: первая буква завода-изготовителя; порядковый номер узла, принятый на заводе; комплектность кронблока с вышкой определенного типа, грузоподъемность на крюке. Например, кронблок УЗ-300: У завод-изготовитель Уралмашзавод, 3 номер узла в буровой установке, 300 грузоподъемность на крюке. Поскольку номер узла не несет практической информации предложено другое обозначение.
Кронблок УКБ5-125: У завод-изготовитель Уралмашзавод, КБкронблок, 5 число рабочих шкивов, 125 грузоподъемность на крюке.
Рассмотрим устройство кронблоков на примере УКБА7-500 (рисунок 3). Он состоит из двух секций шкивов трехшкивной 6 и четырехшкивной 7.

Рисунок 3 Кронблок УКБА7-500
1 рама, 2- шкив, 3,4- разъемные опоры, 5- промежуточный шкив, 6,7- секции шкивов, 8-вспомогательные шкивы
Все шкивы смонтированы на осях, которые неподвижно закреплены в разъемных опорах 3 и 4. Нижние части разъемных опор приварены к верхним полкам рамных балок. Каждый шкив смонтирован на радиально-упорных роликоподшипниках, которые имеют общее наружное кольцо и двойное внутреннее. Подшипники крайних в секции шкивов защищены с наружной стороны от загрязнения крышками. Между шкивами имеются кольца, одна сторона которых запрессована в ступицу, а вторая входит с небольшим зазором в кольцевую канавку на ступице соседнего шкива. Таким образом, создается лабиринтное уплотнение подшипников между шкивами. Между подшипниками соседних шкивов на оси установлены распорные кольца. С одной стороны подшипники упираются в бурт на оси, с другой поджимаются специальной гайкой.
Вспомогательные блоки бывают подвесными или стационарными. Последние устанавливают сверху на полки балок рамы кронблоков УКБАб-250 и УКБА7-500. Во всех шкивах применяется канат диаметром 17 мм. Максимальное натяжение каната от 40 до 80 кН.
Таблица 1. Техническая характеристика кронблоков
|
Параметры |
БУ-80 |
УЗ-100 2 |
УКБА6 200 |
УКБА6-250 |
УКБА7-320 |
УКБА7-400 |
УЗ 300 |
УКБА7-500 |
|
Грузоподъемность, кН |
1200 |
1600 |
2000 |
2500 |
3200 |
4000 |
3500 |
5000 |
|
Число канатных шкивов |
5 |
6 |
6 |
6 |
7 |
7 |
7 |
7 |
|
Диаметр, мм: Шкива по дну желоба |
1100 |
900 |
900 |
1140 |
1140 |
1285 |
1380 |
1380 |
|
Шкива по ребордам |
1000 |
1250 |
1250 |
1400 |
1510 |
1510 |
||
|
Оси шкива |
170 |
170 |
170 |
220 |
220 |
260 |
260 |
380 |
|
Каната, соответствующего профилю желоба |
28 |
28 |
28 |
32 |
32 |
35 |
38 |
38 |
|
Номер подшипника шкива |
42234 |
42234 |
42234 |
97744ЛМ |
97744ЛМ |
7097152М |
2097152 |
109797 |
|
Масс, т |
2,06 |
2,46 |
2,7 |
5,8 |
6,0 |
7,0 |
8,3 |
11,7 |
- НАЗНАЧЕНИЕ, ТЕХНИЧЕСКАЯ ХАРАКТЕРИСТИКА, КОНСТРУКЦИЯ И ПРИНЦИП ДЕЙСТВИЯ
2.1 Назначение
В процессе проводки скважины талевая система выполняет различные операции. В одном случае она служит для проведения СПО с целью замены изношенного долота, спуска, подъема и удержания на весу бурильных колонн при отборе керна, ловильных или других работах в скважине, а также для спуска обсадных труб. В других случаях обеспечивает создание на крюке необходимого усилия для извлечения из скважины прихваченной бурильной колонны или при авариях с ней. Для обеспечения высокой эффективности при этих разнообразных работах подъемная система имеет два вида скоростей подъемного крюка: техническую для СПО и технологические для остальных операций.
В связи с изменением веса бурильной колонны при подъеме для обеспечения минимума затрат времени подъемная система должна обладать способностью изменять скорости подъема в соответствии с нагрузкой. Она также служит для удержания бурильной колонны, спущенной в скважину, в процессе бурения.
- Техническая характеристика
На рисунке 4 показана конструкция пятишкивного кронблока. Этот кронблок имеет сварную стальную раму, на которой укреплена ось с пятью шкивами, смонтированными на подшипниках. Такое конструктивное решение обеспечивает прочность, жесткость и удобство обслуживания. Ось кронблока закреплена в двух цилиндрических роликоподшипниках, внешние кольца которых зафиксированы в ступице шкива пружинным кольцом, а внутренние - на оси распорным кольцом. Смазка к подшипникам каждого шкива подается через пресс-масленку по каналу, просверленном в оси. Многоосные и комбинированные кронблоки выполняют одноярусными (оси находятся на одном уровне) и многоярусными (с разными уровнями расположения осей). В таблице 2 приведены основные характеристики кронблока УКБ5-125
Таблица 2- Техническая характеристика кронблока УКБ5-125
|
Допускаемая нагрузка на крюке, кН (тс) |
1250(125) |
|
Количество шкивов, шт. |
5 |
|
Диаметр шкива по дну ручья, мм |
800 |
|
Профиль желоба шкивов R, мм |
14 |
|
Диаметр по канат, мм |
25 |
|
Диаметр оси шкивов, мм |
170 |
|
Расположение шкивов |
односное |
|
Габаритные размеры, мм: длинна ширина высота |
910 900 900 |
|
Масса, кг |
1005 |
2.3 Конструкция и принцип работы кронблока
При конструировании кронблока, прежде всего, выбирают его схему в зависимости от предполагаемой нагрузки, числа шкивов, масштабов производства и возможностей завода-изготовителя.

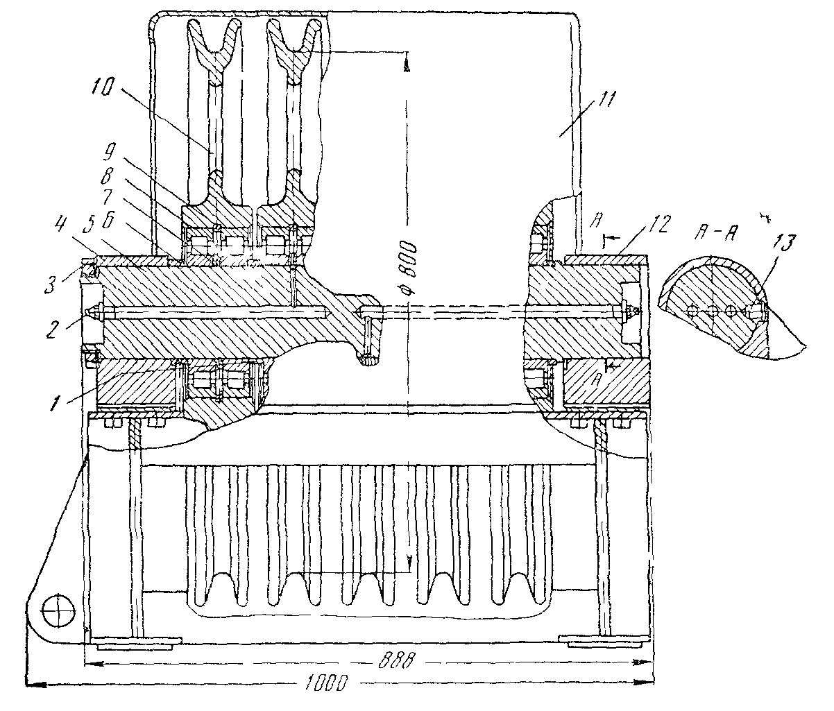
Рисунок 4 - Кронблок
1-дистанционные втулки, 2- пресс-масленка, 3- гайка, 4,12- опоры оси, 5- ось, 6- кольцо, 7-дистанционное кольцо, 8-подшипники, 9-стопорное кольцо, 10-блоки шкивов, 11- кожух, 12-штифты
Кронблок является неподвижным узлом талевой системы и предназначен для подержания на весу талевого блока, крюка и подвешенного на нем груза. Кронблок состоит из следующих основных деталей: оси 5, которая несет блоки 10, вращающиеся на роликоподшипниках 8, двух опор оси 4 и 12,закрепленные на раме, и сварного кожуха 11, предназначенного для защиты вращающихся роликов и для исключения возможности соскакивания каната с роликов в процессе работы. Ось имеет продольные канавки с масленками 2 для индивидуальной смазки подшипников каждого блока. От проворачивания оси 5 удерживается штифтами 13. Роликоподшипники упираются наружным кольцом в пружинное стопорное кольцо 9, а внутренним в дистанционное кольцо 7, имеющее радиальное отверстие для выхода смазки в полость подшипников.
Внутренние кольца подшипников и дистанционные втулки 1 от смещения в осевом направлении с одной стороны удерживаются буртом оси, а с другой кольцом 6, которое стопорится на оси винтами и поджимается гайкой 3.
- МОНТАЖ, ЭКСПЛУАТАЦИЯ И РЕМОНТ КРОНБЛОКА
3.1 Монтаж кронблока
Монтаж талевой системы начинают с подъема кронблока на верхнее основание вышки. Кронблок при монтаже вышки подъемником Кершенбаума поднимают вместе с вышкой. При строительстве вышки при помощи шагающих стрел для подъема кронблока используют лебедку на тяговом канате, который пропущен через однороликовый блок, подвешенный к козлам вышки.
Перед подъемом кронблока на вышку должны быть проверены: легкость вращения блоков; легкость откидывания кожухов и отсутствие в них погнутости; надежность крепления всех соединений, особенно вспомогательного и тартального блоков; наличие шплинтов, контргаек, винтов и проволоки, а также смазки во всех подшипниках.
На вышке кронблок должен быть выверен по уровню, сцентрирован и прикреплен к подкронблочным балкам. Установка кронблока и оснастка талевой системы осуществляются в той же последовательности, что и при оборудовании вышки для бурения. После оснастки мертвый конец каната прочно крепят за рамный брус, а ходовой конец пропускают через оттяжной ролик и наматывают на барабан лебедки подъемника. Крепление выполняют хомутами из прутка диаметром 33 мм, швеллерами и гайками МЗО или крючьями из прутка диаметром 30 мм, планками и гайками МЗО. Так как размеры подкронблочных балок непостоянные, размеры хомутов определяют по месту при монтаже. Рама кронблока может крепиться непосредственно к подкронблочным балкам болтами. Для удобства подъема кронблока на вершине вышки устанавливают козлы, к которым подвешивают монтажный блок. Один конец троса прикрепляют к кронблоку, а второй через блок на вершине вышки и отводной блок у основания протягивают к лебедке. В буровых установках типа Уралмаш 3000, имеющих А-образные вышки, кронблок крепят к подкронблочным балкам в то время, когда вышка находится в горизонтальном положении (перед подъемом вышки). При этом выполняют все перечисленные выше требования. Кронблок разрешается сменять только в дневное время.
3.2 Эксплуатация кронблока
Диаметр каната и число струн в оснастке выбирают с учетом максимально возможной нагрузки на крюке, при которой был бы двойной запас прочности, а при СПО - тройной, наивыгоднейшим является четырех-пятикратный запас.
Канат необходимой прочности должен иметь диаметр, соответствующий диаметру желоба шкивов талевого блока и кронблока.
Применять в талевых системах канаты с диаметром больше расчетного нельзя ввиду возможности его защемления в желобах шкивов и быстрого износа. Допускается применение канатов диаметром меньше расчетного на 10%. Необходимый для оснастки канат подбирают по паспорту и проверяют соответствие маркировки на бочке барабана паспортным данным, осматривают канат в соответствии с инструкцией и составляют акт приемки, о чем делают соответствующие записи в буровом журнале.
Фактический коэффициент запаса прочности каната проверяют путем сравнения агрегатной прочности каната, указанной в паспорте, с вероятной наибольшей нагрузкой на канат.
Для осмотра бочку с канатом устанавливают на козлы и вращают барабан по стрелке, указанной на бочке. При перемотке каната недопустимо образование петель и перекруток. Отрезают канат специальной канаторезкой. Перед тем, как отрезать канат, оба будущие его конца должны быть заделаны так, чтобы избежать их раскручивания. Концы заделывают плотной намоткой вязальной проволоки.
Новый канат следует хранить на барабане в помещении или под навесом, исключающим попадание влаги в барабан. Ржавые канаты или канаты, имеющие не плотности свивки прядей, порванные проволоки и другие дефекты к эксплуатации не допускаются.
Оснастка талевой системы: По мере увеличения глубины скважин вес бурильных колонн, которые приходится спускать и поднимать, увеличивается, а максимальная скорость намотки ведущей струны талевого каната на барабан лебедки остается практически неизменной (около 20 м/с) для буровых установок разных классов. Поэтому для каждой установки применяют талевую систему со своей кратностью полиспаста от 4-х до 14. Это достигается применением различных оснасток 2X3; 3X4; ...; 7X8 (здесь первая цифра - число шкивов талевого блока, а вторая - кронблока).
Под оснасткой талевой системы понимается навеска каната на шкивы кронблока и талевого блока в определенной последовательности, исключающей перекрещивание каната и трение его струн друг о друга. В настоящее время создано несколько типов оснастки. Перед тем как приступить к оснастке системы необходимо определить число шкивов в талевом блоке, тип каната, диаметр и разрывное усилие каната. Диаметр каната должен соответствовать размеру канавок шкивов талевого блока и кронблока. При бурении глубоких скважин, когда глубина еще небольшая и бурильная колонна легкая, для ускорения СПО канатом оснащают не все шкивы системы, а только часть. В дальнейшем проводят переоснастку до полного использования всех шкивов. Однако переоснастка трудоемка и не всегда целесообразна.
Оснастку стремятся выполнить так, чтобы ведущая струна набегала на один из средних шкивов. В системах АСП струны каната не должны мешать спуску талевого блока с находящейся в нем свечой. Неправильно выполненная оснастка может вызвать трение канатов или закручивание талевого блока, что может привести к аварии.
Существует два типа оснасток: параллельная, когда ось талевого блока параллельна оси кронблока, и крестовая, когда оси талевого блока и кронблока перпендикулярны. Наиболее распространена крестовая оснастка (рис. III.14). Она имеет то преимущество, что исключает закручивание талевого блока и трение струн каната друг о друга.
Оснастку осуществляют следующим образом. Бухту каната устанавливают на металлическую ось приспособления, расположенного под полом буровой, и соединяют конец талевого каната с концом пенькового вспомогательного каната. Затем раскрепляют барабан механизма крепления и наматывают на него четыре-пять витков пенькового каната, после чего этот канат последовательно пропускают через шкивы кронблока и талевого блока. Когда конец талевого каната со шкива достигнет пола буровой, отсоединяют пеньковый канат, а конец ведущей струны талевого каната укрепляют в зажимном приспособлении реборды барабана лебедки и наматывают на барабан лебедки восемь - десять витков. Перед этим неподвижный конец талевого каната должен быть зажат в механизме крепления, после чего скрепляют его барабан с консольным рычагом и тарируют датчик и индикатор веса инструмента.
Смазку кронблока производить согласно указаниям таблицы 4.
Таблица 4- Смазка кронблока
|
Место смазки |
Смазка |
Указание |
|
Подшипник 42234 |
ЛИТОЛ 24 ГОСТ 21150-87 |
Смазывать два раза в месяц через масленки |
3.3 Ремонт оборудования
Долговечность машины зависит от совокупности влияния разнообразных факторов, которые проявляются на всех этапах ее создания и эксплуатации. При этом долговечность отдельных деталей может существенно отличаться от долговечности машины в целом. Методы повышения долговечности деталей машин можно разделить на три основные группы: 1) конструктивные; 2) технологические; 3) эксплуатационные. Конструктивные методы повышения долговечности деталей машин включают в себя комплекс мероприятий, связанных с созданием рациональной конструкции машины. Среди них наиболее важными являются правильный выбор конструктивного решения, от которого зависит работоспособность сопряженных деталей в эксплуатации, экономичность и эффективность агрегата, а также правильный выбор конструктором материала и обеспечение равнопрочности деталей и узлов. Чтобы обеспечить длительную эксплуатацию узлов машины, конструктор обязан предусмотреть простоту их обслуживания и ремонта.
К технологическим методам повышения долговечности деталей машин относятся методы, применяемые при изготовлении и ремонте деталей. Эти виды обработки позволяют значительно повысить прочность и износостойкость деталей.
К механическим методам относятся: упрочнение поверхностей ремонтируемых деталей наклепом; различают дробеструйный наклеп, используемый для упрочнения пружин и рессор, наклеп цилиндрических деталей путем накатывания закаленным роликом или шариком, а также механическую чеканку;
восстановление деталей электроискровым наращиванием металла с одновременным упрочнением; электромеханическая обработка поверхностей; поверхностная закалка с нагревом током высокой частоты, основанная на использовании электромагнитной индукции. К химико-термическим методам упрочнения деталей относятся цементирование, азотирование, цианирование, алитирование, борирование, хромирование и силицирование. Сконструированная и изготовленная машина сдается в эксплуатацию, где проявляются новые факторы долговечности и надежности. Эксплуатационные методы составная часть комплекса мероприятий по увеличению долговечности машины. К ним в первую очередь относятся организационно-технические мероприятия, способствующие выполнению графиков планово-предупредительного ремонта, а также систематический контроль за износом сопряженных деталей. Большое влияние на интенсивность износа ответственных деталей машины оказывает качество ухода за машиной в эксплуатации, особенно своевременная смазка трущихся частей, предохранение их от загрязнения. И, наконец, эффективный метод продления срока службы машины применение наиболее рациональных режимов эксплуатации, исключающих недопустимую перегрузку рабочих элементов машины.
Основные положения по техническому обслуживанию.
Во время эксплуатации канат изнашивается неравномерно. Часть его, которая в процессе СПО наматывается на барабан, изнашивается наиболее интенсивно, поэтому при выработке талевым канатом ресурса работы, установленного программой перепуска, следует тщательно осмотреть состояние ведущей струны каната. Критериями износа может служить уменьшение его диаметра на 10%, обрыв 10% проволок на- длине одного шага витка пряди, обрыв или вспучивание одной пряди. В этих случаях должен быть сделан перепуск каната и до выработки им установленного ресурса. В процессе бурения крепких пород возникают продольные колебания в бурильных трубах, передающиеся через ведущую трубу, вертлюг и талевую систему неподвижному концу талевого каната. В результате возникает явление усталости металла проволок каната в той части, которая находится на последнем шкиве кронблока и барабане механизма крепления неподвижного конца талевого каната. При таких условиях может произойти обрыв каната, несмотря на то, что его износ невелик. При этом канат необходимо также периодически перепускать. Перед спуском обсадных колонн талевая система должна быть осмотрена особенно тщательно. Все дефекты необходимо устранить и произвести перепуск каната. При спуске очень тяжелых обсадных колонн целесообразно применять специальные более жесткие и прочные канаты того же диаметра, что и талевый. Расход каната на 1 м проходки колеблется в широком диапазоне (от 0,7 до 5 кг, а в отдельных случаях и больше). Возможные неисправности и методы их устранения представлены в таблице 3.
Износ талевого каната при бурении скважин зависит от величины произведенной работы, качества и конструкции каната, правильной и рациональной его эксплуатации. Износ желобов шкивов должен контролироваться визуально и по специальным предельным шаблонам. Уход за талевой системой в основном сводится к смазке подшипников, наблюдению за работой шкивов и каната, надежностью крепления гайки ствола и предохранительных скоб рогов подъемного крюка. Перед пуском талевой системы в работу необходимо убедиться в том, что все шкивы свободно вращаются на оси. Следует проверить крепление кронблока и надежность всех болтовых соединений, установить предохранительные кожухи, а на закрепленном конце каната датчик веса. Во время эксплуатации надо следить за тем, чтобы подшипники не нагревались выше 80 °С. При значительном износе канавок шкивов последние следует заменить, а при неравномерных износах талевый блок нужно повернуть на 180°
Таблица 3- Возможные неисправности и методы их устранения
|
Наименование неисправности, внешнее проявление и дополнительные признаки |
Вероятная причина |
Метод устранения |
|
Шкив не вращается |
Поломка подшипника |
Заменить подшипник |
|
Шум в подшипниках |
Большой износ подшипников |
Заменить подшипник |
|
Чрезмерный нагрев подшипниковых узлов |
Отсутствие достаточного количества смазки в подшипниках Отсутствие проходимости канала для смазки в оси Загрязнённость смазки |
Добавит смазку Прочистить канал, Прошприцевать Заменит смазку |
|
Задевание реборд шкивов о кожух |
Деформация кожуха |
Выправить кожух |
|
3.4 Правила хранения и расконсервации Секцию кронблока следует хранить в местах, защищенных от прямого попадания осадков и пыли. Для предохранения от коррозии при транспортировании и хранении обработанные поверхности деталей вышеперечисленных узлов подвергаются консервации. Срок действия консервации указывается в паспорте, прилагаемом к каждому из вышеперечисленных узлов. При хранении каждого узла больше срока действия консервации, указанного в паспорте, а также при нарушении заводской консервации, произвести переконсервацию. При вводе в эксплуатацию вышеперечисленные узлы, необходимо их расконсервировать. Для расконсервации все консервируемые поверхности промыть бензином-растворителем (уайт-спиритом) ГОСТ 3134-78 или авиационным бензином ГОСТ 1012-72, затем протереть насухо чистой ветошью и выдержать на воздухе в течение 15-20 минут с целью удаления следов растворителя. |
- БЕЗОПАСНОСТЬ ЖИЗНЕДЕЯТЕЛЬНОСТИ
4.1 Требования техники безопасности к талевой системе
4.1.1.Требования безопасности к буровому оборудованию для нефтяной и газовой промышленности разработаны в целях реализации Федерального закона “О промышленной безопасности опасных производственных объектов” в части нормативного обеспечения процедуры сертификации технических устройств на соответствие требованиям промышленной безопасности и их гармонизации с требованиями международных стандартов.
4.1.2.Буровое оборудование (технические устройства) подлежат обязательной сертификации на соответствие требованиям промышленной безопасности в установленном законодательством Российской Федерации порядке.
4.1.3.Буровое оборудование должно отвечать требованиям ГОСТ 12.2.003 и настоящего нормативного документа. Требования безопасности к оборудованию, не вошедшему в настоящий нормативный документ, устанавливаются техническими условиями и стандартами на это оборудование.
4.1.4.На корпусах оборудования, входящего в состав талевой системы (кронблок, талевый блок, крюк), должна быть указана их допускаемая грузоподъемность. Допускаемая грузоподъемность буровой установки и сроки освидетельствования ее грузоподъемного оборудования должны быть указаны на специальной табличке, выполненной в соответствии с требованиями “Правил безопасности в нефтяной и газовой промышленности”, утвержденных Госгортехнадзором России 09.04.98 г.
4.2 Общие положения техники безопасности при работе с буровым оборудованием
4.2.1. При производстве работ по строительству скважин необходимо соблюдать требования "Правил безопасности в нефтяной и газовой промышленности".
4.2.2. Оборудование и инструмент, эксплуатируемые буровой организацией при строительстве скважины, должны иметь технические паспорта или формуляры установленного образца. На буровой или в отделе инженерно-технологической службы должен постоянно находиться комплект заводских инструкций по эксплуатации всего оборудования, механизмов и инструмента. Эксплуатация оборудования с нарушением инструкций запрещается.
4.2.3. Для обеспечения работы оборудования и инструмента в пределах характеристик, определяемых паспортом или инструкцией, они должны иметь запасные части и приспособления в объеме, необходимом для производства технического обслуживания. Объем технического обслуживания устанавливается в соответствии с инструкцией завода-изготовителя по эксплуатации и ремонту оборудования.
4.2.4. Эксплуатация бурового оборудования и инструмента должна осуществляться в пределах допустимого ресурса (срока службы), установленного изготовителем и заложенного проектной организацией в проект на строительство скважины.
Допускается эксплуатация оборудования и инструмента, отработанного сверх допустимого ресурса (срока службы), при условии подтверждения их работоспособности установленными методами и средствами.
4.2.5. Для обеспечения бесперебойной работы оборудования на буровой должен быть запас быстроизнашивающихся деталей и узлов по перечню и в количестве, утвержденном руководителем бурового предприятия.
4.2.6. При обнаружении в процессе монтажа, технического освидетельствования или эксплуатации несоответствия оборудования или инструмента требованиям правил технической эксплуатации и безопасности оно должно быть выведено из эксплуатации.
4.2.7. Планово-предупредительный ремонт бурового оборудования и инструмента должен производиться по графику, утвержденному главным инженером предприятия.
4.2.8. В случае аварии с оборудованием или инструментом бурильщик или мастер обязан немедленно сообщить об этом руководству организации, приняв соответствующие меры по предупреждению аварии в скважине, исключению травмирования членов бригады и ремонту оборудования имеющимися средствами.
- РАСЧЕТНАЯ ЧАСТЬ
5.1 Определение натяжений в струнах талевой системы и усилия на канатных шкивах кронблока
Расчет натяжений в струнах талевой системы ведется в соответствии с методикой, представленной в литературе [6].
Исходные данные для расчета:
максимальная нагрузка на крюке
оснастка талевой системы 4х5=8
Рисунок 5 - Схема талевой системы
Для определения натяжения в ветвях оснастки от максимального веса на крюке необходимо определить натяжение в ходовой ветви оснастки, т.е:
(5.1.1)
- коэффициент, учитывающий преодоление трения в подшипниках шкивов талевого блока в ручьях шкивов и является обратной величиной КПД талевой системы:
(5.1.2)
- КПД талевой системы, принимаем равным 0,98
m число рабочих струн (ветвей)
Тогда:

Натяжение в отдельных ветвях оснастки талевой системы (рисунок 1):









Так распределяется максимальная нагрузка на крюке среди ветвей оснастки талевой системы в случае её движения, т.е при спускоподъемных операциях.
В статическом состоянии, когда максимальный вес на крюке находится в покое, все ветви нагружены равномерно, т.е:

Усилия, действующие на канатные шкивы и, соответственно, их подшипники при подъёме максимального груза:
Суммарные нагрузки, действующие на кронблок:

- Расчет оси талевого блока
Расчет оси талевого блока ведется в соответствии с методикой, представленной в литературе [5].
Исходные данные:
Максимальная нагрузка на крюке Q=1250 кН;
Усилия, действующие на канатные шкивы:
Р1=326 кН, Р2=313,4 кН, Р3=307,12 кН, Р4=289,4 кН, Р5=286,6 кН,
Построим эпюры поперечных сил и моментов, действующих на ось кронблока

Рисунок 6 Силы, действующие на ось
Находим реакции опор:








Проверка:
-743,7-778,3+326+307+289+2870
Таким образом, реакции опор найдены, верно.
Определяем значения поперечных сил и изгибающих моментов, действующих на ось талевого блока:
I участок:


при ;
при ;
II участок:


при
при

III участок:


при


при

IVучасток:


при


при



V участок:


при



при



VI участок: 6


при




при




Рисунок 8 - Эпюра крутящих моментов

Рисунок 9 - Эпюра изгибающих моментов
- Расчет шкива талевого блока
Расчет шкива талевого блока ведется в соответствии с методикой, представленной в литературе [5].
Исходные данные: диаметр каната 25 мм.
Профиль канатной канавки и диаметр шкива выбираются в зависимости от принятого диаметра каната по нормали нефтяной промышленности.
Расчетный диаметр шкивов по канавке принимается в зависимости от диаметра каната и выбирается в пределах:
(5.3.1)
где - расчетный диаметр каната, тогда:

Выбираем диаметр шкива равный 800 мм.

Рисунок 10 Шкив
ЗАКЛЮЧЕНИЕ
Задачей курсового проектирования является обучение навыкам самостоятельной оценки и анализа, методам и приемам проектирования различных технологических процессов.
При выполнении курсового проекта, используя знания, полученные на лекционных, практических и лабораторных занятиях были достигнуты следующие цели:
- приобрел теоретические навыки по решению практических задач;
- усвоил принципы и методику расчета и конструирования;
- ознакомился с дополнительной литературой по теме курсового проектирования, новейшими достижениями современной науки и техники;
- усвоил принцип поиска оптимального решения поставленной задачи;
- научился грамотно и сжато, техническим языком излагать суть изучаемого вопроса с выводами и иллюстрациями описываемой проблемы, схемами, рисунками, чертежами;
- получил навыки выполнения рабочих чертежей оборудования в соответствии с требованиями стандартов.
СПИСОК ИСПОЛЬЗОВАННОЙ ЛИТЕРАТУРЫ
1. Лесецкий В. А. Ильский А. Л. Буровые машины и механизмы. М. : Недра, 1980. 387 с.
2. Островский А.И. Талевая система буровых установок: Методическое пособие. Альметьевск: Альметьевский государственный нефтяной институт, 2004. 84с.
3. Паспорт кронблока УКБ5-125.
4. Раабен А.А., Шевалдин П.Н., Максутов Н.Х. Ремонт и монтаж нефтепромыслового оборудования. - М.: Недра, 1989. 304 с.
5. Элияшевский И. В., Орсуляк Я.М., Сторонский М.Н. Буровые машины, механизмы и сооружения. М. : Недра, 1974. 504 с.
6. Ильский А.Л., Миронов Ю.В., Чернобыльский А.Г. Расчет и конструирование бурового оборудования. М.: Недра, 1985. 249с.
Изм.
Лист
№ докум.
Подпись
Дата
Лист
3
Расчетно-пояснительная записка
Разраб.
Останков
Провер.
Фатхутдинова Роиром Р.Маа
.
Реценз.
Н. Контр.
Утверд.
Кронблок УКБ5-125
Лит.
Листов
30
АГНИ гр. 29-41
Изм.
Лист
№ докум.
Подпись
Дата
Лист
4
асчетно-пояснительная записка
Изм.
Лист
№ докум.
Подпись
Дата
Лист
5
Расчетно-пояснительная записка
Изм.
Лист
№ докум.
Подпись
Дата
Лист
6
Расчетно-пояснительная записка
Изм.
Лист
№ докум.
Подпись
Дата
Лист
7
Расчетно-пояснительная записка
Изм.
Лист
№ докум.
Подпись
Дата
Лист
8
Расчетно-пояснительная записка
Изм.
Лист
№ докум.
Подпись
Дата
Лист
9
Расчетно-пояснительная записка
Изм.
Лист
№ докум.
Подпись
Дата
Лист
10
Расчетно-пояснительная записка
Изм.
Лист
№ докум.
Подпись
Дата
Лист
11
Расчетно-пояснительная записка
Изм.
Лист
№ докум.
Подпись
Дата
Лист
12
Расчетно-пояснительная записка
Изм.
Лист
№ докум.
Подпись
Дата
Лист
13
Расчетно-пояснительная записка
Изм.
Лист
№ докум.
Подпись
Дата
Лист
14
Расчетно-пояснительная записка
Изм.
Лист
№ докум.
Подпись
Дата
Лист
15
Расчетно-пояснительная записка
Изм.
Лист
№ докум.
Подпись
Дата
Лист
16
Расчетно-пояснительная записка
Изм.
Лист
№ докум.
Подпись
Дата
Лист
17
Расчетно-пояснительная записка
Изм.
Лист
№ докум.
Подпись
Дата
Лист
18
Расчетно-пояснительная записка
Изм.
Лист
№ докум.
Подпись
Дата
Лист
19
Расчетно-пояснительная записка
Изм.
Лист
№ докум.
Подпись
Дата
Лист
20
Расчетно-пояснительная записка
Изм.
Лист
№ докум.
Подпись
Дата
Лист
21
Расчетно-пояснительная записка
Изм.
Лист
№ докум.
Подпись
Дата
Лист
22
Расчетно-пояснительная записка
Изм.
Лист
№ докум.
Подпись
Дата
Лист
23
Расчетно-пояснительная записка
Изм.
Лист
№ докум.
Подпись
Дата
Лист
24
Расчетно-пояснительная записка
Изм.
Лист
№ докум.
Подпись
Дата
Лист
25
Расчетно-пояснительная записка
Изм.
Лист
№ докум.
Подпись
Дата
Лист
26
Расчетно-пояснительная записка
Изм.
Лист
№ докум.
Подпись
Дата
Лист
27
Расчетно-пояснительная записка
Изм.
Лист
№ докум.
Подпись
Дата
Лист
28
Расчетно-пояснительная записка
Изм.
Лист
№ докум.
Подпись
Дата
Лист
29
Расчетно-пояснительная записка
Изм.
Лист
№ докум.
Подпись
Дата
Лист
30
Расчетно-пояснительная записка
Изм.
Лист
№ докум.
Подпись
Дата
Лист
31
Расчетно-пояснительная записка
Кронблок УКБ5-125