Розрахунок деталей циліндро-поршневої групи
Лекції 19,20 ДВЗ Тема: Розрахунок деталей циліндро-поршневої групи
До циліндро-поршневої групи відносять наступні деталі: циліндр, поршень, компресійні і мастилознімальні кільця, поршневий палець.
Поршнева група, сприймаючи тиск робочих газів, передає їх шатуну і стінкам циліндра; ущільнює спряження циліндр-поршень-кільця і попереджує прорив газів у картер двигуна; регулює доступ мастила до деталей групи; відводить тепло від деталей поршневої групи до системи охолодження двигуна, забезпечуючи тим самим, необхідний для нормальної роботи деталей двигуна, тепловий режим.
Поршень
Поршень сприймає високі динамічні, інерційні і теплові навантаження та являє собою найбільш напружений елемент поршневої групи.
Плоске дно поршня розраховують на згин, першу поршневу перемичку на згин і зріз у її основи, юбку поршня перевіряють на тиск максимального значення нормальної сили. Крім того, розраховують також зазори у зєднаннях деталей поршневої групи.
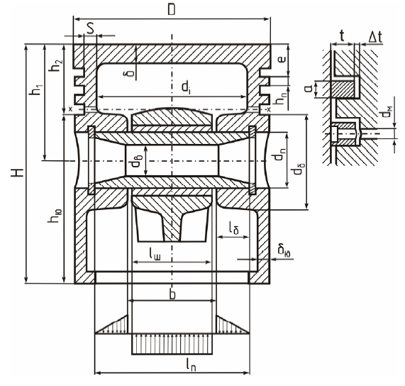
На рис. 1 наведено схему поршня з характерними розмірами, які визначаються або контролюються при розрахунку поршня.

Рис. 1 Конструктивна схема поршня
Коструктивні розміри або співвідношення розмірів елементів поршневої групи автотракторних двигунів наведено в таблиці 1.
Таблиця 1 Розміри і співвідношення розмірів елементів циліндро-поршневої групи
|
Назва і співвідношення розмірів елементів поршневої групи |
Бензинові двигуни |
Дизелі |
|
Товщина дна поршня, |
0,05…0,09 |
0,12…0,20 |
|
Висота поршня, |
0,8…1,20 |
1,00…1,50 |
|
Висота вогняного (жарового) поясу, |
0,06…0,09 |
0,11…0,20 |
|
Товщина першої кільцевої перемички, |
0,03…0,05 |
0,04…0,06 |
|
Висота верхньої частини поршня, |
0,45…0,75 |
0,60...1,00 |
|
Висота юбки поршня, |
0,60…0,75 |
0,60…0,70 |
|
Внутрішній діаметр поршня, |
||
|
Товщина стінки головки поршня, |
0,05…0,10 |
0,05…0,10 |
|
Товщина стінки юбки поршня, , мм |
0,07…0,12 |
0,08…0,12 |
|
Відношення (t радіальна товщина) для компресійного кільця, для мастилознімального кільця |
0,035..0,045 0,030..0,043 |
0,04..0,045 0,038..0,043 |
|
Радіальний зазор кільця в канавці поршня, , мм: компресійного, мастилознімального |
0,70…0,95 0,90…1,10 |
|
|
Висота кільця, а, мм |
1,50…4,00 |
3,0…5,00 |
|
Відношення величин зазорів у замку до товщини кільця у вільному і робочому станах, |
2,5…4,00 |
3,2…4,00 |
|
Число мастильних отворів у поршні, |
6…12 |
|
|
Діаметр мастильного каналу, |
0,3…0,5 |
|
|
Діаметр бобишки поршня, |
0,3…0,5 |
|
|
Відстань між торцями бобишок, |
0,3…0,5 |
|
|
Зовнішній діаметр поршневого пальця, |
0,22…0,28 |
0,30…0,38 |
|
Внутрішній діаметр поршневого пальця, |
0,65…0,75 |
0,50…0,70 |
|
Довжина пальця, : закріпленого плаваючого |
0,85…0,90 0,78…0,88 |
0,85…0,90 0,80…0,85 |
|
Довжина головки шатуна, : закріпленого плаваючого |
0,28…0,32 0,33…0,45 |
Наведені в таблиці 1 параметри і показники використовуються для розрахунку деталей поршневої і кривошипно-шатунної груп двигуна.
Згідно з відношеннями, що наведено в таблиці 1, приймають товщину дна поршня (мм), висоту поршня Н (мм); товщину стінки головки поршня S(мм), висоту юбки поршня (мм), радіальну товщину кільця t (мм), радіальний зазор кільця в канавці поршня t (мм), товщину верхньої кільцевої перемички (мм), кількість і діаметр мастильних каналів у поршні відповідно і (мм).
Вибирають матеріал: для гільзи циліндрів переважно сірий чавун з коефіцієнтом розширення ц = 11·10-6 1/К; для поршня евтектичний алюмінієвий сплав з включенням 12% кремнію і коефіцієнтом розширення п = 22·10-6 1/К.
1.Визначають напруження згину в дні поршня за формулою:
(1)
де момент згину, МН·м;
момент опору згину плоского дна поршня, м3;
внутрішній радіус дна поршня, мм.
Наближена перевірка міцності дна поршня, як круглої пластини, защемленої по краях і навантаженої рівномірно розподіленим навантаженням, може бути визначена за формулою:
Допустиме напруження для вибраного алюмінієвого сплаву на згин
[]=150 МПа.
2.Визначають напруження стиску у перерізі х х (рисунок 1) за формулою:
, (2)
де ,MН максимальна сила тиску газів на дно поршня;
; (3)
де мм діаметр поршня по дну канавок;
мм внутрішній діаметр поршня;
м2 площа подовжнього діаметрального перерізу по мастильних отворах.
Підставляючи значення параметрів, знаходять в м2 і в МПа:
3. Визначають напруження розриву у перерізі х х за формулою:
, (4)
де значення сили інерції мас частини поршня з кільцями, яка знаходиться вище перерізу х-х;
кг маса головки поршня з кільцями, яка розташована вище перерізу х-х;
R=S / 2, м радіус кривошипа колінчастого вала;
,с-1 максимальна кутова швидкість колінчастого вала на холостому ходу.
Підставляючи значення параметрів, знаходять і .
4.Визначають напруження в верхній кільцевій перемичці за формулами:
при зрізі
; МПа; (5)
- при згині
; МПа; (6)
сумарне
; МПа. (7)
Допустиме напруження для поршнів з алюмінієвих сплавів МПа; для чавунних МПа.
5. Визначають питомий тиск юбки поршня на стінку циліндра за формулою:
; МПа. (8)
6. Визначають питомий тиск всієї висоти поршня на стінку циліндра за формулою:
; МПа. (9)
Для автотракторних двигунів = 0,3…1,0 МПа, = 0,2…0,7 МПа.
Гарантована рухомість поршня (відсутність заклинювання) забезпечується величиною зазору між циліндром і поршнем, який має враховувати неоднаковість розширення у верхньому перерізі головки поршня і нижньому перерізі юбки поршня .
Необхідні монтажні зазори між стінками циліндра і поршнем у холодному стані визначаються з наступних виразів:
=(0,006…0,008)·D; мм (10)
=(0,001…0,002)·D ,мм. (11)
Діаметр юбки поршня з урахуванням монтажних зазорів:
,мм;
а головки поршня:
,мм.
Перевіряють значення зазорів між стінками циліндра і поршнем у гарячому стані за наступними формулами:
(12)
,. (13)
де , діаметральні зазори між стінкою циліндра і головкою та юбкою поршня відповідно, мм;
, коефіцієнти лінійного розширення матеріалів циліндра і поршня:
для чавуну == 11·10-6К-1; для алюмінієвих сплавів == 22·10-6К-1;
Тц , Тг , Тю відповідно температури стінок циліндра, головки і юбки поршня у гарячому стані. При розрахунках приймають: Тц = 385 К; Тг =600 К;
Тю =410 К.
Підставляючи значення розрахункових параметрів, знаходять і .
Теплові зазори витримано, якщо вказані параметри мають додатні значення.
Циліндр
На рис. 2 наведено розрахункову схему для циліндру двигуна.

Рис.2 Розрахункова схема циліндра
Основні конструктивні розміри циліндру встановлюють, виходячи з необхідних жорсткості і міцності для запобігання овалізації під час роботи.
1. Товщина стінки циліндра вибирається з конструктивних міркувань і перевіряється за формулою:
, (14)
де діаметр циліндра, мм; допустиме напруження при розтягуванні; = 40…60 МПа для чавунних,= 80…120 МПа для стальних циліндрів; тиск газів у циліндрі в кінці згоряння, МПа.
2. При розрахунку циліндра на міцність при розтягуванні враховують максимальний тиск газів, діаметр і товщину стінки циліндра.
(14)
де максимальний тиск газів у циліндрі.
Допустимі значення , МН/м2:
для чавунних циліндрів 40…60;
для стальних циліндрів 80…120.
3. Розтягуюче напруження по кільцевому перерізу циліндра при повітряному охолодженні визначають за формулою:
. (15)
4. Згинаючий момент від сили Nmax , прикладеної до середини поршневого пальця, визначають за формулою:
(16)
де Nmax максимальна величина бокового тиску на циліндр (рис.2), МПа;
b відстань від центру перерізу пальця до опорної поверхні циліндра
(рис. 2),м;
площа дна поршня, м2.
5. Напруження згину визначається за формулою:
, МПа (17)
де W момент опору поперечного перерізу циліндру, м3:
(18)
де D1 i D зовнішній і внутрішній діаметр циліндра відповідно, м.
6. Сумарне напруження від розтягу і згину (МПа) визначають за формулою:
(19)
де МПа для чавунних циліндрів; МПа для стальних циліндрів.
Шпильки кріплення головки блока
Розраховують на розрив у небезпечному перерізі шпильки від дії сили, що виникає при затягуванні гайок, за формулами:
сила попередньої затяжки шпильки (МН):
Рз = (1,25…1,5) (20)
де площа, обмежена краєм прокладки навкруги циліндра, м2;
.
сумарна розрахункова сила, що діє на шпильки:
(21)
сумарна сила, що приходиться на одну шпильку:
(22)
де к кількість шпильок на одному циліндрі; при верхньому розміщенні клапанів к = 4…6; при нижньому к = 6…8.
Напруження при розтягуванні в шпильці (МПа) визначається за формулою:
МПа, (17)
Де площа мінімального поперечного перерізу шпильки по внутрішньому діаметру різьби, м2; = 100…150 МПа для вуглецевих сталей; = 250…300 МПа для легованих сталей.
Поршневий палець
Основні конструктивні розміри поршневого пальця приймаємо згідно з рекомендаціями, які наведено в таблиці 1, а саме: зовнішній діаметр пальця , мм; , мм внутрішній діаметр пальця; довжина пальця мм;
довжина втулки в головці шатуна , мм; відстань між торцями бобишок b, мм; максимальний тиск газів на поршень згідно з даними теплового розрахунку , МПа.
Максимальна сила інерції мас поршневої групи, які рухаються зворотно-поступально, для двигуна, що проектується, , Н прииймається за даними динамічного розрахунку двигуна або за розрахунковою формулою (див. нижче). Матеріал поршневого пальця сталь 15Х. Модуль пружності МПа. Палець плаваючого типу.
Визначаємо силу, що діє на поршневий палець (МН), за наступною формулою:
(18)
де = 0,8 коефіцієнт, що враховує масу поршневого пальця;
, (19)
де МН максимальна сила інерції мас поршневої групи, що рухаються зворотно-поступально;
с-1 максимальна кутова швидкість колінчастого вала на холостому ходу.
Визначають тиск пальця на втулку поршневої головки шатуна:
;МПа. (20)
Визначають тиск пальця на бобишки поршня:
; МПа. (21)
Для автомобільних двигунів 20…60 МПа; 15…50 МПа.
Напруження згину у середньому перерізі пальця, МПа:

(22)
де відношення внутрішнього діаметра пальця до зовнішнього.
Допустиме значення напруження МПа.
Визначають дотичне напруження зрізу у перерізах між бобишками і головкою шатуна, МПа:

(23)
Допустиме значення напруження МПа.
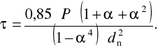
Визначають максимальне збільшення горизонтального діаметра пальця внаслідок овалізації, мм:

(24)
Значення не повинно перевершувати 0,02…0,05 мм.
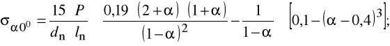
Напруження овалізації на зовнішній поверхні пальця, МПа:
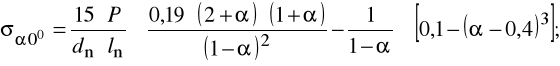
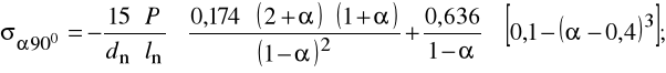
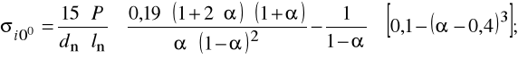
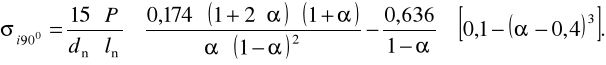
в горизонтальній площині (при =0):

(25)
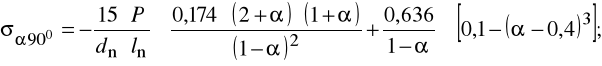
у вертикальній площині (при =900):

(26)
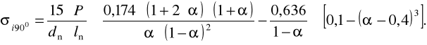
Визначають напруження овалізації на внутрішній поверхні пальця, МПа:
в горизонтальній площині (при =0):

(27)
у вертикальній площині (при =900)

(28)
Найбільше напруження овалізації, як правило, виникає на внутрішній поверхні пальця при .
Допустиме напруження МПа.
PAGE \* MERGEFORMAT 9
EMBED Equation.3
EMBED Equation.3 
EMBED Equation.3
EMBED Equation.3 
EMBED Equation.3 
EMBED Equation.3
EMBED Equation.3 
Розрахунок деталей циліндро-поршневої групи