Измерение параметров элементов электрических цепей
ЛЕКЦИЯ 13.
Измерение параметров элементов электрических цепей
Электрические цепи представляют собой совокупность соединенных друг с другом элементов источников электрической энергии и нагрузок в виде резисторов, катушек индуктивности, конденсаторов. При определенных допущениях эти нагрузки можно рассматривать как линейные пассивные двухполюсники с сосредоточенными постоянными, характеризуемые некими идеальными параметрами сопротивлением R, индуктивностью L, емкостью С.
При измерении, однако, не всегда удается определить значение того или иного параметра, соответствующее идеальному, совершенному виду элемента. Несовершенство конструкции и характеристик применяемых материалов является причиной появления так называемых остаточных (паразитных) параметров элементов. Так, наряду с главным параметром катушки индуктивности индуктивностью, она обладает собственной емкостью и активным сопротивлением; резистор, обладая активным сопротивлением, имеет также определенную индуктивность т.п.
С учетом остаточных параметров конденсатор, катушку индуктивности или резистор можно характеризовать некоторым эффективным значением емкости, индуктивности, сопротивления, которые зависят от частоты. Поэтому эффективные параметры компонентов необходимо измерять на рабочих частотах, если их влиянием на результат измерения нельзя пренебречь.
В зависимости от объекта измерений, требуемой точности результата, диапазона рабочих частот и других условий для измерения параметров двухполюсников применяют различные методы и средства измерений. Наиболее распространенными являются следующие методы измерения: амперметра вольтметра, непосредственной оценки, мостовой, резонансный и дискретного счета.
Метод амперметра вольтметра
Измерение методом амперметра вольтметра сводится к измерению тока и напряжения в цепи с измеряемым двухполюсником и последующему расчету его параметров по закону Ома. Метод может быть использован для измерения активного и полного сопротивления, индуктивности и емкости.
Измерение активных сопротивлений производится на постоянном токе, при этом включение резистора RХ в измерительную цепь возможно по схемам, представленным на рис. 13.1, а и б.
Достоинство метода заключается в простоте его реализации, недостаток - в сравнительно невысокой точности результата измерения, которая ограничена классом точности применяемых измерительных приборов и методической погрешностью. Последняя обусловлена влиянием мощности, потребляемой измерительными приборами в процессе измерения, другими словами - конечным значением собственных сопротивлений амперметра RA и вольтметра RV. Выразим методическую погрешность через параметры схемы.
В схеме рис. 13.1,а вольтметр показывает значение напряжения на зажимах RХ, а амперметр сумму токов IV+I.
Следовательно, результат измерения R, вычисленный по показаниям приборов, будет отличаться от RХ :
Относительная погрешность измерения в процентах
Здесь приближенное равенство справедливо, так как при правильной организации эксперимента предполагается выполнение условия RV >>RХ.
В схеме рис.13.1,б амперметр показывает значение тока в цепи с RХ, а вольтметр - сумму падений напряжений на RХ U и амперметре UA. Учитывая это, можно по показаниям приборов вычислить результат измерения:
Относительная погрешность измерения в процентах в данном случае равна:
Сравнивая полученные выражения относительных погрешностей, приходим к выводу: в схеме рис. 13.1,а на методическую погрешность результата измерения оказывает влияние только сопротивление RV ; для снижения этой погрешности необходимо обеспечить условие ; в схеме рис. 13.1,б на методическую погрешность результата измерения оказывает влияние только RA ; снижение этой погрешности достигается выполнением условия Таким образом, при практическом использовании данного метода можно рекомендовать правило: измерение малых сопротивлений следует производить по схеме рис. 13.1,а; при измерении больших сопротивлений предпочтение следует отдавать схеме рис. 13.1, б.
Измерение полного сопротивления ZX выполняется на переменном токе частотой f (рис. 13.2). По показаниям вольтметра и амперметра определяют модуль полного сопротивления
,
где - показания вольтметра и амперметра.
Выполнив аналогично предыдущему анализ методической погрешности, придем к выводу, что схему, представленную на рис. 13.2, а, целесообразно применять при , а на рис. 13.2, б при .
Измерение емкости и индуктивности методом амперметра вольтметра может быть выполнено по схемам, аналогичным рис. 13.2, только с заменой ZX , соответственно, на С или L.
Емкостное сопротивление конденсатора
,
откуда
.
При измерении емкости этим методом необходимо знать частоту источника питания. Для измерения больших емкостей рекомендуется схема а), а для малых емкостей схема б).
Измерение индуктивности катушки методом амперметра вольтметра возможно, если ее сопротивление RL значительно меньше реактивного сопротивления XL. При этом
, откуда .
Если требуется получить более точный результат, то необходимо учесть сопротивление катушки. Так как
,
то
.
Погрешности измерения параметров элементов цепей методом амперметра вольтметра на низких частотах составляют 0.5 … 10%. Погрешности измерения возрастают с увеличением частоты.
Мостовой метод.
Важным классом средств измерения, предназначенных для измерения параметров элементов электрических цепей методом сравнения, являются мосты. Сравнение измеряемой величины (сопротивления, емкости. Индуктивности) с образцовой мерой при помощи моста в процессе измерения может осуществляться вручную или автоматически, на постоянном или на переменном токе. Мостовые схемы обладают большой точностью, высокой чувствительностью, широким диапазоном измеряемых значений параметров. На основе мостовых методов измерения строятся средства измерения, предназначенные как для измерения какой-либо одной величины, так и универсальные аналоговые и цифровые приборы.
Одинарный мост постоянного тока.
Простейшая схема одинарного моста представлена на рис.13.3. Четыре резистора R1,R2,R3,R4 (их называют плечами моста) соединены в кольцевой замкнутый контур. Точки соединения сопротивлений называют вершинами моста.
Цепи, соединяющие противоположные вершины, называют диагоналями. Диагональ ab содержит источник питания и называется диагональю питания. Диагональ cd, в которую включен индикатор Г, называется измерительной диагональю. В мостах постоянного тока в качестве индикатора обычно используется гальванометр.
В общем случае зависимость протекающего через гальванометр тока Iг от сопротивления плеч, сопротивления гальванометра Rг и напряжения питания U имеет вид
. (13.1)
Измерение сопротивления может производиться в одном из двух режимов работы моста: уравновешенном либо неуравновешенном. Мост называется уравновешенным, если разность потенциалов между вершинами c и d равна нулю, а, следовательно, и ток через гальванометр равен нулю.
Из (13.1) следует, что Iг = 0 при
. (13.2)
Это условие равновесия одинарного моста постоянного тока можно сформулировать следующим образом: для того, чтобы мост был уравновешен, произведения сопротивлений противолежащих плеч моста должны быть равны. Если сопротивление одного из плеч моста (например, R1) неизвестно, то уравновесив мост путем подбора сопротивлений плеч , находим из условия равновесия
.
В реальных мостах постоянного тока для уравновешивания моста регулируются отношение и сопротивление плеча , которые, соответственно, называют плечами отношения и плечом сравнения.
В состоянии равновесия моста ток через гальванометр равен нулю и, следовательно, колебания напряжения питания и сопротивления гальванометра влияния на результат измерения не оказывают (важно лишь, чтобы чувствительность гальванометра была достаточной для надежной фиксации состояния равновесия). Поэтому основная погрешность уравновешенного моста определяется чувствительностью гальванометра, чувствительностью схемы, погрешностью сопротивлений плеч, а также сопротивлениями монтажных проводов и контактов. При измерении малых сопротивлений существенным источником погрешности может явиться сопротивление проводов, с помощью которых измеряемый резистор подключается к входным зажимам моста, так как оно полностью входит в результат измерения. Поэтому нижний предел измерения одинарного моста ограничен значениями сопротивления порядка 1 Ом. Верхний же предел измерения 106 … 108 Ом ограничивается чувствительностью гальванометра. При больших значениях измеряемого сопротивления токи в плечах моста очень малы и чувствительности гальванометра недостаточно для четкой фиксации равновесия. Для измерения малых сопротивлений (от 1 до 10-8 Ом) применяют двойные мосты.
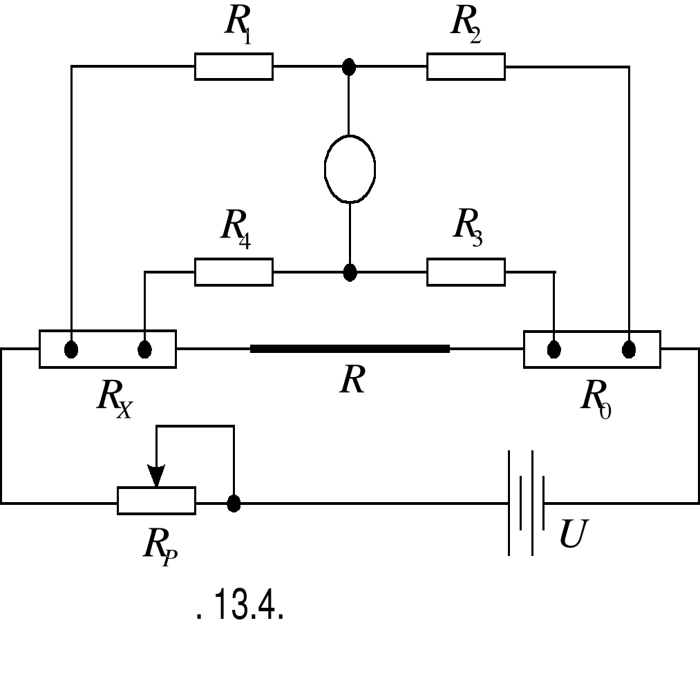
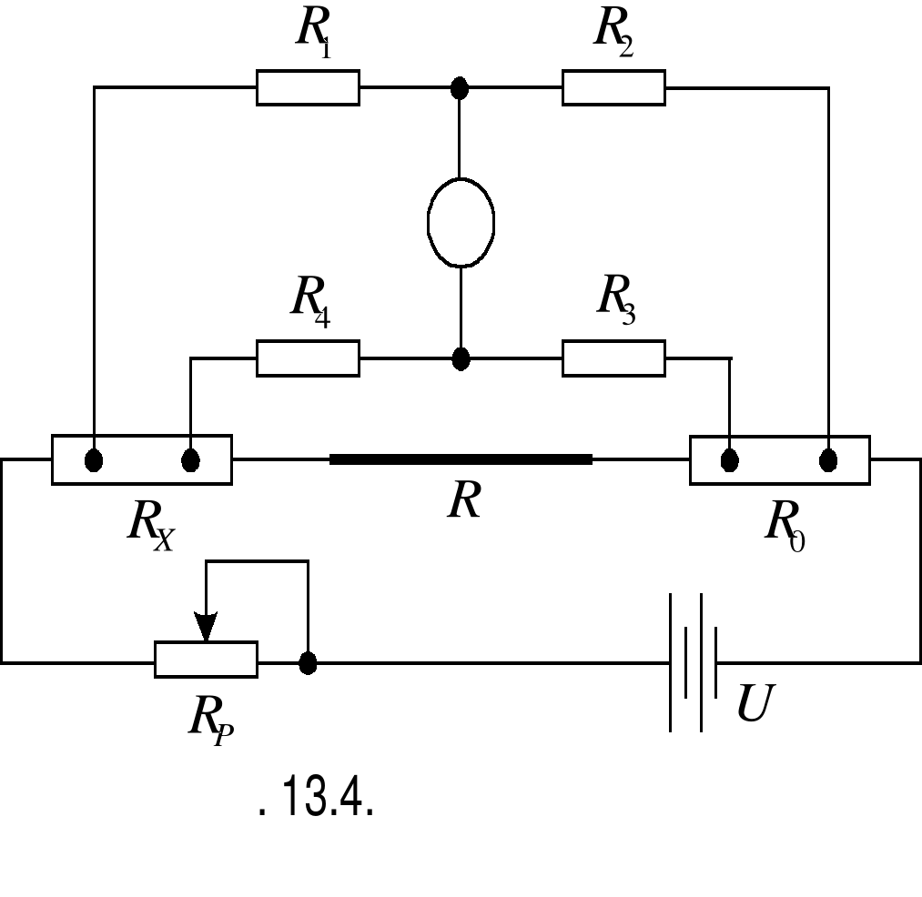
Двойной мост постоянного тока. Схема двойного моста представлена на рис. 13.4
.
Для исключения влияния сопротивлений соединительных проводов и переходных сопротивлений контактов измеряемое сопротивление присоединяется по четырехзажимной схеме включения: двумя токовыми зажимами в цепь источника питания моста, а двумя потенциальными в измерительную цепь. Аналогичные зажимы имеет образцовое сопротивление . В цепь источника питания моста входит регулировочное сопротивление , измеряемое сопротивление , образцовое сопротивление (одного порядка по величине с ) и малого сопротивления .
Сопротивления плеч R1,R2,R3 и R4, входящие в измерительную цепь, выбирают достаточно большими (сотни и тысячи Ом), поэтому влияние сопротивлений монтажных проводов и переходных сопротивлений в контактах пренебрежимо мало.
При равновесии моста формула для определения сопротивления имеет вид
. (13.3)
При соблюдении равенства
(13.4)
и достаточно малом сопротивлении вторым членом формулы (13.3) можно пренебречь. Тогда формула (13.3) упрощается до следующей
.
Равенство (13.4) должно соблюдаться постоянно, поэтому резисторы R1,R2 и R3,R4 регулируются при помощи спаренных органов управления. Резистор представляет собой короткий отрезок медной шины большого сечения.
Промышленностью выпускаются одинарные и одинарно-двойные мосты постоянного тока классов точности от 0.005 до 5.
Измерительные мосты переменного тока.
Для измерения емкости, индуктивности, взаимной индуктивности и тангенса угла потерь конденсаторов применяются мосты переменного тока, схемы которых отличаются большим разнообразием. Кроме простых четырехплечих мостовых схем существуют и более сложные мостовые схемы. Эти схемы путем последовательных эквивалентных преобразований могут быть приведены к простой четырехплечей схеме, которая является, таким образом, основной.
Схема одинарного четырехплечего моста переменного тока приведена на рис. 13.5. Так как мост питается напряжением переменного тока, то в качестве индикатора в нем применяются электронные милливольтметры переменного тока, либо осциллографические индикаторы нуля.
В общем случае сопротивления плеч моста переменного тока представляют собой комплексные сопротивления вида . Аналогично соотношению (13.2) условие равновесия одинарного моста переменного тока имеет вид:
.
Записав это выражение в показательной форме, получим
, (13.5)
где - модуль комплексного сопротивления; - фазовый сдвиг между током и напряжением в соответствующем плече.
Соотношение (13.5) распадается на два скалярных условия равновесия:
(13.6)
Отсюда следует, что в схеме моста переменного тока равновесие наступает только при равенстве произведений модулей комплексных сопротивлений противолежащих плеч и равенстве сумм их фазовых сдвигов. При этом нужно иметь в виду, что при изменении значений активных и реактивных составляющих одновременно изменяются и модуль, и фаза, поэтому мост переменного тока можно привести к состоянию равновесия лишь большим или меньшим числом переходов от регулирования одного параметра к регулированию другого.
Второе уравнение (13.6) показывает, какими по характеру должны быть сопротивления плеч мостовой схемы, чтобы обеспечить возможность ее уравновешивания. Так, например, если в двух смежных плечах включены активные сопротивления ( = 0), то в двух других смежных плечах обязательно должны быть сопротивления одного характера или индуктивности, или емкости.
Для измерения емкости конденсаторов без потерь используется мостовая схема, приведенная на рис. 13.6, а. Условие равновесия для этой схемы имеет вид
,
где - образцовый конденсатор переменной емкости, откуда
.
Мостовая схема для измерения индуктивности приведена на рис. 13.6, б. В качестве плеча сравнения здесь также используется конденсатор переменной емкости . Полагая, что активное сопротивление катушки пренебрежимо мало (), получим условие равновесия
,
откуда
.
Погрешность моста переменного тока определяется погрешностями элементов, образующих мост, переходных сопротивлений контактов, чувствительностью схемы и индикатора. Мосты переменного тока больше, чем мосты постоянного тока, подвержены влиянию помех и паразитных связей между плечами, плечами и землей, мостом и оператором. Именно поэтому, даже при тщательном экранировании моста и принятии других мер защиты, погрешности мостов переменного тока больше, чем погрешности мостов постоянного тока. Промышленностью выпускаются мосты переменного тока классов точности от 0.1 до 5.0.
Мосты переменного тока работают обычно на низких частотах 100 Гц и 1000 Гц. При работе на повышенных частотах погрешности измерения резко возрастают.
PAGE 9
EMBED Visio.Drawing.6 
EMBED Visio.Drawing.6 
Измерение параметров элементов электрических цепей