Параметрические измерительные преобразователи
ЛЕКЦИЯ 16.
Параметрические измерительные преобразователи
Термометры сопротивления.
Термометры сопротивления как и термопары, предназначены для измерения температуры газообразных, твердых и жидких тел, а также температуры поверхности. Принцип действия термометров основан на использовании свойства металлов и полупроводников изменять свое электрическое сопротивление с температурой. Для проводников из чистых металлов эта зависимость в области температур от 200оС до 0оС имеет вид:
Rt = R0[1 + At + Bt2 + C(t 100)t3],
а в области температур от 0оС до 630оС
Rt = R0[1 + At + Bt2),
где Rt, R0 сопротивление проводника при температуре t и 0о С; А, В, С - коэффициенты; t температура, оС.
В диапазоне температур от 0оС до 180оС зависимость сопротивления проводника от температуры описывается приближенной формулой
Rt = R0(1 + t),
где - температурный коэффициент сопротивления материала проводника (ТКС).
Для проводников из чистого металла град-1Для полупроводниковых материалов зависимость сопротивления от температуры имеет вид
RT = Aexp(B/T),
где А, В постоянные; Т температура, оК.
Измерение температуры термометром сопротивления сводится к измерению его сопротивления Rt с последующим переходом к температуре t по формулам или градуировочным таблицам.
Различают проволочные и полупроводниковые термометры сопротивления. Проволочный термометр сопротивления представляет собой тонкую проволоку из чистого металла, закрепленную на каркасе из термостойкого материала (чувствительный элемент), помещенную в защитную арматуру (рис. 16.1). Выводы от чувствительного элемента подведены к головке термометра.

Выбор для изготовления термометров сопротивления проволок из чистых металлов, а не сплавов, обусловлен тем, что ТКС чистых металлов больше, чем ТКС сплавов и, следовательно, термометры на основе чистых металлов обладают большой чувствительностью.
Промышленностью выпускаются платиновые, никелевые и медные термометры сопротивления. Для обеспечения взаимозаменяемости и единой градуировки термометров стандартизованы величины их сопротивления R0 и ТКС. В табл. 16.1 приведены основные данные о термометрах сопротивления.
Т а б л и ц а 16.1. Параметры термометров сопротивления
|
Тип термометра |
Материал чувствительного элемента |
Диапазон температур применения, оС |
|
ТСП ТСН ТСМ |
Платина Никель Медь |
-260…1100 -50…180 -200…200 |
Зависимость сопротивления термометров ТСП, ТСН и ТСМ от температуры дается стандартными градуировочными таблицами, составленными для ряда значений R0 ( 1, 10, 50, 100, 500 Ом).
Полупроводниковые термометры сопротивления (термисторы) представляют собой бусинки, диски или стержни из полупроводникового материала с выводами для подключения в измерительную цепь.
Промышленность серийно выпускает множество типов термисторов в различном конструктивном оформлении.
Размеры термисторов, как правило, малы около нескольких миллиметров, а отдельные типы десятых долей миллиметра. Для предохранения от механических повреждений и воздействия среды термисторы защищаются покрытиями из стекла или эмали, а также металлическими чехлами.
Термисторы обычно имеют сопротивление от единиц до сотен кОм; их ТКС в рабочем диапазоне температур на порядок больше, чем у проволочных термометров. В качестве материалов для рабочего тела термисторов используют смеси оксидов никеля, марганца, меди, кобальта, которые смешивают со связующим веществом, придают ему требуемую форму и спекают при высокой температуре. Применяют термисторы для измерения температур в диапазоне от 100 до 300оС. Инерционность термисторов сравнительно невелика. К числу их недостатков следует отнести нелинейность температурной зависимости сопротивления, отсутствие взаимозаменяемости из-за большого разброса номинального сопротивления и ТКС, а также необратимое изменение сопротивления во времени.
Для измерения в области температур, близких к абсолютному нулю, применяются германиевые полупроводниковые термометры.
Измерение электрического сопротивления термометров производится с помощью мостов постоянного и переменного тока или компенсаторов. Особенностью термометрических измерений является ограничение измерительного тока с тем, чтобы исключить разогрев рабочего тела термометра. Для проволочных термометров сопротивления рекомендуется выбрать такой измерительный ток, чтобы мощность, рассеиваемая термометром, не превышала 20…50 мВт. Допустимая рассеиваемая мощность в термисторах значительно меньше, и ее рекомендуется определять экспериментально для каждого термистора.
Тензочувствительные преобразователи (тензорезисторы).
В конструкторской практике часто необходимы измерения механических напряжений и деформаций в элементах конструкций. Наиболее распространенными преобразователями этих величин в электрический сигнал являются тензорезисторы. В основе работы тензорезисторов лежит свойство металлов и полупроводников изменять свое электрическое сопротивление под действием приложенных к ним сил. Простейшим тензорезистором может быть отрезок проволоки, жестко сцепленный с поверхностью деформируемой детали. Растяжение или сжатие детали вызывает пропорциональное растяжение или сжатие проволоки, в результате чего изменяется ее электрическое сопротивление. В пределах упругих деформаций относительное изменение сопротивления проволоки связано с ее относительным удлинением соотношением
R/R = Kтl/l, (16.1)
где l, R начальные длина и сопротивление проволоки; l, R приращение длины и сопротивления; Кт коэффициент тензочувствительности.
Величина коэффициента тензочувствительности зависит от свойств материала, из которого изготовлен тензорезистор, а также от способа крепления тензорезистора к изделию. Для металлических проволок из различных металлов Кт = 1…3.5.
Различают проволочные и полупроводниковые тензорезисторы. Для изготовления проволочных тензорезисторов применяются материалы, имеющие достаточно высокий коэффициент тензочувствительности и малый температурный коэффициент сопротивления. Наиболее употребительным материалом для изготовления проволочных тензорезисторов является константановая проволока диаметром 0.02…0.05 мм.
Конструктивно, проволочные тензорезисторы представляют собой решетку, состоящую из нескольких петель проволоки, наклеенных на тонкую бумажную (или иную) подложку (рис. 16.2). В зависимости от материала подложки, тензорезисторы могут работать при температурах от 40 до +400оС. Существуют конструкции тензорезисторов, прикрепляемых к поверхности деталей с помощью цементов, способные работать при температурах до 800оС.
Основными характеристиками тензорезисторов являются номинальное сопротивление R, база l и коэффициент тензочувствительности Кт.
Промышленностью выпускается широкий ассортимент тензорезисторов с величиной базы от 5 до 30 мм, номинальными сопротивлениями от 50 до 2000 Ом, с коэффициентом тензочувствительности 2 0.2.
Дальнейшим развитием проволочных тензорезисторов являются фольговые и пленочные тензорезисторы, чувствительным элементом которых является решетка из полосок фольги или тончайшая металлическая пленка, наносимые на подложки на лаковой основе.
Тензорезисторы выполняются на основе полупроводниковых материалов. Наиболее сильно тензоэффект выражен у германия, кремния и др. Основным отличием полупроводниковых тензорезисторов от проволочных является большое (до 50%) изменение сопротивления при деформации благодаря большой величине коэффициента тензочувствительности (от 100 до +200).
Измерение сопротивления тензорезисторов производится теми же методами и средствами, что и термометров сопротивления.
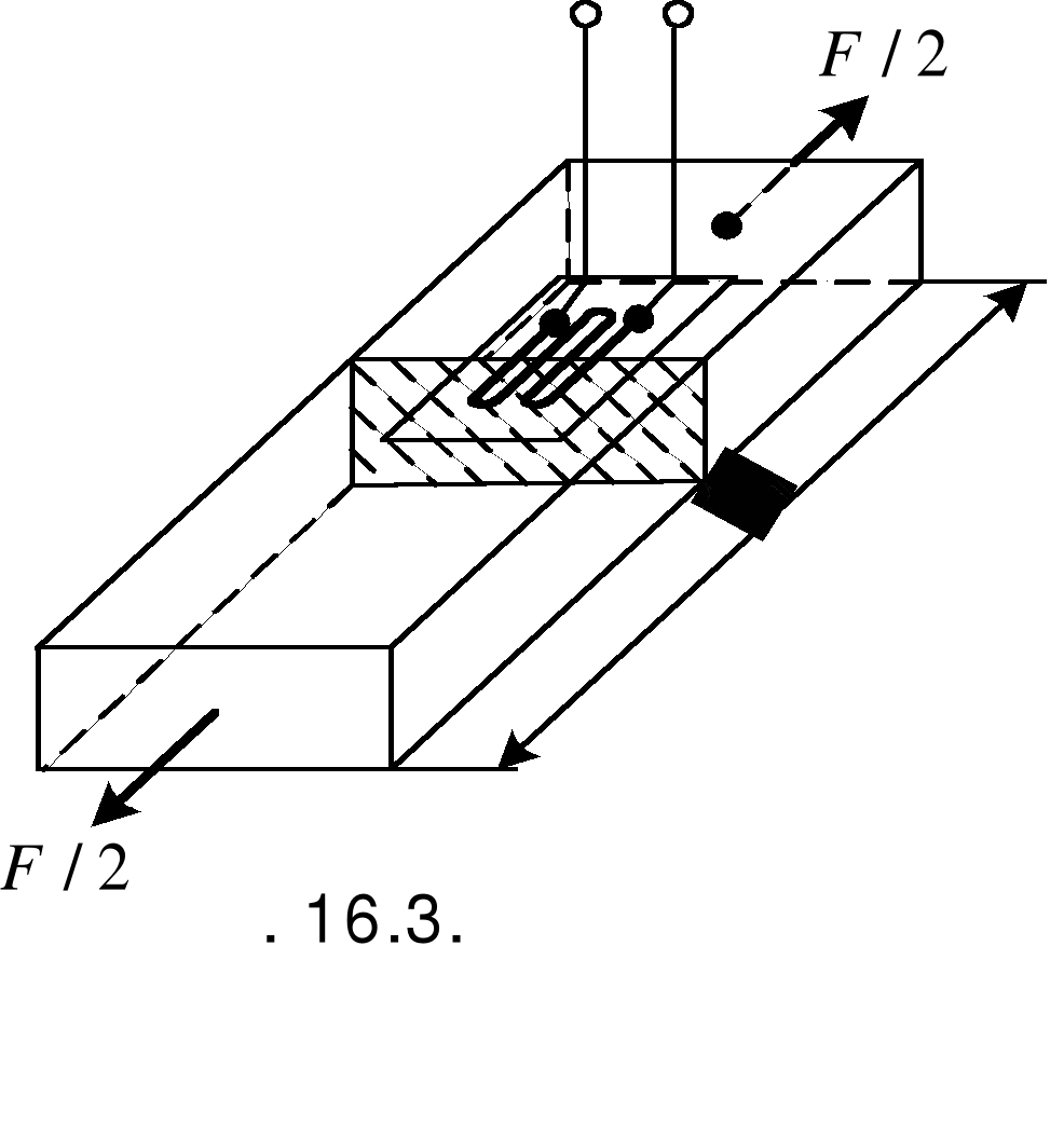
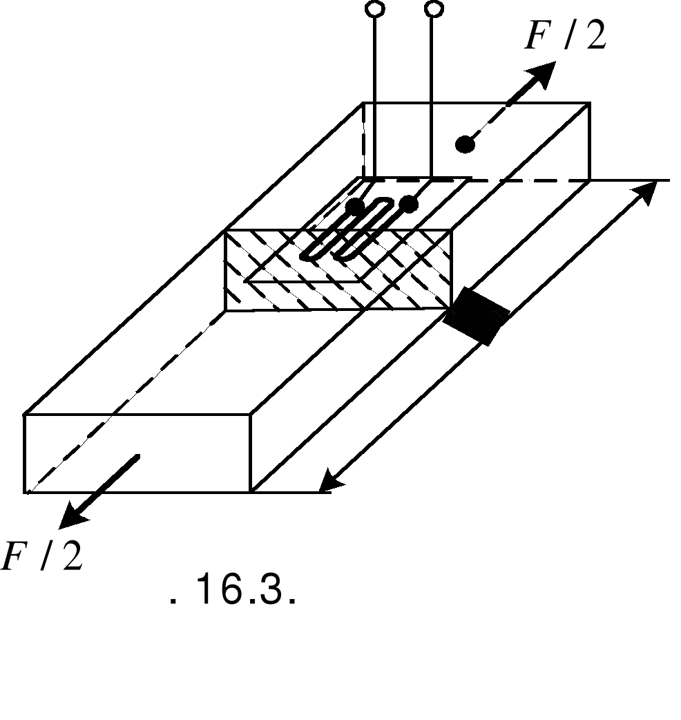
Для измерения механического напряжения в элементе конструкции тензорезистор наклеивают на исследуемый элемент в интересующем сечении таким образом, чтобы его продольная ось совпадала с направлением деформации (рис. 16.3).

Если на элемент конструкции действует сила F, то величина возникающего в нем механического напряжения = F/S связана с относительной деформацией =L/L соотношением = Е, где S поперечное сечение элемента; E модуль упругости материала; L длина образца.
Учитывая (16.1), получим
Измерив R тензорезистора, можно по известным R, KT и Е определить напряжение .
Индуктивные преобразователи.
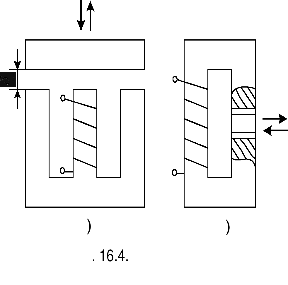
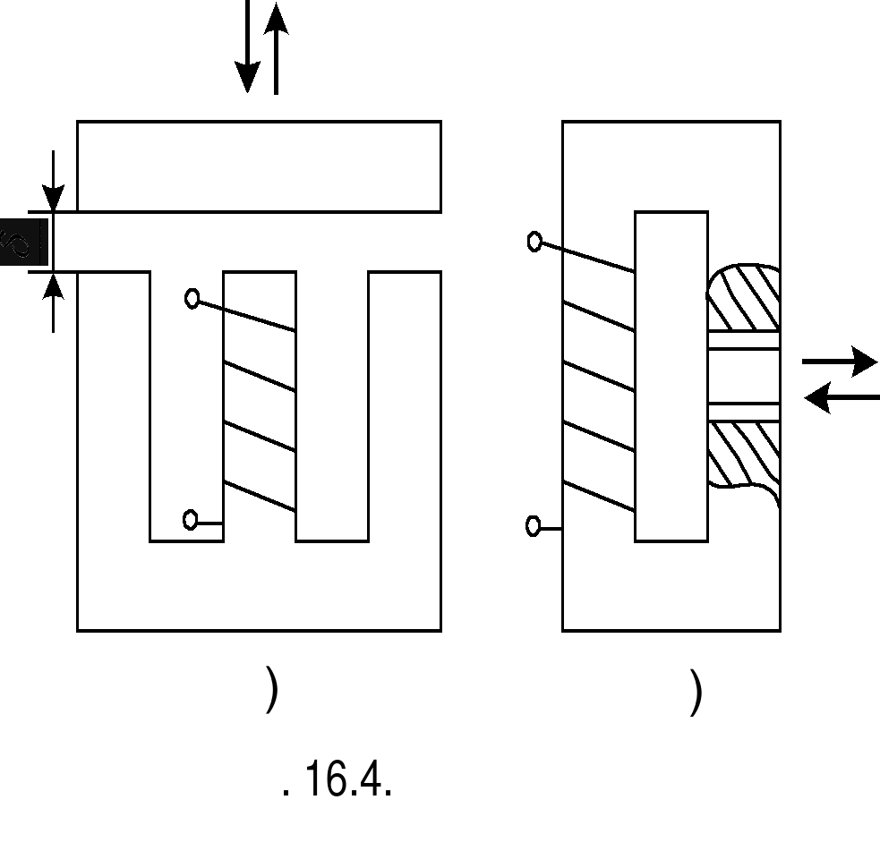
Индуктивные преобразователи применяются для измерения перемещений, размеров, отклонений формы и расположения поверхностей. Преобразователь состоит из неподвижной катушки индуктивности с магнитопроводом и якоря, также являющегося частью магнитопровода, перемещающегося относительно катушки индуктивности. Для получения возможно большей индуктивности магнитопровод катушки и якорь выполняются из ферромагнитных материалов. При перемещении якоря (связанного, например, со щупом измерительного устройства) изменяется индуктивность катушки и, следовательно, изменяется ток, протекающий в обмотке.
На рис. 16.4 приведены схемы индуктивных преобразователей с переменным воздушным зазором (рис. 16.4,а), применяемых для измерения перемещений в пределах

0.01…10 мм; с переменной площадью воздушного зазора S (рис. 16.4,б), применяемых в диапазоне 5…20 мм.
При небольшом зазоре индуктивность катушки преобразователя (рис. 16.4, а)
(16.2)
где w число витков обмотки; RM, R - магнитное сопротивление магнитопровода и зазора; lM средняя длина магнитной силовой линии в магнитопроводе; S, S0 площади сечения магнитопровода и воздушного зазора; , 0 магнитные проницаемости материала магнитопровода и воздушного зазора.
Когда магнитное сопротивление зазора значительно больше магнитного сопротивления магнитопровода, т.е. R >> RM или >> lM/2, выражение (16.2) принимает вид
L =w2S00/2. (16.3)
Индуктивные преобразователи с переменным зазором имеют высокую чувствительность и реагируют на изменение зазора порядка 0.1…0.5 мкм. Ток в обмотке катушки определяется выражением
(16.4)
где U напряжение питания; R активное сопротивление обмотки; - частота питающего напряжения.
Из (16.3), (16.4) следует, что зависимость I = f() нелинейна. Спрямление нелинейности достигается применением дифференциальных преобразователей с двумя раздельными магнитными цепями и общим якорем. Индуктивные преобразователи широко применяют в современных средствах линейных и угловых измерений: профилографах, контрольных автоматах и в электронных аналоговых и цифровых приборах для активного контроля линейных размеров. Приведенная погрешность индуктивных преобразователей не превосходит 1…2%.
PAGE 6
EMBED Visio.Drawing.6 
EMBED Visio.Drawing.6 
EMBED Visio.Drawing.6 
EMBED Visio.Drawing.6 
Параметрические измерительные преобразователи
