ПРОИЗВОДСТВО ЗАГОТОВОК ОБРАБОТКОЙ МЕТАЛЛОВ ДАВЛЕНИЕМ
Лекция 3.
ПРОИЗВОДСТВО ЗАГОТОВОК ОБРАБОТКОЙ МЕТАЛЛОВ ДАВЛЕНИЕМ
1. Общая характеристика процессов обработки металлов давлением
2. Производство профилей и заготовок методами прокатки, прессования и волочения
3. Производство заготовок ковкой
4. Производство заготовок объемной горячей штамповкой
5. Производство заготовок холодной штамповкой
1. Общая характеристика процессов обработки металлов давлением
Роль процессов обработки металлов давлением в машиностроении
Обработка металлов давлением (ОМД) относится к наиболее прогрессивным способам изготовления заготовок. Около 90 % (по массе) всей выплавляемой стали и более 55 % цветных сплавов подвергаются различным видам обработки давлением, причем от 15 до 20 % полуфабрикатов подвергаются двух- и трехкратной обработке. По сравнению с другими способами производства заготовок процессы ОМД отличаются высокой производительностью и относительно легко автоматизируются.
Пластическая деформация при обработке давлением, преобразуя структуру и исправляя дефекты литого металла, сообщает ему более высокие механические свойства, что дает возможность повышать ресурс и эксплуатационные характеристики деталей машин.
В настоящее время существует около 400 способов объемного формообразования способами ОМД. Основными из них являются: прокатка, прессование, волочение, ковка, штамповка и специальные виды ОМД. Ведутся, дальнейшие работы по разработке и внедрению новых, малоотходных методов получения заготовок с достаточно точными размерами и низкой шероховатостью поверхности.
Материалы, применяемые для получения заготовок обработкой давлением
Виды сталей практически все применяют для получения заготовок обработкой давлением: углеродистые и легированные конструкционные; высоколегированные коррозионно-стойкие, жаростойкие и жаропрочные; инструментальные и др.
Деформируемые алюминиевые сплавы делятся на две группы: технический алюминий и термически неупрочняемые сплавы (АМц, АМгЗ, АМг5 и др.) и термически упрочняемые сплавы (Д1, Д16, ВД17, АК4, АК8, Б95 и др.). Сплавы первой группы отличаются высокой пластичностью и хорошими технологическими свойствами. Сплавы второй группы имеют удовлетворительные пластичность и технологические свойства, более высокие прочностные характеристики, в том числе и при повышенных температурах.
Из медных сплавов обработке давлением подвергаются латуни и бронзы. Латуни (Л168, Л60, ЛМц58-2, Л070-1 и др.) хорошо обрабатываются давлением и резанием. Они деформируются при низких и высоких температурах. К деформируемым бронзам относятся в основном алюминиевые, кремнистые и некоторые оловянные бронзы (БрАЖН 10-4-4, БрА5, БрКМц4-1, БрОЦС4-4-4 и др.). Они, как правило, деформируются в горячем состоянии и могут упрочняться термической обработкой.
Деформируемые магниевые сплавы (MAI, МА2, МА2-1, МАП и др.) используются для изготовления заготовок прокаткой, прессованием и штамповкой. Обработку давлением проводят обычно при температуре 300400°С.
Из титановых сплавов (ОТ4-1, ВТ5, ВТ14, ВТЗ-1, ВТ9 и др.) изготавливают прокат, листы, трубы и поковки. Они обладают удовлетворительной пластичностью, высокой прочностью, но плохо обрабатываются резанием.
В специальном машиностроении и для нужд новой техники используют сплавы сложных составов на основе вольфрама, ниобия, молибдена и сплавы, содержащие такие элементы, как бериллий, цирконий, кобальт и др. Новые сплавы сложного состава поступают в обработку в виде слитков после дуговой и электронно-лучевой плавки.
Для определения допустимых режимов нагрева, температурных интервалов ковки и штамповки, степени, скорости и схемы деформации, условий охлаждения поковок, а также необходимого усилия оборудования следует знать зависимость механических свойств обрабатываемого материала от температуры деформирования. Механически е свойства определяют различными методами испытаний на растяжение, сжатие, кручение и ударный изгиб.
Помимо механических испытаний для выявления пластичности применяют методы технологических испытаний: прокатку клина на полосу постоянной толщины, прокатку специального слитка или деформированной заготовки постоянного сечения на клин и осадку слитка на клин.
При выборе материала заготовки учитывают его эксплуатационные характеристики (прочность, коррозионную стойкость, жаропрочность и др.), пластические свойства и обрабатываемость резанием. Материал должен обладать высокой пластичностью (относительное сужение при одноосном растяжении не менее 20%). Предпочтительно применять материалы, хорошо освоенные в производстве. Выбор материала в значительной мере определяет материалоемкость изделия. Она может быть снижена в результате применения прогрессивных материалов, отличающихся повышенными эксплуатационными и механическими свойствами, а также низкой плотностью. Во многих случаях эти свойства могут быть улучшены за счет последующего применения методов поверхностного упрочнения и защитных покрытий.
Под действием пластической деформации происходит изменение структуры металла и его физико-механических свойств. Возникает определенная ориентировка кристаллической решетки металла (текстура). Зерно деформируется, вытягивается в направлении течения металла, сохраняя ту же площадь поперечного сечения. Внутри зерна дробятся блоки мозаики, увеличивается степень их разориентировки. Границы зерен и дефекты вытягиваются в направлении течения металла (создается так называемая полосчатость).
В результате прочность и твердость увеличиваются, а пластичность уменьшается; появляется анизотропия свойств, возрастают остаточные напряжения.
Нагрев деформированного металла выше температуры рекристаллизации Трек приводит к образованию новых зерен, строение и свойства которых такие, как и до деформации:
Трек = Тпл,
где Tпл температура плавления металла, К; коэффициент, зависящий от чистоты металла; для технически чистых металлов = 0,30,4, для сплавов = 0,60,8.
Обработка давлением при Т > Трек происходит без упрочнения (наклепа) и называется горячей обработкой давлением. Обработка при Т < Трек называется холодной.
2. Производство машиностроительных профилей и заготовок методами прокатки, прессования и волочения
Производство профилей и заготовок прокаткой
Прокатка позволяет с наименьшими удельными затратами производить изделия, которые либо полностью воспроизводят предусмотренное конструктором поперечное сечение детали, либо максимально приближаются к нему. Прокатка обладает более высокими технико-экономическими показателями по сравнению с другими способами обработки металлов: высокой производительностью, низкой себестоимостью и высоким коэффициентом использования металла. Заготовки из проката используют при непосредственном изготовлении из них деталей на металлорежущих станках и для получения поковок.
Круглый сортовой прокат (постоянное поперечное сечение) используют для изготовления гладких и ступенчатых валов с небольшим перепадом ступеней, стаканов диаметром до 50 мм и втулок с наружным диаметром до 25 мм.
Сортовой квадратный, шестигранный и прямоугольный прокат применяют для изготовления крепежных деталей, небольших деталей типа тяг, рычагов и планок.
Листовой прокат идет на изготовление цилиндрических полых заготовок, фланцев и плоских деталей различной формы.
Трубы используют для изготовления цилиндров, втулок, гильз, стаканов, барабанов, роликов, фланцев и т. п.
Периодический профильный прокат (поперечное сечение непостоянно) может быть продольным и поперечно-винтовым. Из продольного проката получают заготовки гаечных ключей, барашков, лопаток турбин, шатунов, вилок, рычагов и тонких деталей. Применение его позволяет по сравнению с обычным прокатом снизить расход металла на 15 %, повысить производительность труда на 2530 % и уменьшить себестоимость заготовок на 1020 %.
Из поперечно-винтового проката изготавливают шары для подшипников качения, углеразмольных и цементных мельниц, заготовки валов винтового профиля, полые профилированные трубчатые заготовки и пр.
Специальный прокат, применяемый в крупносерийном и массовом производстве, часто почти полностью исключает обработку резанием, на долю которой остается в основном отрезка, обработка отверстий и отделка.
Прессованные профили
Прессованием изготавливают профили из цветных металлов (медные, цинковые, титановые сплавы), реже из углеродистых и легированных сталей. Условия деформации при прессовании наиболее благоприятны по сравнению с другими способами обработки давлением. Степень деформации за один проход может составлять 95 %.
Различают прямое и обратное прессование. При обратном прессовании усилие прессования в 1,251,30 раза, а пресс-остаток примерно в 3 раза меньше, чем при прямом. Однако при обратном прессовании ниже производительность и качество поверхности. Поэтому чаще всего применяется прямое прессование.
Скорость прессования влияет на качество заготовки. Более пластичные металлы обычно прессуют с большей скоростью, чем малопластичные. Например, скорость истечения стали составляет 68 м/с, алюминия до 25, а у магниевых сплавов всего лишь 0,010,05 м/с.
Прессованием изготавливают прутки, трубы разнообразных сечений, используемые в качестве заготовок в машиностроении (заготовки для производства шестерен в часовой промышленности). Прессование труб диаметром менее 20 мм экономически более выгодно, чем прокатка.
Производство профилей волочением
Волочение характеризуется наличием растягивающего напряжения, действующего вдоль оси исходной заготовки. Поэтому степень деформации ограничена и не превосходит за один проход 3035 %, а при калибровке 812 %. Для получения качественного профиля не допускается его деформация после выхода из волокон. В связи с этим напряжение волочения не должно превосходить предел текучести материала при температуре обработки. Чтобы повысить предел текучести, обработку проводят в холодном состоянии.
Холодное волочение создает наклеп. Для его устранения требуется промежуточный отжиг. Образующаяся окалина удаляется травлением.
Волочением обрабатывают прутки диаметром 5150 мм (заготовки храповых колес, шпонок и т. п.), трубы диаметром 0,6400,0 мм с толщиной стенки 0,0515 мм, проволоку диаметром 0,002 мм и выше. Профили, полученные волочением, могут иметь простое или фасонное поперечное сечение. Волочение труб проводится как с утонением, так и без утонения стенок. При калибровке может быть достигнута точность размеров, соответствующая 78 квалитетам, и параметр шероховатости Ra= 0,32 мкм. Таким образом, калиброванная заготовка практически не требует последующей механической обработки.
Разделка проката на штучные заготовки
Перед резкой на заготовки изогнутые прутки правят, а местные поверхностные дефекты удаляют вырубкой зубилом или зачисткой абразивными кругами.
Штучные заготовки получают резкой на сортовых ножницах, ломкой на штампах хладноломах, резкой на металлорежущих станках и анодно-механических, кислородной резкой.
Резка на сортовых ножницах и на пресс-ножницах применяется в основном для стальных продуктов в основном для стальных прутков.
На кривошипных прессах режут прутки диаметром до 20 мм, на эксцентриковых до 200 мм.
Пруток автоматически или вручную подается до упора (рис. 3.1). Нож совершает 10...60 ходов в минуту.
|
1 пруток; 2 прижим; 3 верхний нож; 4 упор; 5 нижний нож Рис. 3.1. Резка прутка на сортовых ножницах |
Рис. 3.2. Ломка прутка на штампе-хладноломе |
При резке на торцах заготовок возможно образование дефектов: торцевые трещины, косина среза, смятие и утяжка. Вероятность их появления увеличивается при пониженной пластичности металла, увеличении сечения заготовки, при хранении прутков на холоде. Поэтому стальные прутки большого диаметра (более 80 мм) и из малопластичных сталей в месте реза подогревают до 450650°С. Цветные сплавы рубят в холодном состоянии.
Резка на ножницах имеет очень высокую производительность (например, при резке прутка диаметром 65 мм 320 резов в мин), но низкую точность по длине и большие дефекты торца.
Ломка на штампах-хладоломах применяется для стальных прутков диаметром более 70 мм. В месте лома по разметке делают надрез пилой или кислородной резкой (рис. 3.2). Ширина надреза b = 23 мм, глубина h = d1/3, где d диаметр прутка.
Рабочий ход толкателя составляет 510 % от диаметра прутка. Разрушение происходит почти мгновенно. Торец заготовки получается достаточно ровный. Ломка дает лучшие результаты для хрупких материалов.
Резка проката может производиться на металлорежущем оборудовании: на дисковых и ленточных пилах; приводных ножовках; станах, работающих тонким абразивным кругом; отрезных и других станках.
Дисковые пилы представляют собой диск диаметром 300...800 мм с режущими зубьями. Разрезание прутков дисковой пилой производят по одному или пакетом (рис. 3.3). Современные дисковые пилы снабжаются гидравлическими зажимными приспособлениями. Для стальных заготовок разрезание на дисковых пилах применяется тогда, когда требуется высокая точность по длине и перпендикулярность торца оси заготовки. Для цветных металлов это основой метод разрезания, т. к. резка их на ножницах дает большое смятие. Производительность резки низка; ширина реза 38 мм, в связи с чем велики отходы.

Рис. 3.3. Схемы резки проката дисковой пилой:
а одного прутка; б пакета прутков; в проката прямоугольного сечения
Ленточные пилы имеют форму бесконечной ленты толщиной 1,01,5 мм. Потери на рез в этом случае малы однако сам инструмент (пильная лента) стоит дорого. Ленточные пилы применяются, главным образом, для разрезания проката цветных металлов (меди, латуни, алюминия и др.).
Резка прутков и слитков на анодно-механических станках производится дисковыми или ленточными катодами из низкоуглеродистой стали. Инструмент дешев, легко изготавливается. Скорость резки 1025 мм/мин, ширина реза 0,52,5 мм. Анодно-механическую резку применяют для разделки прутков из твердых или слишком вязких сплавов (никелевые, хромоникелевые сплавы). Анодно-механические станки сравнительно дороги, требуют квалифицированной эксплуатации.
Кислородная резка основана на сгорании нагретого металла в струе режущего кислорода. Резка применяется в основном для сталей, содержащих до 0,7 % С. Производительность кислородной резки довольно велика, особенно в случае применения автоматов с несколькими резаками, работающими одновременно. Качество реза удовлетворительное, точность по длине не велика. Ширина реза составляет 48 мм. Применяется в основном для резки крупных профилей и вырезания контурно-фасонных заготовок из листа.
Выбор способа резки зависит от формы и размеров заготовки, а также возможностей способа резки (табл. 3.1) и цеха (завода).
Таблица 3.1. Сравнение способов разделки прутка на штучные заготовки

Специальные виды прокатки
Прокатка (раскатка) колец, колес, бандажей (для железнодорожного транспорта) производится на специальных прокатных станах в горячем состоянии. Раскаткой придают заготовкам более сложный профиль и более точные размеры, чем штамповкой, обеспечивают тангенциальное направление волокон, выполняют кольцевые поднутрения (например, канавки под шарики у наружных колец подшипников). Во избежание образования окалины для стальных изделий под раскатку применяют обычно индукционный или безокислительный нагрев и не выше 1040 °С. Раскатке подвергаются заготовки с наружным диаметром от 60 мм до 1 м и более при высоте обрабатываемого обода до 150 мм. Применяют открытую и закрытую схемы раскатки (рис. 3.4, а, б).

Рис. 3.4. Схемы раскатки колец подшипников
Точность размеров готовых поковок (рис. 3.4, г) по наружному диаметру зависит главным образом от своевременности прекращения процесса, т. е. от наладки и качества работы контрольного ролика, а по внутреннему диаметру от точности объема исходных заготовок (рис. 3.4, в). Практически допуск на наружный диаметр составляет около 0,01D, на внутренний (0,022d=0,6) мм. Параметр шероховатости поверхности после раскатки Rz=103,2 мкм.
При укладке заготовок и съеме поковок вручную производительность раскатки составляет на мелких кольцах до 500, на крупных 100250 шт/ч.
Поперечно-клиновая прокатка проводится с помощью плоскоклиновых инструментов (рис. 3.5). Один из рабочих клиньев неподвижен, второй совершает поступательное движение и прокатывает заготовку. Метод довольно производителен: деформация завершается за 1,31,5 оборота заготовки. При горячей прокатке можно получить заготовки с допусками на диаметральные размеры 0,20,4 мм, на линейные 0,30,5 мм.
Инструмент сравнительно прост по конструкции, обеспечивает получение ступенчатых валов сложной конфигурации небольшой длины.

Рис. 3.5. Схема поперечно-клиновой прокатки:
а процесс прокатки; б типовые заготовки; 1 рабочие клинья; 2 заготовка
3. Производство заготовок ковкой
Общая характеристика кузнечно-штамповочного производства
Основные операции в кузнечно-штамповочном производстве подразделяют на три группы: заготовительные, собственно ковочные и штамповочные, завершающие и отделочные операции. К заготовительным относятся подготовка слитков или пруткового материала к ковке или штамповке, разделка его на штучные заготовки и нагрев. К ковочным, и штамповочным относятся все операции, ведущие к существенному изменению формы обрабатываемого слитка или заготовки: операции ковки и объемной штамповки, выполняемые на молотах и прессовом оборудовании; вальцовка, накатка и другие операции, осуществляемые на специализированном оборудовании (например, на ковочных вальцах). К завершающим относятся операции обрезки заусенца, образующегося у поковок при некоторых способах штамповки, прошивки и пробивки отверстий в штампованных поковках, термической обработки поковок. К отделочным операциям относятся правка и калибровка поковок, очистка их от окалины.
Для ковки используют прокат только простейших профилей после разделки его на заготовки небольших и средних размеров. Для штамповки используют все виды проката разнообразных профилей нормальной и повышенной точности, а также калиброванный металл. Штамповка литых заготовок находит ограниченное применение.
Особенности получения заготовок ковкой
При ковке используют универсальные инструменты и оборудование возвратно-поступательного периодического действия. Процесс ковки состоит из ряда последовательно чередующихся самостоятельных операций, в общем случае сопровождающихся продольными перемещениями и поворотами заготовки вокруг оси. Разнообразные и многочисленные операции ковки позволяют получать поковки различных простых и сложных форм. Только ковкой изготовляют крупные заготовки для роторов и дисков турбин, котлов высокого давления, орудийных стволов, колонн гидравлических прессов, валков блюмингов и других крупногабаритных ответственных деталей.
В единичном и мелкосерийном производстве рационально изготовление ковкой мелких (массой 0,220 кг) и средних (массой 20350 кг) поковок.
Процесс ковки состоит из нескольких этапов: нагрева металла; выполнения кузнечных операций (как правило, на одном прессе или молоте); первичной термической обработки поковки (отжиг, нормализация и т. п.). Сложные поковки требуют увеличенного числа операций, среди которых одноименные могут повторяться два и более раз. Полуфабрикат поковки поступает в печь на дополнительный подогрев (один или более раз, в зависимости от сложности поковки).
Ковку выполняют на, ковочных молотах и гидравлических прессах. Фасонные поковки массой свыше 100 кг и простые поковки массой свыше 750 кг предпочтительно изготавливать на гидравлических прессах.
Параметр шероховатости поверхности поковок составляет Rz = 32080 мкм, а при использовании подкладных штампов Rz = 8040 мкм. Коэффициент весовой точности поковок не превышает 0,30,4, что вызывает большой объем механической обработки. Поэтому в условиях мелкосерийного производства рекомендуется применять несложные подкладные штампы, групповую или секционную штамповку.
При партиях поковок одного наименования более 3050 штук применяют открытые или закрытые подкладные штампы (рис. 3.6). Это позволяет получать поковки относительно сложной формы без напусков с припусками и допусками на 1520 % меньше, чем при ковке универсальным инструментом. Подкладные штампы применяют для получения поковок массой до 150 кг, по преимущественно до 1015 кг.

Рис. 3.6. Поковки, получаемые обычной ковкой (а) и на подкладных штампах (б)
Проектирование кованой заготовки
Исходный документ для разработки чертежа поковки чертеж готовой детали.
Поковкам придают простую форму, ограниченную плоскими или цилиндрическими поверхностями. Нежелательны конические и клиновые формы поковок, пересечение нескольких цилиндрических элементов и призматических с цилиндрическими. Односторонние выступы предпочтительнее двусторонних. Нельзя выполнять ковкой ребра жесткости и платики. Заготовки со значительной разницей поперечных сечений, а также сложной формы целесообразно выполнять сварными из нескольких поковок или из поковок и отливок.
Стремясь максимально приблизить конфигурацию поковки к конфигурации детали, необходимо оценить возможность изготовления ковкой уступов и выемок. Ковка коротких уступов с небольшой высотой выступа экономически нецелесообразна. При отсутствии специального инструмента выемки выполняются в том случае, если их длина равна или больше ширины бойков. Если размеры или выемки малы, на эти участки поковки назначаются напуски (рис. 3.7). Для небольшого числа поковок изготовление специального инструмента часто обходится дороже, чем потери металла на напуски и на увеличение объема механической обработки.

Рис. 3.7. Схема нанесения напусков на поковку типа вала:
1 на уступ; 2 на выемку; 3 на фланец; 4 на бурт; 5 припуск
Припуск и допуск зависят от конфигурации поковки, ее размеров, материала и способа изготовления. Для поковок из углеродистой и легированной сталей круглого или квадратного сечения с уступами и выемками, изготовляемых ковкой на молотах, согласно ГОСТ 7829-70 сначала назначают основные припуски и предельные отклонения на диаметры, общую длину и размеры от базового сечения до соответствующих выступов, уступов и впадин. За базовое сечение принимают торец участка с наибольшим диаметром, не являющийся торцом поковки.
Затем для компенсации несоосности ступеней на диаметры всех сечений, кроме основного, назначают дополнительный припуск в зависимости от разностей диаметров основного и рассматриваемого сечения детали.
При оформлении чертежа поковки руководствуются ГОСТ 7829-70 и ГОСТ 7062-79. Чертеж поковки, как правило, выполняется в том же масштабе, что и чертеж детали. При этом контур детали наносится тонкой штрихпунктирной линией с двумя точками. После оценки возможности изготовления уступов и выемок наносят напуски на соответствующие поверхности. Установив припуски, определяют номинальные размеры поковки. Размеры проставляются с указанием предельных отклонений (рис. 3.8).

Рис. 3.8. Пример оформления чертежа поковки, полученное ковкой на прессе
На чертеже всегда проставляется общая длина поковки. В поковках типа вала длину элемента, который куют последним (элемент диаметром (380±9) мм на рис. 3.8), не проставляют, а определяют расчетным путем. Размеры поковок типа вала с уступами проставляют от базового сечения (правый торец участка диаметром (740±11) мм).
Выше размерной линии указываются размеры, относящиеся к поковке. Под размерами поковки в круглых скобках допускается указывать размеры готовой детали или заготовки после обдирки. В этом случае предельные отклонения указываются только для размеров поковки.
В технических условиях чертежа оговариваются следующие сведения: допустимые отклонения формы и размеров поковки, не указанные на чертеже; виды, размеры и количество допускаемых дефектов; вид термообработки; твердость заготовки, способ и место ее замера; место и условия отбора технологических проб; требования к микро- и макроструктуре поковки.
Выбор технологического оборудования для ковки
Типоразмер необходимого ковочного оборудования определяют по размерам заготовки и схеме операций ковки. При этом ориентируются на наиболее тяжелую операцию данного технологического процесса.
Массу падающих частей G, кг, определяют по формуле
,
где давление прессования, МПа; V объем деформируемого металла, м3, степень деформации за последний удар (колеблется от 0,025 для крупных до 0,06 для мелких поковок).
Давление прессования находят в зависимости от операции ковки по формулам:
где (т предел текучести металла при температуре деформации, МПа; D средний диаметр заготовки после деформации, мм; Н высота заготовки после деформации, мм; L подача при протяжке, мм; коэффициент, учитывающий форму бойков (для плоских бойков = 1, для вырезных =1,25); d диаметр прошивки, мм; h толщина отхода, мм.
Необходимое для ковки усилие пресса, МН,
,
где
масштабный коэффициент (колеблется от 1,0 для малых поковок до 0,50,4 для поковок массой 100200 т); F площадь поперечного сечения заготовки в зоне деформации, м2.
Ориентировочно массу падающих частей молотов и необходимое усилие прессования можно определить с помощью табл. 3.2 и 3.3.
Таблица 3.2. Данные для выбора массы падающих частей молота

Таблица 3.3. Данные к определению усилия прессования при ковке на прессах

Дефекты кованых заготовок
Дефекты, возникающие при ковке, могут иметь различные причины. С исходным металлом связаны такие дефекты, как несоответствие химического состава, размеров и формы исходной заготовки, риски, волосовины, закаты, плены, трещины и др. Заусенцы, волосовины, трещины, закаты и другое удаляют заточкой или вырубкой.
Вследствие ошибок при нагреве заготовки возможно образование завышенного слоя окалины, обезуглероженного поверхностного слоя, изменение микроструктуры металла (перегрев, пережог). В процессе ковки возникают различные искажения формы, забоины, вмятины, вогнутые торцы, увеличивающие концевые припуски. При несоблюдении температурного режима ковки возможно образование наружных и внутренних трещин (расслоение), неблагоприятной макроструктуры поковки.
При очистке на поверхности поковки могут обнаружиться забоины, остатки окалины и следы травления. Необходимо отметить, что торцевые и закалочные трещины, расслоения, пережоги, значительные отклонения формы являются неисправимыми дефектами:
4. Производство заготовок объемной горячей штамповкой
Общая характеристика объемной горячей штамповки
При объемной штамповке формообразование заготовки происходит в полости специального инструмента (штампа). Штамповка может производиться в горячем и холодном состоянии. Объемной штамповкой получают поковки разнообразной формы массой от нескольких граммов до 1 т и более.
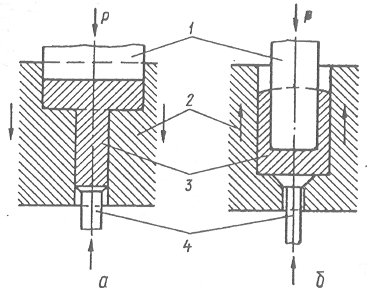
В зависимости от типа штампа различают штамповку в открытых, закрытых штампах и в штампах для выдавливания.
Штамповка в открытых штампах характеризуется тем, что зазор между верхней и нижней частями штампа является переменным и уменьшается в процессе деформирования металла (рис. 3.9, а-д). В зазор вытекает излишек металла, который образует заусенец. Последний является нежелательным отходом, однако он необходим для обеспечения полного заполнения ручья штампа.

Рис. 3.9. Стадии штамповки в открытом (ад) и закрытом (ек) штамповочных ручьях
Штамповка в закрытых штампах отличается тем, что небольшой зазор между верхней и нижней частями штампа обеспечивает лишь их взаимную подвижность и в процессе деформирования металла остается постоянным (рис. 3.9, е-к). Отсутствие заусенцев в закрытых штампах сокращает расход металла, исключает необходимость в обрезке. Однако этот тип штампов применяется для сравнительно простых деталей, в основном тел вращения, и требует использования точных заготовок из калиброванного проката или предварительно обработанных.
При штамповке в штампах для выдавливания (рис. 3.10) расход металла на изготовление поковок снижается (до 30 %)» поковки получаются точные, максимально приближающиеся по форме и размерам к готовым деталям, производительность труда при механической обработке увеличивается в 1,52,0 раза. Поковки имеют высокое качество поверхности, плотную микроструктуру. Точность размеров достигает 12-го квалитета. Однако требуются тщательная подготовка исходных заготовок под штамповку, высокая точность изготовления и наладки штампов, использование специальных смазок. Этим способом получают заготовки из углеродистых и легированных сталей, алюминиевых, медных и титановых сплавов. Широкое применение сдерживается высокими удельными усилиями деформирования, большими энергозатратами и низкой стойкостью штампов.
|
Рнс. 3.10. Схемы штамповки в штампах для прямого (а) и обратного (б) выдавливании: 1 пуансон; 2 матрица; 3 поковка; 4 выталкиватель |
Рис. 3.11. Схемы штамповки выдавливанием в разъемных матрицах: поперечный (а), продольный (б) и смешанный (в) разъем |
По сравнению с ковкой горячая объемная штамповка имеет следующие преимущества: возможность изготовления поковок более сложной формы с высоким качеством поверхности (параметр шероховатости Rz = 8020 мкм, после холодной калибровки Rz = 101,6 мкм; меньше допуски на размеры (при точной штамповке такие же, как и при обработке резанием); снижение припусков в 2...3 раза, получение некоторых поверхностей, не требующих обработки резанием; повышение производительности труда (десятки и сотни поковок в час). К недостаткам ее относятся: ограничения по массе получаемых поковок; дополнительный отход металла в заусенец, достигающий 1030 % от массы поковки; более высокие усилия деформирования; инструмент (штамп) значительно сложнее и дороже, чем универсальный инструмент для ковки.
При штамповке выдавливанием в разъемных матрицах последняя имеет одну или несколько плоскостей разъема, по которым ее части прилегают друг к другу (рис. 3.11). Общей особенностью штампуемых заготовок является то, что они состоят из двух частей: центральной в виде сплошного или полого цилиндра, призмы и периферийной в виде фланцев, отростков, выступов, ребер и пр. К преимуществам штамповки в разъемных матрицах по сравнению с открытыми штампами относятся: отсутствие заусенца; возможность получения поковок без штамповочных уклонов или с незначительными уклонами (до 13 °); максимальное приближение формы поковки к форме готовой детали за счет формирования внутренних полостей; возможность получения поковок с более высокой точностью размеров за счет постоянства усилия деформирования.
Однако штамповка в разъемных матрицах требует более сложных и дорогостоящих оборудования и технологической оснастки, нескольких штамповочных переходов с промежуточными нагревами в связи с более интенсивным охлаждением заготовки в штампе, повышенного усилия деформирования.
Классификация штампованных поковок
В соответствии с ГОСТ 7505-89 основными признаками классификации штампованных поковок являются: точность изготовления; группа стали; конфигурация поверхности разъема используемого штампа, степень сложности.
По точности изготовления поковки могут быть пяти классов (от 1-гo класса точности T1 до 5-го Т5). Класс точности поковок устанавливают в зависимости от вида оборудования (технологического процесса) по ГОСТ 7505-89.
Группа стали поковок определяется по содержанию углерода и легирующих элементов: М1 до 0,35% и 2%; М2 0,350,65% и 25%, М3 свыше 0,65% и 5 % соответственно.
По конфигурации поверхности разъема используемого штампа различают поковки с плоской (П) и симметрично (Ис) или несимметрично (Ин) изогнутой поверхностью разъема.
Степень сложности поковки
С = Gп/Gф,
Gп масса (объем) поковки; Gф масса (объем) геометрической фигуры минимального объема, в которую вписывается поковка (рис. 3.12).

Рис. 3.12. Примеры поковок и геометрических фигур, в которые могут быть вписаны поковки:
b. d, h и L габаритные размеры поковок
По значению этого отношения, а также по конфигурации поковки с помощью табл. 3.4 определяют степень сложности поковки (С1, С2, С3, или С4). Поковки типа тонких дисков, фланцев и колец с отношением толщины к диаметру h/d 0,2 относятся к поковкам со степенью сложности С4.
Таблица 3.4. Классификация штампованных заготовок по степени сложности

Проектирование штампованной заготовки
Исходной информацией для проектирования поковки являются: чертеж детали с указанными на нем размерами, предельными отклонениями размеров, шероховатостью поверхностей и маркой материала; программа выпуска деталей и серийность производства; условия эксплуатации детали; основные сведения о технологии обработки поковки после штамповки.
В начале проектирования определяют способ штамповки, который может существенно повлиять на конструкцию, размеры и точность поковки, особенно если она штампуется на горизонтально-ковочных машинах или гидравлических прессах. Способ штамповки выбирается, исходя из конструктивных размеров и формы готовой детали, технических условий на ее изготовление, характера течения металла в штампе, типа производства, а также из возможностей различных способов штамповки (на молотах, кривошипных горячештамповочных или гидравлических прессах, на горизонтально-ковочных машинах и др.
Затем выбирают положение поверхности разъема штампа. При этом прежде всего предусматривают возможность свободного выхода поковки из полости штампа. Для этого площадь любого сечения поковки выше и ниже поверхности разъема штампа должна уменьшаться по мере удаления от этой поверхности за счет соответствующих естественных откосов или штамповочных уклонов. Например, для шара поверхность разъема может проходить через диаметральное сечение фигуры 1-1 (рис. 3.13, а). Смещение поверхности разъема в положении 2-2 (рис. 3.13, б) приводит к напускам и потере металла, искажению формы поковки, для куба возможны три положения поверхности разъема штампов (рис. 3.13, в): плоскость 1 требует напусков от штамповочных уклонов по четырем боковым граням; тоже и плоскость 2, хотя потери металла в напуски здесь меньше; плоскость 3 создает в каждой части -штампа естественные откосы по двум плоскостям. Для длинных цилиндров целесообразнее применять разъем по плоскости 3 (поперечная штамповка, рис. 3.13, д), так как напуски от штамповочных уклонов здесь будут только у торцов. Для коротких цилиндров применяют плоскость 2 (продольная штамповка, рис. 3.13, г). Для усеченного конуса используют вариант 1, если угол конуса а достаточен для извлечения поковки из ручья без приложения значительных усилий (рис. 3.13, е). Поковки большой длины обычно штампуют по варианту 2 с напусками от штамповочных уклонов на торцах.

Рис. 3.13. Возможные положения поверхностей разъема штампов для простых
геометрических фигур
В большинстве случаев разъем устанавливают в плоскости наибольших габаритных размеров поковки. В этом случае полости штампов получают неглубокими, облегчается их заполнение, уменьшаются напуски, но увеличивается периметр и объем заусенца (рис. 3.14, б, г). Если другое положение дает существенное уменьшение массы поковки за счет наметки отверстия (рис. 3.14, а) или отходов за счет уменьшения периметра поковки (рис. 3.14, в), допускается располагать разъем и в плоскости меньших габаритных размеров. При этом желательно использовать естественные уклоны.
|
Рис. 3.14. Влияние поверхности разъема штампа на форму поковок |
Рис. 3.15. Штамповка осаживанием (а) и вдавливанием (б и в) |
Для поковок шестерен при любых соотношениях размеров предпочтительнее продольная штамповка, так как макроструктура поковки получается одинаковой у всех зубьев шестерни, что обеспечивает высокую и равную их прочность. При поперечной штамповке часть зубьев шестерни ослаблена из-за невыгодного расположения в них волокна.
По возможности поверхность разъема должна проходить по оси симметрии детали, с тем чтобы в обеих половинах штампа располагался примерно одинаковый объем металла. Трудно заполняемые элементы штампа, формирующие тонкие высокие ребра, бобышки и т. п. должны располагаться в его верхней половине.
На боковых поверхностях поковки не должно быть поднутрений. Заполнение ручья штампа осаживанием в нем металла (ручей шире заготовки, рис. 3.15, а) происходит легче, чем вдавливанием (ручей уже заготовки, рис. 3.15, б, в).
Желательно, чтобы поверхность разъема штампа была плоской (рис. 3.16, а), что обеспечивает относительно простое изготовление штампов и хорошие условия обрезки заусенца. Ломаная линия разъема (рис. 3.16, б) снижает расход металла за счет уменьшения высоты уклонов, но усложняет изготовление штампов.
Для поковки с бобышками, развитыми в одну сторону по отношению к плоскости разъема, прямая линия разъема (рис. 3.16, в) приводит к повышенному расходу металла и плохому заполнению углов К глубоких полостей штампа. При ломаной поверхности разъема штампа (рис. 3.16, г) углы К расположены в менее глубоких полостях штампов, что улучшает условия их заполнения. При штамповке удлиненной поковки простой формы и небольшой толщины целесообразно использовать разъем штампа по плоской части поковки (рис. 3.16, д, е).

Рис. 3.16. Разъем штампов для длинноосных поковок:
II прямая и IIII ломаная линия рааъема штампа
Таблица 3.5. Допуски и допускаемые отклонения линейных размеров поковок, мм
Штамповочные уклоны зависят от формы и размеров полости штампа в плане, ее глубины, материала поковки, способа штамповки, наличия выталкивателей и т. п. Рекомендуемые значения уклонов приведены в табл. 3.6. Меньшие значения принимают при малом отношении глубины к ширине полости штампа. После назначения штамповочные уклоны корректируют таким образом, чтобы линия разъема в верхнем и нижнем штампах была одинаковой. После этого на все пересечения поверхностей поковки назначают радиусы закруглений, которые уменьшают концентрацию напряжения в углах ручьев штампа, улучшают заполнение полости штампа и уменьшают износ острых углов и кромок штампов.
Таблица 3.6. Штамповочные уклоны

Различают два вида радиусов закругления штампов: внутренние rвн и наружные, или внешние, rн (рис. 3.17, б). У поковок буквенные обозначения радиусов расположены в обратном порядке (рис. 3.17, а). Радиусы закруглений должны иметь достаточную величину. Наружный радиус Rн у поковок трудно выполнить небольшим: металл затекает в угол штампа с малым радиусом в последнюю очередь. Чем больше глубина плотности штампа, тем труднее тем труднее получить малый радиус закругления у поковки. Занижение внутренних радиусов поковок Rвн ведет к образованию «зажимов» в теле поковок.

Рис. 3.17. Наружные и внутренние радиусы закруглений поковки (а) и штампа (б)
Согласно ГОСТ 7505-89 радиусы закруглений внешних углов поковок выбирают по табл. 3.8 в зависимости от массы поковки и глубины полости ручья штампа. Внутренние радиусы примерно в 3 раза больше соответствующих наружных. Достаточно, чтобы значения этих радиусов были на 0,51 мм больше припуска на механическую обработку поковки. Если для обрабатываемых кромок рекомендуемый радиус окажется меньше суммы значений наружного радиуса закругления (или фаски) на обработанной детали и назначенного припуска, то полезно радиус увеличить до указанной суммы.
Таблица 3.8. Наименьшие радиусы закруглений

Наружные радиусы закруглений у необрабатываемых поверхностей обычно увеличивают. Для облегчения заполнения трудно выполнимых ребер и бобышек рекомендуются максимальные радиусы на их вершине, чтобы на последней оставался небольшой плоский участок или получалось полное закругление вершины одним радиусом.
Для упрощения изготовления ручьев штампов значения принятых радиусов закруглений рекомендуется унифицировать в каждой поковке, назначая неодинаковые радиусы только в тех случаях, когда это упрощает изготовление штампа.
При наличии в детали полости или отверстия проектируют наметку отверстия (рис. 3.18, а, б, в).
В случаях, когда получить сквозное отверстие при штамповке невозможно, применяют наметку отверстия с перемычкой малой толщины.
При штамповке таких поковок в наиболее тяжелых условиях работают выступы штампов, называемые знаками. Вследствие их малой стойкости полости диаметром менее 30 мм при горячей штамповке не выполняют. При штамповке поковок большой высоты ограничиваются получением лишь глухих наметок (рис. 3.18, б) без последующей просечки отверстий. Наметки можно получить с двух сторон поковки. Выполнение сквозных отверстий в поковках обязательно, если диаметр отверстий больше или равен высоте поковок. Возможны различные варианты расположения поверхности разъема штампа и образующейся перемычки (рис. 3.18, в, г, д, е, ж, з). Последняя легко удаляется в просечном штампе при обрезке заусенца.

Рис. 3.18. Типы поковок с наметками
Оформление чертежа штампованной заготовки
Чертеж поковки по ГОСТ 3.1126-88 и в соответствии с рекомендациями ГОСТ 7505-89 выполняется, как правило, в масштабе изображения чертежа детали, преимущественно в масштабе 1:1. Поковки простой формы или с размерами более 750 мм можно выполнять в другом масштабе, но и для них сложные сечения рекомендуется выполнять в натуральную величину. Поковки сложной формы с размерами менее 50 мм желательно изображать в масштабе 2:1, при этом наиболее характерные проекции повторяют в масштабе 1:1.
Контур детали на чертеже поковки наносят тонкой штрихпунктирной линией с двумя точками, при этом изображение детали можно несколько упростить. Допускается выполнять чертеж поковки на копии чертежа детали. Желательно изображение поковки давать в разрезах и сечениях на минимальном числе проекций. На чертеже поковки поверхность разъема штампа изображают тонкой штрих-пунктирной линией, которая обозначается на концах знаком: X X, а место отбора образцов для испытаний (проб) указывают тонкой сплошной линией.
На чертеже поковки (рис. 3.19) на основании технологической карты указывают исходные базы для механической обработки. В качестве таких баз рекомендуется выбирать участки поковки с наибольшим диаметром или другие поверхности, удобные для захвата и фиксации. Иногда для этой цели на поковке делаются специальные выступы.
Размеры на чертеже соответствуют холодной поковке и указываются от базовых поверхностей поковки. При этом необходимо учитывать удобство проверки величин припусков и размеров на поковке, а также простоту размотки поковки при контроле.
Следует избегать простановки размеров от линии разъема, если она не совпадает с осью детали. Размерные линии для простановки размеров поверхностей с уклонами приводит от вершим уклонов.
Под размерами поковки допускается наносить размеры готовой детали в круглых скобках. При простановке размеров, радиусов уклонов и допусков целесообразно указывать их минимальное количество, а по остальным размерам и допускам сделать надпись в технических условиях.
В технических условиях чертежа следует также указывать: неоговоренные штамповочные уклоны, радиусы закруглений, допуски на вертикальные и горизонтальные размеры; допускаемые остатки заусенца, виды и величины внешних дефектов, дефектов формы; состояния поверхности и способ ее очистки; вид термообработки, твердость и место ее замера; место и способ клеймения поковки; размеры образцов для испытаний.

Рис. 3.19. Пример оформления чертежа штампованной поковки
Пример проектирования штампованной заготовки
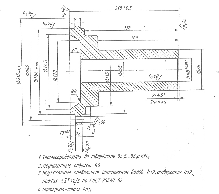
Необходимо спроектировать штампованную заготовку для детали, представленной на рис. 3.20. Материал детали сталь 40Х, масса 10,1 кг, годовая программа выпуска 5000 шт. С учетом особенностей конструкции детали выбираем для изготовления заготовки штамповку на ГКМ. В связи с этим выбираем две плоскости разъема штампа: по продольной оси детали и по плоскости наибольшего диаметра фланца. Массу поковки ориентировочно оцениваем в 12,5 кг.
В соответствии с ГОСТ 7505-89 устанавливаем характеристики поковки: класс точности Т4, группа стали M1, степень сложности С3, поверхность разъема штампа П. На обрабатываемые поверхности назначаем припуски с учетом массы и характеристик поковки, размеров и шероховатости детали после обработки: на размер l=125 3,1 мм, 165 2,9 мм, 45 2,7 мм, l =12 2,7 мм. На отверстия 12 мм назначаем напуски.
Уклоны устанавливаем с учетом рекомендаций табл. 3.6: для наружных поверхностей, формируемых пуансоном 15'; для формируемых матрицей 3°.
В соответствии с рекомендациями табл. 3.7 и требованиями чертежа готовой детали устанавливаем радиусы закруглений 5 мм. Ввиду большой глубины центрального отверстия проектируем одностороннюю, наметку ступенчатого глухого отверстия с глубиной каждой ступени h 2dосн и уклоном полости 30' (формируется пуансоном).
Определив номинальные размеры поковки, по табл. 3.5 находим допуски на них, после чего оформляем чертеж поковки (рис. 3.21). Расчетная масса штампованной заготовки 12,8 кг.
|
Рис. 3.20. Чертеж детали |
Рис. 3.21. Чертеж штампованной заготовки детали |
Технологические особенности штамповки на молотах, прессах и горизонтально-ковочных машинах
Штамповка на молотах. Молоты различных конструкций применяют для горячей штамповки преимущественно в открытых штампах. Штамповка на молоте экономически целесообразна в серийном производстве. Крупногабаритные поковки массой свыше 60 кг из-за ограниченной мощности прессов могут быть отштампованы только на тяжелых штамповочных молотах. Наиболее распространены паровоздушные молоты двойного действия. При штамповке на молотах возможно регулирование энергии удара, слабые удары могут быть нанесены с повышенной частотой. Деформирование в одном ручье осуществляется за несколько ударов. Большие скорости деформации при штамповке на молотах благоприятно сказываются на заполнении сложного рельефа штампа.
Молоты имеют малый КПД (не более 30%). Они не экономичны в эксплуатации при изготовлении мелких и средних поковок. Высокая стоимость молотовых установок связана с использованием котельных или компрессорных станций и громоздких фундаментов.
Штамповку на молотах характеризует невысокая производительность труда, невысокая точность размеров поковок (допуск достигает нескольких миллиметров), большой расход металла на напуски от штамповочных уклонов вследствие ограниченного применения выталкивателей.
Штамповка на кривошипных горячештамповочных прессах. Кривошипные горячештамповочные прессы (КГШП) вытеснили молоты и получили распространение в крупносерийном и массовом производстве поковок сложной формы массой до нескольких сот килограммов. Они отличаются более высокой стоимостью, но приспособлены для высокомеханизированного и автоматизированного производства поковок, допускают эксцентричное расположение ручьев в штампе, снабжены нижним и верхним выталкивателями. Нерегулируемый конец рабочего хода КГШП не позволяет деформировать заготовку в одном ручье за несколько ходов. Скорость в момент начала деформации этих прессов не превышает 0,60,8 м/с; усилие составляет 6,2120 МН.
При штамповке на КГШП получают поковки, более близкие по форме к готовой детали (рис. 3.2), с более точными размерами (особенно по высоте), чем при штамповке на молотах. Более совершенная конструкция штампов обеспечивает меньшую величину смещения половин штампа, уменьшение припусков (на 2030 %), напусков, штамповочных уклонов (в 23 раза), допусков и как следствие увеличение коэффициента использования металла.

Рис. 3.22. Заготовка детали, полученная штамповкой на молоте (а) и на КГШП (б)
Производительность штамповки повышается примерно в 1,4 раза за счет сокращения числа ударов в каждом ручье до одного. Себестоимость поковок снижается на 1030 % за счет уменьшения расхода металла и эксплуатационных затрат.
К числу основных недостатков КГШП относятся их высокая стоимость (примерно в 34 раза выше, чем у молотов); меньшая универсальность; худшее заполнение глубоких полостей из-за малой скорости деформации.
Штамповка на винтовых прессах. Винтовые прессы (фрикционные и гидровинтовые) по принципу воздействия на заготовку представляют собой машины промежуточного вида между прессом и молотом. Ползун винтового пресса в конце хода вниз производит удар со скоростью 13 м/с, что в 48 раз меньше скорости бойка молота. Эта особенность винтовых прессов определила их использование для штамповки поковок из труднодеформируемых и малопластичных сталей и сплавов. Сравнительно малая скорость в начале рабочего хода пресса и возможность применять вместо цельноблочных сборные штампы и разъемные матрицы позволяет получать поковки весьма сложной конфигурации.
Винтовые фрикционные прессы изготовляют с номинальным усилием 0,416 МН. Фрикционные прессы малопригодны для многоручьевой штамповки, так как значительные эксцентричные нагрузки здесь недопустимы. Поэтому их применяют преимущественно для одноручьевой торцовой штамповки в открытых и закрытых штампах, а также для гибки, правки и некоторых других операций. Наличие большого хода у этих прессов (200710 мм) позволяет штамповать высокие поковки.
Благоприятные схемы напряженного состояния, создаваемые в закрытых ручьях, и низкие скорости деформирования обеспечивают успешное использование фрикционных прессов при обработке малопластичных (например, магниевых) сплавов.
Тихоходность, и как результат этого низкая производительность этих прессов, резко ограничивают их применение в крупносерийном производстве, но зато фрикционные прессы весьма удобны в мелкосерийном производстве. При изготовлении мелких поковок они способны заменить штамповочные молоты, кривошипные прессы и даже горизонтально-ковочные машины.
Гидровинтовые прессы изготовляют усилием 1100 МН. Прессы снабжены нижним выталкивателем и приспособлены для штамповки в разъемной матрице. Они менее быстроходны, чем винтовые фрикционные прессы, компактны и более мощны (энергия удара в десятки раз больше энергии наиболее крупных винтовых фрикционных прессов). На гидровинтовых прессах получают поковки из алюминиевых сплавов с высокими ребрами толщиной до 0,5 мм при штамповочном уклоне 0,5° и радиусе закругления 0,3 мм.
Штамповка на гидравлических прессах. Гидравлический пресс имеет неударный характер работы. Рабочий ход его ползуна осуществляется при очень небольшой, но постоянной скорости, обычно до 0,150,2 м/с. Штамповочные гидравлические прессы изготавливают с обычным или увеличенным рабочим ходом подвижной поперечины и снабжают гидравлическими выталкивателями, а также выдвижным столом для удобства перемещения и смены штампов мостовым краном. Гидравлический штамповочный пресс значительно дороже, тихоходнее и менее производителен, чем штамповочный молот с эквивалентной массой падающих частей.
На гидравлических прессах штампуют поковки из черных и цветных металлов в тех случаях, когда не может быть использован молот: при штамповке крупных поковок с площадью проекции до 2,5 м2 или массой свыше 350 кг; при штамповке заготовок из малопластичных металлов, не допускающих больших скоростей деформации (титановые сплавы, некоторые жаропрочные стали и сплавы); в тех случаях, когда необходим очень большой рабочий ход пуансона; при различных видах штамповки выдавливанием.
Гидравлические прессы используют также для штамповки металлов и сплавов с небольшой температурой начала штамповки (алюминиевые и магниевые сплавы) и для штамповки крупных поковок, которые нельзя получить на другом оборудовании из-за недостатка мощности.
Гидравлические штамповочные прессы изготовляют с номинальными усилиями свыше 50 МН и до 750 МН для штамповки крупных поковок; усилиями 45 МН и выше главным образом для штамповки малопластичных сплавов. На гидравлических прессах успешно применяют цельноблочные и сборные штампы с открытыми и закрытыми ручьями.
Штамповка на горизонтально-ковочных машинах. Горизонтально-ковочные машины (ГКМ) представляют собой горизонтальные кривошипные горячештамповочные прессы усилиями 6,3125 МН. На ГКМ штампуют в открытых, закрытых штампах и в штампах для выдавливания. Типичным процессом является многоручьевая высадка в закрытых двухразъемных штампах. Основным признаком штампов ГКМ является наличие двух взаимно перпендикулярных разъемов.
Поковки, изготовляемые на ГКМ, обычно имеют форму тел вращения с прямой осью, направленной по оси исходного прутка. По форме они могут быть отнесены к двум основным группам: к поковкам типа стержня сплошного сечения с одним или несколькими утолщениями и стержня со сквозным отверстием. У поковок первого типа в стержневой части площадь поперечного сечения должна быть постоянной, а утолщения, если они располагаются на концах поковки, могут быть полыми. Основные виды типовых поковок показаны на рис. 3.23. Поковки, форма которых существенно отличается от форм тел вращения, на ГКМ обычно не штампуют. Поковки, изготовляемые на ГКМ, по припускам и допускам ближе к молотовым поковкам, чем к поковкам, изготовляемым на КГШП. Производительность этих машин приблизительно одинакова.

Рис. 3.23. Типовые поковки, штампуемые на ГКМ
Недостатками ГКМ являются: ограниченные номенклатура и масса (до 150 кг) штампуемых поковок; необходимость применения в качестве исходного материала проката, как правило, повышенной точности, а иногда калиброванного, так как машина работает враспор; при колебаниях объема исходной заготовки из-за допуска на размеры сечения проката обычной точности штамповка в закрытых и открытых ручьях является невозможной или практически нерациональной. Сравнительная характеристика различных способов штамповки и ковки представлена в табл. 3.9.
Таблица 3.9. Сравнительная характеристика различных способов штамповки и
ковки
|
|
|
Обеспечение технологичности конструкции штампованной заготовки
Форма поковки определяется конфигурацией детали и принятым способом штамповки. Рациональной формой заготовки считают такую, при которой все элементы конструкции имеют простую геометрическую форму и плавно сопряжены друг с другом. Размеры конструктивных элементов должны соответствовать возможностям технологического процесса штамповки.
Технологически рациональную форму поковки выбирают с учетом следующих рекомендаций: рационально одностороннее расположение ребер, бобышек и других выступающих элементов (рис. 3.24).
|
Рис. 3.24. Нерациональное (а) и рациональное (б) рас положение ребер в штампуемой детали |
Рис. 3.25. Рациональная конструкция детали, полученная сваркой двух штампованных элементов |
Следует избегать резких переходов по сечению детали (площадь поперечного сечения по длине детали не должна изменяться более чем в 3 раза), а также ребер, имеющих переменное по длине сечение. Если перемена высота ребер, то необходимо применять переменный радиус сопряжения ребер с полотном и постоянный штамповочный уклон, равный среднему для имеющихся отношений толщины ребра к его высоте.
Толщину полотна не следует делать очень малой во избежание быстрого остывания поковки, ведущего к снижению стойкости штампа. При штамповке (высадке) утолщений на концах стержней диаметр высаженной части не должен быть больше четырех диаметров исходной заготовки, а высота высаженного утолщения должна быть более 0,050,125 диаметра утолщения. Если высаживается утолщенная часть сложной формы, то ее объем не должен быть больше 6d3, где d диаметр заготовки. Деталь не должна иметь длинных узких отростков в плоскости полотна, приводящих к большому расходу металла и браку по незаполнению фигуры.
При отработке конструкции штампованной поковки на технологичность следует проверить возможность изменения конструкции детали или ее элементов с целью упрощения конструкции поковки.
Необходимо проверить возможность получения поковки в закрытом ручье вместо открытого или перевода штамповки с молота на другие, более подходящие для данной поковки кузнечные машины. Иногда более рационально получение поковки методом комбинирования штамповки на молоте с обработкой на других кузнечных машинах.
Необходимо стремиться к получению готовой или почти готовой детали из проката путем разделки его на мерные заготовки с последующей гибкой, пробивкой отверстий и другими несложными операциями (т. е. без объемной штамповки), а также из специального или периодического проката. Желательно упразднение некоторых операций механической обработки за счет применения калибровки штампованных заготовок.
Для уменьшения расхода металла и упрощения штамповки иногда рационально разбить деталь на две и более частей простой формы для штамповки их порознь с последующей сваркой (рис. 3.25). Для мелких поковок более выгодна штамповка двух и более заготовок в одной поковке с последующей разрезкой. Правые и левые детали по возможности следует конструировать так, чтобы их можно было изготовлять из одной и той же заготовки.
Необходимо стремиться к унификации поковки для различных деталей и их элементов с целью уменьшения стоимости технологической оснастки. Эту же цель преследует применение групповых поковок, из которых обработкой резанием можно получить небольшие партии одинаковых по форме, но различных по размерам деталей.
Выбор технологического оборудования для штамповки
От правильного выбора штамповочного оборудования зависят точность получаемых заготовок, производительность штамповки, расход энергии, износ штампов и пр. Заниженная масса падающих частей молота приводит к уменьшению стойкости штампов и увеличению расходов по эксплуатации молота.
Масса падающих частей G, кг, штамповочного молота определяется по номограммам, приведенным в справочниках, или по эмпирическим формулам
G = Fпок /nh ,
где удельная работа, затрачиваемая на 1 м2 поверхности поковки, Дж/м2; Fпок полная поверхность поковки, м2; п число ударов молота при штамповке в чистовом ручье; h высота падения бабы молота, м; отношение предела прочности стали, из которой штампуют поковку при температуре конца штамповки, к той же величине для стали с в = 490 МН/м2.
Для расчетов рекомендуется принимать n = 34, =2,4 Дж/м2 для стали с в = 490 МН/м2 и h =1,51,8 м. При расчете массы падающих частей молота двойного действия влияние верхнего пара учитывают введением в знаменатель коэффициента, равного 1,8. Для упрощения расчета используют соотношение между полной поверхностью поковки и площадью ее проекции Fпок 2,3Fпр.
Для приближенных расчетов используют формулу
G = (3,55)Fп ,
где Fп площадь проекции поковки в плане, см2.
Для выбора пресса необходимое усилие прессования можно использовать приблизительное соотношение между усилием пресса Р, МН, и массой падающих частей молота G, т:
Р = (1012) G.
Усилие ГКМ, необходимое для штамповки в открытых штампах, определяется по приведенным выше соотношениям для прессов. При штамповке в закрытых штампах усилие
Р =KвFпр ,
где Fпp площадь проекции поковки на плоскость, перпендикулярную к направлению движения главного ползуна, м2; в предел прочности штампуемого металла при температуре штамповки, МПа; К опытный коэффициент, учитывающий операцию штамповки, форму и размеры элементов поковки (К =18, определяется по таблицам в справочниках).
Завершающие и отделочные операции горячей объемной штамповки
Обрезные операции. Используют горячую и холодную обрезку заусенцев и прошивку отверстий. Горячая обрезка осуществляется непосредственно после штамповки на прессе, входящем в состав штамповочного агрегата. Это приводит к экономии энергии, расходуемой на обрезку. Усилие при горячей обрезке в 56 раз меньше, чем при холодной.
Горячая обрезка необходима при штамповке поковок из легированных и высокоуглеродистых деталей. Поковки с большой площадью среза также целесообразно обрезать в горячем состоянии, чтобы не устанавливать обрезные прессы большой мощности. Тонкие поковки небольших размеров при горячей обрезке подвержены короблению и поэтому подлежат холодной обрезке.
При обрезке заусенца соседние участки металла не должны подвергаться даже незначительным остаточным деформациям, так как тюковка может искривиться или быть смята. Большое количество дефектов поковок связано с неодинаковым износом основного и обрезного штампов, что требует наладки обрезного пресса для каждой партии штампуемых поковок. Неодинаковая усадка поковок и недостаточная точность размеров инструмента еще более это усугубляет. Поэтому при обрезке может срезаться часть штамповочных уклонов вместе с заусенцем или, наоборот, по контуру поковки может остаться часть заусенца, втянутого в зазор. Остатки заусенца и перемычек по периметрам обрезки должны быть минимальными.
Дефекты, появляющиеся при обрезке, во многих случаях можно устранить правкой (коробление) или обработкой на наждачном станке (удалить остатки заусенца). Смятие вызывает неисправимый брак поковок.
Очистка поковок. Для повышения срока службы режущего инструмента при обработке поковок, а также для облегчения контроля качества поверхности поковки очищают от окалины. Применяют три способа очистки поковок: галтовка, дробью и травление.
При галтовке (обработке поковок в барабанах) окалина удаляется во время удара поковок друг о друга и о специальные металлические звездочки, закладываемые в барабан. Этот способ применяют только для небольших поковок во избежание значительных забоин на их поверхности. Производительность одного барабана 2 т поковок в час. В дробеметных аппаратах очищают мелкие и средние поковки сложной формы. Для дробеметной очистки применяют чугунную или стальную дробь диаметром от 0,5 до 2,0 мм. Скорость удара дробинок достигает 60 м/с. Применяют пневматическую и механическую (лопатками быстровращающегося ротора) подачу дроби. Используют установки периодического или непрерывного действия производительностью до 4...6 т поковок в час. Травление применяется для крупных поковок сложной формы. Вид травителя зависит от материала поковки. Например, стальные поковки травят в 15%-м растворе соляной кислоты. После травления поковки промывают в воде с добавками щелочей. В настоящее время травление теряет практическое значение вследствие низкой экономичности и экологических требований.
Для мойки поковок в моечных машинах конвейерного типа или в машинах с кассетной погрузкой поковок используют пары трихлорэтилена при температуре в камере мойки 7580°С.
Правка поковок. Правкой устраняют искривления поковок, полученные при штамповке, обрезке, термической обработке, дополнительных технологических операциях. В большей степени искривлению подвержены поковки значительной длины, с тонкими ребрами, с резкой разницей в размерах смежных сечений. В зависимости от причин, вызывающих искривление, поковки можно править в горячем состоянии (после обрезки заусенца) или в холодном после термической обработки.
Горячую правку можно приводить в окончательном ручье основного штампа, на обрезном прессе или на дополнительном правочном молоте (прессе). Горячая правка оказывает лучшее влияние на структуру и механические свойства стали, чем холодная. Холодную правку применяют в основном для поковок, получающих искривления при термической обработке. Для этого используют дешевые и простые в эксплуатации фрикционные молоты (с доской). Форма полости ручьев правочных штампов совпадает с формой полости окончательных ручьев. При необходимости править поковки можно последовательно в двух взаимно перпендикулярных плоскостях.
Калибровка поковок. Для повышения точности поковок (по массе и размерам) и улучшения качества поверхности применяют калибровку. Она заключается в незначительном, обычно холодном, обжатии поковок. Обжатие поковки между плоскими плитами называют плоскостной калибровкой (рис. 3.26, а). Она повышает точность размеров поковок по одной оси в направлении приложения усилия. Можно калибровать и неплоские поверхности поковок (рис. 3.26, б). Если заготовку калибруют в открытом штампе (рис. 3.26, в), то образуется небольшой заусенец по его разъему, и происходит объемная калибровка. Она позволяет повысить точность размеров по трем осям, т. е. всех размеров поковки, а также точность поковок по массе.

Рис. 3.26. Разновидности калибровки поковок:
а плоскостная; б сложной поверхности; в объемная
Для сохранения достигнутой при калибровке минимальной шероховатости поверхности поковки целесообразно калибровать после последнего нагрева. Обычно калибруют поковки, уже прошедшие термическую обработку. Калибровка, выполняемая при температуре 700800°С, часто называется горячей калибровкой. Она не обеспечивает такой низкой шероховатости поверхности, какая достигается при холодной калибровке, но происходит лри. более низких удельных усилиях. Горячую калибровку применяют до термической обработки поковок.
По точности получаемых размеров поковок различают калибровку грубую (с допусками ±0,1...±0,25 мм) и повышенной точности (с допусками ±0,05...±0,1 мм). При необходимости после двукратной калибровки можно получить еще более высокую точность размеров (до ±0,025 мм). Шероховатость поверхности после холодной калибровки такая же, как и при шлифовании (Rz = 6,3...1,6 мкм). Основным препятствием для получения большей точности размеров ранее плоских поверхностях.
Применяют также комбинированную калибровку. При этом сначала с помощью объемной калибровки поверхности поковок делают гладкими, а затем отдельные плоские элементы поковок подвергают плоскостной калибровке для получения точных размеров между соответствующими плоскостями.
Термическая обработка поковок. Целью термической обработки поковок является устранение дефектов, возникших при нагреве и обработке давлением (перегрев, остаточные напряжения), улучшение обрабатываемости резанием, подготовка структуры металла к окончательной термической обработке (после обработки резанием).
Особенность термической обработки поковок состоит в том, что из-за значительной разницы поперечных сечений в отдельных участках поковки возможно получение неодинаковых структур. Кроме того, перепад температур по сечению поковки может привести к возникновению внутренних напряжений.
Вид и режим термической обработки зависят от ее назначения, химического состава материала поковки, термомеханического режима предшествующей штамповки, от габаритов и толщины обрабатываемых поковок. Наиболее распространенными видами термической обработки поковок являются отжиг и нормализация.
Отжиг состоит в нагреве поковки выше критической температуры АС3, и охлаждении с печью. Он служит для получения равновесной структуры, улучшения пластичности, снижения твердости и снятия остаточных напряжений. Отжиг применяется чаще всего для крупных поковок, при охлаждении которых в области температур 700750°С должна быть обеспечена минимальная скорость охлаждения.
Заготовки, для которых особо важна хорошая обрабатываемость резанием (например, заготовки зубчатых колес), подвергаются изотермическому отжигу. При этом поковки сначала нагреваются до температуры выше АС3 и передаются затем в другую печь для изотермической выдержки при температуре 620670 °С. При этой температуре происходит полный распад переохлажденного аустенита на феррито-цементитную смесь.
Нормализация проводится с целью уменьшения остаточных напряжений, измельчения зерна и, как следствие, повышения механических свойств поковки. Она состоит в нагреве поковок до температуры выше АС3 и охлаждении на воздухе. Это наиболее простая и дешевая операция термической обработки. Нормализации подвергаются поковки из низко-, среднеуглеродистых и низколегированных сталей. Стали с большим содержанием углерода и легирующих элементов в результате нормализации могут получить бейнитную структуру, что затрудняет их последующую механическую обработку. В этом случае после нормализации проводят отпуск при температуре 600700 °С.
Ориентировочные режимы термообработки поковок из различных материалов приводятся в справочной литературе.
Термической обработке подвергают также поковки из цветных сплавов. Виды термообработки в этом случае связаны с особенностями этих сплавов. Например, поковки из алюминиевых сплавов подвергают закалке и старению, из магниевых сплавов отжигу, закалке или старению, из титановых сплавов отжигу или гомогенизации.
Качество штампованных заготовок
Дефекты, возникающие при штамповке, аналогичны дефектам, возникающим при ковке. Дефектами, характерными только для штампованных поковок, являются следующие.
Штампованная поковка может оказаться недоштампованной (слишком большой по высоте) или с незаполненными углами, ребрами из-за недостаточного объема исходной заготовки, массы падающих частей молота или низкой температуры металла. Несовпадение половинок штампа в момент удара приводит к перекосу смещению одной части поковки относительно другой. Если в момент удара исходная заготовка смещена относительно полости ручья, получают неисправимый брак лом-бой.
Зажимы заштампованные складки могут образоваться при несоответствии чернового ручья чистовому, при эксцентричной укладке исходной заготовки в штамповочные ручьи. Зажим может образоваться также возле острых кромок полости штампа, если в этих местах происходит истечение металла из перемычки или пленки в тело поковки.
Из-за неправильной конструкции штампа может возникнуть утяжка (утонение), наружные или внутренние сколы. Небрежное удаление из штампа, удары при транспортировке горячих поковок приводят к их короблению или образованию забоин.
Некоторые дефекты выявляются лишь после механической обработки: чернота на обработанных поверхностях при недостаточном припуске на обработку или кривизне поковки; вмятины углубления от заштамповки окалины, глубина которых превышает припуск на обработку; утонение стенки, выявляемое при сверлении отверстий или обработке плоскостей поковок, имеющих перекос, и др.
Некоторые из дефектов поковок могут быть исправлены. Заусенцы волосовины, закаты и зажимы удаляют заточкой или вырубкой. Незначительные незаполнения формы, вмятины, недоштамповка, а также сдвиги по разъему иногда легко исправляют перештамповкой. Искривления исправляют правкой, перегрев и неравномерность твердости повторной термообработкой. Торцовые, закалочные и другие трещины и расслоения, пережог, а также значительное незаполнение формы являются неисправным браком.
В задачи технического контроля входит: предупреждение брака путем своевременной проверки и выявления недоброкачественных заготовок, неисправных, или изношенных штампов и т. п., а также обнаружение отклонений контролируемых параметров поковок от технических требований или от требований чертежа; своевременное обнаружение дефектных и бракуемых поковок, а также изоляция их от основной массы годной продукции; систематический учет и технический анализ причин дефектов и брака.
Выбор способа изготовления поковок.
При выборе способа изготовления поковок прежде всего учитывают требования к изготовляемой из нее детали при эксплуатации: характер нагрузки, наиболее ответственные сечения, требуемое расположение волокон, желаемое распределение наружных и внутренних слоев металла исходной заготовки и т. п. Затем устанавливают, какие приемы ковки или штамповки могут придать поковке необходимые свойства, обеспечить максимальную прочность детали и другие эксплуатационные требования. Например, при ковке или штамповке поковок зубчатых колес катаная заготовка (рис. 3.27, а) подвергается осадке в торец. При этом волокна располагаются радиально (рис. 3.27, б). Даже после ковки заготовки менее качественная сердцевина может быть удалена при прошивке в отход (рис. 3.27, в). При радиальном расположении в поковках волокна остаются благоприятно расположенными в зубьях шестерен и после нарезания последних (рис. 3.27, г). Еще лучше располагаются волокна в зубьях, полученных штамповкой или накаткой (рис. 3.27, д), а при штамповке мелких шестерен от прутка на молотах с подкаткой вместо осадки и при расположении заготовки плашмя зубья шестерен получаются неодинаковой прочности (рис. 3.27, е).
Чтобы при изготовлении заготовок бандажей колес, колец подшипников качения и тому подобных поковок получить благоприятное для них тангенциальное расположение волокон (рис. 3.27, ж), их заготовки после осадки и прошивки (рис. 3.27, в) подвергают раздаче или раскатке. Очевидно, что использование раскатанных поковок для изготовления из них шестерен привело бы к получению зубьев (после их нарезания) низкого качества (рис. 3.27, з).

Рис. 3.27. Расположение волокон в шестерне при различных способах ковки и штамповки
Для каждого вида штамповочного оборудования (молоты, КГШП, ГКМ, гидравлические прессы) характерны определенные типы поковок. Если поковку можно изготовить различными способами, то выбор способа штамповки зависит от материала, размеров и конфигурации поковки, типа производства, требуемой точности и стоимости последующей механической обработки. При этом необходимо учитывать стоимость самого оборудования и оснастки, его обслуживания, переналадки и ремонта. Одновременно нужно учитывать достижимые на данном оборудовании производительность и точность поковки. Применение оборудования с более высокими параметрами точности увеличивает расходы на его содержание и эксплуатацию.
Себестоимость поковок в значительной степени определяется группой сложности и классом точности поковки, так как от них зависит сложность и стоимость изготовления штампа. Большую часть себестоимости составляют затраты на металл. Угар, облой и клещевина существенно повышают массу исходной заготовки. Связанная с ними доля потерь металла относительно увеличивается с уменьшением массы поковки и увеличением ее сложности.
Точные методы штамповки, как отмечалось, могут в ряде случаев исключить последующую механическую обработку. Эффект от уменьшения ее объема, достигаемый за счет сокращения поверхностей, подлежащих обработке резанием, будет тем больше, чем меньше в конструкции таких поверхностей.
Наибольший эффект в снижении себестоимости достигается при увеличении коэффициента весовой точности (отношение массы готовой детали к массе заготовки), так как расходы на металл во много раз превышают любые другие расходы на изготовление деталей.
5. Заготовки, получаемые холодной штамповкой
Общие сведения о процессах холодной штамповки
Холодной называют штамповку, осуществляемую при температуре ниже температуры рекристаллизации материала заготовки. Ее разделяют на листовую и объемную.
Листовой штамповкой называют процесс изготовления деталей из листа, полосы или рулонного материала. Толщина деталей незначительно отличается от толщины листового материала и не превышает 10 мм.
Достоинства этого вида штамповки следующие: высокая производительность (до 40 тыс. деталей в смену); высокая точность штамповок, не требующих дальнейшей механической обработки; возможность автоматизации процесса; экономическая целесообразность при массовом и серийном производствах.
Холодная объемная штамповка позволяет почти полностью исключить обработку резанием и обеспечивает по сравнению с последней уменьшение трудоемкости изготовления деталей на 3080 % и повышение коэффициента использования материала до 0,5. При холодной высадке коэффициент использования материала достигает 0,95, а производительность 800 шт. в минуту.
Листовая и холодная объемная штамповка обеспечивают получение заготовок высокой точности, прочности и жесткости.
При листовой штамповке в качестве исходного материала применяют черные и цветные металлы и их сплавы, а также неметаллические материалы. Штамповка плоских деталей производится почти из любых материалов, объемная штамповка из материалов, обладающих определенной степенью пластичности.
Как листовая, так и объемная штамповка осуществляется в штампах, которые проектируются и изготовляются для каждой конкретной детали.
Листовая штамповка в основном обеспечивает получение готовых для дальнейшей сборки деталей. Для листовых деталей после их штамповки чаще всего применяют единственную операцию по зачистке заусенцев, которую осуществляют механическим или электрохимическим путем. Данные детали не представляют интереса для технолога-машиностроителя с точки зрения их дальнейшей обработки, и поэтому способы их получения здесь не рассматриваются.
Заготовки, получаемые холодной высадкой
Холодная высадка безотходный способ изготовления крепежных деталей (болтов, винтов, заклепок и др.) и малоотходный при изготовлении деталей типа ступенчатых и шаровых пальцев длиной до 300 мм, роликов и шариков диаметром до 50 мм.
Для холодной высадки применяют калиброванный материал, преимущественно круглого сечения с допусками по 811 квалитетам. Наиболее часто для этой цели применяют материалы: стали марок от 08 до 45; инструментальные стали У10А, У12А; легированные стали 15Г, 20Г, 35Г2, 15Х, 20Х, ЗОХ, 35Х, 40Х, 40ХН, 15ХФ, 20ХФ, ШХ15; сплавы цветных металлов: дуралюмин Д1, Д16, латунь JIC59-1, медь M1, М2 и др.
Высадку крепежных деталей производят обычно на холодновысадочных автоматах: одно- и двухударных и одно- и многопозиционных. При отсутствии холодновысадочных автоматов высадку осуществляют в штампах на кривошипных и фрикционных прессах, аналогично горячей штамповке. Высадкой в штампах изготовляют также детали, требующие значительного числа переходов.
Требуемая длина цилиндрической исходной заготовки диаметром d (рис. 3.28) равна L = l + l1; здесь l1 длина стержня; l длина заготовки, необходимая для образования круглой головки диаметром D, высотой h.
l = 4V/d2 ,
где V объем головки, мм3.

Рис. 3.28. Получение детали холодной высадкой
Точность размеров элементов детали, оформляемых в матрице или в полости пуансона, соответствует 811-му квалитетам, а при тщательном изготовлении инструмента и при несколько меньшей стойкости его 68-му квалитетам. Точность размеров по длине может достигать 1114-го квалитетов.
Параметр шероховатости поверхностей, полученных холодной высадкой, находится в пределах Ra= 0,323,2 мкм. Коэффициент использования металла равен или близок к единице.
Заготовки, получаемые холодной объемной штамповкой
К объемной штамповке относятся операции осадки, объемной формовки, калибровки, чеканки и выдавливания, которые осуществляют аналогично одноименным операциям горячей штамповки. Отличие состоит в том, что здесь отсутствует нагрев заготовки, усилия деформации резко возрастают, значения предельно допустимых деформаций снижаются.
Особый интерес представляет операция выдавливания. Холодное выдавливание применяют для деталей из алюминия А0, А1, АД1, АД, сплава АМц, дуралюмина Д16, меди M1, М2, М3, латуни Л61, Л68, цинка Ц1, Ц2 и ЦЗ, магниевых сплавов, конструкционных сталей, содержащих до 0,45 % углерода, и низколегированных сталей.
Усилие выдавливания Р, МН, определяют по формуле
Р = qх.в.F ,
где F площадь поперечного сечения заготовки, м2; qx.в. давление прессования, МПа (табл. 3.10).
Таблица 3.10. Давление прессования qx.в. для холодного выдавливания, МПа

Размеры заготовок рассчитывают, исходя из равенства объемов заготовки и получаемой детали, с учетом потерь материала на последующую обработку.
В зависимости от размеров детали исходной заготовкой может быть листовой или прутковый материал. В тех случаях, когда высота заготовки менее 10 мм и отношение S/D = 0,70,8, она вырезается из листового материала, в остальных случаях заготовку отрубают (отрезают) от прутка. Форма заготовки и ее размеры в плане для полых деталей без фланца соответствуют наружным размерам готовых деталей; для деталей с круглым фланцем размер заготовки равен диаметру фланца, а для деталей с граненым фланцем диаметру окружности, вписанной во фланец. Для деталей стержневого типа размер и форма заготовки соответствуют размерам головки. После определения объема заготовки рассчитывают ее исходную высоту.
С помощью выдавливания можно получить довольно сложные по конфигурации детали.
Точность изготовления детали выдавливанием зависит от ее размеров, свойств материала, точности исполнения штампа и состояния пресса и находится в пределах 814-го квалитетов, а параметр шероховатости Rа=100,63 мкм. Как правило, детали, полученные холодным выдавливанием, в дальнейшей механической обработке не нуждаются. Коэффициент использования металла близок к единице.
Характерной особенностью деталей, полученных объемной холодной штамповкой, является повышенная прочность, обеспечиваемая за счет мелкозернистой структуры, благоприятного расположения волокон и поверхностного наклепа.
Оборудование для холодной штамповки
Объемная штамповка осуществляется на кривошипных или гидравлических прессах. Процесс холодной объемной формовки сходен с объемной калибровкой, и эти операции выполняются обычно на кривошипно-коленных прессах.
Холодная высадка производится на холодновысадочных автоматах, подобных горизонтально-ковочным машинам. Они обеспечивают автоматическую подачу прутка, отрезку заготовки, перемещение ее из ручья в ручей штампа.
Листовую штамповку чаще всего выполняют на кривошипных и реже (для крупногабаритных деталей) на гидравлических прессах. Применяют кривошипные прессы простого и двойного действия.
При выборе оборудования для холодной штамповки необходимо учитывать вид операции, материал, размеры и сложность конфигурации заготовки. Основной вопрос, решаемый при выборе оборудования, определение усилия пресса. Для холодной объемной штамповки требуемое усилие определяют по таким же зависимостям, как для горячей штамповки с учетом особенностей холодной штамповки. Усилия здесь получаются больше, так как пластичность металлов в холодном состоянии гораздо ниже, чем в горячем.
При листовой штамповке требуемые усилия могут быть рассчитаны по формулам, приведенным в справочниках. Кроме усилия, создаваемого прессом, при выборе оборудования необходимо учитывать также мощность, необходимую для выполнения данной операции, величину хода, закрытую высоту пресса, габариты стола, число ходов пресса, удобство и безопасность обслуживания и другие факторы. Выбор оборудования осуществляют по каталогам.
Контрольные вопросы
1. В чем состоит различие между ковкой и объемной штамповкой? Охарактеризуйте особенности заготовок, получаемых этими методами.
2. Какие виды заготовок можно получить волочением (прессованием)?
3. Как влияет холодная пластическая деформация на структуру и свойства металла?
4. Какие факторы влияют на припуски и допуски на кованые (штампованные)
поковки?
5. Для чего необходимы штамповочные уклоны и какова их величина на внутренних и наружных поверхностях штампованных поковок?
6. Каковы преимущества штамповки на кривошипных горячештамповочных прессах (КГШП) по сравнению со штамповкой на молотах?
7. Каким способом можно получить круглые заготовки с переменным по дли- не диаметром (ступенчатые валы)?
8. Назовите преимущества и недостатки процессов изготовления заготовок ковкой?
9. Что нужно учитывать при выборе положения поверхности разъема штампа? 10. В каких случаях при проектировании поковок назначаются напуски?
11. Как составляют и оформляют чертеж поковки и определяют ее массу? Охарактеризуйте особенности проектирования поковок, получаемых на КГШП (ГКМ, гидравлических прессах)?
12. Какие существуют рекомендации по обеспечению технологичности штампованных поковок?
13. Для чего применяют и каковы особенности объемной и плоскостной, калибровки поковок?
14. Как формируется отверстие в штампованной поковке?
15. Приведите примеры типичных деталей, штампуемых на ГКМ.
16. Как производится выбор технологического оборудования для ковки (штамповки)?
17. Какие существуют разновидности холодной штамповки? Укажите на ее достоинства и область применения.
ПРОИЗВОДСТВО ЗАГОТОВОК ОБРАБОТКОЙ МЕТАЛЛОВ ДАВЛЕНИЕМ











