Генераторные измерительные преобразователи
ЛЕКЦИЯ 15.
Генераторные измерительные преобразователи
В генераторных преобразователях выходной величиной является ЭДС или заряд, функционально связанные с измеряемой неэлектрической величиной.
Термоэлектрические преобразователи (термопары).
Основаны на термоэлектрическом эффекте, возникающем в цепи термопары. Эти преобразователи применяются для измерения температуры. Принцип действия термопары поясняется рис. 15.1,а, где изображена термоэлектрическая цепь, составленная из двух разнородных проводников А и В. Точки 1 и 2 соединения проводников называются спаями термопары. Если температуры t спаев 1 и 2 одинаковы, то ток в термоэлектрической цепи отсутствует. Если же температура одного из спаев (например, спая 1) выше, чем температура спая 2, то в цепи возникает термоэлектродвижущая сила (ТЭДС) Е, зависящая от разности температур спаев
Е = f(t1 t2). (15.1)
Если поддерживать температуру спая 2 постоянной, то
Е = f(t1).
Эту зависимость используют для измерения температуры с помощью термопар. Для измерения ТЭДС электроизмерительный прибор включают в разрыв спая 2 (рис. 15.1, б). Спай 1 называют горячим (рабочим) спаем, а спай 2 холодным (концы 2 и 2 называют свободными концами).
Чтобы ТЭДС термопары однозначно определялась температурой горячего спая, необходимо температуру холодного спая поддерживать всегда одинаковой.
Для изготовления электродов термопар используют как чистые металлы, так и специальные сплавы стандартизованного состава. Градуировочные таблицы для стандартных термопар составлены при условии равенства температуры свободных концов 0оС. На практике не всегда удается поддерживать эту температуру. В таких случаях в показания термопары вводят поправку на температуру свободных концов. Существуют схемы для автоматического введения поправок.
Конструктивно термопары выполняются в виде двух изолированных термоэлектродов с рабочим спаем, получаемым способом сварки, помещенных в защитную арматуру, предохраняющую термопару от внешних воздействий и повреждений. Рабочие концы термопары выведены в головку термопары, снабженную зажимами для включения термопары в электрическую цепь.
В табл. 15.1 приведены характеристики термопар, выпускаемых промышленностью. Для измерения высоких температур применяют термопары ПП, ПР и ВР. Термопары из благородных металлов используют при измерении с повышенной точностью.
В зависимости от конструкции, термопары могут иметь тепловую инерцию, характеризуемую постоянной времени от секунд до нескольких минут, что ограничивает возможность их применения для измерения быстроменяющихся температур.
Кроме включения измерительного прибора в спай термопары возможно включение прибора в «электрод», т.е. в разрыв одного из термоэлектродов (рис. 15.1, в). Такое включение, в соответствии с (15.1), позволяет измерять разность температур t1 t2. Например, может быть измерен перегрев обмоток трансформатора над температурой окружающей среды при его испытаниях. Для этого рабочий спай термопары заделывают в обмотку, а свободный спай оставляют при температуре окружающей среды.
Т а б л и ц а 15.1. Характеристики термопар
Термопара |
Обозначение |
Диапазон применения, оС |
Медь копель |
МК |
-200…100 |
Хромель копель |
ХК |
-200…600 |
Хромель алюмель |
ХА |
-200…1000 |
Платинородий (10% Rh) платина |
ПП |
0…1300 |
Платинородий (30% Rh) платинородий (6% Rh) |
ПР |
300…1600 |
Вольфрамрений (5% Re) вольфрамрений (20% Re) |
ВР |
0…2200 |
Требование постоянства температуры свободных концов термопары вынуждает по возможности удалять их от места измерения. Для этой цели применяют так называемые удлиняющие или компенсационные провода КП, подключаемые к свободным концам термопары с соблюдением полярности (рис. 15.1,г). Компенсационные провода составляются из разнородных проводников, которые в интервале возможных колебаний температуры свободных концов развивают в паре между собой такую же ТЭДС, как и термопара. Поэтому, если места подключения компенсационных проводов находятся при температуре t2, а температура в месте подключения термопары к прибору t0, то ТЭДС термопары будет соответствовать ее градуировке при температуре свободных концов t0.
Максимальная развиваемая стандартными термопарами ТЭДС составляет от единиц до десятков милливольт.
Для измерения ТЭДС могут применяться магнитоэлектрические, электронные (аналоговые и цифровые) милливольтметры и потенциометры постоянного тока. При использовании милливольтметров магнитоэлектрической системы следует иметь в виду, что измеряемое милливольтметром напряжение на его зажимах
U = IRV,
где I ток в цепи термопары, а RV сопротивление милливольтметра.
Так как источником тока в цепи является термопара, то
I = E/(RV+RВН),
где RВН сопротивление участка цепи внешнего по отношению к милливольтметру (т.е. электродов термопары и компенсационных проводов). Поэтому измеряемое милливольтметром напряжение будет равно
U = E/(1+RВН/RV).
Таким образом, показания милливольтметра тем больше отличаются от ТЭДС термопары, чем больше отношение RBH/RV. Для уменьшения погрешности от влияния внешнего сопротивления милливольтметры, предназначенные для работы с термопарами (так называемые пирометрические милливольтметры) градуируются для конкретного типа термопар и при определенном номинальном значении RBH, указываемом на шкале прибора. Пирометрические милливольтметры серийно выпускаются классов точности от 0.5 до 2.0.
Входное сопротивление электронных милливольтметров очень велико, и влияние сопротивления RBH на показания пренебрежимо мало.
Пьезоэлектрические преобразователи.
Такие преобразователи основаны на использовании прямого пьезоэлектрического эффекта, заключающегося в появлении электрических зарядов на поверхности некоторых кристаллов (кварца, турмалина, сегнетовой соли и др.) под влиянием механических напряжений. Пьезоэлектрическим эффектом обладают также некоторые поляризованные керамические материалы (титанат бария, цирконат-титанат свинца).
Если из кристалла кварца вырезать пластинку в форме параллелепипеда с гранями, расположенными перпендикулярно оптической 0z, механической 0y и электрической 0х осям кристалла (рис. 15.2), то при воздействии на пластинку усилия Fх, направленного вдоль электрической оси, на гранях х появляются заряды
Qx = KпFx, (15.2)
где Кп пьезоэлектрический коэффициент (модуль).
При воздействии на пластину усилия Fу вдоль механической оси, на тех же гранях х возникают заряды
Qy = KпFy a/b,
где а и b размеры граней пластины. Механическое воздействие на пластину вдоль оптической оси появления зарядов не вызывает.
Пьезоэлектрический эффект является знакопеременным; при изменении направления прилагаемого усилия знаки зарядов на поверхности граней меняются на противоположные. Материалы сохраняют свои пьезоэлектрические свойства только при температурах ниже точки Кюри.
Величина пьезоэлектрического коэффициента (модуля) Кп и температура точки Кюри для кварца и распространенных керамических пьезоэлектриков приведены в табл. 15.2.
Изотовление преобразователей из пьезокерамики значительно проще, чем из монокристаллов. Керамические датчики производят по технологии, обычной для радиокерамических изделий путем прессования или литья под давлением; на керамику наносятся электроды, к электродам привариваются выводы. Для поляризации керамические изделия помещают в сильное электрическое поле, после чего они приобретают свойства пьезоэлектриков.
Электродвижущая сила, возникающая на электродах пьезоэлектрического преобразователя, довольно значительна единицы вольт. Однако, если сила, приложенная к преобразователю, постоянна, то измерить ЭДС трудно, поскольку заряд мал и быстро стекает через входное сопротивление вольтметра. Если же сила переменна и при этом период изменения силы много меньше постоянной времени разряда, определяемой емкостью преобразователя и сопротивлением утечки, то процесс утечки почти не влияет на выходное напряжение преобразователя. При изменении силы F по закону F = Fmsin t ЭДС также изменяется синусоидально.
Таким образом, измерение неэлектрических величин, которые могут быть преобразованы в переменную силу, действующую на пьезоэлектрический преобразователь, сводится к измерению переменного напряжения или ЭДС.
Т а б л и ц а 15.2. Параметры кварца и керамических пьезоэлектриков
Материал (марка) |
Кп, Кл/Н |
Точка Кюри, оС |
Кварц Титанат бария (ТБ-1) Цирконат-титанат свинца (ЦТС-19) |
2.3х10-12 70.0х10-12 119.0х10-12 |
530 120 290 |
Пьезоэлектрические измерительные преобразователи находят широкое применение для измерения параметров движения: линейного и вибрационного ускорения, удара, акустических сигналов.
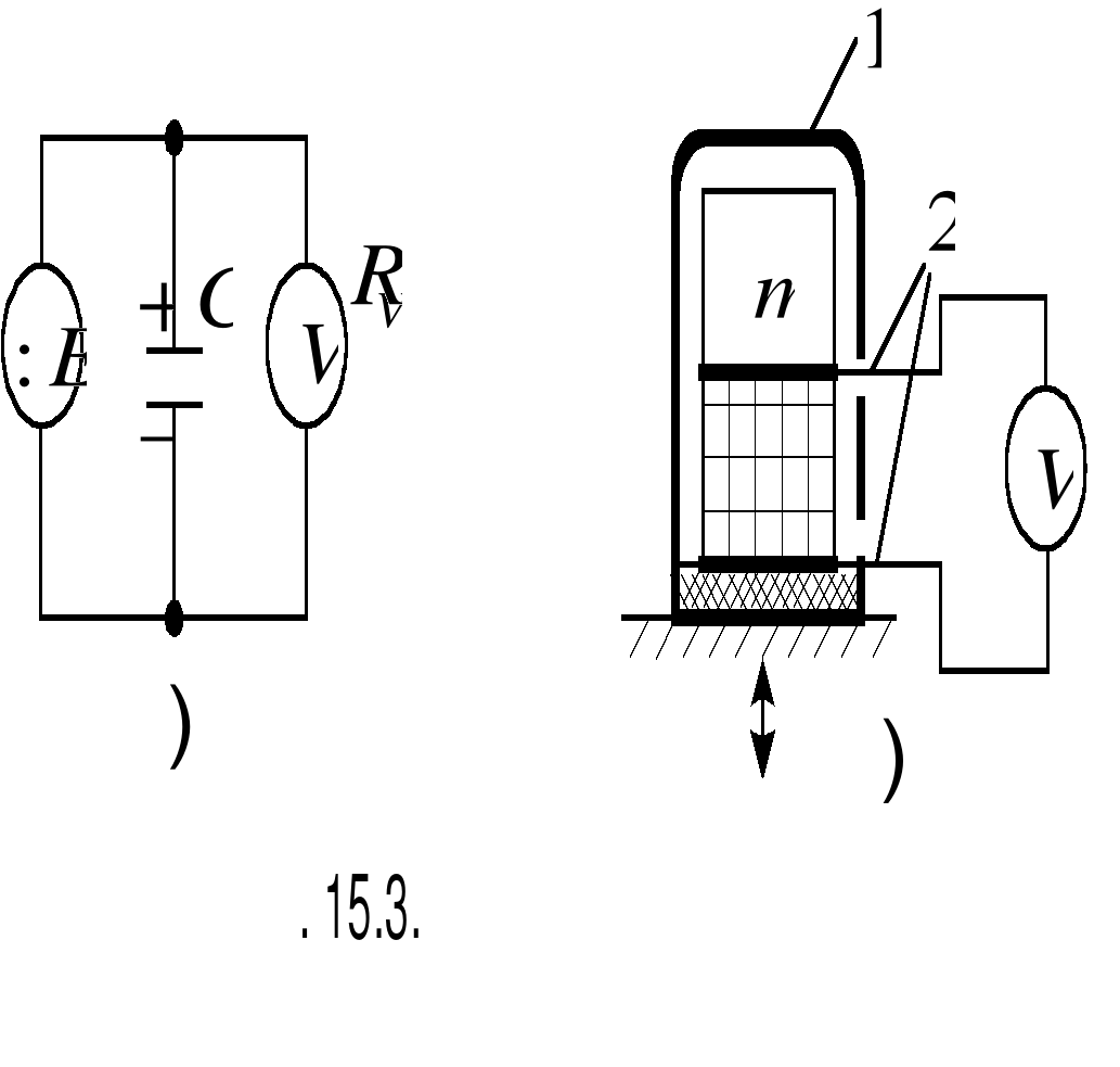
Эквивалентная схема пьезоэлектрического преобразователя представлена на рис. 15.3,а) в виде генератора с внутренней емкостью С. Поскольку мощность такого пьезоэлемента чрезвычайно мала, то для измерения выходного напряжения необходимо применять приборы с большим входным сопротивлением (1011…1015 Ом).
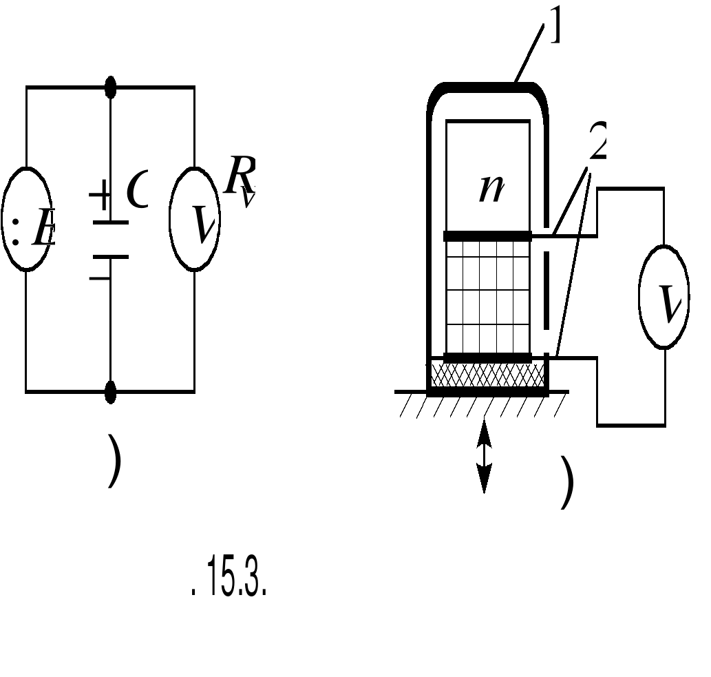
Для увеличения полезного сигнала пьезодатчики выполняются из нескольких, последовательно соединенных элементов.
Устройство пьезоэлектрического датчика для измерения вибрационного ускорения показано на рис. 15.3,б). Пьезоэлемент (обычно из пьезокерамики), нагруженный известной массой m, помещен в корпус 1 и через выводы 2 включен в цепь электронного милливольтметра V. Подставив в формулу для возникающего на гранях заряда выражение F = ma, где а ускорение, и учтя (15.2), получим
U = Ku a,
где Ku коэффициент преобразования датчика по напряжению.
PAGE 6
EMBED Visio.Drawing.6 
EMBED Visio.Drawing.6 
Генераторные измерительные преобразователи

