АНАЛИЗ ГОСТИНИЦЫ КАК ИСТОЧНИКА ВЫБРОСОВ ЗАГРЯЗНЯЮЩИХ ВЕЩЕСТВ
PAGE \* MERGEFORMAT 7
Содержание
Введение ……………………………………………………………………………..6
- АНАЛИЗ ГОСТИНИЦЫ КАК ИСТОЧНИКА ВЫБРОСОВ ЗАГРЯЗНЯЮЩИХ ВЕЩЕСТВ ……………………………………………8
- Характеристика основных источников ЗВ гостиничных
комплексов……………………………………………………………..8
- Выбросы ЗВ от бассейнов …………………………………………8
- Выбросы ЗВ от объектов общественного питания ……………..10
- Выбросы ЗВ от прачечных и химчисток………………………...19
- Выбросы ЗВ от автостоянок ……………………………………..22
- Выбросы ЗВ от бани и сауны ……………………………………25
- Фильтры гостиничных комплексов………………………………….26
- Выбросы ЗВ от объектов общественного питания ……………..10
- МЕТОДЫ КОНТРОЛЯ ОКРУЖАЮЩЕЙ СРЕДЫ……………………….30
- Экологический контроль, его цели, задачи и методы ……………..30
- Экологический мониторинг, его цели и задачи…………………….32
- Разработка проекта ПДВ……………………………………………..34
- Инвентаризация источников выбросов ЗВ в атмосферу…………...37
- Этапы инвентаризации источников выбросов ЗВ………………39
- Методы проведения инвентаризации……………………………40
- ПРОВЕДЕНИЕ ИНВЕНТАРИЗАЦИИ ГОСТИНИЦЫ
«ОКТЯБРЬСКАЯ»…………………………………………………………..42
- Характеристика гостиницы «Октябрьская»…………………………42
- Общая характеристика приборов используемых при инвентаризации……………………………………………………….44
- Аспиратор «А-01»…………………………………………………44
- Аспиратор «АМ-5»……………………………………………….46
- Дифференциальный цифровой манометр «ДМЦ-01М»……….47
- Пневмометрическая трубка Пито………………………………..48
- Газоанализатор «Элан»…………………………………………..49
- Обследование площадки предприятия……………………………...52
- Определение аэродинамических характеристик источников загрязнения атмосферы………………………………………………54
- Отбор проб ЗВ от источников загрязнения…………………………57
- Отбор проб оксидов азота………………………………………..57
- Отбор проб гидроксида натрия…………………………………..59
- Отбор проб аэрозоля масла растительного……………………...61
- Отбор проб акролеина, ацетальдегида, уксусной кислоты, этилового спирта………………………………………………….62
- Отбор проб оксида углерода……………………………………..63
- Анализ отобранных воздушных проб……………………………….64
- Фотометрический метод анализа проб…………………………..66
- Хроматографический метод анализа проб………………………68
- Расчет массовых (г/сек) и валовых (т/год) выбросов ……………...71
- Расчет массовых выбросов……………………………………….71
- Расчет валовых выбросов ………………………………………..72
- Составление технического отчета по инвентаризационному обследованию…………………………………………………………74
- Общая характеристика приборов используемых при инвентаризации……………………………………………………….44
Заключение…………………………………………………………………..75
Список литературы………………………………………………………….76
Приложение 1
Приложение 2
Введение
Преддипломная практика проводилась в период с 10.05.10 по 06.06.10 в ООО «НППФ «Экосистема». ООО НППФ «Экосистема» оказывает услуги предприятиям и организациям в области экологии и промышленной санитарии. Моим научным руководителем была Анисенкова Н.А., главный специалист данной организации.
В последние десятилетия общество все шире использует в своей деятельности сведения о состоянии природной среды. Эта информация нужна в повседневной жизни людей, при ведении хозяйства, в строительстве, при чрезвычайных обстоятельствах для оповещения о надвигающихся опасных явлениях природы. Но изменения в состоянии окружающей среды происходят и под воздействием биосферных процессов, связанных с деятельностью человека.
Таким образом, существует необходимость контролировать влияние всех объектов, деятельность которых приводит к загрязнению окружающей среды. Определение вклада антропогенных изменений представляет собой специфическую задачу. Правительство РФ создало ряд мер, позволяющих оценить фактическое состояние природной среды, составить прогноз изменения ее состояния под влиянием факторов антропогенного воздействия. Одной из таких мер является мониторинг окружающей среды (экологический мониторинг).
Экологический мониторинг - комплекс выполняемых по научно обоснованным программам наблюдений, оценок, прогнозов и разрабатываемых на их основе рекомендаций и вариантов управленческих решений, необходимых и достаточных для обеспечения управления состоянием окружающей природной среды и экологической безопасностью.
Следует отметить, что сама система мониторинга не включает деятельность по управлению качеством среды, по соблюдению экологических норм и правил, так как данный вид деятельности входит в систему экологического контроля, но является источником необходимой для принятия экологически значимых решений информации.
Экологический контроль - система мер, направленная на предотвращение, выявление и пресечение нарушения законодательства в области охраны окружающей среды. Законодательные основы экологического контроля регулируются Законом РФ «Об охране окружающей природной среды», в соответствии с которым юридические лица, имеющие стационарные источники выбросов загрязняющих веществ в атмосферный воздух, обязаны обеспечивать проведение инвентаризации и расчет выбросов загрязняющих веществ в атмосферный воздух, а также осуществлять разработку проекта предельно допустимых выбросов (ПДВ) и предельно допустимых нормативов вредного физического воздействия на атмосферный воздух.
Таким образом, разработка проекта ПДВ и инвентаризация источников выбросов являются средством государственного экологического контроля, а также источником данных для мониторинга окружающей среды.
Целью настоящей дипломной работы является сбор и анализ исходных данных для разработки проекта ПДВ и экологического мониторинга гостиницы «Октябрьская». Для ее достижения были поставлены следующие задачи:
- Анализ гостиницы как источника выбросов ЗВ;
- Исследование методов контроля окружающей среды;
- Проведение инвентаризации источников выбросов гостиницы «Октябрьская»,
1. АНАЛИЗ ГОСТИНИЦЫ КАК ИСТОЧНИКА ВЫБРОСОВ ЗВ
- Характеристика основных источников ЗВ гостиничных комплексов
В современных условиях гостиница это предприятие, предназначенное для гостиничного обслуживания граждан, а также индивидуальных туристов и организованных групп. Есть основные составные части, которые присутствуют всегда в любой гостиничной структуре, независимо от того, к какой категории относится данная гостиница.
На сегодняшний день гостиничное предприятие предоставляет потребителям не только услуги проживания и питания, но и широкий спектр услуг транспорта, связи, развлечений, медицинские и спортивные услуги, услуги салонов красоты, химчисток и прачечных и пр. Следовательно, гостиница может являться обладателем большого числа источников негативного влияния на окружающую среду. [23]
Основными источниками выбросов ЗВ в гостиницах являются бассейн и сауна, прачечная и химчистка, парикмахерская, объекты общественного питания (рестораны, кафе, бары), а также автостоянка.
- Выбросы ЗВ от бассейнов
Многие современные гостиничные комплексы имеют в своих подразделениях оздоровительные комплексы и бассейны. В качестве основных методов обеззараживания воды СанПиН регламентированы озонирование, ультрафиолетовое облучение и хлорирование. Причем хлорирование рекомендуется использовать как резервный метод, применяемый в исключительных случаях. Но данный метод является на сегодняшний день очень распространенным.
Безвредность питьевой воды по химическому составу определяется ее соответствием нормативам по содержанию вредных химических веществ, поступающих и образующихся в воде в процессе ее обработки в системе водоснабжения.[25] Эти нормативы, ПДК вредных веществ в питьевой воде соответствуют значениям допустимых концентраций вредных веществ в бассейновой воде. Так, ПДК свободного хлора в питьевой воде допускается в пределах 0,30,5 мг/л, а концентрация свободного хлора в бассейновой воде при эксплуатации бассейнов должна быть не менее 0,3 мг/л и не более 0,6 мг/л [24].
При эксплуатации бассейнов происходит постоянное выделение свободного хлора с их водной поверхности в воздушную среду с различной степенью интенсивности в зависимости от типа бассейна и его назначения. Значение концентрации хлора в воздушной среде является показателем ее чистоты и неагрессивности.
По физиологическому действию на организм хлор относится к группе веществ удушающего действия. Хлор относится к 3 классу опасности. Его негативное влияние заключается в том, что его пары:
- раздражающе действуют на слизистые оболочки дыхательных путей и глаз;
- провоцируют аллергические реакции вплоть до бронхиальной астмы;
- оказывают негативное влияние на иммунную систему;
- приводят к развитию заболеваний сердца, атеросклерозу, гипертонии, анемии и т.п.
- оказывают острое, либо хроническое действие на ткань лимфатических узлов и желез;
- существенно изменяют внутриклеточный метаболизм и обладают канцерогенной и мутагенной активностью, что однозначно приводит к образованию и росту различных опухолей в организме (рак мочевого пузыря, печени, желудка, прямой и ободочной кишки и др.).
Также при взаимодействии хлора с органическими примесями (микробы, плесень и др.), содержащимися в большом количестве в окружающей среде, в том числе воде, образует хлорорганические соединения, которые обладают чрезвычайной токсичностью и негативно влияют на здоровье человека и не выводятся из организма, продолжая там накапливаться всю жизнь.[14]
Контроль за содержанием хлора в воздушной среде залов бассейнов рекомендуется осуществлять в следующих случаях:
- при концентрации хлора в бассейновой воде более 0,2 мг/л;
- при наличии жалоб посетителей.[25]
К сожалению, СанПиН не регламентируют значение допустимой концентрации хлора в воздухе за пределами «зоны дыхания людей», которая не влияет на ухудшение самочувствия людей и может характеризовать допустимую агрессивноcть воздушной среды в залах.
- Выбросы ЗВ от объектов общественного питания
Наиболее распространёнными предприятиями общественного питания гостиниц являются рестораны, кафе, бары. Они могут работать на сырье или полуфабрикатах, быть в системе управления структурного образования или самостоятельными с любой формой собственности. По законодательству РФ предприятиям такого типа предъявляется достаточно жёсткие требования.
Основными подразделениями в кулинарном деле являются: горячее производство, холодный цех, пекарня, моечная. [33]
Горячие цеха, как правило, оборудованы электрическими плитами, жарочными шкафами, фритюрницами. Таким образом, технологические процессы данного производства это: жарка с использованием растительных и животных жиров, приготовление пищи во фритюре, варка овощей и мясных продуктов. При таком производстве через вентиляционные системы выделяются в атмосферу такие загрязняющие вещества как оксид углерода, оксиды азота, акролеин и растительное масло.
К технологическим процессам холодного цеха относят такие процессы как приготовление салатов и мясных полуфабрикатов. При этом вредные выбросы в атмосферу отсутствуют.
Основное оборудование пекарни это духовки и хлебопекарные печи. Основные технологические процессы это подготовительный процесс, при котором происходит замес дрожжевого теста, формовка и расстойка тестовых заготовок, и сам процесс выпекания. Под процессом расстойки понимают процесс интенсивного брожения сформованных тестовых заготовок перед выпечкой. [31]
При подготовительном процессе образуются ацетальдегид, уксусная кислота, этанол, пыль мучная. При процессе выпекания образуются оксиды азота, оксид углерода, ацетальдегид, уксусная кислота, этанол. В случае использования в данном процессе растительных или животных жиров образуются также такие вещества как масло растительное и акролеин. Также при выпечки могут использоваться разрыхлители (пекарский порошок, состоящий из пищевой соды и лимонной кислоты или винного камня). Для выпекания печенья и тонких пирогов используется углекислый аммоний, при его использовании выделяется аммиак.
В моечных соответственно используются моечные машины. В процессе мойки используются щелочные моющие растворы. Таким образом, выделяется гидроксид натрия.[33]
Таким образом, можно сделать вывод, что предприятия общественного питания являются источниками выбросов многих загрязняющих веществ. Далее рассмотрим подробнее какое негативное воздействие могут оказывать на организм человека вышеперечисленные вещества.
Воздействие оксидов азота на человека приводит к нарушению функций легких и бронхов. Воздействию оксидов азота в большей степени подвержены дети и люди, страдающие сердечно-сосудистыми заболеваниями. Оксиды азота в воздухе в зависимости от концентрации вызывают раздражение слизистых оболочек носа и глаз, начало кислородного голодания, отек легких. Концентрация оксидов азота в городах увеличивается в 10100 раз. Поступающие в атмосферу оксиды азота сохраняются в ней в течение 34 дней. [7] В результате фотохимических реакций на солнечном свету оксид азота образует диоксид азота NО2, который представляет наибольшую опасность и вместе с углеводородами является причиной образования токсических туманов, называемых смогами. Оксиды азота, улетучивающиеся в атмосферу, представляют серьезную опасность для экологии, так как вызывают кислотные дожди и сами являются токсичными веществами, вызывающими раздражение слизистых оболочек.
Двуокись азота (диоксид азота) - газ красно-бурого цвета с характерным острым запахом. Диоксид азота представляет собой один из основных загрязнителей атмосферного воздуха, образующийся в процессе горения при высоких температурах. Также диоксид азота образуется, как было сказано ранее, на солнечном свету из NO.
Негативное влияние диоксида азота заключается в том, что он:
- в маленьких концентрациях он раздражает дыхательные пути, в больших вызывает отёк лёгких;
- при больших концентрациях обладает удушливым запахом и воздействует на слизистые оболочки глаз и носа, а также на нервную и сердечно-сосудистую системы человека, кроветворные органы и печень;
- вызывает изменения состава крови - уменьшает содержание в крови гемоглобина;
- усиливает действие канцерогенных веществ, способствуя возникновению злокачественных новообразований;
- образует в результате взаимодействия с водой азотную кислоту, которая является сильным коррозионным агентом. [14]
Двуокись азота негативно воздействует и на человека и на растения. Приостанавливает рост и вызывает поражение зерновых.
Окись азота и двуокись азота играют основную роль в формировании кислотных дождей (в Европе они образуют до 50% кислот, выпадающих с дождями). Кислотные дожди вызвали усыхание больших лесных массивов в Северной Европе. Они также являются причиной изменений в почвенной флоре - происходит развитие азотолюбивых видов, взамен других видов - и чрезмерного развития микрофлоры в морях и озерах, что создает недостаток кислорода в воде, и губительно действует на живые организмы.[31]
По степени воздействия на организм человека токсичные вещества разделяют на четыре класса: чрезвычайно опасные; высокоопасные; умеренно опасные; малоопасные. Оксиды азота относятся ко 2 классу опасности.
В РФ с 1 февраля 2006 года для разовых концентраций диоксида азота установлен норматив на уровне 200 мкг/м3, до 2006 года предельная допустимая максимальная разовая концентрация составляла 85 мкг/м3.[5]
Оксид углерода - (окись углерода, угарный газ CO) газ без цвета и запаха, образующийся при сгорании органических видов топлива (древесина, уголь, бумага, масла, бензины, газы, взрывчатые вещества и др.) в условиях недостатка О2.[33]
Угарный газ вдыхается вместе с воздухом и поступает в кровь, где конкурирует с кислородом за молекулы гемоглобина. Угарный газ обладает сродством к гемоглобину в 200-250 раз выше, чем кислород. При взаимодействии он образует вещество карбоксигемоглобин, то есть гемоглобин, связанный с моноксидом углерода (CO). Образуется достаточно крепкая связь, разрушение которой происходит очень медленно. Чем больше СО содержится в воздухе, тем больше молекул гемоглобина связывается с ним и тем меньше кислорода достигает клеток организма. Нарушается способность крови доставлять кислород к тканям, вызываются спазмы сосудов, снижается иммунологическая активность человека, сопровождающиеся головной болью, потерей сознания и смертью. По этим причинам СО в повышенных концентрациях представляет собой смертельный яд.
В малых концентрациях угарный газ вызывает головную боль, снижение аппетита, бессонницу, раздражительность, вялость, боли в области сердца, нарушения внимания и памяти.
Кроме того СО способен влиять на структуру гемоглобина, затрудняя процесс отдачи кислорода в тканях. Вследствие чего ухудшается транспортная функция крови. Снижение содержания кислорода в крови и органах (гипоксия) особенно заметно сказывается на деятельности мозга, сердца, печени и почек. Так как в них процессы метаболизма происходят наиболее интенсивно. Угарный газ, также способен оказывать непосредственное токсическое воздействие на ткани. Он конкурирует с кислородом и в мышцах, связывание CO с миоглобином в сердце приводит к нарушению его сократительной способности и, в конечном итоге, нарушает кровоснабжение и доставку кислорода другим органам. [18]
Больше всего угарный газ оказывает вредное воздействие на ЦНС. При вдыхании небольшой концентрации (до 1 мг/л) появляются тяжесть и ощущение сдавливания головы, сильная боль во лбу и висках, головокружение, дрожь, жажда, учащение пульса, тошнота, рвота, повышение температуры тела до 38-40°С. Слабость в ногах свидетельствует о распространении действия на спинной мозг.
При отравлении угарным газом мозг и мышцы (включая сердечную) не могут действовать в полную силу без достаточного поступления кислорода. Сердце и легкие должны работать с большей нагрузкой для того, чтобы компенсировать снижение поступления кислорода в организм. Угарный газ также повреждает стенки артерий и увеличивает риск сужения коронарных сосудов, что может привести к сердечным приступам.[14]
Оксид углерода относится к 4-му классу опасности. ПДК угарного газа в воздухе рабочей зоны 20 мг/м3. [6] В атмосферном воздухе города максимальная разовая концентрация угарного газа (за 20 мин) 5 мг/м3, среднесуточная ПДК 3 мг/м3. Естественный уровень содержания оксида углерода в атмосферном воздухе 0,01-0,9 мг/м3.[5]
Акролеин - бесцветная легколетучая жидкость с резким запахом. Как и угарный газ, является продуктом неполного сгорания. Относится к веществам общетоксического действия, образующееся при горении жира.
Негативное влияние акролеана заключается в том, что его пары:
- раздражают дыхательные пути, кожные покровы и слизистые, вызывают слезотечение;
- повышает риск развития онкологических заболеваний;
- вызывает поражение нервной системы;
- выведение из организма метаболитов акролеина может приводить к воспалению мочевого пузыря циститу;
- способствуют развитию астмы;
- могут вызвать отек легких, а при больших концентрациях - смерть.[18]
Максимально разовая ПДК в воздухе 0,03 мг/м3, среднесуточная ПДК в воздухе 0,01 мг/м3. Акролеин относится к I классу опасности (чрезвычайно опасные вещества).[6]
Этанол (Этиловый спирт, С2Н5ОН) бесцветная, легко испаряющаяся жидкость с характерным запахом и жгучим вкусом. Относится к 3 классу опасности.
В зависимости от дозы, концентрации, пути попадания в организм и длительности воздействия этанол может обладать наркозным и токсическим действием. В несоизмеримых к массе тела дозах и концентрациях приводит к острому отравлению и смерти (смертельная разовая доза 4-12 грамм этанола на килограмм веса). Также этанол оказывает следующие негативные воздействия на организм человека:
- при высоких концентрациях, попадая в кровь разрушает эритроциты, способствует развитию гипертонии и других заболеваний сердца, может вызывать его остановку;
- разрушает клетки печени, способствует появлению стеатогепатита и цирроза печени;
- разрушает мозг и нервные клетки;
- при многократном употреблении вызывает алкоголизм;
- вызывает повреждения слизистой оболочки желудка и тонкого кишечника, особенно в двенадцатиперстной и тощей кишках.
- способствует появлению диареи и развитию некротизирующего панкреатита с нередким летальным исходом;
- вызывают хроническую почечную недостаточность;
- проникает в яйцеклетки и сперматозоиды, нарушая генетические структуры
- повышает риск возникновения онкологических заболеваний;
- при концентрации выше 70% (по объему) прижигает кожу и слизистые оболочки.[18]
Этанол горючее вещество, смесь его паров с воздухом взрывоопасна, температура воспламенения 13 °С, температурные пределы взрываемости: 11-41 °С. ПДК в воздухе 5 мг/м3, в воздухе рабочей зоны 2000 мг/м3.[33]
Ацетальдегид - (уксусный альдегид, CH3CHO) - органическое соединение, представляющее собой бесцветную легкокипящую жидкость с резким удушливым запахом. Пары ацетальдегида оказывают сильное разрушительное действие на весь организм. Легко окисляется в уксусную кислоту, является основным метаболитом этанола. С воздухом ацетальдегид образует взрывчатые смеси. Раздражает слизистые оболочки, вызывает пневмонию и отек легких. Максимальная разовая предельно допустимая концентрация в атмосферном воздухе населенных мест - 0,01 мг/м3. Обладает канцерогенным действием, относится к 3 классу опасности.[28]
Уксусная кислота - (Этановая кислота, CH3COOH) бесцветная жидкость с характерным резким запахом и кислым вкусом. Действие уксусной кислоты на биологические ткани зависит от степени её разбавления водой. Опасными считаются растворы, в которых концентрация кислоты превышает 30 %.
- Пары уксусной кислоты раздражают слизистые оболочки верхних дыхательных путей.
- Концентрированная уксусная кислота способна вызывать химические ожоги, инициирующие развитие коагуляционных некрозов прилегающих тканей различной протяженности и глубины.
Токсикологические свойства уксусной кислоты не зависят от способа, которым она была получена. Смертельная доза составляет примерно 20 мл. Порог восприятия запаха уксусной кислоты в воздухе находится в районе 0,4 мг/л. ПДК в атмосферном воздухе составляет 0,06 мг/м, в воздухе рабочих помещений 5 мг/м.[14]
Гидроксид натрия (каустическая сода, каустик, едкий натр, едкая щёлочь, NaOH) - самая распространенная щёлочь, является едким и коррозионноактивным веществом.
Действие щёлочей на организм обусловлено прежде всего их способностью поглощать воду из тканей, а также растворять тканевые белки при попадании растворов или пыли щелочей на кожу и слизистые оболочки. При попадании на кожу вызывает химические ожоги, а при длительном воздействии может вызывать язвы и экземы. Сильно действует на слизистые оболочки. Опасно попадание едкого натра в глаза, при этом также поражаются не только поверхностные ткани (роговица), но и более глубокие. Исходом может быть слепота.
Предельно допустимая концентрация аэрозоля едкого натра в воздухе рабочей зоны производственных помещений (ПДК) 0,5 мг/м3.Едкий натр относится к вредным веществам 2-го класса опасности по ГОСТ 12.1.007. Производственные помещения должны быть оборудованы приточно-вытяжной вентиляцией, обеспечивающей концентрацию аэрозоля едкого натра в воздухе рабочей зоны не выше установленной ПДК.[7]
Бенз(а)пирен химическое соединение, представитель семейства полициклических углеводородов, вещество первого класса опасности. Бенз(а)пирен это кристаллическое вещество светло-желтого цвета с температурой плавления 180°С. В организм бенз(а)пирен может поступать через кожу, органы дыхания, пищеварительный тракт и трансплацентарным путём.
Доказано, что бенз(а)пирен является сильным канцерогеном, в частности, вызывает лейкемию, и оказывает мутагенное действие (врожденные уродства). Для бенз(а)пирена не существует пороговых концентраций - он представляет угрозу для здоровья в любом количестве, так как обладает свойством биоаккумуляции.[33]
- Выбросы ЗВ от прачечных и химчисток
Сегодня отели категории 45 звёзд практически не могут обойтись без собственных прачечных и химчисток. Иметь собственную прачечную или химчистку в гостинице это сегодня высокий уровень сервиса, серьёзная услуга.
Для предприятий химчистки и прачечных законодательством РФ предусмотрен ряд требований и ограничений. Здание, в котором находится химчистка, должно располагаться не менее, чем в пятидесяти метрах от жилых строений. Так как химчистка и прачечная «хозяйства» тематически связанные между собой, ориентированные на предоставление гостю смежных услуг, то и располагаются они обычно неподалёку друг от друга. Как правило, в гостинице они могут быть даже объединены одним помещением, но всё-таки желательно их разграничить, и выделить для химчистки отдельную комнату. Это диктуют особенности работы с химическими препаратами, взаимодействие с которыми должно, по возможности, исключаться. Помимо того, в воздухе присутствуют запахи химикатов, а, следовательно, требования к системе вентиляции также повышены.
Следует заметить, что к химчистке предъявляются более жёсткие экологические условия: хорошая вытяжка, высокий порог (так как многие химикаты тяжелее воздуха и оседают на уровне пола) и т. д. Кроме того, в химчистке требуется место для утилизации отходов шлама, ведь в отличие от прачечной, где сток воды идёт прямо в канализацию, здесь использованные химикаты не должны попадать в окружающую среду. Для устройства прачечной следует выделять площадь порядка 4550 м2 на каждые сто номеров отеля, а если еще добавляется и химчистка то требуется помещение общей площадью 100 м2.
Химчистка это процесс очистки одежды, использующий какой-либо
растворитель (кроме воды). Основное назначение химической чистки: удаление грязи и пятен, которые не поддаются обычной стирке.
Вначале для химчистки использовались нефтепродукты. Их лёгкая воспламеняемость приводила к частым пожарам и взрывам. На сегодняшний день наиболее распространенной является химическая чистка именно перхлорэтиленом , он устойчив, негорюч и превосходно удаляет загрязнения, практически не нанося ущерб одежде.[33] Также в качестве альтернатив применяется аквачистка, где вместо растворителя используется вода и моюшие средства - ПАВ (поверхностно-активные вещества). Менее применяется чистка углеводородными (нефтяными) растворителями. До недавнего времени специализированные предприятия, обрабатывавшие изделия из кожи и меха, применяли в качестве растворителя трихлортрифторэтан (валклен, или фреон) - ввиду его меньшей агрессивности. Однако, в силу запрета на его производство, фреон уступает сейчас место углеводородным растворителям и охлажденному перхлорэтилену. Охлажденный перхлорэтилен менее агрессивен и его применение снижает риск повреждения изделий в машине химчистки. Среди новых направлений - чистка сжиженным углекислым газом, но эта технология еще только зарождается, и ее действенность будет определена временем.
Помимо растворителей, в химической чистке участвуют иные химматериалы: пятновыводители и моющие средства. Подбор химматериалов зависит от используемой технологии (перхлорэтилен, углеводородные растворители или аквачистка) и от обрабатываемого ассортимента (кожа, мех, текстиль и пр.).
Можно выделить пять основных стадий технологического процесса химической чистки - прием изделий, сортировку поступивших изделий, предварительную зачистку, чистку в машине (включающую отжим и сушку) и отделочные операции, предусматривающие последующую зачистку, глажение и упаковку. Для изделий из кожи и замши отделочные операции могут включать также жирование, тонирование и нанесение (восстановление) пленочных покрытий.[32]
Перхлорэтилен - это негорючее соединение, устойчивое при температурах до 500°С при отсутствии катализатора, влаги и кислорода, но медленно разлагающееся при контакте с водой с образованием трихлоруксусной и соляной кислот. Обладает резким неприятным запахом. Перхлорэтилен токсичен, обладает наркотическим действием, относится к веществам умеренно опасным (3-й класс опасности по ГОСТ 12.1.007). ПДК в воздухе рабочей зоны составляет 10 мг/м куб.[33]
- Выбросы ЗВ от автостоянок
На территории гостиницы также может располагаться внутренняя или внешняя автостоянка. На настоящий момент к размещению автостоянок предъявляется ряд требований, которые касаются таких вопросов как:
- обеспечение нормативных параметров внутреннего воздуха;
- обеспечение пожаровзрывобезопасности;
- проведение мероприятий, направленных на охрану окружающей среды.
В соответствии с СанПиН 2.1.1.012-99 автостоянки индивидуального транспорта вместимостью более 300 машино-мест следует размещать вне территории жилой застройки с соблюдением санитарно-защитных разрывов.
Крытые автостоянки должны располагаются ниже уровня земли и требуют установки систем механической вентиляции. Полуоткрытые автостоянки являются надземными сооружениями, имеющими каркас, перекрытия и кровлю, а наружные стены могут частично или полностью отсутствовать. Вентиляция полуоткрытых стоянок может быть естественной или смешанной.[22]
Естественная вентиляция работает за счет естественных условий: различной температуры воздуха, его давления на разных уровнях системы. Смешанный исключает недостатки естественной, так как помимо этого вида на автостоянках присутствует и искусственная система вентиляции, которая позволяет управлять режимом ее работы: на удаление воздуха из помещения или наоборот. Данная вентиляционная система имеет в своем составе электровентиляторы, нагревающее оборудование, фильтры и др. Искусственная система вентиляции создается в тех случаях, где недостаточно производительности естественной системы вентиляции. [8]
Система вентиляции закрытой автостоянки выполняет следующие основные функции:
- поддержание предельно допустимой концентрации оксида углерода (СО);
- предотвращение образования взрывоопасных концентраций легковоспламеняющихся газов.
На крытых автомобильных стоянках большое влияние на обеспечение безопасности оказывает фактор шума. Из-за высокого уровня шума вблизи автостоянки, создаваемого приточными и вытяжными вентиляторами в совокупности с исключительной звукоотражающей способностью применяемых в строительстве парковок материалов можно просто не услышать приближающийся автомобиль, что представляет собой безусловный риск для людей, проходящих по территории парковки. В этой связи в целях обеспечения безопасности целесообразна установка шумоглушителей.
Автостоянка является источником более чем 200 наименований опасных загрязняющих веществ. К их числу можно отнести такие, как оксиды углерода, окислы азота, диоксиды серы, углеводороды, альдегиды, приземный озон, сажа и тяжелые металлы.[22]
Углеводороды образуются при неполном сгорании топлива. Автотранспорт ответственен примерно за 39 процентов выбросов углеводородов в индустриально развитых странах. Одним из наиболее опасных углеводородов является бенз(а)пирен. Как указывалось ранее (п.1.1.), для бенз(а)пирена не существует пороговых концентраций - он представляет угрозу для здоровья в любом количестве.
В верхних слоях атмосферы озон присутствует естественно (озоновый слой), и это - преимущество, защищающее землю от опасного космического излучения. Ниже озон является загрязнителем, он вредит здоровью людей, природе, естественным и искусственным строительным материалам.
Формирование приземного озона - косвенное последствие загрязнения, которое вызывают машины. Он получается в результате фотохимических реакций, в которых участвуют оксиды азота и углеводороды, выбрасываемые автомобилями. Озон один из основных составных фотохимического смога, который влечет глазные заболевания, головные боли, кашель, легочные заболевания и др. Наиболее подвержены негативному воздействию астматики и дети. Известны случаи, когда смог такого типа убил 8 человек, а еще 200 попали в больницы. Количество тропосферного (приземного) озона удвоились в северном полушарии по сравнению с прошлым столетием.
Соединения серы (SO, SO2 и другие) вызывают окисление почв и вод, отрицательно воздействуют на здоровье человека и природной среды.
Альдегиды - группа веществ, появляющихся в выхлопах машины в результате неполного сгорания топлива. Они обычно имеют едкий запах и ответственны за большую часть запаха, ассоциируемого с дорожным движением. Альдегиды негативно воздействуют на здоровье человека. Один из самых распространенных - формальдегид - вызывает раздражение глаз, носоглотки, насморк, кашель, затруднение дыхания. Дети к нему наиболее чувствительны. Есть доказательства, подтверждающее канцерогенность формальдегида для животных, но в настоящее время это не подтверждено достоверно для людей. Дизельные двигатели выбрасывают больше альдегидов, чем бензиновые.
Сажа - Это в основном маленькие частицы угля, абсорбирующие потенциально опасные вещества (в частности, полиароматические углеводороды, вызывающих рак). Частицы достаточно малы, чтобы проникать глубоко в легкие при дыхании. Дизельные моторы продуцируют значительно больше частиц, чем бензиновые. Частицы в воздухе могут обострять респираторные заболевания, такие, как бронхит и астма.
Машинами выбрасывается такие тяжелые металлы как никель, ртуть, хром, кадмий, цинк, железо, мышьяк, марганец и бериллий. Некоторые из них - мышьяк, ртуть, кадмий и свинец - могут быть высокотоксичными в очень малых концентрациях. Накопление тяжелых металлов в почвах изменяет их химические и биологические свойства. Металлы аккумулируются в живых организмах и попадают в пищевые цепи. В частности, через коровье молоко и рыбу они попадают в человеческий организм и влекут ряд тяжелых заболеваний. Основные источники выбросов тяжелых металлов - это металлургия, электростанции, мусоросжигательные заводы и автомобильный поток. Тяжелые металлы могут оставаться в атмосферном воздухе до 10 дней и переноситься на расстояние до 2000 км.[29]
- Выбросы ЗВ от бани и сауны
В настоящее время сауны и бани очень популярны среди разных возрастных и социальных групп людей. Поэтому многие гостиницы считают необходимым иметь данные подразделения в своих комплексах. Для саун нормированию подлежат выбросы загрязняющих веществ, содержащихся в отходящих дымовых газах: оксид углерода, диоксид азота, оксид азота, диоксид серы, твердые частицы (летучая зола и несгоревшее топливо), сажа, бенз(а)пирен.
1.2. Фильтры гостиничных комплексов
Для уменьшения вредных выбросов от источников гостиниц, в том числе тех, которые указывались в предыдущих разделах, гостиницы устанавливают воздушные фильтры.
Воздушный фильтр представляет собой устройство для очистки приточного, а в ряде случаев, и вытяжного воздуха. Приточная система вентиляции предназначена для нагнетания свежего воздуха внутрь здания. Вытяжная вентиляционная система выполняет обратную функцию она удаляет загрязненный воздух из здания.
Конструктивное решение фильтра определяется характером пыли (загрязнений) и требуемой чистотой воздуха. По размерам эффективно улавливаемых пылевых частиц в европейских стандартах фильтры делятся на три класса:
- фильтры грубой очистки (задерживают частицы величиной 10 мкм и более);
- тонкой (1 мкм и более);
- особо тонкой очистки. (1 мкм - 0.1 мкм).
В зависимости от эффективности очистки в каждом классе существует несколько типов фильтров. В гостиничных комплексах используются фильтры грубой очистки. Фильтровальным материалом в фильтрах грубой очистки служат металлизированные сетки или ткани из синтетических волокон (например, акрила). Конструктивно они могут быть оформлены в виде панелей (ячеек), фильтрующих прокладок, гофрированных листов и пр.[34]
Для определения эксплуатационных характеристик фильтров для гостиниц в зарубежной практике, а в последнее время и отечественными разработчиками, используется европейский стандарт EUROVENT 4/5 (EUROVENT Европейский комитет изготовителей вентиляционного и пневматического оборудования), при этом фильтры маркируются классом EUROVENT (EU) . В отечественной практике для фильтров грубой очистки с 1994 г. действует стандарт ЕN779.
Для предприятий гостиничного типа используются фильтры класса ЕU2, ЕU3, которые предназначены для уменьшения запыленности воздуха, подаваемого в вентилируемые помещения с обычными требованиями, и применяются в случае, если концентрация пыли в районе расположения здания гостиницы или вблизи места забора воздуха превышает ПДК, установленную санитарными нормами. Такие фильтры применяются для защиты теплообменников, оросительных камер, приборов автоматики и другого оборудования вентиляционных камер от запыления, а также компрессоров и другого оборудования холодильных камер, для сведения к минимуму загрязнения стен и потолков около воздухораспределительных устройств. Также фильтры грубой очистки могут применяться в качестве первой ступени очистки перед более эффективными фильтрами.[10]
В таблице 1 представлены технические характеристики фильтров, применяемых в гостиничных комплексах, а именно: ФяРБ - сухие фильтры с гофрированными стальными сетками; ФяВБ - сухие фильтры с гофрированными винипластовыми сетками; ФяУБ - сухие фильтры со стекловолокнистым фильтрующим материалом (Paint Stop), ФяЖ сухие фильтры с металлическими сетками-пленками.
Табл. 1.
Технические характеристики фильтров
|
МАРКА, ИНДЕКС |
КЛАСС |
ПРОПУСКНАЯ |
СОПРОТИВЛЕНИЕ, ПА |
СРЕДНЯЯ |
РАЗМЕРЫ, ММ |
|||
|
НАЧ. |
КОН. |
ВЫС. |
ШИР. |
ГЛУБ. |
||||
|
ячейковые ПЛОСКИЕ ФИЛЬТРЫ |
||||||||
|
ФЯРБ |
|
1540 |
50 |
150 |
75 |
514 |
514 |
48 |
|
ФИЛЬТРЫ ячейковые ПЛОСКИЕ жироуловители |
||||||||
|
ФЯЖ |
EU2 |
810-3150 |
20+/-35 |
140 |
45+/-48 |
300-500 |
500-592 |
20-48 |
Фильтры ячейковые типа ФяРБ, ФяВБ, ФяУБ (рис.1) - предназначены для очистки наружного и рециркуляционного воздуха в системах кондиционирования и приточной вентиляции, а также в различных технологических агрегатах и системах.
Фильтры типа ФяРБ, ФяВБ, ФяУБ.

Рис.1
Фильтры типа Фя состоят из оцинкованной рамки в которую уложен фильтрующий слой (материал). Фильтры ФяРб и ФяВб являются регенерируемыми. Фильтры могут монтироваться в плоских или угловых панелях или другом оборудовании.
Фильтры ячейковые жироуловители типа ФяЖ предназначены для очистки вытяжного воздуха от масляных и жировых аэрозолей, удаляемых местными отсосами от кухонных плит в столовых, кафе, ресторанах, барах и т.п. [10]
Фильтры ячейковые жироуловители типа ФяЖ, изображенные на рис.2 относятся к сухим фильтрам с фильтрующим материалом, состоящим из набора углеродистых или нержавеющих сеток (обозначение фильтра соответственно - оц, он, нн).
Фильтры типа ФяЖ.

Рис.2
Корпус фильтра изготовлен из оцинкованной (нержавеющей) стали. Фильтрующий материал данного типа фильтра представляет собой слой из специальной металлической сетки-пленки, изготовленной из нержавеющей или низкоуглеродистой стали. При толщине фильтрующего слоя 48 мм. Материал имеет пылеемкость 560 г/м2 и эффективность очистки 60% .[34]
- МЕТОДЫ КОНТРОЛЯ ОКРУЖАЮЩЕЙ СРЕДЫ
2.1. Экологический контроль, его цели, задачи и методы
Экологический контроль - это определенный вид деятельности государственных и общественных органов по наблюдению за состоянием окружающей природной среды, ее изменениями под влиянием хозяйственной и иной деятельности, проверке выполнения планов и мероприятий по охране природы, рациональному использованию природных ресурсов, оздоровлению природы, соблюдению требований природоохранного законодательства и нормативов качества окружающей природной среды. [33]
В соответствии с действующим законодательством основными задачами экологического контроля являются:
- наблюдение за состоянием окружающей природной среды и ее изменением под влиянием хозяйственной и иной деятельности;
- проверка выполнения планов и мероприятий по охране природы, рациональному использованию природных ресурсов, оздоровлению окружающей природной среды, соблюдение требований природоохранительного законодательства. [19]
Таким образом, экологический контроль состоит из двух тесно связанных этапов: сбор и обработка необходимых исходных данных и осуществление мероприятий по предупреждению и устранению экологических правонарушений на основе информации, полученной в процессе наблюдений.
Для реализации первого этапа используется мониторинг окружающей среды. Для решения задач второго этапа существуют две формы предупредительная и карательная.
Предупредительная форма экологического контроля включает в себя разработку и введение в действие нормативов качества окружающей природной среды и рационального использования природных ресурсов. К данной форме относится соблюдение предприятием всех законодательных норм и правил, в том числе в соответствии с Законом РФ «Об охране атмосферного воздуха» юридические лица, имеющие стационарные источники выбросов загрязняющих веществ в атмосферный воздух, должны осуществлять разработку ПДВ и предельно допустимых нормативов вредного физического воздействия на атмосферный воздух.
Карательная форма экологического контроля применяется в тех случаях, когда последствия правонарушений не позволяют ограничиться только предупреждением. Она выражается в различных видах юридической ответственности.
Методы осуществления экологического контроля проявляются в наблюдении за состоянием объектов контроля; проведении проверок по соблюдению законодательства и выполнению обязательных мероприятий в области охраны окружающей среды; пресечение экологически вредных действий; выдаче разрешений на природопользование, выброс, сброс, захоронение вредных веществ; установление нормативов качества окружающей среды и лимитов вредного воздействия на нее; привлечение к административной ответственности в виде наложения штрафа за нарушение закона.[1]
Методом наблюдения за состоянием объектов контроля является мониторинг окружающей среды. Разработка проекта ПДВ и проведение инвентаризации являются методом экологического контроля за соблюдением установленных законодательством норм и правил.
- Экологический мониторинг, его цели и задачи
Термин «мониторинг» впервые появился в рекомендациях специальной комиссии СКОПЕ (научный комитет по проблемам окружающей среды) при ЮНЕСКО в 1971 году, а в 1972 году уже появились первые предложения по Глобальной системе мониторинга окружающей среды (Стокгольмская конференция ООН по окружающей среде). Однако такая система не создана по сей день из-за разногласий в объемах, формах и объектах мониторинга, распределении обязанностей между уже существующими системами наблюдений.
Экологический мониторинг (мониторинг окружающей среды) это комплексная система наблюдений за состоянием окружающей среды, оценки и прогноза изменений состояния окружающей среды под воздействием природных и антропогенных факторов.
Система экологического мониторинга должна накапливать, систематизировать и анализировать информацию:
- о состоянии окружающей среды;
- о причинах наблюдаемых и вероятных изменений состояния (то есть об источниках и факторах воздействия);
- о допустимости изменений и нагрузок на среду в целом;
- о существующих резервах биосферы.
Таким образом, в систему экологического мониторинга входят наблюдения за состоянием элементов биосферы и наблюдения за источниками и факторами антропогенного воздействия. В соответствии с приведенными определениями и возложенными на систему функциями, мониторинг включает три основных направления деятельности:
- наблюдения за факторами воздействия и состоянием среды;
- оценку фактического состояния среды;
- прогноз состояния окружающей природной среды и оценку прогнозируемого состояния.
Следует принять во внимание то, что сама система мониторинга не включает деятельность по управлению качеством среды, но является источником необходимой для принятия экологически значимых решений информации. [33]
Основные задачи экологического мониторинга:
- наблюдение за источниками антропогенного воздействия;
- наблюдение за факторами антропогенного воздействия;
- наблюдение за состоянием природной среды и происходящими в ней процессами под влиянием факторов антропогенного воздействия;
- оценка фактического состояния природной среды;
- прогноз изменения состояния природной среды под влиянием факторов антропогенного воздействия и оценка прогнозируемого состояния природной среды.
Экологический мониторинг окружающей среды может проводиться на различных уровнях пространственной организации: на уровне промышленного объекта, города, области, края, республики в составе федерации, а также на национальном уровне.
При разработке проекта экологического мониторинга ЗВ в атмосферу необходима следующая информация:
- источники поступления ЗВ в окружающую природную среду, а также характеристика выбросов ЗВ в атмосферу промышленными, энергетическими, транспортными и другими объектами;
- переносы загрязняющих веществ процессы атмосферного переноса;
- данные о состоянии антропогенных источников выбросов мощность источника эмиссии и его месторасположение, аэродинамические условия поступления эмиссии в окружающую среду.[4]
Информация об источниках выбросов ЗВ, количественном и качественном составе выбросов и их аэродинамических условиях поступления в окружающую среду обеспечивается также при инвентаризации источников выбросов. Таким образом, результаты инвентаризации могут послужить источником данных для разработки системы мониторинга предприятия.
- Разработка проекта ПДВ.
Разработка проекта предельно допустимых выбросов (ПДВ) - научно - обоснованная оценка воздействия производственной деятельности предприятия, имеющего стационарные источники выбросов в атмосферу, на загрязнение окружающей природной среды.
Разработка ПДВ осуществляется на основании Закона Российской Федерации "Об охране атмосферного воздуха" (№ 96 - ФЗ), "Методики расчета концентраций в атмосферном воздухе вредных веществ, содержащихся в выбросах предприятий" ОНД-86, Санитарных норм проектирования промышленных предприятий СН-244, ГОСТа 17.2.3.02-78 и других нормативных правовых и методических документов. ПДВ устанавливаются Ростехнадзором для конкретного стационарного источника выбросов вредных (загрязняющих) веществ в атмосферный воздух и их совокупности (организации в целом). [38]
Предельно допустимые выбросы максимальная норма выброса загрязняющих веществ в атмосферу. Для предприятий расчет ПДВ ведется с учетом экологических нормативов на воздух и предельной допустимой концентрацией (ПДК) вредных веществ.
Разработка ПДВ является мерой, которая позволяет снижать количество выбросов, проводить их контроль и устанавливать их качественный и количественный состав. Также расчет ПДВ помогает определить размер платежей, которые должны внести предприятия, за загрязнение атмосферного воздуха.
Основной задачей проекта ПДВ является разработка оптимальных мероприятий по защите атмосферы, обеспечивающих снижение приземных концентраций вредных веществ в жилой зоне до нормируемых величин. При этом для каждого источника выделения вредных веществ в атмосферу должен быть установлен такой ПДВ, чтобы суммарная предельная концентрация указанных веществ с учетом фонового загрязнения не превышала санитарных норм. Рассмотрим подробнее процесс разработки ПДВ.[15]
Разработка проекта ПДВ осуществляется в несколько этапов. Сначала проводится первичная оценка различных источников загрязнения. В ходе этого этапа определяются возможные источники образования и выделения в атмосферу загрязняющих веществ, приблизительная номенклатура загрязняющих веществ и объем выбросов. Также выявляются объекты, попадающие в нормативную санитарно-защитную зону предприятия. На основании полученных данных с заказчиком согласовываются сроки проведения работ и их стоимость, после чего заключается договор на разработку и согласование тома проекта ПДВ и получение разрешения на выбросы загрязняющих веществ.
Затем осуществляется основная работа, включающая инвентаризацию источников выбросов, проведение различных замеров, выполнение комплекса расчетов и разработку проекта ПДВ. Разработанный проект нормативов предельно допустимых выбросов согласовывается в Ростехнадзоре после предварительного согласования во всех органах Роспотребнадзора (иногда может потребоваться согласование и в других структурах или, наоборот, согласование проекта в некоторых структурах может быть необязательным). На основании согласованного проекта ПДВ выдается разрешение на выбросы загрязняющих веществ в атмосферный воздух на срок до пяти лет. Проект разрабатывается сроком на 5 лет.
Срок разработки проекта ПДВ может составлять от 3 недель до 6 месяцев в зависимости от сложности работ, типа и расположения объекта (постановление Правительства РФ от 16.06.2000 № 461). Стоимость разработки проекта ПДВ определяется на основании инвентаризации источников выбросов и зависит от сложности и объема работы.[38]
Таким образом, при разработке нормативов ПДВ можно выделить следующие крупные этапы:
- проведение инвентаризации источников выброса загрязняющих веществ в атмосферу;
- разработку нормативов ПДВ;
- получение разрешения на выброс.
Моя работа посвящена основному этапу разработки проекта ПДВ - инвентаризации источников выброса загрязняющих веществ. Рассмотрим подробнее этот процесс.
- Инвентаризация источников выбросов ЗВ в атмосферу
Инвентаризация выбросов (в соответствии с ГОСТ 17.2.1.0477) - это систематизация сведений о распределении источников на территории предприятия, параметрах источников выбросов, качественном и количественном составе выбросов загрязняющих веществ (ЗВ) в атмосферу.
Основной целью инвентаризации выбросов загрязняющих веществ является получение исходных данных для:
- оценки степени влияния выбросов загрязняющих веществ предприятия на окружающую среду (атмосферный воздух);
- установления предельно допустимых норм выбросов загрязняющих веществ в атмосферу как в целом по предприятию, так и по отдельным источникам загрязнения атмосферы;
- организации контроля соблюдения установленных норм выбросов загрязняющих веществ в атмосферу;
- оценки состояния пылегазоочистного оборудования предприятия;
- оценки экологических характеристик, используемых на предприятии технологий;
- оценки эффективности использования сырьевых ресурсов и утилизации отходов на предприятии;
- планирования воздухоохранных работ на предприятии.
Инвентаризация выбросов проводится на предприятии не позднее, чем через год со времени ввода в эксплуатацию (если проектом не предусмотрен больший срок выхода на проектную мощность).
Инвентаризация должна проводиться периодически, один раз в 5 лет. В случае реконструкции или изменения технологии предприятие проводит уточнение проведенной ранее инвентаризации. Результаты инвентаризации являются основой для разработки проекта нормативов предельно допустимых выбросов.[9]
При инвентаризации источников выбросов должны быть учтены все поступающие в атмосферу загрязняющие вещества, которые присутствуют в материальном балансе применяемых технологических процессов, от всех стационарных источников загрязнения (организованных и неорганизованных), имеющихся на предприятии, и от автотранспорта. Производственные затраты, связанные с оплатой работ по инвентаризации источников выбросов загрязняющих веществ в атмосферу, относятся на себестоимость продукции в составе общехозяйственных расходов. Определение содержания вредных компонентов в отходящем газе или воздухе расчетным методом проводится по утвержденным расчетным методикам. Приоритетным методом для проведения инвентаризации является инструментальный метод. Расчетные методики применяются при невозможности проведения инструментальных замеров, и должны быть включены в ежегодно обновляемый «Перечень документов по расчету выделений (выбросов) загрязняющих веществ в атмосферный воздух».
Перед проведением инвентаризации выбросов крупных объектов проводится предварительный анализ структуры и технологий предприятия, в результате которого определяется, для каких источников допустимо проведение инвентаризации с использованием расчетных методик, а для каких необходимо проводить инструментальные замеры.[37]
- Этапы инвентаризации источников выбросов ЗВ.
Проведение работ по инвентаризации источников выбросов в соответствии с утвержденными методами и методиками включает следующие этапы:
- Обследование промплощадки предприятия с составлением карты. с нанесением источников выбросов ЗВ и уточнением параметров источников выбросов (высота, диаметр устья, объем газо-воздушной смеси, температура);
- Оценка технического состояния газоочистного оборудования (ГОУ). Оценка эффективности очистки газов и пылеулавливания;
- Определение аэродинамических характеристик источников загрязнения атмосферы (ИЗА);
- Определение концентрации вредных компонентов в отходящем от технологического оборудования газе или воздухе инструментальным или расчетным методом в ИЗА;
- Расчет валовых и массовых выбросов с учетом нестандартности процессов с применением утвержденных методик;
- Составление технического отчета по инвентаризационному обследованию с представлением расчетно-пояснительной записки, результатами обследования, выводами и рекомендациями.
Для проведения инвентаризации источников выбросов загрязняющих веществ в атмосферу предприятие предоставляет исполнителю следующие сведения о своей производственно-хозяйственной деятельности:
- Информацию о расходе, типе, составе используемого сырья, материалов, топлива представляются в виде справки за подписью главного бухгалтера и главного технолога;
- Данные о типах, основных характеристиках установленного оборудования и чистом времени его работы в виде справки за подписью главного механика предприятия;
- Сведения о количестве, марках транспортных средств, стоящих на балансе предприятия, маршрутах рейсирования по территории предприятия, местах стоянок в виде справки за подписью уполномоченного руководителя;
- Информацию о количестве, марках, часах и режиме работы транспортных средств, не стоящих на балансе предприятия, используемых для доставки сырья и вывоза продукции;
- Характеристики неорганизованных источниках выброса загрязняющих веществ, их размер и местоположение;[13]
- Методы проведения инвентаризации
При проведении инвентаризации источников выделения и выбросов загрязняющих веществ в атмосферу могут использоваться инструментальный и расчетный методы.
Инструментальный метод заключается в непосредственном отборе проб загрязняющих веществ от источников выбросов и их последующем анализе в лаборатории, поэтому он считается более достоверным, точным и предпочтительным. При использовании этого метода инвентаризации в проект нормативов ПДВ включаются протоколы замеров концентрации по каждому источнику и веществу, оформленные в соответствии с действующим порядком, с указанием мест и продолжительности отбора проб, использованных методов определения концентрации и приборного обеспечения.
При использовании расчетного метода инвентаризации источников выделения и выброса загрязняющих веществ в атмосферу в проект нормативов ПДВ включаются расчеты, выполненные в соответствии с действующей нормативно-методической документацией, в установленном порядке согласованной с Министерством Природных Ресурсов и экологии (МПР) России. Расчеты представляются в полном объеме, отдельно по каждому источнику и ингредиенту и сопровождаются комментариями по обоснованию принятых величин и коэффициентов.[16]
Проведение инвентаризации выбросов загрязняющих веществ в атмосферу гостиницы «Октябрьская», которое будет описано далее, было проведено именно инструментальным методом.
Полнота учета в инвентаризационных данных о совокупности загрязняющих веществ, поступающих в атмосферу от организованных и неорганизованных источников выброса при осуществлении технологических процессов и хозяйственной деятельности на рассматриваемом предприятии подтверждается специальной записью, производимой руководителем этого предприятия в инвентаризационной части проекта нормативов ПДВ. Руководитель предприятия несет ответственность за полноту и достоверность представленных данных инвентаризации перед органами государственного контроля.[9]
3. ПРОВЕДЕНИЕ ИНВЕНТАРИЗАЦИИ ГОСТИНИЦЫ «ОКТЯБРЬСКАЯ»
3.1. Характеристика гостиницы «Октябрьская»
В апреле 2010 г. Сотрудниками ООО «НППФ «Экосистема» и мной была проведена инвентаризация выбросов в атмосферу от источников гостиницы «Октябрьская». Перечень источников загрязнения атмосферы и ингредиентов был определен ООО «НППФ «Экосистема» и согласован с руководством гостиницы.
Гостиница "Октябрьская" представлена двумя корпусами Октябрьским (373 номера), находящимся по адресу Лиговский просп., д. 10 и Лиговским, который находится на Лиговском просп., д. 41/83 (111 номеров) (Рис 3).[36]
Расположение гостиницы «Октябрьская» на карте.

Рис 3.
Инвентаризация источников промышленных выбросов проводилась по заявке предприятия в корпусе Октябрьском.
На сегодняшний день гостиница "Октябрьская", имеющая статус трехзвездочного отеля, оказывает разнообразный спектр услуг своим посетителям. Кроме номерного фонда в состав гостиницы входят также подразделения, деятельность которых сопровождается выбросами ЗВ в атмосферу, это оздоровительный центр с тренажерным залом и крытым бассейном, парикмахерская, собственная автостоянка, химчистка и прачечная, а также несколько объектов питания и котельная. Несмотря на это, предприятием было заявлено проведение инвентаризации выбросов только от объектов питания корпуса Октябрьского, находящихся на его территории. На первом этаже гостиницы расположен ресторанный комплекс, состоящий из лобби-бара, рассчитанного на 25 человек, зала «Ассамблея» на 130 человек , «VIP» зала на 16 человек и ресторана «Ассамблея» на 55 человек, также есть 2 кафе на 4 и 5 этажах.[36]
По данным предприятия до 2015 г. не предусмотрено строительства, реконструкции и иных мероприятий, существенно влияющих на увеличение выбросов загрязняющих веществ в атмосферу. Технологический регламент производства исключает аварийные и залповые выбросы на предприятии.
Отбор и анализ проб воздуха и оценка параметров газовоздушной смеси (ГВС) были проведены на 6 источниках по согласованию с заказчиком инструментальным методом. ГВС это газовоздушная смесь, отходящая от источника выделения загрязняющих веществ в атмосферу, а именно от вентиляционных труб. Отбор и анализ проб, а также аэродинамические исследования производились в соответствии с действующими стандартами и аттестованными Госстандартом методиками.
В ходе инвентаризации источников выбросов ЗВ было проведено обследование промплощадки гостиницы с определением источников выбросов и их характеристикой, проведены аэродинамические измерения, отбор проб ЗВ от источников с последующим определением концентрации, а также расчеты нормативов ЗВ, валовых и массовых выбросов предприятия. Эти данные в последствии будут использованы для разработки проекта ПДВ, а также могут быть учтены при создании системы мониторинга.
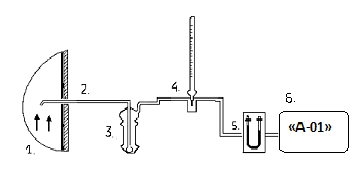
- Общая характеристика приборов используемых при инвентаризации
При измерении аэродинамических характеристик и отборе проб использовалось следующее оборудование: дифференциальный цифровой манометр «ДМЦ 01М», пневмометрическая трубка Пито, аспиратор «А-01», Аспиратор «АМ-5», газоанализатор «ЭЛАН».
- Аспиратор «А-01»
Аспиратор «А-01», изображенный на рис.4 предназначен для отбора проб воздуха с целью анализа содержащихся в нем примесей. В таблице 2 представлены основные технические характеристики прибора.
Аспиратор «А-01»

Рис. 4
Табл.2
Технические характеристики аспиратора «А-01»
|
Погрешность |
±7(до 1 л/мин); ±5 (до 20 л/мин) |
|
Индикация |
Цифровая |
|
Диапазон рабочих температур |
от -20°С до +40°С |
|
Питание |
Автономное (аккумулятор), от сети |
|
Время непрерывной работы |
4 часа, между подзарядками аккумулятора от сети - без ограничения |
|
Габариты |
230 х 190 х 120 мм |
|
Масса А-01-25 / А-01-45 |
не более 4,0 кг / не более 4,6 кг |
Достоинства аспиратора «А-01»:
- насос, не требующий смазки;
- возможность программирования времени работы;
- универсальное питание - от сети и от встроенных аккумуляторов (автономное питание);
- сигнализация разряда аккумулятора;
- встроенные электронные часы;
- простота управления;
- небольшие размеры и вес;
При помощи насоса аспиратор всасывает воздух, и одновременно измеряется его проходящий объем. Прибор позволяет отбирать пробу заданного объема, рассчитываемого по установленным значениям расхода и времени прокачки при контроле атмосферного воздуха и воздуха рабочей зоны.[21]
- Аспиратор «АМ-5»
Аспиратор «АМ-5» (Рис.3) представляет собой сильфонный насос ручного действия с объемом одного хода, равным 100 см3, предназначен для работы с трубками-концентраторами.
Аспиратор «АМ-5»

Рис.5
Прибор работает на принципе всасывания воздуха за счет предварительно сжатого сильфона и выброса воздуха из сильфона через клапан при сжатии пружины. Основные технические характеристики прибора представлены в таблице 3.
Табл.3
Технические характеристики аспиратора «АМ-5»
|
Объем всасываемого воздуха за один рабочий ход |
100 5 см3 |
|
Объем всасываемого воздуха за 1 мин при сжатом сильфоне и заглушенном отверстии для подключения трубки, определяющий герметичность аспиратора |
не более 3 см3 |
|
Габаритные размеры аспиратора АМ-5 |
155х56х90 мм |
|
Масса с чехлом |
не более 0,38 кг |
|
средний срок службы насоса |
не менее 3 лет |
|
Средняя наработка аспиратора АМ-5 на отказ |
не менее 2600 ходов |
Аспиратор сильфонный «АМ-5» предназначен для прокачивания через индикаторные трубки исследуемой газовой смеси при экспресс-определении содержания вредных веществ в воздухе рабочей зоны, в промышленных выбросах, при химических и экологических авариях. [26]
- Дифференциальный цифровой манометр «ДМЦ-01М»
Дифференциальный цифровой манометр «ДМЦ-01М» (Рис.6) - профессиональный прибор для измерения давления, разрежения и разности давлений газов, а также для определения скорости и расхода газопылевых и воздушных потоков с помощью напорной трубки «Пито».
Дифференциальный цифровой манометр «ДМЦ-01М»

Рис. 6
Применяется при технологическом и экологическом контроле выбросов различных производств, контроле вентиляции производственных помещений, аэродинамических исследованиях. [20] Основные технические характеристики представлены в таблице 4.
Табл.4
Технические характеристики «ДМЦ-01М»
|
Диапазон измерения перепада давления, мм вод. ст. (кПа) |
0... 200 (0... 2.0) |
|
Предел основной допускаемой абсолютной погрешности, не более |
±(1+0,005dP) Па или ±(0,1+0,005dP) мм вод.ст. |
|
Разрешение, мм вод. ст. (Па) |
0.01 (0.1) |
|
Номинальное напряжение питания, В |
9±0,5 |
|
Потребляемая мощность, ВА, не более |
0,3 |
|
Температура окружающей среды, °C |
0... +40 |
|
Масса, кг, не более |
1 |
|
Габаритные размеры, мм, не более |
165х83х35 |
Особенности ДМЦ-01М:
- Автоматический расчет скорости и объемного расхода газа в каждой точке измерения с выводом результатов на большой дисплей, снабженный подсветкой (параметры газохода, коэффициент напорной трубки и температура предварительно заносятся в память прибора);
- Автоматическое усреднение значений скорости и объемного расхода по всем измеренным точкам с выводом результатов на дисплей;
- После каждого измерения на дисплее индицируются: значение динамического напора в мм вод. ст. или кПа; локальная скорость в данной точке измерения в м/c; средняя скорость в м/с за n измерений; среднее значение расхода газа нм3/ч.[27]
- Пневмометрическая трубка Пито
Пневмометрическая трубка Пито предназначена для применения в качестве рабочего средства измерений скорости, динамических и статических давлений газопылевых потоков, отходящих от стационарных источников загрязнения в газоходах и вентиляционных системах.[8] Трубка Пито представляет собой Г-образную трубку (рис.7).
Пневмометрическая трубка Пито

Рис.7
Основные технические характеристики представлены в таблице 5.
Табл.5
Технические характеристики пневмометрической трубки Пито
|
средний коэффициент преобразования динамического (скоростного) давления трубки во всем диапазоне скоростей, Кт |
0,95...1,05; |
|
относительная погрешность определения коэффициента трубки, % |
не более ±3 |
|
температура контролируемой среды, °C |
0…300 |
|
наружный диаметр, мм |
6,0...8,0 |
|
внутренний диаметр, мм |
2,0...3,0 |
|
масса, кг |
0,3...0,8 |
Применяется при определении относительной скорости и объёмного расхода в газоходах и вентиляционных системах в комплекте с дифференциальными манометрами.[20]
- Газоанализатор «ЭЛАН»
Газоанализаторы «ЭЛАН» предназначены для измерения массовой концентрации одного из компонентов - CO, NO, NO2, SO2, H2S, Cl2, NH3 или объемной доли О2 (в зависимости от исполнения) в воздухе. Портативные газоанализаторы «ЭЛАН» внесены в Государственный реестр средств измерений РФ под № 20942-06. [17] Газоанализатор представляет собой автоматический показывающий и сигнализирующий прибор, конструктивно выполненный в одном блоке (рис. 8).
Газоанализатор «ЭЛАН»

Рис. 8
Принцип действия газоанализатора электрохимический. Питание осуществляется от встроенной аккумуляторной батареи 9,6 В, а в стационарных условиях от сети 220В/50Гц. Другие технические характеристики указаны в таблице 6.
Табл.6
Технические характеристики газоанализатора «ЭЛАН»
|
Способ индикации |
Знакосинтезирующий индикатор |
|
Способ сигнализации |
звуковая сигнализация с возможностью изменения уровня по концентрации |
|
Способ отбора пробы газа |
всасывание с помощью встроенного насоса производительностью 0,3 л/мин |
|
Рабочая температура |
+5... +45 °C |
|
Относительная влажность |
15... 95 % ОВ (без конденсации влаги) |
|
Атмосферное давление |
84…106,7 кПа |
|
Габариты |
150х70х180 мм |
|
Вес |
1.0 кг |
|
Источник питания |
встроенный аккумулятор |
|
Ресурс источника питания |
не менее 6 часов |
Характеристики диапазона измерений и пределы допускаемой основной абсолютной погрешности представлены в таблице 7.
Табл.7
Пределы допускаемой основной абсолютной погрешности газоанализатора «ЭЛАН» разной модификации.
|
Модификация |
Диапазон измерения |
Участок диапазона измерений |
Пределы допускаемой основной абсолютной погрешности |
|
ЭЛАН-О2 |
0... 25 % об. |
0... 25 % об. |
± 0.2 % об. |
|
ЭЛАН-СО |
0... 50 мг/м3 |
0...3мг/м3 |
±0,75мг/м3 |
|
0... 200 мг/м3 |
0... 200 мг/м3 |
± (0,5 + 0,1Сх) мг/м3 |
|
|
0... 500 мг/м3 |
0... 500 мг/м3 |
± (0,5 + 0,1Сх) мг/м3 |
|
|
ЭЛАН-Н2S |
0... 20 мг/м3 |
0...3мг/м3 |
±0.75мг/м3 |
|
ЭЛАН-NO |
0... 50 мг/м3 |
0...2мг/м3 |
±(0,1+0,15Сх)мг/м3 |
|
ЭЛАН-NO2 |
0... 10 мг/м3 |
0...1мг/м3 |
±(0,005+0,2Сх)мг/м3 |
|
ЭЛАН-Cl2 |
0... 10 мг/м3 |
0...5мг/м3 |
±(0,1+0,2Сх)мг/м3 |
|
ЭЛАН-NH3 |
0... 20 мг/м3 |
0...3мг/м3 |
±(0,1+0,2Сх)мг/м3 |
|
ЭЛАН-SO2 |
0... 20 мг/м3 |
0... 20 мг/м3 |
± (1 + 0.15Сх) мг/м3 |
Газоанализатор собран в корпусе из ударопрочной пластмассы. Прибор состоит из элементов пневмосхемы (насос, фильтр, электрохимическая ячейка); потенциостата с предварительным усилителем сигнала ячейки; аккумулятор; процессорный модуль с клавиатурой и знакосинтезирующим дисплеем.
Измеряемый газ попадая через насос на рабочий электрод ячейки, потенциал которого поддерживается на заданном уровне потенциостатом. Далее на рабочем электроде ячейки измеряемый газ окисляется (кислород, озон, хлор) или восстанавливается (диоксид азота). Выходной ток ячейки, пропорциональный концентрации определяемого компонента в анализируемом газе, усиливается в схеме и преобразуется в цифровую форму в еденицах концентрации ppm или мг/м3. Затем информация о концентрации отображается на цифровом индикаторе.[17]
- Обследование площадки предприятия
Первым этапом в ходе проведения инвентаризации выбросов от источников объектов питания гостиницы «Октябрьская» стал этап обследования площадки с уточнением параметров источников загрзнения, а также анализ производственного технического процесса подразделений предприятия.
В ходе данного этапа было установлено, что на территории исследуемых подразделений предприятия пылеулавливающие установки отсутствуют. Также была составлена характеристика предприятия как источника выбросов загрязняющих веществ в атмосферу, а именно установлено, что в состав объектов питания предприятия входят следующие участки производства, деятельность которых сопровождается выделением загрязняющих веществ в атмосферу: горячий цех ресторана, посудомоечный цех, цех мучных изделий, служебная столовая, кафе, котельная. Расчет нормативов ЗВ от источников котельной был произведен расчетным методом предприятием, и в дальнейшем не в ходил в инвентаризацию.
В ходе данного этапа было установлено, что всеми источниками выбросов являются вентиляционные трубы, в количестве 6 штук, параметры которых представлены в таблице 7.
Табл. 7.
Параметры вентиляционных труб
|
№ источника, вентиляционной трубы |
Диаметр устья, м |
Высота, м |
Часы работы оборудования, выделяющего ЗВ в год |
|
№1 |
0,40 |
23 |
7665 |
|
№2 |
0,35 |
23 |
3650 |
|
№3 |
0,35 |
23 |
3650 |
|
№4 |
0,25 |
23 |
365 |
|
№5 |
0,45 |
23 |
1825 |
|
№6 |
0,35 |
23 |
1460 |
При проведении данного этапа инвентаризации была сделана следующая характеристика этих участков.
Горячий цех ресторана (ист. № 0001)
В данном подразделении источником выбросов загрязняющих веществ является вентиляционная труба от технологического оборудования: электроплита (1ед.), конвекционная печь (1ед.). При работе технологического оборудования образуются следующие загрязняющие вещества: проп-2-ен-1-аль (акролеин), масло растительное, азота диоксид, азот (II) оксид, углерод оксид.
Посудомоечный цех (ист. № 0002, ист. № 0003)
Источниками выбросов загрязняющих веществ являются вентиляционные трубы (2ед.) от технологического оборудования: посудомоечная машина (2 ед.). В результате работы оборудования образуется выброс гидроксида натрия.
Цех мучных изделий (ист. № 0004)
Источникам выбросов загрязняющих веществ в атмосферу является вентиляционная труба от технологического оборудования: кондитерская печь (1 ед.). В результате работы кондитерской печи образуются следующие загрязняющие вещества: азота диоксид, азот (II) оксид, углерод оксид, проп-2-ен-1-аль (акролеин), масло растительное, ацетальдегид, этанол, этановая кислота (уксусная кислота).
Служебная столовая (ист. № 0005)
Источником выбросов загрязняющих веществ в атмосферу является вентиляционная труба от технологического оборудования: электроплита (1 ед.), конвекционная печь (1 ед.), посудомоечная машина (1 ед.). В результате работы технологического оборудования образуются следующие загрязняющие вещества: проп-2-ен-1-аль (акролеин), масло растительное, азота диоксид, азот (II) оксид, углерод оксид, натрий гидроксид.
Кафе (ист. № 0006)
Источникам выбросов загрязняющих веществ в атмосферу является вентиляционная труба от технологического оборудования: электроплита (1 ед.). В результате работы технологического оборудования образуются следующие загрязняющие вещества: проп-2-ен-1-аль (акролеин), масло растительное, азота диоксид, азот (II) оксид, углерод оксид.
- Определение аэродинамических характеристик источников загрязнения атмосферы
Определение аэродинамических характеристик заключалось в измерении объемного расхода газа по скорости в сечении трубы с помощью пневмометрической трубки Пито и Дифференциального цифрового манометра «ДМЦ-01М» в соответствии с ГОСТ 8.361-79. Для каждого источника измерение проводилось в соответствии с действующими стандартами и методиками.
Определение аэродинамических характеристик проводилось в соответствии с ГОСТ 12.3.018-79 «Системы вентиляционные. Методы аэродинамических испытаний», ГОСТ 17.2.4.06-90 «Охрана природы. Атмосфера. Методы определения скорости газопылевых потоков, отходящих от стационарных источников загрязнения», ГОСТ 17.2.4.07-90 «Охрана природы. Атмосфера. Методы определения давления и температуры газопылевых потоков, отходящих от стационарных источников загрязнения».
Измерения проводились при установившемся движении потока газа. Количество точек измерений зависит от диаметра трубы и определяется в соответствии с ГОСТ 12.3.018-79. Так как диаметр всех источников загрязнения атмосферы при определении аэродинамических характеристик гостиницы «Октябрьская» был менее 0.5 метра, то в соответствии с приведенным выше ГОСТом количество измерений скорости в каждой вентиляционной трубе определено как 5.
Для определения расположения точек измерения скорости площадь поперечного сечения газохода круглого сечения условно делят на равновеликие кольца и четыре равновеликих сектора, так, как показано на рисунке 9.
Расположение точек измерения скорости движения потока газа

Рис. 9
На данном рисунке: цифрой 1 обозначены линии измерения; цифрой 2 - точки измерения; d - диаметр трубы; ai - расстояние от внутренней стенки газохода до точки измерения.
Точки измерения находятся на двух взаимно перпендикулярных прямых, пересекающихся в центре измерительного сечения. Расстояние аi от внутренней стенки газохода до точки измерения п вычисляют по формуле (1):
аi,=kid10-2, (1)
где i- порядковый номер точки измерения; ki - коэффициент, имеющий табличное значение по ГОСТ 12.3.018-79.[52]
Пневмометрическая трубка Пито прикреплялась встык к Дифференциальному цифровому манометру «ДМЦ-01М», далее трубка направлялась в газоход на определенную точку измерения. Проводилось измерение по 5 точкам, далее на приборе автоматически устанавливалось среднее значение скорости. Измерения проходили на 6 источниках. По полученным результатам впоследствии была рассчитана объемная скорость газовоздушной смеси (ГВС), результаты представлены в таблице 8.
Табл.8
Результаты аэродинамических исследований
|
Источник |
Скорость в устье трубы, м/с |
Объемная скорость ГВС, м3/с |
|
Ист.№1 |
7,7 |
0,968 |
|
Ист.№2 |
3,3 |
0,317 |
|
Ист.№3 |
3,4 |
0,327 |
|
Ист.№4 |
6,9 |
0,338 |
|
Ист.№5 |
3,7 |
0,58 |
|
Ист.№6 |
7,1 |
0,683 |
По итогам аэродинамических измерений и вычисленных значений объемной скорости газа в каждой источнике можно сделать о том, что в источниках №1, №4 и №6 скорость достаточно велика, также как и рассчитанная объемная скорость. Эти значения далее будут необходимы при определении разового и валового выброса.
- Отбор проб ЗВ от источников загрязнения
Отбор проб проводился в соответствии с МУ от 04.99 «Методические указания по оборудованию мест отбора проб при экоаналитическом контроле промышленных выбросов в атмосферу», утвержденными НИИ Охраны атмосферного воздуха (НИИ «Атмосфера») и Центром обеспечения экологического контроля.
Отбор проводился 3 раза для каждого загрязняющего вещества. Отбор проб проводился от вентиляционных труб, расположенных на крыше предприятия. Места отбора проб на момент проверки были организованы, так как инвентаризация выбросов уже проводилась предприятием.
- Отбор проб оксидов азота
Отбор проб оксидов азота проходил в соответствии с ПНД Ф 12.1.1-99 «Методические рекомендации по отбору проб при определении концентраций вредных веществ (газов, паров) в выбросах промышленных предприятий» и методикой выполнения измерений концентрации оксидов азота М-18 «Экосистема». Условия отбора проб указаны в таблице 9.
Табл.9
Условия отбора проб выбросов в атмосферу оксидов азота.
|
Параметр |
Значение параметра на аспиараторе |
Значение параметра в газоходе |
|
Температура, о С |
0 - 40 |
2-60 |
|
Давление, кПа |
82.5-106.7 |
82.5-106.7 |
|
Относительная влажность, % |
30-80 |
30-80 |
Оборудование используемое при отборе проб: зонд пробоотборный; поглотительный прибор с пористой пластинкой, типа ПП (ТУ-25-11-1136-75) заполненный поглотительным раствором (8% раствор иодида калия); аспиратор «А-01».
При отборе проб оксидов азота сечение располагалось на прямолинейном участке газохода с установившимся газовым потоком, а также на расстоянии не менее 5-6 диаметров газохода перед местом отбора и не менее 3-4 диаметров после него. Схема отбора проб оксидов азота показана на рисунке 10.
Схема отбора проб оксидов азота.

Рис.10
В газоходе (1) на уровне измерительного сечения помещался пробоотборный зонд (2). Далее на аспираторе (6) (побудитель расхода газа) устанавливалось время отбора проб и скорость потока. Отбор проб производился со скорость 0,25 дм3/мин в течении 20 минут. Раствор иодида калия в поглотительном приборе (3) улавливал частицы газовоздушной смеси. Термометром (4) и манометром (5) были измерены температура и давление газа. Отобранные пробы в поглотительных приборах закрывались заглушками и отправлялись в лабораторию на анализ.
- Отбор проб гидроксида натрия.
Отбор проб гидроксида натрия проходил в соответствии с ГОСТ 12.2.6.01-86, и методики «М-7 «Экосистема». Условия отбора проб гидроксида натрия представлены в таблице 10.
Табл. 10
Условия отбора проб выбросов в атмосферу гидроксида натрия
|
Параметр |
Значение параметра на ротаметре |
Значение параметра в газоходе |
|
Температура, о С |
2-35 |
2-50 |
|
Давление, кПа |
82.5-106.7 |
82.5-106.7 |
|
Относительная влажность, % |
30-90 |
30-90 |
Оборудование используемое при отборе проб: Трубка пробоотборная стеклянная; фильтродержатели (ТУ 95-7205-77); фильтры АФА ВП (ГОСТ 95-743-80), предназначенные для исследования и контроля аэрозолей, содержащихся в воздухе или других газах; аспиратор «А-01».
Схема отбора проб едкого натра показана на рисунке 11.
Схема отбора проб гидроксида натрия

Рис.11
Исследуемую газовоздушную пробу отбирали с помощью стеклянной пробоотборной трубки (2), установленой в отверстие на прямолинейном участке газохода (1). К концу пробоотборной трубки при помощи резинового шланга был присоеденен фильтродержатель (3) с заложенными в него двумя фильтрами АФА-ВП. С другой стороны фильтродержатель был присоеденен к аспирационному устройству (6). Далее производился непосредственно отбор проб насосом прибора. Аспирация газовоздушной смеси проходила с оптимальной скоростью 10 дм3/мин в течении 20 минут. При отборе проб были произведены измерения температуры термометром (4) газа и его давления манометром (5). Затем фильтры сложили пополам так, чтобы поверхность фильтров с аэрозолями щелочей находилась внутри и поместили в полиэтиленовый пакет. Пробы хранились не более 2 суток.
3.5.3. Отбор проб аэрозоля масла растительного.
Отбор проб масла проводился в соответствии с ГОСТ 12.2.6.01-86, а также методики М-4 «Экосистема». Условия отбора проб масла растительного представлены в таблице 11.
Табл. 11
Условия отбора проб выбросов в атмосферу масла растительного.
|
Параметр |
Значение параметра на ротаметре |
Значение параметра в газоходе |
|
Температура, о С |
2-35 |
2-50 |
|
Давление, кПа |
82.5-106.7 |
82.5-106.7 |
|
Относительная влажность, % |
30-100 |
30-100 |
Оборудование используемое при отборе проб: трубка пробоотборная; фильтры обеззоленные «синяя лента» (ГОСТ 12026-76), пропитанной уксусной кислотой; фильтродержатели (ТУ 95-7205-77); аспиратор «А-01».
Отбор проб осуществлялся по схеме на рисунке 11 (п.3.5.2).
Исследуемую газо-воздушную пробу отбирали с помощью пробоотборной трубки (2) из нержавеющей стали со сменными наконечниками (для уравнивания скоростей потока газа в газоходе и аспираторе). Трубку устанавливали на прямолинейном участке газохода (1). Затем к концу пробоотборной трубки при помощи резинового шланга присоединяли встык фильтродержатель с заложенным в него обеззоленным фильтром (3). С другой стороны фильтродержатель был присоединен к аспирационному устройству(6).
Аспирация проходила с оптимальной скоростью 20,0 дм3/мин в течении 20 минут. Также были произведены измерения температуры и давления термометром (4) и манометром (5). Затем фильтры сложили пополам так, чтобы поверхность фильтров с отоброной пробой находилась внутри и поместили в полиэтиленовый пакет, который плотно закрывают. Отбор проб проводился 3 раза. Пробы хранились не более 7 суток.
- Отбор проб акролеина, ацетальдегида, уксусной кислоты и этилового спирта.
Отбор проб осуществлялся в соответствии с ГОСТ 17.2.3.02-78, АЮВ 0.005.169 «Методика выполнения измерений массовой концентрации органических веществ (27 соединений) в промышленных выбросах и воздухе рабочей зоны газохроматографическим методом с использованием универсального многоразового пробоотборника», методик М-10 «Экосистема» и МВИ2420/215-97. При этом отбирались последовательно 3 пробы, таким образом, чтобы промежуток времени между началом отбора первой пробы и окончанием отбора третьей составлял 20 минут. Условия отбора проб акролеина, ацетальдегида, уксусной кислоты и этанола указаны в таблице 12.
Табл. 12
Условия отбора проб выбросов в атмосферу этанола, ацетальдегида, акролеина и уксусной кислоты.
|
Параметр |
Значение параметра |
|
Температура газа, о С |
10-50 |
|
Давление атм., мм рт. ст. |
630-800 |
|
Относительная влажность, % |
30-80 |
|
Объем пробы воздуха для газохроматографического анализа, см3 |
100-200 |
|
Объемная скорость воздуха через сорбционную труюку, см3/мин |
Не более 100 |
Оборудование используемое при отборе проб: сорбционная трубка-концентратор; аспиратор «АМ-5».
Схема отбора проб ЗВ этанола, ацетальдегида, акролеина и уксусной кислоты показана на рисунке 12.
Схема отбора проб этанола, ацетальдегида, акролеина и уксусной кислоты

Рис.12
При осуществлении отбора применялась сорбционная трубка-концентратор (2), один конец которой присоединяли к аспиратору (3), а другой к месту отбора пробы в газоходе (1). Затем проводили непосредственно отбор 100 см3 газа, после чего трубку-концентратор отсоединяли и герметично закрывали концы заглушками. Далее пробу помещали водонепроницаемый пакет и отправляли на газохроматографический анализ.
- Отбор проб оксида углерода.
Отбор проб оксида углерода проводился в соответствии с ПНД Ф 13.1.5-97. Условия отбора проб представлены в таблице 13.
Табл.13
Условия пробоотбора оксида углерода.
|
Параметр |
Значение параметра |
|
Температура окружающей среды, о С |
5-45 |
|
Давление атм., кПа |
84-106,7 |
|
Относительная влажность воздуха без конденсации влаги (25 0С), % |
15-95 |
Оборудование используемое при отборе проб: газоанализатор «Элан».
Схема отбора проб оксида углерода газоанализатором «Элан» показана на рисунке 13
Схема отбора проб оксида углерода

Рис.13
Газоанализатор «Элан» (2) устанавливался в близи к точкам отбора пробы в газоходе (1). Отбор проб осуществлялся при включении насоса прибора с помощью процессорного модуля с клавиатурой. После вывода показаний, их значения фиксировались в протоколе пробоотбора.
- Анализ отобранных воздушных проб
Далее в лаборатории ННПФ «Экосистема» проводился анализ отобранных проб на определение концентрации вышеперечисленных ЗВ.
После анализа проб для каждого вещества были получены 3 значения концентрации, относительная погрешность измерения концентрации 25 %. По данным концентраций были рассчитаны среднее и максимальное значение концентрации ЗВ для каждого источника, которые представлены в таблице 14.
Табл.14
Среднее и максимальное значение концентраций по каждому источнику
|
Источник |
Концентрация ЗВ (Сср ;Смакс..), мг/м3 |
|||||
|
оксиды азота |
оксид углерода |
акролеин |
ацетальдегид |
уксусная кислота |
этанол |
|
|
Ист.№1 |
0.25;0.31 |
0.77;0.96 |
0.13;0.16 |
- |
- |
- |
|
Ист.№2,3 |
- |
- |
- |
- |
- |
- |
|
Ист.№4 |
0.19;0.24 |
0.29;0.36 |
0.14;0.18 |
0.22;0.27 |
1.9;2.4 |
5.3;6.6 |
|
Ист.№5 |
0.23;0.29 |
0.64;0.8 |
0.12;0.15 |
- |
- |
- |
|
Ист.№6 |
0.29;0.36 |
0.56;0.7 |
0.16;0.2 |
- |
- |
- |
Таким образом, можно сделать вывод, что основными загрязнителями являются оксиды азота, оксид углерода, а также акролеин. Концентрация гидроксида натрия и аэрозоля масла растительного не была определена, так как была ниже предела обнаружения данных веществ. На источниках №2 и №3 выбросы ЗВ не обнаружены в ходе данных исследований.
Полученные в ходе лабораторных исследований результаты, а также рассчитанные значения средней и максимальной концентрации ЗВ были занесены в «Протокол измерений концентраций загрязняющих веществ в промышленных выбросах в атмосферу» (см. приложение 1). На основании этих данных далее мной были произведены расчеты массовых и валовых выбросов веществ.
Значения концентраций оксида углерода были получены при непосредственном отборе проб. Анализ таких ингредиентов как акролеин, ацетальдегид, этанол, уксусная кислота проводились с использованием хроматографического метода. Пробы гидроксида натрия, азота диоксида, азот (II) оксида и масла растительного исследовались с использованием фотометрического метода. Далее рассмотрим подробнее основной принцип этих методов.
3.6.1. Фотометрический метод анализа проб
Фотометрия или калориметрия метод, при котором поглощение света измеряют главным образом в видимой области спектра, реже - в ближних УФ и ИК-областях (т. е. в интервале длин волн от ~ 315 до ~ 980 нм), а также для выделения нужного участка спектра (шириной 10-100 нм) используют узкополосные светофильтры. [33]
Принцип фотометрии основан на пропускании света с определенной длинной волны через кювету с биологической пробой. Фотометрия измеряет световой поток отразившийся от биопробы. Длина волны подбирается таким образом, чтобы поглощение света для данной реакционной смеси было максимальным.
Каждое вещество поглощает излучение с определенными (характерные только для него) длинами волн, т.е. длина волны поглощаемого излучения индивидуальна для каждого вещества, и на этом основан качественный анализ по светопоглошению.[12] В данном случаи для измерения массовой концентрации оксидов азота использовался светофильтр с длинной волны 540 нм, для измерения концентрации гидроксида натрия светофильтр с длиной волны 590 нм, для измерения растительного масла - 400 нм.
Основой количественного анализа является закон Бугера-Ламберта-Бера, который связывает уменьшение интенсивности света, прошедшего через слой светопоглощающего вещества, с концентрацией этого вещества и толщиной слоя:
(2),
и с другой стороны :
А = lg (I / I0) = lg T (3)
Где А оптическая плотность вещества;
I0 и I интенсивность потока света, направленного на поглощающий раствор и прошедшего через него соответственно;
с концентрация вещества, моль/л;
l толщина светопоглощающего слоя;
e - молярный коэффициент светопоглощения (экстенции);
T - коэффициент пропускания, который характеризует уменьшение интенсивности света, прошедшего через раствор.[3]
В соответствии с формулами (2) и (3) зависимость оптической плотности от концентрации раствора графически выражается выходящей из начала координат прямой линией, тангенс угла наклона которой равен коэффициенту поглощения. Также следует отметить, что данный закон справедлив только для монохроматического света.
Для определения концентрации анализируемого вещества существует несколько методов, такие как: молярного коэффициента светопоглощения; добавок; дифференциальной фотометрии; фотометрического титрования. Но самым широко используемым является метод построения калибровочного (градуировочного) графика. В процессе анализа отобранных проб загрязняющих веществ от источников гостиницы «Октябрьская» также использовался именно этот метод.
Калибровочный график строиться обязательно перед проведением каких-либо исследований. Предварительно были приготовлены 5 разведенных известной концентрации растворов искомого вещества и определены в кювету фотометра.
Фотометр прибор, использующийся для определения искомого вещества в исследуемой среде и (или) вычисления его концентрации, либо активности, используя изменение окраски реакционной смеси (либо интенсивности окраски, т.е. ее оптической плотности). [2]
Далее полученные результаты оптической плотности заносились на калибровочный график. График строят, откладывая на оси абсцисс содержание вещества в мкг, а на оси ординат - оптическую плотность растворов. Таким образом, определив массу того или иного вещества в известном объеме пробы можно определить его концентрацию по формуле (4):
С= m/ Vн.у. (4),
Где С - концентрация искомого вещества , мг/м3;
m значение массы, определенное с использованием калибровочного графика, мг;
V объем пробы, (н.у.: t=0oC, P0=760 мм.рт.ст.) м3.
После того как концентрация была определена, ее значение фиксировалось лаборантом НППФ «Экосистема» в «Протокол измерения концентраций загрязняющих веществ в промышленных выбросах в атмосферу».
3.6.2. Хроматографический метод анализа проб
Хроматография (от греч. цвет) метод разделения и анализа смесей веществ, а также изучения физико-химических свойств веществ. Основан на распределении веществ между двумя фазами неподвижной (твердая фаза или жидкость, связанная на инертном носителе) и подвижной (газовая или жидкая фаза, элюент), протекающей через неподвижную. Название метода связано с первыми экспериментами по хроматографии, в ходе которых разработчик метода Михаил Цвет разделял ярко окрашенные растительные пигменты.[33]
Хроматографический анализ является критерием однородности вещества: если каким-либо хроматографическим способом анализируемое вещество не разделилось, то его считают однородным (без примесей).
Принципиальным отличием хроматографических методов от других физико-химических методов анализа является возможность разделения близких по свойствам веществ. После разделения компоненты анализируемой смеси можно идентифицировать (установить природу) и количественно определять (массу, концентрацию) любыми химическими, физическими и физико-химическими методами. Для расшифровки хроматограмм и выбора условий опыта применяют ЭВМ.
Основные достоинства хроматографического анализа:
- экспрессность; высокая эффективность; возможность автоматизации и получение объективной информации;
- сочетание с другими физико-химическими методами;
- широкий интервал концентраций соединений;
- возможность изучения физико-химических свойств соединений;
- осуществление проведения качественного и количественного анализа;
- применение для контроля и автоматического регулирования технологических процессов.[35]
Существует множество видов хроматографии. В соответствии с агрегатным состоянием элюента различают:
- газовую хроматографию ГХ;
- жидкостную хроматографию ВЭЖХ.
При анализе проб акролеина, ацетальдегида, этанола, уксусной кислоты, отобранных от источников гостиницы «Октябрьская» специалистами НППФ «Экосистема» был использован метод газовой хроматографии.
Газовая хроматография метод разделения летучих компонентов, при котором подвижной фазой служит инертный газ (газ-носитель), протекающий через неподвижную фазу с большой поверхностью. В качестве подвижной фазы используют водород, гелий, азот, аргон, углекислый газ. Газ-носитель не реагирует с неподвижной фазой и разделяемыми веществами.[33]
Газохроматографическое разделение и анализ осуществляются в специальном приборе газовом хроматографе. Раствор анализируемой пробы вводился в поток газа при повышенной температуре. В жидком состоянии проба быстро испаряется и потоком газа переносится в хроматографическую колонку, находящуюся в термостате. Насадкой в колонке служат твердый сорбент с развитой поверхностью (50-500 м2/г) или твердый макропористый носитель, на которую тонким слоем нанесена нелетучая жидкость - неподвижная жидкая фаза. Средний диаметр частиц сорбента 0,1-0,4 мм (колонку заполняют близкими по размеру частицами).
Далее при анализе разделённые в хроматографической колонке вещества вместе с элюентом попадают в установленное на выходе из колонки специальное устройство детектор, регистрирующее их концентрации во времени. Полученную в результате этого выходную кривую называют хроматограммой, которая выражает зависимость концентрации компонентов на выходе из колонки от времени.
Для качественного хроматографического анализа определяют время от момента ввода пробы до выхода каждого компонента из колонки при данной температуре и при использовании определённого элюента. Для количественного анализа определяют высоты или площади хроматографических пиков с учётом коэффициентов чувствительности используемого детектирующего устройства к анализируемым веществам.[35]
- Расчет массовых (г/сек) и валовых (т/год) выбросов
Массовые и валовые выбросы рассчитывались на основании данных о вентиляционных системах (диаметре и высоте устья), количестве рабочих часов технологического оборудования, параметрах ГВС (температуры, атмосферном давлении, скорость в устье трубы потока газа), полученных ранее при обследовании промплощадки и аэродинамических исследованиях, а также данные о концентрациях каждого вещества, полученные после лабораторного анализа.
Результаты расчетов валовых и массовых выбросов заносились в таблицу «Параметры выбросов загрязняющих веществ в атмосферу при инвентаризации». ( см. приложение 2)
3.7.1. Расчет массовых выбросов
Разовое значение мощности выброса (массовый выброс) рассчитывается по результатам определения концентрации этого вещества и параметров ГВС на выходе из ИЗА по формуле (5).
Ммакс = (5),
Где - максимальная концентрация загрязняющего вещества, полученная при анализе проб, мг/м3;
Vн.у. - объем отобранной пробы, приведенный к нормальным условиям (t=0 oC, P0=760 мм.рт.ст), м3.
Расчеты массового разового выброса аэрозоля масла и гидроксида натрия не производились, так как значения их концентраций были ниже диапазона их определения. Полученные результаты по каждому ингредиенту занесены в таблицу 15.
Табл.15
Значения разового массового выброса
|
Источник |
М макс., г/с |
||||||
|
Диоксид азота |
Оксид азота (II) |
оксид углерода |
акролеин |
Ацета-льдегид |
уксусная кислота |
этанол |
|
|
Ист.№1 |
0.0002255 |
0.000037 |
0.0008659 |
0.0001443 |
- |
- |
- |
|
Ист.№4 |
0.0005996 |
0.0000978 |
0.001136 |
0.000568 |
0.0008521 |
0.007574 |
0.020829 |
|
Ист.№5 |
0.000126 |
0.0000208 |
0.0004384 |
0.0000822 |
- |
- |
- |
|
Ист.№6 |
0.0001844 |
0.0000299 |
0.0004452 |
0.0000000 |
- |
- |
- |
Массовый разовый выброс используется при разработке проекта ПДВ для определения степени рассеивания, а также для установления нормативов выбросов загрязняющих веществ.
3.7.2. Расчет валовых выбросов
Валовые выбросы определялись в зависимости от режима работы источников выделения загрязняющих веществ по усредненным годовым значениям. Значения валовых выбросов необходимы для разработки проекта допустимых выбросов ПДВ. Они показывают какое количество выбросов происходит в год конкретного вещества, зависят от среднего значения массовых выбросов. Валовые выбросы определяются по формуле (6).
Мвал. = (6),
где Мср. средний секундный выброс загрязняющего вещества, г/сек; Т время выделения загрязняющего вещества, час/год.
Значения времени выделения загрязняющего вещества были определены в первом этапе инвентаризации. А средний секундный выброс определяется по формуле (7):
Мср.= (7),
Где - среднее значение концентрации вещества, полученное раннее при расчете нормативов для каждого загрязняющего вещества (п.6.6.3.), мг/м3;
Vн.у.- объем отобранной пробы, приведенный к нормальным условиям(t=0 oC, P0=760 мм.рт.ст), м3.
Для определения объема отобранной пробы используется формула (8):
(8),
Где - скорость в устье трубы, найденная при измерении аэродинамических характеристик (п.3.4.), м/с;
d- диаметр устья трубы, значение которого были получены при обследовании площадки, м;
Результаты полученных валовых выбросов представлены в таблице 16.
Табл.16
Значения валового выброса
|
Источник |
М вал., т/год |
||||||
|
Диоксид азота |
Оксид азота (II) |
оксид углерода |
акролеин |
Ацета-льдегид |
уксусная кислота |
этанол |
|
|
Ист.№1 |
0.004978 |
0.000821 |
0.019165 |
0.003236 |
- |
- |
- |
|
Ист.№4 |
0.000622 |
0.000104 |
0.001203 |
0.000581 |
0.000912 |
0.007879 |
0.021979 |
|
Ист.№5 |
0.000684 |
0.000108 |
0.002304 |
0.000432 |
- |
- |
- |
|
Ист.№6 |
0.000769 |
0.000124 |
0.001872 |
0.0000000 |
- |
- |
- |
- Составление технического отчета по инвентаризационному обследованию.
По полученным данным был составлен технический отчет с представлением описанием процесса проведения инвентаризации и результатами исследований. В ходе инвентаризации были получены данные о параметрах ГВС, валовых и массовых выбросах загрязняющих веществ в г/сек и т/год, концентрации загрязняющих веществ, измеренных инструментальным методом. Эти данные занесены в таблицу «Параметры выбросов загрязняющих веществ в атмосферу при инвентаризации» (см. Приложение 2) данные впоследствии будут использоваться при разработке проекта ПДВ.
Заключение
При проведении инвентаризации источников выбросов ЗВ от объектов питания гостиницы «Октябрьская» (Санкт-Петербург) мной были исследованы подразделения гостиницы, проведены аэродинамические измерения параметров газовоздушной смеси от вентиляционных труб, а также отбор проб оксида азота (II), оксида азота (IV), гидроксида натрия, оксида углерода, ацетальдегида, этанола, акролеина, уксусной кислоты, с целью получения качественных и количественных характеристик выбросов ЗВ. Концентрация гидроксида натрия и аэрозоля масла была определена как незначительная, так как не вошла диапазон определения концентрации данных веществ, и в последствии расчеты по данным веществам не проводились. Основными загрязнителями атмосферы были определены оксиды азота, оксид углерода, а также акролеин.
Итогом инвентаризации послужили данные о разовом количестве выбросов в секунду каждого из ЗВ, а также валовый выброс каждого ингредиента, полученные расчетным методом. На основе значения валового выброса впоследствии органы государственной власти принимают решение о размере платы за выброс, а массовый выброс дает возможность произвести расчет рассеивания загрязняющего вещества в атмосфере при разработке проекта ПДВ.
Все данные полученные в ходе экспериментальных исследований и измерений, а также расчетов будут использоваться при разработки проекта ПДВ и мониторинга гостиницы «Октябрьская» (Санкт-Петербург).
Список используемой литературы
- Афанасьев Ю., Фомин С.Мониторинг и методы контроля окружающей среды (в двух частях). Часть 2.,. ИЗД. МНЭПУ., 2001г.
- Бабко А.К., Пилипенко А.Т. «Фотометрический анализ: общие сведения и аппаратура»; под ред. акад. АН УССР .К. Бабко; изд-во «Химия», Москва, 1968г., 387 с.
- Виxaрев А.А., Зуйкoвa С.А. Учебное пособие «Физико-химические методы анализа». П.1.1. «Фотометрический метод».2008 г.
- Горелик Д.О., Конопелько Л. А. Мониторинг загрязнения атмосферы и источников выбросов. М.: Изд-во стандартов, 1992.
- ГН 2. 1. 6. 695-98 «Предельно допустимые концентрации (ПДК) загрязняющих веществ в атмосферном воздухе населенных мест».
- ГН 2. 2. 5. 1313-03 «Предельно допустимые концентрации (ПДК) вредных веществ в воздухе рабочей зоны».
- ГОСТ 12.1.007-76 «Вредные вещества. Классификация и общие требования безопасности».
- ГОСТ 12.3.018-79 «Системы вентиляционные. Методы аэродинамических исследований».1979г.
- ГОСТ 17.2.1.0477 «Охрана природы. Атмосфера. Источники и метеорологические факторы загрязнения, промышленные выбросы. Термины и определения»
- ГОСТ Р 51251-99 «Фильтры очистки воздуха. Классификация»
- ГОСТ 17.2.4.06-90 «Охрана природы. Атмосфера. Методы определения скорости газопылевых потоков, отходящих от стационарных источников загрязнения. 1990 г.
- Золотов Ю.А. Учебное пособие «Аналитическая химия». Часть II. «Физико-химические методы анализа». 2005г.
- Квашкин И.М.Промышленные выбросы в атмосферу. Инженерные расчеты и инвентаризация. М:Авок-ПРЕСС.,2005г.
- Крамаренко В. Ф. Токсикологическая химия. К-: Выcш. шк. Головное изд-во, 1989 г., 447 с.
- Максименко Ю.Л., Горкина И.Д., Шаприцкий В.Н. Оценка воздействия на окружающую среду и разработка нормативов ПДВ. М.:Интермет инжиниринг,1999г.
- Методическое пособие по расчету, нормированию и контролю выбросов загрязняющих веществ в атмосферный воздух. 2002 г., 56с.
- Паспорт. Газоанализатор «ЭЛАН». ЭКИТ 5.940.000 ПС. М:Научное-производственное отделение «ЭКО-ИНТЕКС». 2008г.
- Популярная медицинская энциклопедия/Под ред. Б.В. Петровского. М.: Советская энциклопедия, 1988. 513 с.
- Потапов А.И., Воробьев В.Н..Мониторинг, контроль и управление качеством окружающей среды. Часть 2. Экологический контроль. - СПб: РГГМУ, 2004.- 290 с.
- Руководство по эксплуатации «ДМЦ-01М». 5.910.000 РЭ
- Руководство по эксплуатации «Аспиратор А-01». М.,2006 г.
- СанПиН 2.1.1.012-99 «Санитарные правила и нормы по проектированию строительства объектов хранения легкового индивидуального автотранспорта в г. Санкт-Петербурге». 1999г.
- СанПиН 2.1.2.043-98 «Гигиенические требования к устройству, оборудованию и содержанию гостиниц». Раздел «Санитарные правила к размещению зданий гостиниц»., 1998г.
- СанПиН 2. 1. 2. 1188-03 «Плавательные бассейны. Гигиенические требования к устройству, эксплуатации и качеству воды. Контроль качества».
- СанПиН 2. 1. 4. 1074-01 «Питьевая вода. Гигиенические требования к качеству воды централизованных систем водоснабжения. Контроль качества». М.: Информационно-издательский центр Госкомсанэпиднадзора России, 1996. 111 с.
- Технический паспорт прибора «Аспиратор «АМ-5». Спб. 2001 г.
- Технический паспорт прибора «ДМЦ-01М».012.365. ПС. Спб.,1999г.
- Химическая энциклопедия. Т. 4. М.: Большая Российская энциклопедия, 1995. 639 с.
- Интернет-журнал «ecologymd». Статья «Городская среда и здоровье горожан». (http://www.ecology.md/index.php)
- Интернет-журнал «Здоровье горожан». Статья «Окислы азота». Кулькова Е.В. (http://www.nrk.cross-ipk.ru/body/pie/body/index.htm)
- Интернет-сайт «Russian chemistry». ( http://russian-chemistry.ru)
- Интернет-сайт «Авангард». Статья «Химчистка в отеле». (http://www.stirka.net/)
- Интернет-сайт «Википедия- свободная энциклопедия». (http://ru.wikipedia.org/wiki)
- Интернет статья «Дополнительное вентиляционное оборудование».Выпуск №9 издания «Промышленное оборудование». Статья №3. Стр.2. (http://www.mrmz.ru/article/v9/print/3_1.htm)
- Интернет сайт о химии (http://www.xumuk.ru/)
- Официальный сайт гостиницы «Октябрьская». (http://www.oktober-Мhotel.spb.ru)
- Официальный сайт департамента экологии природопользования. Инвентаризация. (http://e-co.spb.ru/).
- Центр экологической информации. Нормирование выбросов загрязняющих веществ в атмосферный воздух (Проект ПДВ). (http://www.centreco.ru/)