ПОЛЯРОГРАФИЯ: ТЕОРИЯ, ПРИМЕНЕНИЕ В ФАРМАЦЕВТИЧЕСКОМ АНАЛИЗЕ
Зарегистрировано:
_____________________2015г.
_________________________
Федеральное государственное автономное образовательное учреждение высшего профессионального образования
«БЕЛГОРОДСКИЙ ГОСУДАРСТВЕННЫЙ НАЦИОНАЛЬНЫЙ ИССЛЕДОВАТЕЛЬСКИЙ УНИВЕРСИТЕТ (НИУ «БелГУ»)
ФАРМАЦЕВТИЧЕСКИЙ ФАКУЛЬТЕТ
Кафедра фармацевтической химии и фармакогнозии
КУРСОВАЯ РАБОТА
по фармацевтической химии
ПОЛЯРОГРАФИЯ: ТЕОРИЯ, ПРИМЕНЕНИЕ В ФАРМАЦЕВТИЧЕСКОМ АНАЛИЗЕ
|
Выполнила: |
|
|
студентка 4 курса |
|
|
очного отделения, |
|
|
группы 03031105 |
|
|
Удовидченко Виктория Геннадьевна |
|
|
Научный руководитель: уч.степень, звание Ф.И.О. (полностью) |
Белгород 2015
СОДЕРЖАНИЕ
|
ВВЕДЕНИЕ |
3 |
|
1. ПОЛЯРОГРАФИЯ: ТЕОРИЯ АНАЛИЗА |
|
|
1.1. Методы фармацевтического анализа и их классификация |
|
|
1.2. Полярографический метод анализа |
|
|
2. ПРИМЕНИНИЕ ПОЛЯРОГРАФИИ В ФАРМАЦЕВТИЧЕСКОМ АНАЛИЗЕ |
|
|
2.1. Условия проведения полярографического анализа |
|
|
2.2. Применение метода полярографического анализа |
|
|
ВЫВОДЫ |
|
|
СПИСОК ЛИТЕРАТУРЫ |
ВВЕДЕНИЕ
Фармацевтический анализ это наука о химической характеристике и измерении биологически активных веществ на всех этапах производства: от контроля сырья до оценки качества полученного лекарственного вещества, изучения его стабильности, установления сроков годности и стандартизации готовой лекарственной формы. Фармацевтический анализ имеет свои специфические особенности, отличающие его от других видов анализа. Эти особенности заключаются в том, что анализу подвергают вещества различной химической природы: неорганические, элементорганические, радиоактивные, органические соединения от простых алифатических до сложных природных биологически активных веществ. Чрезвычайно широк диапазон концентраций анализируемых веществ. Объектами фармацевтического анализа являются не только индивидуальные лекарственные вещества, но и смеси, содержащие различное число компонентов.
В настоящее время, когда фармацевтическая промышленность, химическая промышленность и химия как наука в нашей стране развиваются небывало быстрыми темпами, особое значение приобретает усовершенствование старых и разработка новых, более совершенных методов анализа, отличающихся высокой чувствительностью, точностью и быстротой получения результатов.
Методики, используемые в фармацевтическом анализе, должны быть чувствительными, специфическими, избирательными, быстрыми и пригодными для экспресс-анализа в условиях аптеки.
Одним из электрохимических методов анализа, широко применяемых в научно-исследовательских работах по химии и фармации, а также для контроля производства, является полярографический метод.
Полярография - физико-химический метод анализа, основанный на получении вольтамперных кривых. Получение вольтамперных кривых производят при помощи полярографов, простых, с визуальным отсчетом величины тока и напряжения и более сложных, с автоматической регистрацией поляризационных кривых. Полярографический метод анализа обладает большой чувствительностью и дает возможность определять вещества при очень незначительной (до 0,0001%) концентрации их в растворе. Для выполнения анализа достаточно 3-5 мл раствора; количество раствора можно уменьшить до 0,1-0,5 мл. Проведение анализа на авторегистрирующих полярографах занимает около 10 мин.
В курсовой работе будут изложены общие сведения о полярографии, история, основные принципы; общие сведенья о качественных и количественных определениях в полярографии.
Целью данной курсовой работы является: Полярография: теория, применение в фармацевтическом анализе.
Задачей данной курсовой работы является:
1) Изучение литературы, научных статей и медицинских журналов по теории полярографии.
2) Изучение литературы, по применению полярографии в фармацевтическом анализе.
1. ПОЛЯРОГРАФИЯ: ТЕОРИЯ АНАЛИЗА
1.1. Методы фармацевтического анализа и их классификация
В фармацевтическом анализе используются разнообразные методы исследования: физические, физико-химические, химические, биологические. Применение физических и физико-химических методов требует соответствующих приборов и инструментов, поэтому данные методы называют также приборными, или инструментальными.
Использование физических методов основано на измерении физических констант, например, прозрачности или степени мутности, цветности, влажности, температуры плавления, затвердевания и кипения.
С помощью физико-химических методов измеряют физические константы анализируемой системы, которые изменяются в результате химических реакций. К этой группе методов относятся оптические, электрохимические, хроматографические.
Химические методы анализа основаны на выполнении химических реакций.
Биологический контроль лекарственных веществ осуществляют на животных, отдельных изолированных органах, группах клеток, на определенных штаммах микроорганизмов. Устанавливают силу фармакологического эффекта или токсичность.
Методики, используемые в фармацевтическом анализе, должны быть чувствительными, специфическими, избирательными, быстрыми и пригодными для экспресс-анализа в условиях аптеки.
1.2. Полярографический метод анализа
Полярографический метод анализа впервые был предложен чешским ученым Я.Гейровским в 1922 году, когда он изучал влияние напряжения, приложенного к ртутной капле, погруженной в водный раствор, на величину поверхностного натяжения, (так называемый «электрокапиллярный эффект»). Он заметил, что величина тока через каплю зависит от состава раствора. Доработав эту идею, он создал метод, который основан на измерении зависимости тока от напряжения на ртутно-капельном электроде. Получающиеся зависимости, так называемые вольтамперные кривые или вольтамперограммы, зависят от состава раствора и позволяют проводить одновременно качественный и количественный анализ содержащихся в растворе микропримесей. В 1959 году за метод полярографии Я.Гейровскому была присуждена Нобелевская премия по химии.
Полярографический метод дает возможность определять примеси металлов, содержащиеся в технических образцах в количестве порядка 0,001%, с точностью в среднем до 1%.
Отличительными особенностями полярографического метода анализа являются:
1. Быстрота аналитического определения, не превышающая нескольких минут.
2. Большая чувствительность, позволяющая вести аналитические определения очень малых количеств исследуемого вещества.
3. Независимость результатов определений от индивидуальных особенностей экспериментатора, так как о них судят по объективным показаниям чувствительного гальванометра.
4. Возможность одновременно вести определение нескольких элементов, не прибегая к предварительному их разделению.
По разновидностям аналитического сигнала, электрохимические методы анализа, подразделяют на:
1) кондуктометрию - измерение электропроводности исследуемого раствора;
2) потенциометрию - измерение бестокового равновесного потенциала индикаторного электрода, для которого исследуемое вещество является потенциоопределяющим;
3) кулонометрию - измерение количества электричества, необходимого для полного превращения (окисления или восстановления) исследуемого вещества;
3) вольтамперометрию - измерение стационарных или нестационарных поляризационных характеристик электродов в реакциях с участием исследуемого вещества;
5) электрогравиметрию - измерение массы вещества, выделенного из раствора при электролизе.
Электрохимические методы анализа можно подразделить по признаку применения электролиза. На принципах электролиза базируются кулонометрия, вольтамперометрия и электрогравиметрия; электролиз не используют в кондуктометрии и потенциометрии.
Вольтамперометрию, связанную с использованием ртутного капающего электрода (РКЭ) называют полярографией.
Вольтамперометрия основана на изучении поляризационных или вольтамперных кривых (кривых зависимости силы тока I от напряжения Е), которые получают в процессе электролиза раствора анализируемого вещества при постепенном повышении напряжения с одновременной фиксацией при этом силы тока. Электролиз проводят с использованием легкополяризуемого электрода с небольшой поверхностью, на котором происходит электровосстановление или электроокисление вещества.
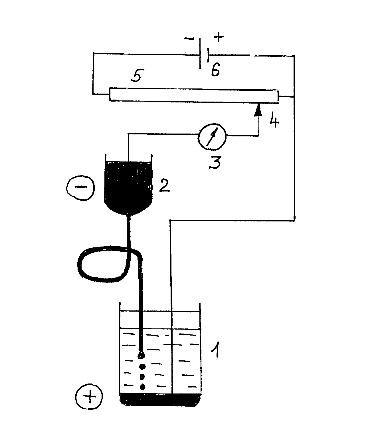
Характерной особенностью полярографического метода является применение электродов с разной площадью поверхности. Поверхность одного из электродов, называемого микроэлектродом, должна быть во много раз меньше поверхности другого электрода. В качестве микроэлектрода чаще всего применяют РКЭ, представляющий собой капилляр, из которого равномерно с определенной скоростью вытекают капли металлической ртути. Скорость прокапывания определяется высотой подвески емкости с ртутью, соединенной шлангом с капилляром. Второй электрод, поверхность которого во много раз больше поверхности микроэлектрода, служит электродом сравнения. В качестве него используют ртуть, налитую на дно электролитической ячейки, или насыщенный каломельный электрод. На эти электроды от внешнего источника напряжения подают плавно изменяющееся напряжение. Плотность тока (А/см2) на электроде сравнения, имеющего большую поверхность, ничтожно мала, поэтому потенциал его практически не изменяется, т.е. этот электрод не поляризуется. Плотность тока на РКЭ вследствие его малой поверхности высока. РКЭ изменяет свой равновесный потенциал, т.е. поляризуется. Реализацию метода осуществляют на приборах, называемых полярографами. Принципиальная схема полярографа приведена на (рис. 1). Ток от аккумулятора поступает на реостат, при помощи которого через очень чувствительный гальванометр подается плавно повышающееся напряжение на электролитическую ячейку, содержащую ртутный (или каломельный) электрод, РКЭ и анализируемый раствор.

Рис. 1. Схема полярографической установки
1 - электролизёр; 2 - сосуд с ртутью; 3 - гальванометр; 4 - передвижной контакт; 5 - реохорд; 6 - аккумулятор.
Фиксируя силу тока, проходящего через ячейку, в зависимости от поданного напряжения, получают вольтамперные кривые, называемые в полярографии полярограммами (рис. 2). Форма полярограмм напоминает волну. Первый участок волны (АБ) соответствует начальному моменту процесса, когда протекает только остаточный (конденсаторный или емкостной) ток, связанный с расходом некоторого количества электричества на заряжение двойного электрического слоя на поверхности капли ртути и восстановлением следовых количеств электроактивных примесей.

Рис. 2. Типичный вид полярограмм определяемого элемента при концентрациях
Если в растворе присутствуют ионы, способные восстанавливаться на РКЭ (катоде), то при достижении определенного значения внешнего напряжения, обеспечивающего потенциал, равный потенциалу восстановления данных ионов, на полярограмме наблюдается резкое увеличение тока. Потенциал, соответствующий точке Б на полягрограмме, называют потенциалом выделения. Восстановление иона металла на РКЭ сопровождается растворением восстановившегося металла в ртути, образованием амальгаммы:
Mez+ + ze - + Hg Me(Hg).
С этого момента рост потенциала электрода как бы отстает от роста
налагаемого внешнего напряжения - электрод деполяризуется. Вещество, участвующее в электрохимической реакции и вызывающее деполяризацию электрода, называется деполяризатором. Ток, обусловленный электрохимической реакцией на электроде, называют фарадеевским, подчеркивая его связь с процессом электролиза. Подвод ионов деполяризатора к электроду осуществляется путем диффузии в приэлектродный слой раствора, концентрация в котором СЭ меньше концентрации в глубине С. Скорость диффузии, и тем самым сила тока, определяется разностью (градиентом) концентраций С - СЭ, поэтому ток называют диффузионным током.
IД = К(С - СЭ).
Дальнейшее увеличение напряжения вызывает уменьшение СЭ и усиление диффузии, следовательно, также и увеличение тока (участок БВ). Так продолжается до тех пор, пока СЭ не становится практически равной нулю. Это означает, что все ионы деполяризатора, которые подходят к электроду, сразу разряжаются. Дальнейшее увеличение напряжения не вызывает роста тока - достигается предельный диффузионный ток. Он зависит от концентрации деполяризатора в растворе
IД = КС (так как ).
На коэффициент пропорциональности К оказывают влияние многие факторы. Д. Ильковичем было получено уравнение, в котором отражено влияние некоторых из них:
,
где z - число электронов, участвующих в электродной реакции;
D - коэффициент диффузии ионов деполяризатра;
m - масса ртути (мг), вытекающей из капилляра за одну секунду;
t - промежуток времени между двумя каплями, с.
Для обратимого восстановления деполяризатора Гейровским-Ильковичем было выведено уравнение полярографической волны
Когда сила тока равна половине предельного диффузионного тока
(I = 1/2 IД), получают Е = Е1/2. Следовательно, половине высоты волны всегда соответствует одно и то же напряжение, независимо от концентрации деполяризатора. Оно называется потенциалом полуволны.
Качественный анализ проводят по потенциалам полуволн деполяризаторов. При этом необходимо иметь в виду, что на значение этой величины оказывают влияние фоновый электролит, рН раствора, присутствие комплексообразующих агентов. Определив в процессе полярографирования потенциалы полуволн ионов, находящихся в растворе, и сравнив их величины с табличными данными, можно установить, какие именно ионы находятся в растворе. Уравнение обратимой полярографической волны дает удобный графический способ нахождения важной качественной характеристики полярограммы - потенциала полуволны Е1/2. Построенная в координатах “ lgХ - [I/(Iд - I)] - Е” полярограмма будет выглядеть в виде прямой, точка пересечения которой с осью абсцисс - соответствует потенциалу, когда ток равен Iд (рис. 3).

Рис. 3. Графический способ определения потенциала полуволны Е 1/2 по уравнению полярографической волны.
По этому же графику можно определить число электронов z, участвующих в электрохимической реакции. Сделать это можно, найдя котангенс (мВ) и сравнив его с теоретическим значением. Из уравнения полярографической волны следует, что теоретические величины равны соответственно: 59,16 мВ для n = 1; 29,58 мВ для n = 2; 19,7 мВ для n = 3.
Если же число электронов, участвующих в электрохимической реакции известно, то по этому критерию можно установить, обратимо ли протекает данная реакция на электроде. При совпадении экспериментальной величины наклона с теоретической можно полагать, что электрохимическая реакция протекает обратимо.
Для количественных определений уравнение Ильковича, как правило, не используют, поскольку определение численных значений всех его параметров - слишком трудоемкая работа. На практике чаще всего для целей количественного анализа пользуются высотой полярографической волны h, выраженной в мм. В количественном полярографическом анализе могут быть использованы все приемы определения концентрации: сравнение с эталоном, метод стандартных серий, метод добавок.
Рис. 4. Полярограмма раствора, содержащего цинк, никель и кадмий.
Если в растворе присутствуют несколько деполяризаторов с достаточно большой разностью потенциалов полуволн (не менее 0,2...0,3 В), например, кадмий, никель, цинк, полярографическая волна каждого элемента возникнет последовательно друг за другом и высота волны каждого элемента не зависит от присутствия других элементов (рис. 4). Концентрация определяемого деполяризатора может быть в пределах 10-2...10 - 6 моль/л. Различные виды полярографии позволяют работать еще при более низких концентрациях деполяризаторов. При правильном выборе среды (фоновый электролит, рН, комплексообразующие агенты) с РКЭ можно определять ионы почти всех металлов, даже щелочно-земельных и щелочных. В вольтамперометрии с успехом применяют также твердые микроэлектроды, изготовленные из благородных металлов (Pt, Au и т.д.) или графита. Основным достоинством твердых электродов является возможность работы в более положительной области потенциалов (до 1,3 В), чем с РКЭ (от 0,3... -2,0 В) и их нетоксичность. Однако стационарные твердые электроды не нашли широкого применения из-за медленности установления предельного тока, невысокой чувствительности и других недостатков. Большее применение имеют вращающиеся и вибрирующие платиновые микроэлектроды, у которых предельный ток устанавливается быстро за счет непрерывного перемешивания раствора. Благодаря этому ионы к поверхности электрода доставляются не только за счет диффузии, но и перемешивания. Это в 10...20 раз увеличивает предельный ток по сравнению с диффузионным. Практическому применению твердых электродов в качестве катодов мешает восстановление водорода, которое на твердых электродах происходит при значительно меньших потенциалах, чем на РКЭ. Например, из кислых растворов на платине водород выделяется при - 0,1 В, а на РКЭ при - 2,0 В.
Капающий ртутный анод пригоден для определения некоторых анионов, например,
2 Hg + 2 Br - Hg2Br2 + 2 e -
Hg + 4 CN - [Hg(CN) 4] 2 - + 2 e -
Органические вещества восстанавливаются и окисляются на РКЭ, как правило, необратимо, часто ступенчато. Несмотря на это, разработаны методы определения многих органических веществ - галогенопроизводных альдегидов, кетонов, тиолов, нитрилов, хинонов, нитро- и азосоединений.
Основное условие правильного проведения полярографического анализа - подавление миграционного и конвективного токов. Эти токи возникают вследствие того, что кроме диффузии доставка деполяризатора к РКЭ может осуществляться миграцией, обусловленной действием электрического поля, и конвекцией при механическом перемешивании раствора или вследствие различий в плотности внутри раствора, вызванных перепадами концентрации или температуры. Поэтому в общем случае предельный ток складывается из диффузионного, миграционного и конвекционного токов. Но миграционный и конвекционный токи, в отличие от диффузионного, не связаны с концентрацией деполяризатора. Миграция и конвекция мешают диффузии ионов к РКЭ, следовательно, мешают полярографированию. Поэтому чтобы получить простую функциональную зависимость тока от концентрации, миграционную и конвекционную составляющую тока устраняют, для этого в раствор добавляют приблизительно стократный избыток посторонних индиферентных (т.е. электрохимически неактивных) ионов сильного электролита, называемого фоном. В присутствии избытка ионов фона электрод будет экранизирован этими ионами, и доля миграционного тока будет ничтожно мала. Если в процессе регистрации полярограммы раствор не перемешивать и поддерживать постоянной его температуру, то практически исчезнет механическая и тепловая конвекция. В качестве фона применяют различные соли, кислоты, основания или буферные смеси, ионы которых имеют более отрицательные потенциалы выделения, чем определяемые ионы. Особенно часто применяют растворы солей щелочных и щелочно-земельных металлов (KСI, КСNS, NH4Cl, Na2SO4 и т.д.). Иногда в качестве фона применяют комплексообразующие реагенты (NH4ОН, цитраты, тартраты и т.д.), которые не только подавляют миграционный ток, но и изменяют потенциалы полуволны анализируемых ионов, позволяя определять ионы с близкими значениями Е1/2.
Изобретенный Гейровским анализ на ртутной капле можно считать теперь классическим. Но применять такой электрод не всегда удобно. На ртути можно восстановить многие металлы, но не все. Например, для растворов солей металлов с высокоположительным потенциалом (например, платина) ртутный электрод непригоден, так как потенциал ртути отрицательнее потенциала платины. Нельзя применять его и при анализе расплавленных при высокой температуре электролитов. Более удобными в таких условиях оказываются электроды из благородных металлов (платина, золото). А чтобы избавиться от неудобств твердого неподвижного электрода, был изобретен вращающийся дисковый электрод, теория которого была разработана, в основном, советским ученым В. Г. Левичем.[4]
2. ПРИМЕНЕНИЕ ПОЛЯРОГРАФИИ В ФАРМАЦЕВТИЧЕСКОМ АНАЛИЗЕ
2.1. Условия проведения полярографического анализа
При проведении полярографического анализа требуется соблюдение, следующих условий:
1) Для поддержания необходимой электропроводности анализируемого раствора в него вводят фоновый электролит, например, хлорид или нитрат калия, хлорид аммония, соли тетраалкиламмония и др. Ионы фонового электролита должны разряжаться на ртутном капающем микроэлектроде при более высоких значениях приложенного потенциала, чем полярографируемое вещество. Концентрация фонового электролита должна быть выше концентрации полярографически активного вещества в оптимальном случае не менее чем в 100 раз. При этом концентрация самого полярографически активного вещества обычно лежит в пределах от ~102 моль/л до ~10-5 моль/л.
2) Перед проведением полярографического анализа из анализируемого раствора должен быть удален растворенный в нем кислород. Это достигается чаще всего путем пропускания тока инертного газа (например. азота) через раствор в течение ~15 минут перед началом полярографирования.
3) Иногда на полярограмме появляются максимумы, соответствующие протеканию электрического тока, превышающего предельный ток. Появление максимумов обусловлено движением поверхности капли жидкой ртути при каплеобразовании, что приводит к перемешиванию диффузного слоя растворана поверхности капли, к увеличению числа диффундирующих частиц полярографически активных веществ и к их разряду на микроэлектроде, следствием чего и является увеличение электрического тока, протекающего через полярографическую ячейку.
Для подавления максимумов тока в раствор вводят добавки желатина или других поверхностно-активных веществ (агар-агар, метиловый красный, фуксин и т.д.). которые изменяют поверхностное натяжение ртутной капли и препятствуют движению поверхностных слоев ртутной капли.
4) Необходимо термостатировать полярографическую ячейку, поддерживая температуру постоянной с точностью ±0,5 оС.
2.2. Применение метода полярографического анализа
Лекарственные средства (ЛС) представляют собой сложные химические вещества как неорганической, так и органической природы, и для контроля их качества используют весь комплекс аналитических методов анализа.
Сборником обязательных общегосударственных стандартов и положений, нормирующих качество лекарственных средств, является Государственная Фармакопея (ГФ). Последнее издание Государственной Фармакопеи (ГФ XII, вып.1, 2007г.) включает не только классические химические методы определения подлинности препаратов, чистоты и их количественного содержания (гравиметрия, титриметрия), но в ней также широко представлены современные инструментальные методы анализа.
Аналитический контроль лекарственных средств или определенных ингредиентов в препарате необходим, чтобы гарантировать их безопасность и эффективность на протяжении всего срока годности, включая хранение, распределение и использование.
Полярография используется для определения малых количеств неорганических и органических веществ. Разработаны тысячи методик количественного полярографического анализа. Предложены способы полярографического определения практически всех катионов металлов, ряда анионов (бромат-, иодат-, нитрат-, перманганат-ионов), органических соединений различных классов, содержащих диазогруппы. Карбонильные, пероксидные, эпоксидные группы, двойные углерод-углеродные связи, а также связи углерод-галоген, азот-кислород, сера-сера. Полярографию широко используют в анализе алкалоидов, витаминов, гормонов, антибиотиков, сердечных гликозидов.
Метод - фармакопейный, применяется для определения салициловой кислоты, норсульфазола, витамина В1, алкалоидов, фолиевой кислоты, келлина в порошке и в таблетках, никотинамида, пиридоксина гидрохлорида, препаратов мышьяка, гликозидов сердечного действия, а также кислорода и различных примесей в фармацевтических препаратах.
Метод обладает высокой чувствительностью (до 10-5 - 10-6 моль/л); селективностью; сравнительно хорошей воспроизводимостью результатов (до ~2 %); широким диапазоном применения; позволяет анализировать смеси веществ без их разделения, окрашенные растворы, небольшие объемы растворов (объем полярографической ячейки может составлять всего 1 мл); вести анализ в потоке раствора; автоматизировать проведение анализа.
К недостаткам метода относятся токсичность ртути, ее довольно легкая окисляемость в присутствии веществ-окислителей, относительная сложность используемой аппаратуры.
ВЫВОДЫ
Электpохимические методы анализа (ЭМА) основаны на процессах, пpотекающих на электpодах или межэлектpодном пpостpанстве. ЭМА являются одними из стаpейших ФХМА (некотоpые описаны в конце 19 века). Их достоинством является высокая точность и сpавнительная пpостота как обоpудования, так и методик анализа. Высокая точность опpеделяется весьма точными закономеpностями используемыми в ЭМА, напpимеp закон Фаpадея. Большим удобством является то, что в ЭМА используют электpические воздействия, и то, что pезультат этого воздействия (отклик) тоже получается в виде электрического сигнала. Это обеспечивает высокую скоpость и точность отсчета, откpывает шиpокие возможности для автоматизации. ЭМА отличаются хорошей чувствительностью и селективностью, в pяде случаев их можно отнести к микpоанализу, так как для анализа иногда достаточно менее 1 мл pаствоpа.
Полярография один из важнейших электрохимических методов анализа веществ, исследования кинетики химических процессов.
Полярография широко используется в металлургии, геологии, органической химии, медицине, электрохимии для определения ряда ионов (кадмий, цинк, свинец и др.), органических веществ (аминокислот, витаминов), их концентрации, для изучения механизма электродных и фотохимических реакций, протекающих в фотоэлектрохимических ячейках.
Широкое применение полярография нашла в фармацевтической промышленности.
СПИСОК ЛИТЕРАТУРЫ
1. Васильев, В.П. Аналитическая химия. В 2 кн. Кн. 2: Физико-химические методы анализа. Учебник для студ.вузов, обучающихся на химико-технол.спец. Издательство «Дрофа», 2002 С. 211-230
2. Харитонов Ю.Я. Аналитическая химия (аналитика). В 2 кн. Кн. 2: Количественный анализ. Физико-химические (инструментальные) методы анализа. Издательство «Высшая школа», 2001. С. 466-481
3. Крешков, А.П. Основы аналитической химии, ч.2.
Издательство «Химия», Москва, 1976 С. 412, 443
4. Полярография лекарственных препаратов. М и с к -
Мискиджьян С. П., Кравченюк Л. П Издательское объединение «Вища школа», 1976, 232 с
5. Хенце Г. Полярография и вольтамперометрия. Теоретические основы и аналитическая практика./ Г. Хенце; пер. с нем. А. В. Гармаша и А. И. Каменева. - М.: Бином. Лаборатория знаний, - 2008. -284 с
Интернет-ресурсы:
5. <http://eniw.ru/polyarografiya.htm>
6. http://www.chem-astu.ru/chair/study/PCMA/r2_4_1.htm
7. Полярография Медицинская энциклопедия.- Электрон. дан. - URL: http://www.medical-enc.ru/15/polarography.shtml
8. Полярогафия URL: http://www.chemport.ru/polarography.shtml
Список использованных источников литературы
1. А. М. Скундин. Полярография: анализ на катоде / А.М.Скундин, М.Л.Езерский; Химия и жизнь, ежемес. научно-популярный журнал. - М.,1969. С. 32, 38
2. В. Д. Безуглый. Полярография в химии и технологии полимеров. / В. Д. Безуглый; под ред. Г. Н. Гостеева. - Издение 3, переработ. и дополн. - М: Химия, 1989. - 252 с.
3. Я. Гейровский. Основы поляграфии. / Я. Гейровский, Я. Кута; пер. с ческ. В. П. Гультяя, В. А. Кузнецова; под ред. С. Г. Майрановского. - М: Мир, 1965. - 499 с.
4. Вольтамперометрия и родственные методы. [Электронный ресурс]/ URL: http://www.trotted.narod.ru/gosekzamen/19.htm (дата обращения: 10.05.2012).
5. В. П. Васильев. Аналитическая химия в 2 ч. Ч 2. Физико-химические методы анализа: Учеб. для химико-технолог. спец. вузов. / Ч. 2. - М: Высшая школа, - 1989. - 384 с.
6. В. Ф. Барковский. Физико-химические методы анализа: Учебник для техникумов. / В. Ф. Барковский, С. М. Горелик, Т. Б. Городенцева. - М: Высшая школа, - 1972. - 344 с.
7. Б. С. Брук. Полярографические методы: Физические и физико-химические методы контроля состава и свойств вещества. / Б. С. Брук; под ред. Н. Н. Шумиловского. - М. - Л: Энергия, - 1965. - 112 с.
8. Юинг Г. Инструментальные методы химического анализа: Учебное пособие. / Юинг Г. ; пер. с англ. Е. Н. Дороховой, Г. В. Прохоровой. - М: Мир. - 1989. - 608 с.
9. В.Б Алсековский. Физико-химические методы анализа: практическое руководство. / В. Б. Алесковский, К. Б. Яцимирский. - Л: Химия. - 1971. - 424 с.
10. Уран: Учебное пособие. / Московский государственный университет им. М.В.Ломоносова. - M. - 2008.