Розробка конструкцій і технологічного процесу виготовлення друкованої плати пристрою
Вступ
Метою дипломного проекту є розробка конструкцій і технологічного процесу виготовлення друкованої плати пристрою, а також розрахункове обгрунтування вибору елементної бази та розроблені структури технологічного процесу.
Розробка зарядного пристрою для автомобільних акумуляторів на даний час є доволі актуальною темою. Мало кого задовільняють зарядні пристрої минулого покоління. Заряджанняакумуляторів в таких приладах знижувало тривалість експлуатації акумуляторів .
Вирішення даної задачі полягає в автоматизації заряджання і спрощення керуванням процесу заряджання. Проетований зарядний пристрій призначений для використання як і в домашніх умовах так і в майстернях при великих вібраціях ,температурі,тощо…
У теперішній час уже відійшли на задній план зарядні пристрої які «всліпу» заряджали акумулятори. Чим раз більше у автолюбителів появляються нові ,автоматичні зарядні прилади, які заряджають набагато вищою якістю. А також перевагою персональної автоматичних зарядних пристроїй є те що вони зменшують зношеність акумуляторів .
Тож розробка таких приладів буде мати попит на ринку, тому що автомобілів стає все більше і більше . Їхнє обслуговування має бути сучасним і якісним.
Надзвичайно важко сьогодні визначити “границі” радіотехніки, оскільки радіотехніка проникла в значну кількість галузей наукової і виробничої яльності. Ще кілька десятиліть назад радіотехніка добре вписувалась тільки у зв'язок без провідників. Але зараз існують кабельні системи звязку та телебачення. І навпаки, при розмові по телефону або при відправленні телеграми, сигнали поширюються не тільки по кабелю, а також і у відкритому просторі. Прогрес суспільства без радіотехніки і радіоелектроніки просто неможливий. Радіотехніку використовують у різних галузях народного господарства: в космічних дослідженнях, в авіації, на флоті, в медицині, метеорології, геології, промисловості, сільському господарстві. На сьогоднішній день ні одна експериментальна наука не може обійтись без використання спеціальних, часто досить складних радіоелектронних пристроїв. Достатньо назвати такі, як прискорювачі елементарних частинок, електронні мікроскопи, стандарти частоти і часу, надчутливі індикатори електромагнітного випромінювання. Технічні засоби радіотехніки є основою не тільки всіх видів електро і радіозвязку, безмежного світу кібернетичних пристроїв, автоматичних систем управління, але і електроенергетики. Таке широке використання електромагнітної енергії пояснюється простотою перетворення її із одного виду в інший, простотою передачі практично на любі відстані і можливістю концентрації з величезною густиною.
Ще важче відобразити сучасний стан розвитку радіотехніки. Прогрес настільки стрімко розвивається, що відомості, якими ми володіли вчора, сьогодні стають безнадійно застарілими. Інформація про нові досягнення в галузі радіотехніки та радіотехніки поступає неперервно.
Сучасна радіоелектроніка розвивається в напрямку мікропроцесорної техніки, здавалося б звичайний холодильник чи пральна машинка, а в них вже є процесори які відповідають рівню ПК кінця 20-ого століття. Але це тільки мала частина від того що розробляється в сучасній електроніці, а це і роботи з дуже високим рівнем інтелекту, і фото, відео, аудіо побутова техніка з високим рівнем мініатюризації і великими функціональними можливостями, і засоби звязку з можливістю бачити на моніторі свого співрозмовника, і багато іншої цифрової техніки.
Вироби мікроелектроніки: інтегральні мікросхеми різних ступенів інтеграції, мікрозборки, мікропроцесори, і ЕВМ дозволили здійснити проектування і промислове виробництво складної радіоапаратури, яка відрізняється від апаратури попереднього покоління кращими експлуатаційними параметрами більш високою надійністю і строком служби, меншою споживаною потужністю і вартістю. Апаратура на базі мікроелектроніки найшла широке застосування в всіх галузях народного господарства і в всіх сферах діяльності людини. Створенню системи автоматичного проектування, промислових роботів, автоматизованих і автоматичних виробничих ліній, космічним дослідженням, проникнення в глибини океанів і надри землі, здобуткам в діагностиці і лікуванні багатьох захворювань, покращенням побуту простих людей і багато чому іншому сприяє розвиток мікроелектроніки.
Технологія інтегральних мікросхем, розвиваючись виключно швидкими темпами, досягла значних успіхів. В наш час вона відіграє висхідну і вирішальну роль в вдосконаленні практично всіх галузей народного господарства.
Саме на такому мікропроцесорі спроектований даний пристрій випередження кута запалення (ВКЗ).
Перспективи розвитку галузі
Електроніка на сьогоднішній день є однією з тих галузей які розвиваються дуже швидкими темпами. І в автомобільних приладах чи приладах для обслуговування автомобілів , вона зустрічається досить часто:
- Бортовий компютер обробляє інформацію із багатьох датчиків точно дозує подачу палива та повітря в циліндри, керує випередженням запалення, виводить інформацію про середній та моментальний розхід палива;
- ESP (система курсової стійкості) яка обробляє дані з багатьох датчиків і при винекнені екстремальної ситуації втручається в керування (підгальмовує потрібне колесо, вказує водію наскільки потрібно викрути кермо) допомагає водію втримати автомобіль на слизькій дорозі;
- ABS (анти блокувальна система коліс) яка при екстреному гальмуванні не дозволяє заблокувати колеса що дозволяє уникнути заносу автомобіля;
- Круїз-контроль це система яка підтримує постійну швидкість автомобіля на шосе і при виявленні попереду іншого автомобіля, за допомогою радару визначає швидкість і відстань цього автомобіля, підгальмовує. Наступне покоління цієї системи (уже пішло в серію на деяких моделях) при виявленні перешкоди попереду може повністю зупинити автомобіль без будьякої участі водія;
- “Розумна оптика” (світлодіодна чи газорозрядна) яка допомагає “зазирнути” в поворот збільшити потік світла га обочину і зменшити на зустрічній смузі;
- Клімат-контроль дозволяє забезпечити комфортну температуру для кожного пасажира;
- “Розумна” система повного приводу (xDrive у BMW, quattro у Audi, 4-Motion у Volkswagen…) яка за допомогою електронно керованих роз приділяють обертальний момент по осям автомобіля;
- Авто сигналізації з GSM та GPS звязком;
- Система слідкування за дорожньою розміткою попереджає водія вібрацією на кермі про те що автомобіль пересікає розмітку;
- Система розпізнавання дорожніх знаків за допомогою камери розпізнає дорожні знаки і висвітлює їх на моніторі.
Також на сьогоднішній день існує на етапі розроблення система яка сканує дорожнє покриття і на нерівностях подає сигнали керування на гідропневматичну підвіску про збільшення чи зменшення кліренсу на тому колесі яке попаде на нерівність. Лазерні датчики цієї системи будуть вмонтовані в оптику автомобіля.
І це далеко не весь список електронних систем які використовуються у транспорті. Саме тому ця галузь і надалі буде розвиватись шаленими темпами.
Автоматичний зарядний пристрій для акумуляторних батарей це пристрій для заряду електричних акумуляторів енергією зовнішнього джерела, як правило, від мережі змінного струму напругою 220В.
Зарядний пристрій допоможе завести машину або підзарядити розряджений акумулятор. Зарядний пристрій - це досить безпечне, але тим не менш серйозне обладнання, яке при неправильному використанні може зіпсувати батарею або нанести вам каліцтво. Заряджати батарею не слід в невентильованому приміщенні, а також поблизу предметів, які можуть постраждати від кислоти.
Акумулятори, особливо ті, які вже на зносі, можуть протікати і випускати отруйні пари. Існує безліч зарядних пристроїв різних розмірів і форм. Бувають невеликі легкі пристрої для екстрених випадків, таких як повна розрядка акумулятора. Бувають великі зарядні пристрої на колесах, що застосовуються в автомайстереньі на станціях техобслуговування. Перш ніж купувати зарядний пристрій, необхідно визначитися з типом акумулятора, встановленого на вашому автомобілі. Не всі зарядні пристрої підходять під всі типиакумуляторів. Зарядні пристрої можуть працювати від різного джерела живлення. Існують зарядні пристрої, що працюють від електричної мережі, від сонячних батарей і відприкурювача в автомобілі . Перевага зарядних пристроїв на сонячних батареяхполягає в тому, що їх не потрібно нікуди підключати і тому вони відмінно підходятьдля екстрених випадків на дорозі. Однак, зарядні пристрої на сонячних батареях працюють повільніше інших зарядних пристроїв.
Дванадцятивольтові зарядні пристрої, що працюють від прикурювача, найшвидші зарядні пристрої. Багато з них можуть регулювати швидкість заряджання в залежності від ємності акумулятора. Однак, ці зарядні пристрої не слід залишати підключеними на тривалий час, тому що існує велика ймовірність перезарядки батареї. Зарядні пристрої, що працюють від звичайної електричної мережі, дуже прості в обігу і зручні. Якщо у вас є електрика в гаражі, то акумулятор можна залишити на підзарядку на розрахунковий час .
Останнім часом з'явилися зарядні пристрої з вбудованим чіпом, який контролює процес підзарядки акумулятора. У міру наближення до повної зарядки зарядний пристрій знижує потужність зарядки вдвічі, поки батарея повністю не зарядиться. Коли батарея повністю зарядиться, загоряється зелений монітор. Крім того, за допомогою цього зарядного пристрою можна перевірити рівень підзарядки акумулятора при діагностиці і ремонті автомобіля. Тому за тему свого дипломного проекту я обрав цей тип зарядного пристрою для автомобільного акумулятора.
Перевагами даної конструкції зарядного пристрою на мікросхемах над попередниками є досконалість параметрів, які підтверджені використанням сучасної елементної бази.
Призначення виробу :
Даний зарядний пристрій призначений для заряджання автомобільних свинцевих акумуляторних батарей. В різних режимах з різним рівнем регулювання.
Сучасна радіоелектроніка розвивається в напрямку мікропроцесорної техніки, здавалося б звичайний холодильник чи пральна машинка, а в них вже є процесори які відповідають рівню ПК кінця 20-ого століття. Але це тільки мала частина від того що розробляється в сучасній електроніці, а це і роботи з дуже високим рівнем інтелекту, і фото, відео, аудіо побутова техніка з високим рівнем мініатюризації і великими функціональними можливостями, і засоби звязку з можливістю бачити на моніторі свого співрозмовника, і багато іншої цифрової техніки.
У даному пристрої використовуються сучасні мікросхеми: мікропроцесор який керує запаленням та вольтметр який призначений для візуального сприйняття швидкості обертання колінчатого вала.
Виконання даного пристрою на мікроконтроллері дозволило значно зменшити кількість радіоелементів а це в свою чергу дозволило скоротити час на розробку та виготовлення друкованого вузла. Також великою перевагою є те що при потребі можна міняти характеристики графіка випередження кута запалення та додаткові функції простим завантаженням відповідної програми у мікроконтроллер.
Призначення і область застосування радіопристрою.
Пристрій призначений для заряду електричних акумуляторів енергією зовнішнього джерела( мережі )змінного струму напругою 220В.
Зарядний пристрій може бути встановлений в гаражі чи майстерні .
1. Конструкторська частина
1.1 Опис роботи електричної принципової і структурної схем
Напруга мережі після претворення її на трансформаторі , з 220 на 18-22 В , поступає на діодний міст , який випрямляє її. Після проходження оптрона ,резистора R7, R9 і транзистора VT2 поступає на вихідні клеми заряджання.
Вимірювання напруги АКБ і зарядного струму здійснюється засобами самого мікроконтролера. Зарядний і розрядний струм вимірюються наступним чином. Падіння напруги подається на підсилювальний каскад, який знаходиться всередині мікроконтролера , до виводів 12, 19. Вся інформація про зміни струму заряджання виходить з виводів 14,15,16 , до виводів 3,4,5 дешифратора (мікросхема К17ИД3) і далі на сегментний індикатор ( HG1) , підключений через резистори R20-R26 до виводів 9-15 по шині. Захист від переполюсування виконаний на польовому транзисторі VT2. При включенні зарядного пристрою в мережу автоматично обираэться режим зарядки АКБ. В процесі заряду постійно контролюється струм заряджання. Крім сегментного індикатора в схемі присутні світлодіодні індикатори HL1-HL8. Ці індикатори відображають чи здійснюється заряджання , завершення заряджання,режим десульфації, паузу, струм, таймер, процес налаштування струму. Керування цими світло діодами здійснюється мікроконтролером та мікросхемою DD4 74HC164.

Рисунок 1.1 Структрурна схема автоматичного зарядного пристрою
для заряджання автомобільних акумуляторів.
1.2 Розрахунок електричних параметрів окремих каскадів
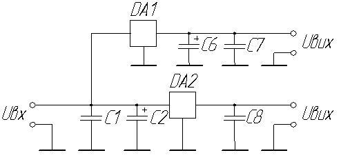
У даному пристрої використовуються два інтегральні стабілізатори напруги на 5В та 9В. Вони вибираються за вхідною та вихідною напругою та максимальним струмом.

Рисунок 1.2 схема стабілізатора напруги
Для даного пристрою інтегральні стабілізатори напруги DA1 та DA2 вибираються за наступними умовами:
UЖ= Uвих ; (1.1)
Ін<Івихmax ; (1.2)
де UЖ напруга живлення схеми;
Ін струм навантаження;
Uвих вихідна напруга інтегрального стабілізатора напруги;
Івихmax максимальний вихідний струм інтегрального стабілізатора напруги.
DA1 9B=9B 0,15А<1,5А
DA2 5B=5B 0,05А<1,5А
Розраховую напругу входу за формулою:
; (1.3)
де Uвих вихідна напруга0
Uпад.мін мінімальне падіння напруги;
відносна зміна вхідної напруги.
;
;
Так як обидві мікросхеми підєднані до одного джерела живлення то приймаємо вхідну напругу рівну 10,5В.
За результатами розрахунку в даному пристрої використовуємо інтегральні стабілізатори напруги типу L7809C-V ST та L7805C-V ST.
Конденсатори вхідних та вихідних фільтрів обираю з типових схем:
С1, С7, С8 - FTD-H20-0.1мкФ 10% "KEMET" С2, С6 - К50-35-25В-47мкФ±30%
Результатом цього розрахунку є вибір інтегральних стабілізаторів напруги DA1 - L7809C-V ST, DA2 - L7805C-V ST, та фільтрів по живленню С1, С7, С8 - FTD-H20-0.1мкФ 10% "KEMET", С2, С6 - К50-35-25В-47мкФ±30%
1.3 Технічні вимоги до зарядного пристрою.
Технічні характеристики пристрою випередження кута запалення:
Напруга живлення…………………………………………….…..…..…220 В
Напруга батареї яка заряджається………………………………...……..12 В
Максимальна ємність батареї……………………….………..……..220А/год
Максимальний струм заряду батареї ……………………………………20 А
Максимальний час заряджання …………………….…………...….….50 год
Струм десульфації…………………………………..……...…………….1-5 А
Споживаний струм від зовнішнього пристрою:
- в робочому режимі . . . .. …………… ……………..…………....….200 мА
- в режимі очікування . . . . . . . …………………..…………….....….. 20 мА
Даний пристрій по способу експлуатації може бути як возимим так і стаціонарним приладом, і буде використовуватись в майстернях , гаражах,т.д.
Цей пристрій експлуатується при коливанні температур від -20 до +300 С, вологості 75% , нормального атмосферного тиску. В умовах не надто високої вібрації вібрації.
Робоча температура …………………………………………. -20°С…+60°С
Відносна вологість повітря …………………………..…………… 20 75%
Атмосферний тиск ……………………………………....400…700 мм.рт.ст
Габаритні розміри ………………………………………….. 321*181*135мм
1.4 Опис і обгрунтування вибору елементної бази.
Всю елементну базу даного пристрою я обирав так щоб вона відповідала електричним параметрам, температурним режимам, була надійною надійною та широко розповсюдженою.
У даному пристрої вибрано елементи:
Мікросхеми
DD1LM358 двоканальний операційний підсилювач.
Особливості:
- Внутрішня частота з компенсацією
- Великий коефіцієнт посилення напруги постійного струму: 100 дБ
- Широка смуга пропускання (одиничне посилення): 1,1 МГц
(з температурної компенсацією)
- Дуже низький струм у оператора практично не залежать від напруги живлення
- Низький вхідний струм зміщення: 20 нА (з температурної компенсацією)
- Низька напруга зміщення: 2 мВ
- Низький вхідний струм зміщення: 2 нА
- Вхід синфазної напруги включає в себе негативний
- Диференціальний діапазон вхідної напруги
- Великий коливання вихідної напруги від 0 до 1,5 В
Ця мікросхема має високий коефіцієнт підсилення внутрішньої частоти , і спеціально призначена для роботи з одним джерелом живлення в широкому діапазоні напруги. Області застосування включають датчики підсилювачів, DC підсилення блоків, і всі звичайні схем, які тепер можуть бути легко реалізовані в єдиних системах живлення. Наприклад, ці схеми можуть бути, безпосередньо зі стандартним +5 В, яка використовується в логічних системах і легко забезпечать необхідний інтерфейс електроніки .

Рисунок 1.3 LM358 низькоспоживаючий двоканальний
операційний підсилювач
DD2 - Мікроконтроллер фірми Microchip PIC16F690 я обираю тому, що в нього достатньо портів воду виводу даних, обєму памяті вистарчає для прошивки програми, працює в широкому діапазоні температур, невисока вартість.
Високоефективний RISC-процесор:
Всього 35 простих для вивчення однотипних інструкцій;
Швидкість роботи:
- тактова частота до 20 МГц;
- мінімальна тривалість такту 200 нс;
16 апаратних регістрів спеціального призначення;
8 - рівневий аппартний стік;
Прямий, непрямий і відносний режими адресації для даних і інструкцій;
Організація памяті мікроконтроллера PIC16F690A:
FLASH програма 2048 x 14;
ОЗП 224 x 8;
ЭСППЗУ 128 x 8.
Периферія:
Timer0 - 8-розрядний таймер/лічильник реального часу з 8-розрядним попереднім дільником;
Timer1 - 16-розрядний таймер/лічильник реального часу із зовнішнім входом;
Timer2 - 8-розрядний таймер/лічильник реального часу з 8-розрядним
регістром періоду, попереднім дільником і вихідним дільником;
Аналоговий модуль компаратора:
- Два аналогові компаратори
- Програмований модуль вбудованого джерела опорної напруги
- Програмований мультиплексорний вхід від виходів пристрою і внутрішнього джерела опорної напруги
- Виходи компаратора можуть бути сигнальними виходами
15 ліній введення/виводу з індивідуальним наданням напряму;
Високий втікаючий/витікаючий струм для безпосереднього управління світлодіодними індикаторами.
Універсальний синхронно-асинхронний прийомопередавач (USART/SCI);
16 байт загальної пам'яті;
Модуль захвата/компаратора/ШИМ:
- захват 16 розрядів, макс. роздільна здатність 12,5 нс;
- порівняння 16 розрядів, макс. роздільна здатність 200 нс;
- ШИМ, макс. роздільна здатність 10 розрядів;
Особливості ядра:
Скидання при включенні живлення (POR);
Таймер включення живлення (PWRT) і таймер запуску генератора (OST);
Скидання по падінню напруги живлення (BOD);
Сторожовий таймер (WDT) з власним вбудованим rc-генератором для підвищення надійності роботи;
Програмований захист коду;
Режим економії енергії (SLEEP);
Програмування на платі через послідовний порт (з використанням двох виводів);
Чотири програмованих користувачем ідентифікатора;
Низька напруга програмування;
Multiplexed Mclr-pin;
Programmable weak pull-ups on PORTB;
Пробудження з режиму SLEEP по зміні стану виводів;
Внутрішні резистори до шини живлення на лініях введення/виводу;
Внутрішній резистор на лінії MCLR;
Вибирані режими тактового генератора:
- FLASH конфігураційні біти для установки режимів генератора;
- Двочастотний INTRC з низьким енергоспоживанням;
- EXTRC: зовнішній недорогий rc-генератор;
- XT: стандартний генератор на кварцовому резонаторі;
- LP: економічний, низькочастотний генератор на кварцовому резонаторі
- HS: високочастотний генератор на кварцовому резонаторі.
ЄС: вхід для підключення зовнішнього генератора.
Технологія КМОП:
Економічна, високошвидкісна технологія КМОП FLASH;
Повністю статична архітектура;
Широкий робочий діапазон напруги живлення: від 3,0В до 5,5В;
Низьке споживання енергії: < 2 мА при 5,0 В, 4,0 Мгц - 15 мкА (типове значення) при 3 В, 32 кГц - < 1,0 мкА (типове значення) в режимі STANDBY при 3В
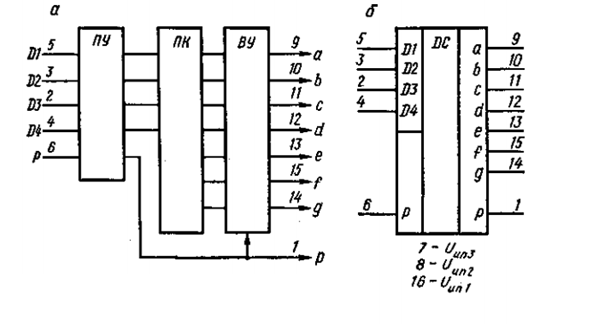
DD3 Мікросхема К176ІДЗ призначена для керування семисегментними цифровими індикаторами. Умовне позначення цієї мікросхеми на рис.1.2. Призначення висновків: A. .. D - інформаційні входи, S - вхід управління; K - вхід блокування; М вхід інверсії, a…q - виходи, що підключаються до цифрового індикатору.
Дешифрування вхідних сигналів здійснюється при високому рівні на вході 5, а на входах К і М в цей час повинні бути низькі рівні. В результаті дешифрування на цифровому індикаторі висвічуються цифри 0 ... 9 згідно з двійковим вхідним кодом. У разі установки на вході Dо високого логічного рівня всі виходи дешифраторів замикаються незалежно від стану вхідної інформації (тобто цифровий індикатор повністю вимикається).
Якщо під час роботи дешифратора надходить низький рівень на вхід S, то на виході фіксується той останній код, який був до зміни рівня на вході S, т. е. на цифровому індикаторі запам'ятовується відповідна цифра, незалежно від зміни вхідної інформації (в дешифратора є вхідні регістри на тригерах).
Якщо на вхід М подати високий рівень, то на виходах сформуються інверсні сигнали. Це дозволяє використовувати з даними дешифраторами цифрові індикатори як із загальними анодами, так і з загальними катодами (при цьому загальні аноди з'єднуються з + Uі.п, а загальні катоди із загальним
проводом).
Слід зазначити, що максимальний вихідний струм цього типу дешифраторів обмежений величинами -2...+3 мА, тому без вихідних підсилювачів до них можливо підключати тільки малопотужні цифрові індікатори.

Рисунок 1.4 Мікросхема К176ІДЗ
DA1, DA2 стабілізатор напруги позитивної полярності L7809C-V ST фірми Microelectronics я вибираю тому що він підходить по струму є широко розповсюдженим і відносно недорогий.
Вхідна напруга . . . . . . . . . . . . . . . . . . . . . . . . . . . . . . . . . . . . . . . . . . . 11-25 В
Вихідна напруга . . . . . . . . . . . . . . . . . . . . . . . . . . . . . . . . . . . . . . . . . . .. . . .9 В
Максимальний вихідний струм . . . . . . . . . . . . . . . . . . . . . . . . . . . . . .. . .1,5 А
Діапазон робочих температур . . . . . . . . . . . . . . . . . . . . . . . . . .. . . 0…+125С
Тип корпусу ТО-220
Транзистори:
VT1,VT3-VT5 транзистор BC337. Зображений на Рис.1.5

Рисунок 1.5 Транзистор BC337

Рисунок 1.6 Транзистор IRFZ44N
.
Резистори (R1-R3,R5-R8,R9-R12,R14-R36) фірми Royal Ohm.
Металоплівкові з металоелектричним провідним шаром, неізольовані, призначені для роботи в електричних колах постійного, змінного та імпульсного струмів, стійкі до впливу навколишнього серидовища , ці резистори часто використовуються, даний тип резисторів є не дорогими, тому зменшує вартість виробу.

Рисунок 1.7 Габаритні розміри резистора
H = 28mm L = 6.8mm d = 0,6mm D = 2.5mm
У цих резисторах використовують кольорове маркування що дає змогу полегшити монтаж елементів. Такі резистори мають хороші електричні параметри: діапазон ном. оп. = 1…1.5*106 Ом, номінальна потужність = 0,125 Вт, всі ці параметри добре підходить до моєї схеми і дають змогу зменшити габарити виробу, гранична напруга становить 250В, допустимі відх оп. становить ± 1%, що зменшує розкид параметрів в схемі.
Резистор R9 обираю типу SQP 10 .
Резистори серії SQP знаходять застосування в промисловій електроніці, в блоках живлення і підсилювачах, при вимірах в якості випробувального навантаження, а також в якості нагрівальних елементів (зокрема у відеокамерах зовнішнього відеоспостереження). Резистори SQP мають підвищену жаро і вогнестійкістю. Основа резистора особливо чиста кераміка Al2O3 . В якості резистивного елементу - провідник з високим питомим опором, або метало-оксидний стрижень .
Виводи - луджена мідь Корпус вилитий з цементу .
- Тип SQP
- Номінальний опір………………………………………..………..…… ….47 Ом
- Точність……………………………………………………..…………………..5%
- Номін.мощность……………………………………….….…...…………….10 Вт
- Макс.рабочее напруга…………………………………...…..…………….. 750 В
- Робоча температура……………………………………...……..….. -55 ... +155 С
- Монтаж ……………………………………………………..………..………в отв.
- Довжина корпусу L…………………………………………..………..…… 48мм
- Ширина (діаметр) корпусу W (D)………………………….………...…… 9,5мм
Резистори R4,R13 вибираю типу СП3-38Б 10 кОм. Резистори змінні недротяні підстроювальні одно оборотні з круговим переміщенням рухомої системи. Призначені для використання як вбудовані елементи внутрішнього монтажу виробів для роботи в колах постійного і змінного струмів, в безперервних і імпульсних режимах. Проміжні значення номінальних опорів відповідають ряду Е6 з допусками +20% (до 220кОм);
Рисунок 1.8 Резистори типу СП3-38Б 10 кОм
Номінальна потужність розсіювання …………………………..……0,125Вт
Маса ……………………………………………………………….……….0,8г
Початковий стрибок ………….………………………………………..< 10%
Число циклів переміщення рухомої системи………………………….. 500
Температура довкілля …………………………………………..°С -45..+70
Конденсатори С3,С6,С7 фірми ARCTRONICS керамічні неізольовані.
Вони мають малі габарити, являються дуже дешевими та доступними. І є задовільними при їх параметрах. Призначені для роботи в ланках постійного та пульсуючих струмів, та в імпульсних режимах. Використовуючи конденсатори такого типу дає нам можливість автоматизувати процес виготовлення виробу.
робоча напруга……………………………………….…………………50В;
відхилення ємності від номінального значення………....….……… ±10%;
інтервал робочих температур ………………………..….……..-25С+85С;
температурний коефіцієнт ємності ………………………….………+3,3%;
Відносна вологість ………………………………………….………до 80%;
Габаритні розміри:

Рисунок 1.9 Конденсатори фірми ARCTRONICS
Також ці конденсатори широкорозповсюдженні та недорогі.
Ці елементи вибрані у звязку із їхньою дешевизною, практичністю та доступністю, а також вони влаштовують вимоги даного приладу.
Конденсатори С1,С2,С4,С5,С8 обираю фірми SAMWHA , JAMICON. Оксидно-електролітичні полярні призначені для роботи в колах постійного і пульсуючого струмів, і в імпульсних режимах, також для заряду і розряду в якості накопичувачів енергії. Дані конденсатори є також недорогими .

Рисунок 1.10 Конденсатори фірми SAMWHA , JAMICON.
D=5мм, L =11мм, F=2,5мм .
Електричні параметри:
Діапазон напруг …………………………..……………………………. 50B;
Діапазон ємностей ……………………..………………….0,47 10000мкФ;
Температурний діапазон ………………...…………………. -25С…+85С ;
Розкид ємності…………………..…………...………………………… ±20%;
Діодний міст GBU8A фірми WISHAY.

Рисунок 1.11 Діодний міст GBU8A фірми WISHAY
Конфігурація ……………………………………….....……………….однофазний
Зворотня напруга …..…………………………………...……………..……….50 В
Пряма напруга……………………………………………………..……………. 1 В
Пік RMS зворотня напруга ……………………………………..………...…...35 В
Максимальний стрибок струму …………………………………..…...……..200 А
Прямий безперервний струм…………………………………………...…..….. 8 А
Зворотній струм IR ………………….……………………..…………..…...50 мкА
Потужність, що розсіюється………….………………………….………….. 16 Вт
Максимальна робоча температура ….……………………..……..………..150 ° С
Мінімальна робоча температура …………………………...………..…….- 55 ° CКонец формы
Діоди VD2,VD4 - 1N4007-E3/54 фірми WISHAY.

Рисунок 1.12 Діод 1N4007-E3/54 фірми WISHAY.
Максимальна пряма напруга…………………………………......…..……. 1000 В
Зворотня напруга ……………………………………………………………...1,1 В
Прямий безперервний струм ………………………………………...…….…..1 А
Максимальний стрибок струму …………………………………...…………..45 A
Зворотний струм ІК………………………………………………..…………5 мкА
Оптрон діодний VD3 - AOD130A фірми «ОАО» ОПТРОН. Оптопара діодна, що складається з випромінювача і кремнієвого фотоприймача, виготовлених за епітаксіальної технології, в пластмасовому корпусі, призначені для використання як елементів гальванічної розв'язки в високовольтної електротехнічної тарадіоелектронної апаратури. Маса оптрона не більше 1 м. Коофіцієнт передачі по струму ,в залежності від температури ,може мінятися від 0.6 до 1.
Рисунок 1.13 Оптрон діодний AOD130A фірми «ОАО» ОПТРОН

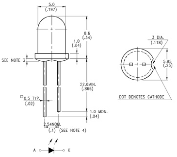
Рисунок 1.14 Світлодіоди LL-503(I,G,Y)D фірми LUCKY LIGHT.
Діаметр світлодіодів……………...………………………………………….. 5мм
Колір светодіо……………...……………………….жовтий , зелений,червоний
Сила світла ………………………………………………………………38-43мкд
Кут огляду…………………………………………………………………….. 40 °
Довжина хвилі d ……………………………………..……………………590нм
Лінза світлодіодів ………………………………….…………матова, кольорова
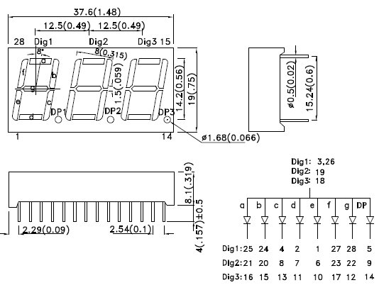
Cемисегментний Індикатор BA56-11EWA фірми KINGBRIGHT ELECTRONIC. Він володіє малим струмом споживання , легко встановлюється на друковану плату. Висота символу близько 15 мм.

Риунок 1.15 Cемисегментний Індикатор BA56-11EWA фірми KINGBRIGHT ELECTRONIC.
Колір ……………………………….…………………………..Зеленый (GaP)
Висота символа …………………………...…………………..……..14.22 мм
IF (тип.) ………………………………………………………………….20 мА
Розмір ……………………………….……………………..37.6x19.0x8.1 мм
Кількість символів ………………………….………………………………3
VF (тип.)…………………………………...…………………………….. 2.2 В
Конфигурация …………………..…………………………..Спільний анод
1.5 Конструктивний розрахунок параметрів друкованого монтажу
Розрахунок друкованого монтажу складається з трьох етапів: розрахунок по змінному і постійному струму і конструктивно-технологічний. Розрахунок проводимо в такій послідовності:
1) Виходячи з технологічних властивостей виробництва вибираю метод виготовлення хімічний, клас точності друкованої плати 3 (ОСТ 4.010.022-85).
2) Визначаю мінімальну ширину друкованого провідника по постійному струму для кіл живлення і заземлення:
; (1.4)
де Imax=200мА максимальний постійний струм, який притікає в провідниках.
Iдоп=20А/мм2 допустима густина струму.
t=35мкм товщина провідника.
;
- Визначаю мінімальну ширину провідника виходячи із допустимого падіння напруги на ньому:
; (1.5)
де =0,05Ом мм2/м питомий обємний опір.
=0,31м довжина провідника.
=0,6В допустиме падіння напруги
;
- Визначаю номінальне значення діаметрів монтажних отворів:
; (1.6)
де dE максимальний діаметр дроту встановленого ЕРЕ
dH.B. нижнє граничне відхилення від номінального діаметру монтажного отвору
r різниця між мінімальним діаметром отвору і максимальним діаметром виводу ЕРЕ
d1(R1-R7,R9-R20,С1-С14,DD1,DD2,ZQ1,VT1)=0.7+0.1+0.2=1мм;
d2(XS1,XS2,DA1,DA2,R8)=0.9+0.1+0.2=1.2мм;
d3(VD1)=1+0.1+0.2=1.3мм;
Приймаємо такі стандартні діаметри отворів 1; 1,2; 1,3.
5) Розраховую діаметри контактних площадок:
Dmin=D1min+1.5hФ; (1.7)
Dmin1=0.99+1,50,035=1.042мм;
Dmin2=1.15+1,50,035=1.203мм;
Dmin3=1.22+1,50,035=1.273мм;
де hФ товщина фольги
D1min - мінімальний ефективний діаметр площадки:
D1min= ; (1.8)
D1min1=мм;
D1min2=мм;
D1min3=мм;
де bM відстань від краю просвердленого отвору до краю контактної площадки;
d і p допуски на розташування отворів і контактних площадок;
dmax максимальний діаметр просвердленого отвору:
dmax=d+d+0.1; (1.9)
де d допуск на отвір
dmax1=1+0,1+0,1=1,2мм;
dmax2=1.2+0,1+0,1=1.4мм;
dmax3=1.3+0,1+0,1=1.5мм;
Dmax=Dmin+(0.02…0.06) ; (1.10)
Dmax1=1.042+0.04=1.046мм;
Dmax2=1.203+0.04=1.207мм;
Dmax3=1.273+0.04=1.277мм;
6) Визначаю ширину провідників:
Мінімальна
bmin=b1min+1.5hФ ; (1.11)
де b1min=0,18мм мінімальна ефективна ширина провідника.
bmin=0,18+1,50,035=0,23мм;
Максимальна
bmax=bmin+(0.02…0.06); (1.12)
bmax=0.23+0.04=0.27мм;
7) Визначаю мінімальну відстань між елементами провідного малюнку.
Мінімальна відстань між провідником і контактною площадкою
S1min=L0-; (1.13)
де L0 відстань між центрами відповідних елементів
l допуск на розташування провідників
S1min1=2.5-мм;
S1min2=2.5-мм;
S1min3=2.5-мм;
Мінімальна відстань між двома контактними площадками
S2min=L0-(Dmax+2p); (1.14)
S2min1=2.5-(1.046+2 0.35) =0.75мм;
S2min2=2.5-(1.207+2 0.35) =0.59 мм;
S2min3=2.5-(1.277+2 0.35) =0.52 мм;
Мінімальна відстань між двома провідниками
S3min= L0-(Dmax+2l); (1.15)
S3min1=2.5-(1.046+2 0.15) =1.15 мм;
S3min2=2.5-(1.207+2 0.15) =0.99 мм;
S3min3=2.5-(1.277+2 0.15) =0.92 мм;
1.6. Розрахунок надійності.
Надійність приладу це його здатність виконувати поставлені перед ним функції при заданих умовах експлуатації на протязі певного періоду часу.
Основними характеристиками надійності є ймовірність безвідмовної роботи та інтенсивність відмов.
Ймовірність безвідмовної роботи це ймовірність того що в заданих умовах експлуатації в межах заданого періоду ненаступить відмова.
Інтенсивність відмов це відношення кількості систем (елементів) які відмовили напротязі заданого періоду t до добутку загальної кількості елементів на тривалість періоду часу t.
; (1.16)
де - кількість систем які відмовили на протязі заданого періоду часу t
- загальна кількість елементів
Розрахунок надійності.
Усі елементи працюють в усереднених експлуатаційних режимах.
Розрахунок надійності проводимо за допомогою компютерної програми яка використовує формулу (3.16).