Улучшение показателей технологического процесса изготовления автомобильных стекол
Содержание
Введение
Раздел 1. Анализ существующих методов производства листового стекла..10
1.1. Производство листового стекла…………………………………………..10
1.2. Заливочная технология изготовления триплекса………………………..10
1.3 Пленочная технология изготовления триплекса………………………....12
1.4 Безавтоклавная пленочная технология……………………………………13
1.5 Выводы……………………………………………………………………...14
Раздел 2. Технологическая часть…………………………………………..….15
2.1 Операционная технология………………………………………………....15
2.2 Описание технологического процесса………………………………........24
2.3 Описание физического процесса растрескивания стекла………………..24
2.4 Выбор технологического оборудования………………………………….26
2.5 Составление операционной карты………………………………………...37
2.6 Выводы……………………………………………………………………...37
Раздел 3. Конструкторская часть……………………………………………...38
3.1 Описание объекта автоматизации………………………………………....38
3.2 Разработка устройства для захвата стекла …………………………...…..40
3.3 Выводы……………………………………………………………………...41
Раздел 4. Охрана труда………………………………………………………...42
4.1 Разработка системы управления охраной труда на предприятии по изготовлению автомобильных окон…………………………………………………42
4.2 Оценка и анализ условий труда на рабочем месте сотрудников предприятия по изготовлению автомобильных окон…………………………….…49
4.3 Выводы……………………………………………….……………………..56
Заключение…………………………………………………………….………..58
Библиографический список……………………………………………………59
Введение
Связь работы с научно-техническими программами, планами, темами.
Тема дипломного проекта соответствует научной тематике факультета технологии и автоматизации машиностроения, приборостроения и транспорта Севастопольского национального технического университета в области разработки современных автоматизированных систем управления процессами и производствами;
Цель и задачи выполнения дипломного проекта.
Улучшение показателей технологического процесса изготовления автомобильных стекол;
Объектом исследования являются автоматизированные линии производства автомобильных стекол;
Предметом исследования являются методы совершенствования технологического процесса изготовления автомобильных окон;
Методы исследования.
В дипломном проекте использованы методы нахождения решений («Мозговой штурм»), теория принятия решений, изучение литературы, теоретический анализ.
Научная новизна полученных результатов заключается в создании новых компоновочных решений, которые являются конкурентоспособными на рынке услуг.
Практическое значение полученных результатов.
Результаты, полученные в ходе выполнения дипломного проекта, могут быть использованы на авторемонтных предприятиях города Севастополя, например, АТП 14.330.
Личный вклад студента.
Результаты, полученные в ходе выполнения проекта, получены без соавторства;
Апробация полученных результатов.
По результатам проектирования подготовлены два выступления на научно-технических студенческих конференциях.
РАЗДЕЛ 1
АНАЛИЗ СУЩЕСТВУЮЩИХ МЕТОДОВ ПРОИЗВОДСТВА СТЕКЛА
1.1 Производство листового стекла
Изготовление листового стекла по флоат-технологии.[4] Первым этапом производства листового стекла является приготовление стекольной массы. Основными компонентами для нее служат кварцевый песок, известь, сода и прочие добавки. Эти компоненты смешиваются между собой и подвергаются плавлению в специальных печах, обеспечивающих температуру нагрева до 1600 градусов Цельсия.
После того, как стекольная масса приобретает однородную жидкую структуру, ее выливают в ванны, наполненные расплавленным до жидкого состояния металлом. Стекольная масса равномерно распределяется по поверхности расплавленного металла, образуя ленту с идеально ровной глянцевой поверхностью.
Полученная лента подается в охлаждающие установки, обеспечивающие ее равномерное остывание. Уже в холодном состоянии стеклянная лента подвергается раскрою на стандартные листы, после чего готовое листовое стекло готово к хранению и транспортировке.
1.2 Заливочная технология изготовления триплекса
Преимущество этого способа в том, что соединить можно разные стекла как по толщине, так и по цвету и фактуре.
Производство многослойного стекла по заливочной технологии включает в себя следующие шаги:
- подготовка и мойка стекол;
- нанесение двусторонней ленты;
- присоединение второго стекла;
- подпрессовка полученной конструкции;
- заполнение межстекольного пространства;
- отверждение смолы.
Ниже будут рассмотрены наиболее важные особенности процесса производства заливного триплекса.
Мойка стекол. После мойки важно контролировать, чтобы перед следующим шагом технологического процесса стекла были абсолютно сухими, обезжиренными, и не содержали на поверхности остатков моющих средств, иных веществ и твердых частичек. При изготовлении заливного триплекса, сначала производятся стекла нужного размера и конфигурации, а затем между ними заливается жидкий полимер. При резке стекла допустимо применять только масел, растворимых в воде.
Нанесение двусторонней ленты и присоединение второго стекла. Для создания межстекольного пространства для заливки смолы стекла соединяются с помощью двусторонней клейкой прозрачной лентой. В углу делается заливное отверстие. Оно же служит одновременно и для выхода воздуха из межстекольного пространства. Оба стекла заклеиваются по периметру.
Подпрессовка полученной конструкции. Для улучшения герметизации межстекольного пространства конструкция нагружается.
Заполнение межстекольного пространства. Перед заполнением межстекольного пространства смолой проводится расчет требуемого объема смолы. Для этого после прессовки производится замер микрометром толщины ленты, ширины и длины стекол. Учитывается фактор усадки смолы в процессе отвержения. Перед отвержением проверяют, чтобы в смоле отсутствовали пузырьки воздуха. Иначе после отверждения эти пузырьки останутся в слое смолы. Для устранения воздуха применяют процедуру прокачки установки новой порцией смолы.
Отверждение смолы. Качественные оптические свойства изделий получаются при условии, что слой жидкой смолы имеет одинаковую толщину по всей площади изделия. Создание равномерного слоя смолы требует абсолютной горизонтальности и устойчивости основания поверхности, на котором проводится отверждение, а также, равномерность облучения УФ-излучателем. По этой причине изготовление в один прием многослойного (с тремя и более стеклами) стекла не производится, так как велика вероятность возникновения колебаний толщины слоя смолы. При изготовлении многослойных стекол проводятся последовательные операции последовательного отверждения слой за слоем.
Стекла с покрытием. Использование объемно окрашенного стекла или стекла с покрытием требует отработки режимов облучения, поскольку такие стекла могут задерживать УФ излучение. В случае использования стекла с покрытием, сторона, на которую нанесен слой, ни в коем случае не должна соприкасаться со слоем смолы.
1.3 Пленочная технология изготовления триплекса
Преимущество этой технологии в том, что многослойное стекло, изготовленное по этой технологии, обладает лучшими оптическими характеристиками.
При использовании пленочной технологии между листами стекла закладывается поливинилбутиральная пленка (ПВБ), после чего пакет проходит предварительную подпресовку в колландере, а затем в автоклаве происходит его окончательное склеивание.
Колландер предназначен для проведения предварительного вакуумирования собранного пакета триплекс. Данное устройство представляет собой специальную камеру, встроенную в автоматическую линию, в которой собранный пакет триплекс разогревается до температуры 110-115С и воздух, находящийся между слоями стекла и пленкой, механически выдавливается при помощи резиновых валков, что приводит к возникновению определенной адгезии пленки к стеклу. Из колландера пакет выгружается практически прозрачным. На заключительном этапе проводится окончательное прессование в автоклаве при температуре +150С и давлении 12,5 Бар.
1.4 Безавтоклавная пленочная технология
Преимущество данного метода в том, что произведенное многослойное стекло при использовании особого класса пленок по техническим параметрам может превосходить не только жидкостные триплексы, но и классический пленочный триплекс на основе поливинилбутиральной пленки.
Недостатком изготовления пленочного триплекса является более высокая себестоимость изделий по сравнению с заливной технологии.
Технологический процесс включает в себя следующие шаги:
- подготовка и мойка стекла;
- составление комбинированного пакета из стекла и пленки;
- создание вакуума;
- контролируемый нагрев в конвекционной камере при вакууме;
- выдержка при температуре 130-140С в течение 20-40 минут в зависимости от толщины пакета;
- охлаждение при вакууме до комнатной температуры и выгрузка готового изделия.
Линии оборудования, реализующие данную технологию, работают по следующей схеме. После подготовки и мойки стекла в рабочую зону загружается нижняя часть триплекса в горизонтальном положении. Далее загружается отрезанный заранее кусок адгезионной пленки и второе стекло (верхняя часть триплекса). Камера закрывается и обеспечивается герметичность рабочей зоны. На следующем шаге включаются насосы и достигается неглубокий вакуум рабочей зоны (несколько десятков мм. рт. ст). При этом происходит обжатие листов стекла и достижение плотного прилегания пленки по всей площади. Далее осуществляется нагрев рабочей зоны в конвекционной камере до 130-140 С. При этой температуре изделие выдерживается в течение определенного времени (длительность зависит от толщины триплекса). Фактически цикл нагрева делится на 2 части: нагрев (около 30 минут) и выдержка от 10 и более минут в зависимости от толщины триплекса.
1.5 Выводы
Актуальность исследования.
На основании изложенного можно сделать вывод о том, что задача дальнейшего совершенствования технологии производства современных конструктивно сложных автомобильных стекол по-прежнему актуальна, особенно в условиях рыночной экономики.
Этапы решения проблем:
1. Разработка технологического процесса изготовления автомобильных окон с разделением технологических операций.
2. Составление циклограммы технологического процесса для взаимодействия работы оборудования.
3. Расчет технологических параметров для подбора необходимого оборудования.
4. Анализ геометрии заготовок, свойств материала, способов раскроя и методов воздействия на стекло для его растрескивания.
5. Выбор технологического оборудования, соответствующего параметрам заготовки.
6. Разработка системы управления технологическим процессом (при необходимости).
7. Проектирование дополнительных узлов (пневматический вакуумный захват).
8. Разработка пневматической схемы управления вакуумным захватом.
РАЗДЕЛ 2
ТЕХНОЛОГИЧЕСКАЯ ЧАСТЬ
2.1 Операционная технология
Резка стекла:
Для резки стекла используется трехосный автоматический стол раскроя с ЧПУ Genius 61 CT с одной рабочей головкой для прямого и криволинейного раскроя и разлома стеклянных листов.[3]

Рисунок 2.1 Стол раскроя с ЧПУ Genius 61 CT
Функции стола резки:
- Прямолинейная резка и оптимизация раскроя стекла и зеркала
- Криволинейная резка и оптимизация раскроя стекла и зеркала
- Резка виниловой пленки
- Сканирование и оцифровка шаблонов из стекла, зеркала, картона и пластмассы
- Резка триплекса
- Полуавтоматический разлом с помощью реек
Таблица 2.1 Технические характеристики Genius 61 CT
|
Параметр |
Значение |
|
Максимальный размер распила |
6100 х 3210 |
|
Толщина стекла |
3 19 мм |
|
Погрешность |
+/ 0,15 мм |
|
Максимальная рабочая скорость осей X и Y |
180 м/мин |
|
Цикл наклона |
30 сек |
|
Общий вес |
3900 кг |
|
Установленная мощность |
7,5 кВт (фиксированный стол); 9,7 кВт (стол с подъемом) |
|
Высота рабочего стола |
900 (15, +40) |
|
Общие размеры (a x b x h) |
8875 х 5842 х 1400 мм |
|
Размеры в упаковке (a x b x h) |
8600 х 2275 х 2000 мм |
|
Давление сжатого воздуха |
7 Бар |
|
Примерное потребление воздуха на лист |
80 л |
Описание конструкции:
- Рабочий стол
Надежная сварная конструкция состоит из массивной основы и наклоняемого стола. Рабочий стол обладает следующими характеристиками:
- Гидродинамическая система с предохранительным клапаном на цилиндре и виброустойчивым компенсатором объема для наклона рабочего стола;
- Воздушная подушка создается мощным вентилятором с низким уровнем шума, который оптимально распределяет потоки воздуха по поверхности стола;
- Автоматические выравнивающие устройства для листов по длинной стороне и по двум коротким сторонам с электропневматическим приводом. Левая сторона используется при обработке монолитного стекла, правая при обработке триплекса. Такое расположение выравнивающих устройств обеспечивает позиционирование заготовки всегда в одном и том же месте. Это позволяет избежать потери симметрии при повороте заготовки при обработке триплекса;
- Рейки разлома X и Y на рабочем столе управляются пневматическими педалями, установленными на полу.
2) Режущий мост

Рисунок 2.2 Режущий мост
Режущий мост представляет собой прочную конструкцию, которая приводится в движение бесщеточным мотором. Мост перемещается по двум зубчатым направляющим. Точность резки обеспечивается дополнительной конструкцией из цилиндрических реек, которые устанавливаются с двух сторон станка. Это обеспечивает:
- синхронное перемещение моста по оси у, поэтому добивается точность резки 0,15 мм;
- долговечность конструкции.
3) Режущая головка

Рисунок 2.3 Режущая головка
Режущая головка, имеющая ось вращения "С" для выполнения резки фасонного стекла. Имеет следующие характеристики:
- Постоянная автоматическая регулировка давления раскроя в зависимости от скорости резки;
- Смазка режущего ролика: используются два отдельных цикла (в зависимости от вязкости смазки), автоматически регулируемые с контроллера;
- Лазер для считывания шаблонов. Материал, с которого может осуществляться сканирование: дерево, металл, стекло, пластмасса и картон;
- Система автоматической смены инструментов с использованием магазина инструментов, расположенного на рабочем столе. Магазин рассчитан на 6 инструментов для прямого и криволинейного раскроя: три с пластмассовым держателем и три со стальным держателем.
4) Лазер для считывания шаблонов

Рисунок 2.4 Лазер для считывания шаблонов
Лазерное устройство позволяет сканировать шаблоны из следующих материалов: дерево, металл, стекло, пластмасса и картон. Кроме этого лазер можно использовать как устройство позиционирования стекла.
5) ЧПУ серии IWNC
Функции ЧПУ:
- Управление сменой инструментов и соответствующими параметрами скорости;
- Управление параметрами давления, контроль за избыточным давлением;
- Контроль типа и количества используемой смазки;
- Программа имитации и интерфейс оператора;
- Специальная функция распила триплекса с автоматическим зеркальным разворотом;
- Программное обеспечение для оптимизации прямого и криволинейного раскроя.
В пакет программного обеспечения, установленного на станке, включены следующие программы:
- Графический редактор для быстрого создания схемы раскроя;
- Библиотека параметрических фигур для криволинейного раскроя;
- Программа оптимизации для прямого и криволинейного раскроя;
- Дополнительная программа интерфейса ОТД, которая обеспечивает возможность использования любой другой программы оптимизации.
Эти программы активируются их производителями.
Обработка кромки стекла:
Описание изобретения к авторскому свидетельству (11) 484069. [5]
Изобретение относится к устройствам для обработки кромки стекла с криволинейным контуром и может найти применение на заводах, вырабатывающих изделия из стекла.
Известно устройство для обработки кромки стекла, содержащее стол с электродвигателем и обрабатывающий инструмент с подпружиненным копиром.
Недостаток известного устройства заключается в том, что при обработке деталей, конфигурация которых отличается от круга, режим обработки практически неуправляем, так как скорость относительного перемещения в зоне контакта стеклоинструмента непостоянна, что приводит к перерасходу алмазов (в случае обработки алмазным инструментом) или ухудшению качества кромки (в случае огневой обработки).
Устройство работает следующим образом.
Заготовку стекла укладывают на поворотный стол таким образом, чтобы кромка ее совпадала с кромкой копира, конфигурация которого должна быть аналогична конфигурации заготовки стекла. Созданием разрежения в зоне между стеклом и столом заготовка закрепляется. Включается электродвигатель, который через редуктор начинает вращать стол в подшипниках станины, и стекло проворачивается относительно горелки, которая зажигается одновременно с началом вращения. Система копир, вилка, закрепленная на горелке, с копирующим роликом и пружиной обеспечивает постоянство расстояния между кромкой стекла и горелкой, так как при вращении стола ролик все время поджат к копиру. Если стекло круглое, то вращение стола происходит с равномерной скоростью. Равномерная скорость и постоянство расстояния от кромки до горелки обеспечивают постоянство режима обработки.
Если же стекло имеет форму отличную от круга, например автомобильное стекла, то с увеличением или уменьшением расстояния от участка кромки стекла, контактирующего с копирующим роликом, до центра вращения стекла, горелка перемещается в подшипниках и перемещает подвижный контакт на реостате, в результате чего изменяется ток в якорной цепи исполнительного двигателя и соответственно число оборотов стола при сохранении постоянства относительной скорости перемещения кромки стекла относительно горелки. Т.е. и в данном случае обеспечивается постоянство режима обработки. После обкатки полного периметра горелка отключается, укладывают следующую заготовку, и цикл повторяется.
Аналогичное управление числом оборотов стола может быть достигнуто также установкой исполнительного двигателя с полюсным управлением.

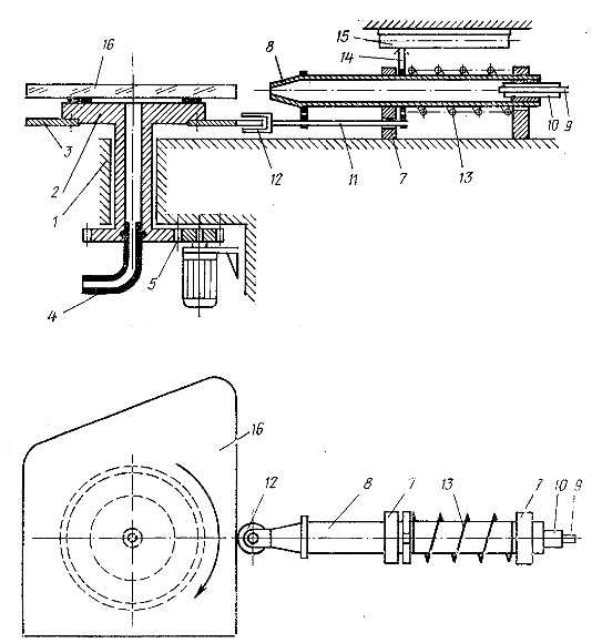
Рисунок 2.5 Схема устройства для обработки кромки стекла
1 станина; 2 поворотный стол; 3 копир; 4 вакуумопровод; 5 редуктор; 6 двигатель; 7 подшипники; 8 газовая горелка; 9, 10 трубопровод; 11 вилка; 12 копирующий ролик; 13 пружина; 14 подвижный контакт; 15 реостат; 16 заготовка.
Устройство модернизируется с целью применения его для удобства отделения стекла по контуру (горелка устанавливается вертикально над листом стекла). После прохождения горелки по периметру контура, она отключается, стекло растрескивается по контуру резки.
Шлифование торцов стекла:

Рисунок 2.6 Ленточный шлифовальный станок СШЛС 6.06
Ленточный шлифовальный станок СШЛС предназначен для применения на малых и средних предприятиях, работающих на рынке обработки стекла и производства мебели.[2] Спроектирован с учетом их потребностей и возможности.
Модель 6.06 пользуется повышенным спросом, имеет два режима работы: сухой и мокрый. Эта модель стоит на потоке. Серийный вариант комплектуется столом СКВП-1 с воздушной подушкой. Станок СШЛС способен обрабатывать изделия прямолинейной и криволинейной формы, как с внешним, так и с внутренним радиусом.
Станок позволяет обрабатывать кромку стекла в форме "трапеция" и "карандаш". Встроенный пылесос эффективно удаляет продукты обработки. Система очистки воздуха состоит из трех контуров и позволяет получить чистый воздух (подтверждено гигиеническим сертификатом), который выводится непосредственно в рабочее помещение (нет необходимости во внешней вытяжке воздуха).
Система натяжения шлиф. ленты имеет ручную и автоматическую подстройку, защиту от мощных динамических ударов при обрыве ленты, смену направления движения шлиф ленты. Станок комплектуется системой увлажнения ленты, упором для режима полирования и повышения производительности обдирки.
Таблица 2.2 Технические характеристики СШЛС 6.06
|
Параметр |
Значение |
|
Производительность при толщине стекла 5 мм Шлифование Полирование |
430 пог м в смену 60 пог м в смену |
|
Мин. размер прямоугольной детали |
100 х 100 мм |
|
Макс. размер прямоугольной детали |
2000 х 1000 мм |
|
Мин. размер круглой детали |
D 100 мм |
|
Мин. размер отверстия |
D 390 мм |
|
Макс. размер круглой детали |
D 1000 мм |
|
Макс. толщина детали |
20 мм |
|
Длина кольца шлифовальной ленты |
1830 мм |
|
Ширина шлифовальной ленты |
От 30 до 100 мм |
|
Скорость движения шлифовальной ленты |
От 2 до 30 м/с |
|
Направление движения шлифовальной ленты |
Реверсируемое |
|
Угол обработки кромки |
90, +45 и 45 град. |
|
Мощность двигателя привода |
1500 Вт |
|
Мощность пылесоса |
1300 Вт |
|
Мощность опрыскивателя |
110 Вт |
|
Потребляемая мощность |
2200 Вт |
|
Габаритные размеры станка |
640 х 500 х1600 |
|
Габаритные размеры со столом |
1800 х 900 х 1600 мм |
|
Вес со столом СКВП-1 |
130 кг |
|
Электроподключение (заземление обязательно) |
3 х 380V, 50 Гц |
2.2 Описание технологического процесса
Для заданного технологического процесса был составлен следующий порядок выполняемых операций:
1) Подача заготовки в виде листа стекла на автоматический стол раскроя;
2) Резка стекла алмазным роликом по контуру автомобильного стекла;
3) Перемещение стекла на устройство для обработки кромки газовой горелкой;
4) Нагрев стекла по периметру газовой горелкой для растрескивания стекла.
5) Стачивание кромки стекла на шлифовальном станке.
После обработки кромки стекло отправляется на мойку, чистку и склеивание многослойного стекла.
2.3 Описание физического процесса растрескивания стекла
Растрескивание стекла определяется его термостойкостью. Термической стойкостью называется способность стекла противостоять резким изменениям температуры.[1] При изменении температуры стекла благодаря его низкой теплопроводности температура его внешних и внутренних слоев становится различной. Это вызывает вследствие термического расширения возникновение напряжений в стекле. Таким образом, термостойкость стекла будет зависеть от теплопроводности, температурного коэффициента линейного расширения и теплоемкости. Кроме того, термостойкость зависит от предела прочности стекла при растяжении и модуля упругости.
Хотя термостойкость таким образом связана со многими свойствами стекол, основное влияние оказывает на нее температурный коэффициент линейного расширения. Чем он ниже, тем выше термостойкость стекла. Кварцевое стекло, для которого характерен самый низкий температурный коэффициент линейного расширения, является и самым термостойким стеклом, выдерживающим наиболее значительные перепады температуры.
На термостойкость стеклянных изделий влияют их форма, размеры и толщина стенки. Общеизвестно, что такие, например, изделия, как граненые стаканы, выдерживают гораздо меньший перепад температур, чем тонкостенные стаканы, получаемые выдуванием. Многие виды стеклянных изделий, в частности посуда, химико-лабораторное стекло, колбы электроламп, постоянно испытывают резкие перепады температур.
Коэффициент термостойкости материала может быть рассчитан с помощью формулы Винкельмана-Шотта:
,
где P прочность при растяжении; температурный коэффициент линейного расширения (ТКЛР); Е модуль упругости; коэф. теплопроводности; с теплоемкость; d плотности. При резком увеличении и уменьшении температуры материал прогревается неравномерно. Например, при резком увеличении температуры сначала расширяются поверхностные слои материала, затем внутренние. Соответственно между наружными и внутренними слоями возникает напряжение. Если напряжение превысит предел прочности, то материал разрушится. Предел прочности при растяжении в 20 раз меньше, чем при сжатии.
2.4 Выбор технологического оборудования
1) Для резки стекла используется трехосный автоматический стол раскроя с ЧПУ Genius 61 CT с одной рабочей головкой для прямого и криволинейного раскроя и разлома стеклянных листов.[3]

Рисунок 2.7 Стол раскроя с ЧПУ Genius 61 CT
Функции стола резки:
- Прямолинейная резка и оптимизация раскроя стекла и зеркала
- Криволинейная резка и оптимизация раскроя стекла и зеркала
- Резка виниловой пленки
- Сканирование и оцифровка шаблонов из стекла, зеркала, картона и пластмассы
- Резка триплекса
- Полуавтоматический разлом с помощью реек
Таблица 2.3 Технические характеристики Genius 61 CT
|
Параметр |
Значение |
|
Максимальный размер распила |
6100 х 3210 |
|
Толщина стекла |
3 19 мм |
|
Погрешность |
+/ 0,15 мм |
|
Максимальная рабочая скорость осей X и Y |
180 м/мин |
|
Цикл наклона |
30 сек |
|
Общий вес |
3900 кг |
|
Установленная мощность |
7,5 кВт (фиксированный стол); 9,7 кВт (стол с подъемом) |
|
Высота рабочего стола |
900 (15, +40) |
|
Общие размеры (a x b x h) |
8875 х 5842 х 1400 мм |
|
Размеры в упаковке (a x b x h) |
8600 х 2275 х 2000 мм |
|
Давление сжатого воздуха |
7 Бар |
|
Примерное потребление воздуха на лист |
80 л |
2) Автоматический загрузчик Bottero Mobilinea 611 HYF-J применяется на предприятиях и в цехах по изготовлению стекольной продукции, по производству стеклопакетов, в мебельном производстве, в цехах стеклообработки.
Автоматический фиксированный односторонний загрузчик листового стекла с крановой системы, и дальнейшей передачи его на стол раскроя. Структура машины делится на две основные части: раму и наклонные загрузочные устройства. Подъемные устройства прикреплены к базе и приводятся в действие с помощью эллипсоидального редуктора с приводом, который обеспечивает их перемещение вверх и вниз. Такое движение позволяет им подняться на угол 84 градуса для удобства приемки стекла или разгрузки вручную. После приема, стекло опускается на валы с резиновыми роликами и перемещается в зону резки.
Рисунок 2.8 Автоматический загрузчик Bottero Mobilinea 611 HYF-J
Автоматические загрузчики состоят из двух отдельных компонентов:
- загрузочно-разгрузочные устройства;
- конвейер транспортировки стекла.
Рабочий цикл одностороннего загрузчика состоит из следующих этапов:
- подъем захватывающих лап на угол 84 градуса;
- перевод стекла из вертикального положения в горизонтальное;
- размещение листа на приводном конвейере для дальнейшей транспортировки стекла на стол резки;
- транспортировка стекла в зону резки.
Валы с прорезиненными роликами приводятся в действие системой: сервопривод шестерня цепь, для точной и надежной работы всей системы.
Таблица 2.4 Характеристики автоматического загрузчика Bottero Mobilinea 611 HYF-J.
|
Параметр |
Значение |
|
Размер стекла (минимальный), мм |
6000 х 3210 3210 х 2750 (2000 х 2000) |
|
Цикл (подъем + опускание), с |
60 |
|
Толщина стекла, мм |
Флоат : 2-19 |
|
Минимальный вес, кг |
1000 |
|
Загрузочные устройства |
Привод гидравлический |
|
Уровень шума, дБ |
73 +/-2 |
|
Рабочая высота, мм |
920 +/-20 |
|
Давление воздуха, бар |
7 |
|
Потребление воздуха л/мин |
5 |
|
Точка росы |
Менее 5 градусов по Цельсию |
|
Установочная мощность, кВт |
5 |
|
Масса, кг |
2000 |
3) Стол с газовой горелкой
Используется оборудование из п.1, оснащенное газовой горелкой.
4) Манипулятор ABB
Манипулятор ABB IRB 5400 используется для покрасочных работ. Приспосабливается для текущего технологического процесса. К «руке» манипулятора присоединяется захватная конструкция с присосками. IRB 5400 оборудуется системой интегрированных процессов IPS, которая является высокоскоростной системой замкнутого регулирования и управления.
Таблица 2.5 Спецификация
|
Параметр |
Значение |
|
Количество осей |
6 и 7 (если установлено на рельсе) |
|
Установка робота |
Пол и рельса |
|
Загрузка кисти |
25 кг |
|
Загрузка на вертикальной руке |
65 кг |
|
Загрузка на горизонтальной руке |
70 кг (включая загрузку кисти) |
|
Уровень входной защиты |
IP67, кисть IP54 |
|
Окружающая температура робота Относительная влажность |
+5..+45 град. по Цельсию 95% макс. |
|
Классификация |
II 2 G Ex ib px IIB T4 II 2 D Ex pD 21 T65d FM Class I,II. Div.1, Group C,D,G 135d |
|
Температура контроллера |
+48 град. по Цельсию |
Таблица 2.6 Интерфейсы контроллера
|
Название |
Комментарий |
|
I/O |
Аналоговые, цифровые, релейные, 120 VAC, дешифратор доступен |
|
Поддержка промышленной шины |
Interbus-S, ProfiBus, Profinet, CC Link, DeviceNet и Ethernet IP |
|
Сеть |
Ethernet FTP/NFS |
Рисунок 2.9 Рабочая зона промышленного робота
5) Печь Yta VTR/C.250. Гнутье стекла (моллирование).
Моллирование (гнутье) стекла технология формования криволинейных изделий из листового стекла при высоких температурах.
Моллирование производится в специально оборудованной плоской тоннельной печи с использованием управляемых керамических электронагревателей и опорных поверхностей (матрицы, формы), на которые устанавливается стеклянное полотно. При равномерном нагревании стекло при температуре 600700 °C становится пластичным и постепенно деформируется под действием собственного веса, принимая форму опорной поверхности, сохраняя при этом гладкость поверхности. После этого этапа стекло контролируемо охлаждается под струей сжатого воздуха. В процессе гнутья может использоваться закалка стекла, что существенно повышает его механическую прочность и снижают риск термошока. Также возможно изготовление гнутого триплекса (многослойного стекла) и наклейка пленки безопасности.
Рисунок 2.10 Печь для моллирования Yta VTR/C.250.
Особенности конструкции:
- Моллирование глубиной до 800 мм, независимо от габаритов печи;
- Возможность фьюзинга (спекание) стекла в случаях применения дополнительных подставок;
- Возможность монтирования дополнительных ванн для повышения производительности, вплоть до автоматической линии;
- Автоматическая панель управления Мод. UCM 3.88, позволяющая сохранять до 20 программ моллирования;
- Управление и контроль температуры на каждом из трех участков печи;
- Антикоррозийная обработка внутренней части печи. Участки, на которые падает основная нагрузка, обшиты нержавеющей сталью толщиной 3-4 мм;
- Внутренняя поверхность с покрытием 'OPENSYSTEM', изготовленным из керамического волокна. Поверхность обработана специальным отвердительным составом. Выдерживает температуру до 1260°.
Печь:
- Стальная трубчатая конструкция, обшитая листовой прессованной сталью;
- Антикоррозийная обработка внутренней части печи. Участки, на которые падает основная нагрузка, обшиты нержавеющей сталью толщиной 3-4 мм;
- Внешние защитные устройства. Внешняя поверхность покрыта тремя слоями краски;
- Вентиляционные отверстия по периметру печи.
Камера нагрева:
- Внутренняя поверхность с покрытием "OPENSYSTEM", изготовленным из керамического волокна. Поверхность обработана специальным отвердительным составом. Выдерживает температуру до 1260°;
- Внешнее покрытие изготовлено из алюминия;
- Каналы воздушной вентиляции в стенках камеры;
- Камера нагрева не деформируется под воздействием высоких температур и расширения. Устройство камеры позволяет снизить затраты на электроэнергию, а также позволяет сохранять температуру внутри камеры на постоянном уровне.
Дверца печи:
- Автоматическое открытие и закрытие «крышки» осуществляется электродвигателем с электронно-механическим устройством;
- Благодаря специальному защитному устройству исключается возможность непроизвольного закрытия дверцы.
Наблюдение за осуществлением операций. Охлаждение:
- Наблюдение за осуществлением операций производится через специальные окошки, расположенные по периметру;
- Предусмотрены специальные отверстия для охлаждения печи.
Нагревательная установка:
- Многочисленные нагревательные элементы, защищенные специальными кварцевыми трубками, обеспечивают одинаковую температуру на всех участках печи;
- Благодаря наличию 3 участков нагрева возможно осуществление различных видов обжига;
- Высокое качество нагревательных элементов и материалов, из которых они изготовлены, гарантируют долгий слог службы оборудования и высокое качество гнутья.
Автоматическая панель управления Мод. UCM 3.88:
- Компьютер для создания 20 программ обработки (каждая из которых, в свою очередь, включает 30 шагов);
- Каждый шаг может выполняться при различной температуре. Например, при установке первой температуры на отметке 500°С и времени нагрева 60 мин (первый шаг), температура в печи достигнет отметки 500° через 60 мин (1 шаг), то есть через 30 мин после начала закалки температура будет равна 250° и т.д.;
- Каждая из созданных программ обработки сохраняется под определенным номером и может быть вызвана повторно набором соответствующего номера. На мониторе появится номер выбранной программы, время, прошедшее с момента ее запуска, шаг, осуществляемый в настоящий момент, температура печи, температура, установленная компьютером в данный момент, график выполнения текущей программы гнутья. Перед каждым включением печи проводятся автоматические тесты состояния печи;
- Компьютер управляет циклом охлаждения, следуя различным заранее установленным этапам;
- Память компьютера обеспечивает аналитический просмотр последнего выполненного цикла закаливания;
- Печь управляется автоматически. Запись программ обработки в компьютер производится следующим образом: компьютер последовательно задает оператору простые вопросы, которые отражаются на экране панели управления.
Оснащение и функции панели управления мод. UCM 3.88:
Программируемый терморегулятор P.I.D. мод. TC 88: установлен на машине. Память на 20 программ (каждая программа включает 30 шагов);
- Включение вспомогательных функций при выполнении каждого шага;
- Просмотровое устройство со всеми данными по выполняемой программе обработки;
- Монитор LCD (240 х 128 pixel) для отображения данных, графиков и изображений;
- Вход для удаленных подключений (телесервис, принтеры и т.д.);
- Постоянный контроль состояния термоэлемента;
- Автоматическая диагностика внутренних параметров;
- Автоматическая диагностика подключения основной электронной аппаратуры;
- Диагностика ввода данных программы закаливания;
- Буферная батарея длительного действия для запоминания введенных данных;
- Упрощенный ввод данных программ обработки;
- Электронный ключ для блокировки основных функций;
- Считывание программы во время выполнения цикла обработки.
Контроль за избыточной температурой.
Запись температуры и внутренняя проверка.
Предусмотрено частичное открытие «крышки» в автоматическом режиме.
Основной выключатель.
Все электрические элементы оснащены выключателями с сигнальной лампочкой.
Рычажной привод для управления «крышкой» печи.
«Крышка» печи приводится в движение при помощи сервомоторов.
Сигнальная сирена, срабатывающая при движении «крышки».
Сигналы о неполадках поступают при помощи аудио- и видеосигналов с соответствующим номером ошибки.
6) Шлифовальный станок СШЛС 6.06

Рисунок 2.11 Ленточный шлифовальный станок СШЛС 6.06
Ленточный шлифовальный станок СШЛС предназначен для применения на малых и средних предприятиях, работающих на рынке обработки стекла и производства мебели.[2]
Система натяжения шлиф. ленты имеет ручную и автоматическую подстройку, защиту от мощных динамических ударов при обрыве ленты, смену направления движения шлиф ленты. Станок комплектуется системой увлажнения ленты, упором для режима полирования и повышения производительности обдирки.
Таблица 2.7 Технические характеристики СШЛС 6.06
|
Параметр |
Значение |
|
Производительность при толщине стекла 5 мм Шлифование Полирование |
430 пог м в смену 60 пог м в смену |
|
Мин. размер прямоугольной детали |
100 х 100 мм |
|
Макс. размер прямоугольной детали |
2000 х 1000 мм |
|
Мин. размер круглой детали |
D 100 мм |
|
Мин. размер отверстия |
D 390 мм |
|
Макс. размер круглой детали |
D 1000 мм |
|
Макс. толщина детали |
20 мм |
|
Длина кольца шлифовальной ленты |
1830 мм |
|
Ширина шлифовальной ленты |
От 30 до 100 мм |
|
Скорость движения шлифовальной ленты |
От 2 до 30 м/с |
|
Направление движения шлифовальной ленты |
Реверсируемое |
|
Угол обработки кромки |
90, +45 и 45 град. |
|
Мощность двигателя привода |
1500 Вт |
|
Мощность пылесоса |
1300 Вт |
|
Мощность опрыскивателя |
110 Вт |
|
Потребляемая мощность |
2200 Вт |
|
Габаритные размеры станка |
640 х 500 х1600 |
|
Габаритные размеры со столом |
1800 х 900 х 1600 мм |
|
Вес со столом СКВП-1 |
130 кг |
|
Электроподключение (заземление обязательно) |
3 х 380V, 50 Гц |
2.5 Составление операционной карты
В технологическом процессе производства автомобильных стекол производятся следующие операции и переходы:
1) Листы стекла вручную укладываются на стол раскроя;
2) Режущая головка проходит по контуру автомобильного стекла;
3) Стекло продвигается по транспортеру на стол с газовой горелкой;
4) Горелка проходит по контуру автомобильного стекла;
5) Манипулятор опускает захватное устройство, отделяет стекло от листа;
6) Манипулятор передвигается к шлифовальному станку;
7) Шлифование стекла;
8) Манипулятор передвигается к печи;
9) Манипулятор опускает стекло на форму и отпускает его;
10) Печь задвигается в лер, герметизируется и нагревает стекло.
11) Стекло охлаждается сжатым воздухом в печи.
12) Стекло вручную складируется.
2.6 Выводы
В данном разделе описывается технология изготовления автомобильных стекол, подбор технологического оборудования по техническим параметрам.
На данном этапе проектирования для каждой операции закреплено оборудование, представленное в каталогах производителей.
РАЗДЕЛ 3
КОНСТРУКТОРСКАЯ ЧАСТЬ
3.1 Описание объекта автоматизации
Флоатстекло:
В настоящее время наиболее распространенный тип стекла, получаемый с помощью флоатметода, при котором стекло при выходе из печи плавления выливается на поверхность расплавленного олова и дальше в виде непрерывной ленты поступает через зону охлаждения на дальнейшую обработку. Флоатстекло характеризуется исключительной ровностью и отсутствием оптических дефектов. Наибольший размер получаемого стекла, как правило, составляет 5100 6000 мм х 3210 мм, при этом толщина листа может быть даже меньше двух миллиметров и достигать 25 мм. Получаемое стекло может быть прозрачным, окрашенным или с покрытием (стекла с покрытиями типа Online).
Стекло с одной линии, на выходе подвергается контролю, и после него по качеству подразделяется на марки М1, М2, М3 и т.д. Чем меньше цифра в марке стекла тем оно качественнее, а значит им можно остеклять более сложные объекты и конструкции. На марки стекло делится по следующим параметрам:
- физические свойства;
- оптические свойства;
- количество дефектов (на единице поверхности);
- отклонение по толщине (стекло одинаковой толщины лучше режется).
Изготовление стекла происходит на основе флоат-процесса: расплавленная стекломасса непрерывно подается из ванной печи на расплав олова. Находясь на нем, стекло формируется по толщине и ширине. Затем стекло поступает в печь отжига, где оно проходит процесс охлаждения. После отжига лента стекла разрезается по размерам для дальнейшей отгрузки. Сам процесс изготовления стекла непрерывный.
В зависимости от назначения стекло выпускается толщиной от 2 до 10 мм. Марок от М1 до М7, с коэффициентом преломления около 1,5, коэффициентом светопропускания 0,81:0,89.
Благодаря использованию в составах различных химических соединений, стекла обладают различными свойствами, что позволяет создавать оптические эффекты (игра света в едва заметных гранях, создания эффекта оплывшего от времени стекла). Стекло бывает как бесцветным, так и цветным, а также матированным. Толщина стекла обычно находится в пределах от 4 до 6мм.
1) Окрашенное стекло
Окрашенное в массе стекло получают добавлением в расплав стекольной массы различных минералов. Наиболее распространёнными являются серый, зелёный и бронзовый цвета. Однако возможно изготовление стекла других цветов. Окрашенные стёкла известны как солнцезащитные, так как они поглощают значительную часть тепловой и световой энергии солнечного света.
2) Узорчатое стекло
Узорчатые стекла обычно получают методом машинной прокатки. При этом на одной или на обеих поверхностях стекла остается желаемый рисунок. Узорчатые стекла подходят к самым разнообразным вариантам внутреннего остекления, поскольку позволяют найти интереснейшие варианты применения.
3) Закалённое стекло
Закалённое стекло это листовое стекло, подвергнутое термической обработке ради обеспечения безопасного характера разрушения (при разрушении образуются мелкие осколки неспособные травмировать людей) и повышения механической прочности. Предел прочности закаленного стекла при изгибе более чем в 4 раз выше, чем у обычного листового стекла. Коэффициенты пропускания, поглощения, отражения после закаливания практически не изменяются.
Готовые закаленные стекла нельзя резать и сверлить, поэтому при необходимости перед закалкой в стекле предварительно делают требуемые вырезы и отверстия. Наиболее уязвимым местом закаленного стекла являются его кромки, поэтому при монтаже конструкций необходимо оберегать его торцы от ударов и царапин.
4)Армированное стекло
Армированное стекло - это стекло с металлической сеткой, безопасное и пожаростойкое. При пожаре оно может треснуть, но распространению огня стекло помешает. Осколки стекла удерживаются на месте арматурой.
Большой недостаток армированного стекла это его хрупкость, так как полости находящиеся внутри стекла снижают его прочность в несколько раз.
5) Триплекс
Триплекс это стекло, состоящее из 2-х или более слоев, «склеенных» между собой полимерной пленкой. Толщина «триплекса» обычно не менее 7 мм. Триплекс снижает опасность разлетающихся осколков, способствует защите помещения от воздействия ультрафиолетовых лучей, обеспечивает звукоизоляцию. К недостатками триплекса можно отнести его высокую стоимость и большую массу.
Область применения многослойного стекла во многом сходна с областями применения закаленного. В связи с тем, что ламинированное стекло обладает более высокими прочностными характеристиками, по сравнению с обычным, и не выпадает из рамы при разрушении, его используют в зонах повышенного риска:
- балконное остекление,
- стеклянные полы и ступени лестниц,
- детали мебели и стеклянные столешницы,
- все виды наружного ограждения,
- пуленепробиваемое стекло,
- потолочное остекление.
3.2 Разработка устройства для захвата стекла
1) Вакуумный захват Festo VAS-100
Вакуумным захватом удерживаются перемещаемые объекты с гладкими воздухонепроницаемыми поверхностями. Изготавливается из нитриловой резины, которая практически не оставляет следов на полированной поверхности.
Рисунок 3.1 Вакуумный захват Festo VAS
Таблица 3.1 Характеристики
|
Параметр |
Значение |
|
Диаметр вакуумной присоски, мм |
100 |
|
Конструкция |
Канал вакуума сверху, круглый, стандартный |
|
Вакуумный канал |
G 1/4 |
|
Тип монтажа |
Ввинчиваемая резьба |
|
Номинальный размер, мм |
10 |
|
Эффективный диаметр присоски, мм |
85 |
|
Твердость по Шору |
73 |
|
Усилие отрыва при вакууме 70% |
397 |
|
Вес |
138 |
2) Рама сварная из круглого металлического профиля 36 мм.
Таблица 3.2 Труба холоднодеформированная тонкостенная ГОСТ 8733-74, 8734-75
|
Параметр |
Значение |
|
Диаметр d, мм |
36 |
|
Толщина стенки, мм |
1.0 |
|
Масса 1 м, кг |
0.863 |
3.3 Выводы
В данном разделе рассматриваются различные варианты изготовления заготовок. В данном случае наиболее простым решением является изготовление флоат-стекла. Подобрано оборудование из каталога Festo для пнвматического вакуумного захвата.
РАЗДЕЛ 4
ОХРАНА ТРУДА
4.1 Разработка системы управления охраной труда на предприятии по изготовлению автомобильных окон
1) Политика предприятия в области охраны труда
Администрация предприятия заявляет о приоритете жизни и здоровья работников предприятия и берет на себя полную ответственность за создание на рабочих местах в каждом структурном подразделении надлежащих, безопасных и здоровых условий труда.
В соответствии с требованиями Закона Украины "Об охране труда", других законодательных и нормативно-правовых актов в области охраны труда политика предприятия в области охраны труда базируется на принципах:
а) Соблюдать требования законодательства и другие требования в области охраны труда, действующие на территории Украины.
б) Постоянно улучшать условия труда на рабочих местах, проводить работу по выявлению и устранению опасностей на рабочих местах.
в) Постоянно прогнозировать опасности производственных процессов, оценивать связанные с ними риски:
- повышенный риск выхода из строя оборудования, отработавшего нормативный срок эксплуатации;
- повышенный риск простудных заболеваний вследствие изменения температурного режима на рабочих местах;
- и проводить мероприятия по снижению уровня рисков и контролю над ними.
г) Внедрять на предприятии новые современные технологии, модернизировать используемое технологическое оборудование, обеспечивающих безопасность условий и охраны труда и высокую производительность.
д) Проводить обучение и повышение квалификации работников для обеспечения профессиональной компетентности, понимания их роли и ответственности в вопросах создания безопасных и здоровых условий труда.
е) Доводить до каждого работника индивидуальные обязанности по охране труда, ликвидации возможных аварийных ситуаций и выполнению мероприятий, направленных на уменьшение потенциальных рисков несчастных случаев и инцидентов на производстве и профессиональных заболеваний.
Руководство предприятия берет на себя ответственность за предоставление средств и ресурсов, обеспечивающих реализацию данной политики, и обязуется поддерживать деятельность в области охраны здоровья и безопасности труда в ежедневной работе.
2) Планирование мероприятий в области управления охраной труда и улучшения условий труда
Функция прогнозирования и планирования работ по охране труда имеет решающее значение в системе управления охраной труда. Планирование работы по охране труда делится на перспективное, текущее и оперативное.
Перспективное планирование вмещает наиболее важные, трудоемкие и долгосрочные мероприятия, выполнение которых, как правило, требует совместной работы нескольких подразделений предприятия. Возможность выполнения мероприятий перспективного плана должно быть подтверждено обоснованным расчетом необходимого материально-технического обеспечения и финансовых затрат с указанием источников финансирования. Основной формой перспективного планирования работы по охране труда есть разработки комплексного плана предприятия относительно улучшения состояния охраны труда.
Текущее планирование осуществляется в пределах календарного года через разработку соответствующих мероприятий в разделе "Охрана труда" коллективного договора.
Оперативное планирование работы по охране труда осуществляется по итогам контроля состояния охраны труда в структурных подразделениях и на предприятии в целом. Оперативные мероприятия по устранению выявленных недостатков отмечаются непосредственно в приказе по предприятию, который выдается по итогам контроля, или в плане мероприятий, как приложение к приказу.
Целью планирования мероприятий по охране труда в организации является разработка на предстоящий период комплекса мероприятий на ее обеспечение для различных уровней системы управления охраной труда, включающих:
- соответствие условий труда требованиям законодательства и иных нормативных правовых актов;
- основные элементы системы управления охраной труда в организации;
- непрерывное совершенствование деятельности по охране труда.
Планирование должно включать в себя процессы и виды деятельности, которые связаны с выявленными опасностями и рисками, а также техническое обслуживание, эксплуатацию и ремонт оборудования, гарантирующие выполнение соответствующих нормативных требований охраны труда путем:
- установления и обеспечения выполнения процедур, направленных на устранение отклонений от концепции, цепей и задач в области охраны труда;
- установления и обеспечения использования методов выявления (идентификации) опасностей и оценки рисков, связанных с работой оборудования, используемым сырьем, комплектующими, услугами, получаемыми и используемыми организацией, информирования поставщиков и подрядчиков о соответствующих требованиях;
- разработки и использования методов проектирования оснащения рабочих мест, производственных процессов, оборудования с учетом требований эргономики, обеспечивая исключение или снижение производственного риска непосредственно в месте его проявления.
Планирование предусматривает также разработку мер по постоянной корректировке документов системы управления охраной труда в соответствие с изменением законодательства и государственных требований. Такие меры предусматривают в соответствующих планах и программах по улучшению условий труда (планирование), учитывают при выполнении функций "организация работ", "обучения и мотивация персонала" и реализуют непосредственно в производственном процессе.
Планирование начинают после доведения информации об условиях труда (о результатах аттестации рабочих мест по условиям труда) до соответствующих подразделений, которые анализируют ее, разрабатывают необходимые меры, согласовывают их с другими подразделениями и представляют на утверждение руководству организации. Оформляют планирование мероприятий в виде приказов, распоряжений, планов-графиков и программ. Важно, чтобы все планируемые мероприятия были обеспечены необходимыми ресурсами и контролировалось их своевременное исполнение.
3) Внедрение и функционирование системы управления
Реализацию функций управления охраной труда в рамках организации осуществляют при управлении производственным процессом или услугой. Обеспечение охраны труда может быть реализовано только при выполнении всех функций управления.
Для организации работы по охране труда следует определять исполнителей всех мероприятий обеспечения охраны труда, а для их выполнения разрабатывать необходимые регулирующие документы или процедуры.
Управление охраной труда осуществляют на предприятии в целом - работодатель; в структурном подразделении - руководитель структурного подразделения; на рабочем месте - непосредственный руководитель работ.
Функциональные обязанности руководителей служб предприятия:
Отдела кадров:
- организация предварительного медосмотра при поступлении на работу;
- определение контингента, подлежащего периодическим медицинским осмотрам;
- профессиональный отбор работающих отдельных специальностей;
- определение перечня тяжелых работ с вредными или опасными условиями труда;
- ознакомление поступающих на работу с льготами и компенсациями по условиям труда.
Отдела снабжения:
- обеспечение подразделений предприятия средствами защиты, контроля и сигнализации.
Бухгалтерия:
- выплата работнику возмещения вреда, причиненного трудовым увечьем;
- осуществление обязательного страхования работников от временной
нетрудоспособности вследствие заболевания, а также от несчастных случаев на производстве и профессиональных заболеваний.
Отдела главного механика:
- обеспечение безопасности эксплуатируемого производственного оборудования;
- обеспечение безопасного состояния эксплуатируемых зданий и сооружений.
Нормативной основой управления охраной труда на предприятии по разливу и укупорке минеральной воды являются:
Конституция Украины, Законы Украины "Об охране труда", "Об общеобязательном государственном страховании от несчастного случая на производстве и профессионального заболевания, которые послужили причиной потери трудоспособности", Кодекс законов Украины о труде, законодательные акты Верховной Рады Украины, указы в распоряжения Президента Украины, постановления, распоряжения Кабинета Министров Украины, приказы Госпромгорнадзора; а информационной основой - материалы статистической отчетности, коллективный договор и соглашение по охране труда, предписания и материалы проверки органов надзора, материалы расследования несчастных случаев и профессиональных заболеваний.
4) Контроль в области охраны труда
Текущий контроль выполнения плановых мероприятий по охране труда представляет собой непрерывную деятельность по проверке выполнения мероприятий коллективных договоров, планов мероприятий по улучшению и оздоровлению условий труда, направленных на обеспечение охраны труда, профилактику опасностей, рисков в мероприятие по внедрению системы управления охраной труда.
Текущий контроль на предприятии содержит необходимые для обеспечения профилактических мероприятий по охране труда, и включает;
- контроль выполнения мероприятий конкретных планов, установленных критериев результатов деятельности и целей;
- систематическую проверку производственных систем, помещений, цехов и оборудования;
- контроль производственной среды, включая организацию труда;
- контроль состояния здоровья работников, где это целесообразно, путем
соответствующих медицинских осмотров, в том числе периодических, для раннего
выявления признаков и симптомов нарушения здоровья с целью определения
эффективности профилактических и контрольных мер;
- оценку соответствия национальным законам и иным нормативным правовым актам, коллективным соглашениям и другим обязательствам по охране труда, принятыми на себя организацией.
Если на рабочем месте во время контроля выявлены одна или несколько возможных причин для возникновения несчастного случая, то рассмотрение этих недостатков должно проводиться с наиболее жесткими требованиями к виновному ладу.
С целью укрепления трудовой дисциплины и недопущения производственного травматизма на предприятии ежеквартально проводятся мероприятия по контролю знаний работников в области охраны труда.
5) Анализ системы управления охраной труда со стороны руководства
Оценка состояния охраны труда и результатов профилактической работы на предприятии осуществляется за принятыми показателями. Как источник исходной информации используются:
- акты о несчастных случаях, отчетах о производственном травматизме;
- паспорта санитарно-технического состояния условий труда и карты условий труда на рабочих местах, материалы аттестации рабочих мест;
- журналы оперативного контроля за состоянием охраны труда структурного подразделения;
- акты в предписания проверок состояния охраны труда;
- акты о нарушениях водителями правил дорожного движения службы ГИБДД.
Обобщенные данные о состоянии охраны труда и результаты профилактической работа подготавливаются начальником структурного подразделения и подлежат обязательному рассмотрению и анализу на всех уровнях управления предприятия.
Для повышения ответственности работников за соблюдение требований нормативных актов по охране труда используются талоны предупреждения, изъятие и выдача которых осуществляется соответственно существующему на предприятии порядку.
4.2 Оценка и анализ условий труда на рабочем месте сотрудников предприятия по изготовлению автомобильных окон
1) Анализ помещений
Территория предприятия включает контрольно-пропускной пункт, двухэтажное здание офиса, одноэтажное производственное здание, склад материалов и готовой продукции, одноэтажное здание котельной, ремонтно-механическая мастерская, здание подсобного назначения.
Структура включает в себя следующие отделы в подразделения:
- общее руководство 3 человека;
- служба технического обслуживания и ремонта производственного оборудования - 4 человека;
- отдел материально-технического снабжения - 5 человек;
- рабочие основного цеха 10 человек;
- водители - 4 человека;
- бухгалтерия - 2 человека;
- планово-экономический отдел - 3 человека;
- отдел кадров - 2 человека;
- юрист - 1 человек;
- охрана - 4 человека;
- секретарь -1 человек.
Всего на предприятии работает 39 человек.
В таблице 4.1 приведены фактические и нормативные значения рабочего помещения для персонала.
Таблица 4.1 Фактические и нормативные значения рабочего помещения
|
Наименование показателей |
Размерность, ед. измерения |
Фактическое значение |
Нормативные требования |
Нормативный документ |
|
Административный |
||||
|
Высота помещения |
м |
2,6 |
2,5 |
СН 245-71 |
|
Площадь на одного работающего |
м2 |
5,3 |
4,5 |
СН 245-71 |
|
Объём на одного работающего |
м3 |
18,6 |
15 |
СН 245-71 |
|
Основной |
||||
|
Высота помещения |
м |
3,5 |
2,6 |
СНиП-69-78 |
|
Площадь помещения |
м2 |
100 |
14 |
СНиП-69-78 |
Таким образом, на основе фактических значений, можно сделать вывод о том, что значения соответствуют нормативным.
Производственные факторы (микроклимат, освещение, шум и т.п.) сведены и представлены в Приложении А.
|
Наименование показателей |
Единицы измерения |
Источники образования факторов |
Нормативные требования |
Фактические значения |
Нормативный документ (ДСТУ, ГОСТ и т.д.) |
Меры, обеспечивающие нормативные требования |
|
1 |
2 |
3 |
4 |
5 |
6 |
7 |
|
-временные характеристики шума: постоянный |
офисное оборудование |
|||||
|
-уровень звука в наиболее шумных местах |
дБ(А) |
65 |
50 |
ДСН 3.3.6.037-99 |
Звукоизоляция, окна помещения выходят во двор |
|
|
Производственные помещения |
||||||
|
-характер спектра шума: широкополосный |
Работающее производственное оборудование, насосная станция |
|||||
|
-временные характеристики шума: постоянный |
Работающее производственное оборудование, насосная станция |
|||||
|
-уровень звука в наиболее шумных местах |
дБ(А) |
80 |
75 |
Звукоизоляция тех.оборудования, обеспечение рабочих звукоизолирующими наушниками. |
||
|
Вибрация |
||||||
|
Производственные помещения |
||||||
|
Среднегеометрические частоты октавных полос (локальные) |
Гц |
Категория 1а: производственное оборудование |
16 |
16 |
ДСН 3.3.3.039-99 |
технические меры, введение оптимальных режимов труда, применение индивидуальных средств защиты, а также лечебно-профилактические мероприятия |
|
Виброскорость: (локальная) |
м/с10-2 дБ |
1,4 109 |
1,4 109 |
ДСН 3.3.3.039-99 |
||
|
Виброускорение (локальное) |
м/с2 дБ |
1,4 73 |
1,4 73 |
ДСН 3.3.3.039-99 |
||
|
Среднегеометрические частоты октавных полос (общие) |
Гц |
Тип а: производственное оборудование |
16 |
16 |
ДСН 3.3.3.039-99 |
технические меры, введение оптимальных режимов труда, применение индивидуальных средств защиты, а также лечебно-профилактические мероприятия |
|
Виброскорость: (общие) |
м/с10-2 дБ |
0,2 56 |
0,2 56 |
ДСН 3.3.3.039-99 |
||
|
Виброускорение (общие) |
м/с2 дБ |
0,2 92 |
0,2 92 |
ДСН 3.3.3.039-99 |
||
Таблица 1 Общие производственные факторы Приложение А
|
Наименование показателей |
Единицы измерения |
Источники образования факторов |
Нормативные требования |
Фактические значения |
Нормативный документ (ДСТУ, ГОСТ и т.д.) |
Меры, обеспечивающие нормативные требования |
|
1 |
2 |
3 |
4 |
5 |
6 |
7 |
|
- фон |
средний |
средний |
ДБН В.2.5.28-2006 |
|||
|
- контраст |
средний |
средний |
ДБН В.2.5.28-2006 |
|||
|
- подразряд |
в |
в |
ДБН В.2.5.28-2006 |
|||
|
Искусственное освещение: - общее - комбинированное |
лк |
система освещения |
200 |
200 |
ДБН В.2.5.28-2006 |
светильник ОДР, лампы люминесцентные ЛБ80 |
|
лк |
система освещения |
400 |
400 |
ДБН В.2.5.28-2006 |
светильник ОДР, лампы люминесцентные ЛБ80, ЛБ40 |
|
|
Естественное освещение: боковое (КЕО) - количество окон - площадь окон |
% |
боковые световые проемы |
1,5 |
1,5 |
ДБН В.2.5.28-2006 |
боковые световые проемы, окраска стен |
|
шт. |
3 |
5 |
||||
|
м2 |
18 |
30 |
||||
|
Производственные помещения |
||||||
|
- наименьший размер объекта различения |
мм |
Более 5 |
6 |
ДБН В.2.5.28-2006 |
- наименьший размер объекта различения |
|
|
- разряд |
VI |
VI |
ДБН В.2.5.28-2006 |
- разряд |
||
|
- фон |
Независимо от характеристик фона и контраста объекта с фоном |
Независимо от характеристик фона и контраста объекта с фоном |
ДБН В.2.5.28-2006 |
|||
|
- контраст |
ДБН В.2.5.28-2006 |
|||||
|
- подразряд |
ДБН В.2.5.28-2006 |
|||||
|
Искусственное освещение: при системе общего освещения |
лк |
система освещения |
200 |
200 |
ДБН В.2.5.28-2006 |
светильник ОДР, лампы люминесцентные ЛБ80 |
|
Естественное освещение: боковое (КЕО) - количество окон - площадь окон |
% |
боковые световые проемы |
1 |
1 |
ДБН В.2.5.28-2006 |
боковые световые проемы, окраска стен |
|
шт. |
3 |
10 |
||||
|
м2 |
18 |
60 |
||||
|
Шум |
||||||
|
Административное помещение |
||||||
|
- категория работ |
- Работа, выполняемая с часто получаемыми указаниями и акустическими сигналами; работа, требующая постоянного слухового контроля; операторская работа по точному графику с инструкцией; диспетчерская работа. Рабочие места в помещениях диспетчерской службы, кабинетах и помещениях наблюдения и дистанционного управления с речевой связью по телефону; машинописных бюро, на участках точной сборки, на телефонных и телеграфных станциях, в помещениях мастеров, в залах обработки информации на вычислительных машинах |
|||||
|
- характер спектра шума: широкополосный |
офисное оборудование |
2) Микроклимат
В соответствии с действующими "санитарных норм Микроклимат производственных помещений" № 4088-86, на предприятиях должны поддерживаться оптимальные или допустимые параметры микроклимата - температуры, относительной влажности, скорости движения воздуха с учетом климатической зоны, периода года и тяжести выполняемых работ.
Системы вентиляции и отопления предприятий по изготовлению автомобильных окон должны соответствовать требованиям СНиП 2.04.05-91 "Отопление, вентиляция и кондиционирование", специфике отрасли и обеспечивать наличие допустимого уровня вредных веществ в воздухе рабочей зоны производственных помещений согласно ГОСТ 12.1.005-88 "ССБТ.
При использовании системы кондиционирования воздуха параметры микроклимата в производственных помещениях должны соответствовать СНиП 2.04.05.91 и СП 4416-87.
Содержание вредных веществ в воздухе производственных помещений не должно превышать утвержденных предельно допустимых концентраций.
Для предупреждения возникновения и попадания в воздух производственных помещений вредных веществ необходимо строго соблюдать параметры технологического процесса.
Все производственные и вспомогательные помещения предприятий, за исключением холодных хранилищ, котельных, трансформаторной подстанции, должны отапливаться. Все отопительные приборы должны быть доступны для очистки от пыли.
Оборудование, паропроводы, трубопроводы горячей воды и другие источники конвекционного и лучистого тепла должны иметь теплоизоляцию, на поверхности которой температура не должна превышать 45 град.С.
Оборудование, в процессе использования которого выделяется влага, пыль, должно быть герметизированное или оборудовано местными вентиляционными устройствами.
На основании таблицы можно сделать вывод о том, что все значения соответствуют оптимальным, как в административном, так и в производственных помещениях.
3) Производственное освещение
Проанализировав данные таблицы, можно сделать вывод о том, что все значения соответствуют оптимальным. Это связано с тем, что предприятие заботится о своих сотрудниках, об их условиях труда, и поэтому своевременно и на основании определенных расчетов закупает и размещает осветительные приборы. Правильно спроектированное и выполненное производственное освещение улучшает условия зрительной работы, снижает утомляемость, способствует повышению производительности труда, благотворно влияет на производственную среду, оказывая положительное психологическое воздействие на работающего, повышает безопасность труда и снижает травматизм.
4) Шум
Эквивалентные уровни шума на рабочих местах не должны превышать 80 дБА. Уровень шума в производственных помещениях должен быть в пределах норм, установленных "Санитарными нормами допустимых уровней шума на рабочих местах" № 3223-85.
При проектировании, реконструкции и эксплуатации производственных помещений, в которых размещается оборудование, генерирующий шум и дает вибрацию, должны осуществляться мероприятия по защите рабочих от его вредного воздействия:
- Оборудование помещений звукоизоляционными материалами;
- Использование амортизирующих приборов при монтаже оборудования;
- Оборудование должно быть оснащено приборами, которые гасят вибрацию;
- Индивидуальные средства защиты.
Как видно из таблицы уровень шума соответствует оптимальным значениям.
При работе в условиях длительного шумового воздействия, люди испытывают раздражительность, головные боли, головокружение, снижение внимания, повышенную утомляемость, понижение аппетита, боли в ушах и т. д. Под воздействием шума снижается концентрация внимания, нарушаются физиологические функции, появляется усталость в связи с повышенными энергетическими затратами и нервно-психическим напряжением, ухудшается речевая коммутация. Все это снижает работоспособность человека и его производительность, качество и безопасность труда.
5) Вибрация
В своей деятельности предприятие использует высокотехнологическое оборудование, которое вызывает локальную и общую вибрации. В профилактике вредного воздействия вибрации ведущая роль, на предприятии принадлежит техническим и организационно-техническим мероприятиям: создание новых инструментов и машин, вибрация которых не должна превышать допустимых величин; автоматизация процессов, их дистанционное управление.
Ослабление локальной вибрации и передачи вибрация на пол достигается средствами виброизоляции и вибропоглощения, использованием пружинных я резиновых амортизаторов, прокладок и др. Для уменьшения вибрации, передаваемой на рабочие места, применяются специальные амортизирующие сиденья, площадки с пассивной пружинной изоляцией, резиновые, поролоновые и другие виброгасящие настилы.
На предприятия налажен планово-предупредительный ремонт оборудования. Ручные машины, находящиеся в эксплуатации, не реже одного раза в 6 месяцев проверяются на соответствие их вибрационных параметров паспортным данным.
К работе с вибрирующими машинами и оборудованием допускаются лица не моложе 18 лет, получившие соответствующую квалификацию и сдавшие технический минимум по правилам безопасности выполнения работ. Рабочие, подвергающиеся в процессе трудовой деятельности воздействию вибрации, подлежат предварительным и периодическим медосмотрам.
В целях профилактики неблагоприятного воздействия вибрации работающие должны пользоваться средствами индивидуальной защиты: перчатками, рукавицами, спецобувью согласно ГОСТ 12.010 - 75 «ССБТ. Средства индивидуальной защиты рук от вибрации. Общие технические требования» и ГОСТ 12.4.024-76 «Обувь специальная виброзащитная».
Важным направлением профилактики вибрационной болезни является внедрение рационального режима труда и отдыха: регламентированные перерывы, ограничение времени контакта с вибрирующими машинами и др.
6) Электробезопасность помещения
На предприятии имеется большая база электроприборов, так как всё производственное оборудование является электроустановками, а соответственно это вызывает большую электроопасность. Поэтому на этом предприятии уделяется особое внимание электробезопасности. На предприятии расположены внутренние электроустановки в помещение повышенной опасности. Повышение электробезопасности в установках достигается применением систем защитного заземления, зануления, защитного отключения и других средств и методов зашиты, в том числе знаков безопасности и предупредительных плакатов и надписей. В системах местного освещения, в ручном электрифицированном инструменте и в некоторых других случаях применяется пониженное напряжение.
7) Пожарная безопасность
Пожарная безопасность должна обеспечиваться посредством проведения организационных, технических и иных мероприятий, направленных на предотвращение пожаров, обеспечение безопасности людей, снижение возможных материальных потерь и уменьшение негативных экологических последствий в случае их возникновения, создание условий для быстрого вызова пожарных подразделений и успешного тушения пожаров.
Обеспечение пожарной безопасности предприятия возлагается на руководителя, который:
- Разрабатывает комплексные меры по обеспечению пожарной безопасности;
- Разрабатывает и утверждает положения, инструкции, которые действуют в пределах предприятия;
- Организовывает обучение работников правилам пожарной безопасности;
- Содержать в исправном состоянии средства противопожарной защиты и связи;
- Проводить служебное расследование случаев пожаров.
Территория предприятия должна постоянно содержаться в чистоте и систематически очищаться от мусора, отходов производства, тары и т. п. Запрещается устраивать свалки горючих отходов.
Дороги, проезды и проходы к зданиям, пожарному инвентарю и средствам пожаротушения должны быть всегда свободными, содержаться в исправном состоянии, зимой очищаться от снега.
Запрещается курение в производственных помещениях, цехах, курение разрешается только в специально отведенных местах.
Эвакуационные пути и выходы должны содержаться свободными, ничем не загромождаться и в случае возникновения пожара обеспечивать безопасность во время эвакуации всех людей, находящихся в помещениях зданий и сооружений.
Территория предприятия в темное время суток должна освещаться.
Таким образом, проведя анализ помещений и анализ производственных факторов предприятия можно сказать, что практически все рассмотренные фактические значения показателей соответствуют нормативным данным.
4.3 Выводы
На предприятии по изготовлению автомобильных окон был проведен анализ управления охраной труда.
Главным мероприятием для усовершенствования системы управления охраной труда на предприятии должно стать увеличение заинтересованности в безопасности труда работниками. Для этого необходимо проводить пропаганду вопросов охраны труда и материально поощрение, либо наказание по вопросам выполнения норм и положений охраны труда.
Мероприятия по пропаганде вопросов охраны труда:
1) создание уголков, кабинетов охраны труда;
2) проведение дней охраны труда;
3) демонстрирование учебных фильмов по охране труда;
4) проведение смотров, семинаров;
5) назначение лиц, ответственных за содержание оборудования в безопасном состоянии;
6) своевременное обучение персонала, который обслуживает и использует оборудование.
Необходимо ввести систему материального поощрения трудовых коллективов за работу без травм.
Материальное поощрение за повышение уровня охраны труда должно осуществляться в форме премирования, повышение надбавок, повышение разряда (для рабочих), повышение оклада (для должностных лиц и специалистов), а также путем награждения подарками, предоставление льготных путевок в санатории и дома отдыха. Виды материальных поощрений определяются коллективным договором (соглашением, трудовым договором).
Материальные санкции за несоблюдение (нарушение, необеспечение) норм и требований охраны труда должны осуществляться путем полного или частичного лишения или снижения размеров надбавок, снижение оклада, перевода на менее ответственную и ниже оплачиваемую работу.
Моральное поощрение работников за достижения в обеспечении охраны труда должно осуществляться путем награждения ведомственными знаками отличия, почетными грамотами, другими ведомственными знаками, присвоение почетных званий, занесение на доску почета.
Разработка системы стимулирования охраны труда, анализ и оценку ее эффективности осуществляет служба охраны труда при участии кадровой службы с привлечением при необходимости других служб предприятия. Система стимулирования охраны труда должна быть отображена в Положении о премировании работников предприятия, а также в коллективном договоре (соглашению предприятия).
Заключение
Целью настоящей работы является модернизация существующего технологического процесса изготовления автомобильных окон. Для достижения указанной цели был поставлен ряд задач.
При решении задачи анализа геометрических параметров и свойств заготовки было установлено, что стекло растрескивается при нагреве, что облегчает отделение отрезанной части от основного листа.
При выборе технологического оборудования учитывались геометрические параметры заготовки, высота рабочей поверхности, простота и удобство в эксплуатации.
При проектировании узла пневматического захвата использовались продукция из каталога Festo, рабочие чертежи, предоставленные на сайте производителя.
Таким образом, создана полуавтоматическая линия по изготовлению автомобильных окон.
Библиографический список
1. Каталог Festo, http://www.festo.com/net/ru_ru/SupportPortal/default.aspx?cat=2;
2. Манипулятор ABB,
http://www05.abb.com/global/scot/scot241.nsf/veritydisplay/76ce3f10a6723ea7482576ba00472122/$file/IRB%205400%20process%20Datasheet.pdf;
3. Оборудование ЮТА,
http://www.yta.ru/catalogue/stekloobrabotka/oborudovanie-italforni/oborudovanie-italforni_422.html;
4. Производство стекла, http://mastter.ru/225-iz-chego-delajut-steklo.html;
5. Флоат-стекло, http://oknamodern.ru/100.php?c=60;
6. Стол раскроя стекла, http://www.8e.ru/print/26858.php;
каф. АТПП ст. гр. АКТ-42д
61
Листов
Лит.
Линия производства автомобильных стекол
КруговойА.Н.
.Утв.
Н. контр.
Осипов К.Н.
Руководит.
Мощеев ЕА
Разработал
ЛПАС 2014.000.000.00ПЗ
8
Лист
Дата
Подпись
Лист № док.
.Кол.уч
Изм.
ЛПАС 2014.000.000.00ПЗ
9
Лист
Дата
Подпись
№ докум.
Лист
Изм.
ЛПАС 2014.000.000.00ПЗ
10
Лист
Дата
Подпись
№ докум.
Лист
Изм.
ЛПАС 2014.000.000.00ПЗ
11
Лист
Дата
Подпись
№ докум.
Лист
Изм.
ЛПАС 2014.000.000.00ПЗ
12
Лист
Дата
одпись
№ докум.
Лист
Изм.
ЛПАС 2014.000.000.00ПЗ
13
Лист
Дата
Подпись
№ докум.
Лист
Изм.
ЛПАС 2014.000.000.00ПЗ
14
Лист
Дата
Подпись
№ докум.
Лист
Изм.
ЛПАС 2014.000.000.00ПЗ
15
Лист
Дата
Подпись
№ докум.
Лист
Изм.
ЛПАС 2014.000.000.00ПЗ
16
Лист
Дата
Подпись
№ докум.
Лист
Изм.
ЛПАС 2014.000.000.00ПЗ
17
Лист
Дата
Подпись
№ докум.
Лист
Изм.
ЛПАС 2014.000.000.00ПЗ
18
Лист
Дата
Подпись
№ докум.
Лист
Изм.
ЛПАС 2014.000.000.00ПЗ
19
Лист
Дата
Подпись
№ докум.
Лист
Изм.
ЛПАС 2014.000.000.00ПЗ
20
Лист
Дата
Подпись
№ докум.
Лист
Изм.
ЛПАС 2014.000.000.00ПЗ
21
Лист
Дата
Подпись
№ докум.
Лист
Изм.
ЛПАС 2014.000.000.00ПЗ
22
Лист
Дата
Подпись
№ докум.
Лист
Изм.
ЛПАС 2014.000.000.00ПЗ
23
Лист
Дата
Подпись
№ докум.
Лист
Изм.
ЛПАС 2014.000.000.00ПЗ
24
Лист
Дата
Подпись
№ докум.
Лист
Изм.
ЛПАС 2014.000.000.00ПЗ
25
Лист
Дата
Подпись
№ докум.
Лист
Изм.
ЛПАС 2014.000.000.00ПЗ
26
Лист
Дата
Подпись
№ докум.
Лист
Изм.
ЛПАС 2014.000.000.00ПЗ
27
Лист
Дата
Подпись
№ докум.
Лист
Изм.
ЛПАС 2014.000.000.00ПЗ
28
Лист
Дата
Подпись
№ докум.
Лист
Изм.
ЛПАС 2014.000.000.00ПЗ
29
Лист
Дата
Подпись
№ докум.
Лист
Изм.
ЛПАС 2014.000.000.00ПЗ
30
Лист
Дата
Подпись
№ докум.
Лист
Изм.
ЛПАС 2014.000.000.00ПЗ
31
Лист
Дата
Подпись
№ докум.
Лист
Изм.
ЛПАС 2014.000.000.00ПЗ
32
Лист
Дата
Подпись
№ докум.
Лист
Изм.
ЛПАС 2014.000.000.00ПЗ
33
Лист
Дата
Подпись
№ докум.
Лист
Изм.
ЛПАС 2014.000.000.00ПЗ
34
Лист
Дата
Подпись
№ докум.
Лист
Изм.
ЛПАС 2014.000.000.00ПЗ
35
Лист
Дата
Подпись
№ докум.
Лист
Изм.
ЛПАС 2014.000.000.00ПЗ
36
Лист
Дата
Подпись
№ докум.
Лист
Изм.
ЛПАС 2014.000.000.00ПЗ
37
Лист
Дата
Подпись
№ докум.
Лист
Изм.
ЛПАС 2014.000.000.00ПЗ
38
Лист
Дата
Подпись
№ докум.
Лист
Изм.
ЛПАС 2014.000.000.00ПЗ
39
Лист
Дата
Подпись
№ докум.
Лист
Изм.
ЛПАС 2014.000.000.00ПЗ
40
Лист
Дата
Подпись
№ докум.
Лист
Изм.
ЛПАС 2014.000.000.00ПЗ
41
Лист
Дата
Подпись
№ докум.
Лист
Изм.
ЛПАС 2014.000.000.00ПЗ
42
Лист
Дата
Подпись
№ докум.
Лист
Изм.
ЛПАС 2014.000.000.00ПЗ
43
Лист
Дата
Подпись
№ докум.
Лист
Изм.
ЛПАС 2014.000.000.00ПЗ
44
Лист
Дата
Подпись
№ докум.
Лист
Изм.
ЛПАС 2014.000.000.00ПЗ
45
Лист
Дата
Подпись
№ докум.
Лист
Изм.
ЛПАС 2014.000.000.00ПЗ
46
Лист
Дата
Подпись
№ докум.
Лист
Изм.
ЛПАС 2014.000.000.00ПЗ
47
Лист
Дата
Подпись
№ докум.
Лист
Изм.
ЛПАС 2014.000.000.00ПЗ
48
Лист
Дата
Подпись
№ докум.
Лист
Изм.
ЛПАС 2014.000.000.00ПЗ
49
Лист
Дата
Подпись
№ докум.
Лист
Изм.
ЛПАС 2014.000.000.00ПЗ
50
Лист
Дата
Подпись
№ докум.
Лист
Изм.
ЛПАС 2014.000.000.00ПЗ
51
Лист
Дата
Подпись
№ докум.
Лист
Изм.
ЛПАС 2014.000.000.00ПЗ
52
Лист
Дата
Подпись
№ докум.
Лист
Изм.
ЛПАС 2014.000.000.00ПЗ
53
Лист
Дата
Подпись
№ докум.
Лист
Изм.
ЛПАС 2014.000.000.00ПЗ
54
Лист
Дата
Подпись
№ докум.
Лист
Изм.
ЛПАС 2014.000.000.00ПЗ
55
Лист
Дата
Подпись
№ докум.
Лист
Изм.
ЛПАС 2014.000.000.00ПЗ
56
Лист
Дата
Подпись
№ докум.
Лист
Изм.
ЛПАС 2014.000.000.00ПЗ
57
Лист
Дата
Подпись
№ докум.
Лист
Изм.
ЛПАС 2014.000.000.00ПЗ
58
Лист
Дата
Подпись
№ докум.
Лист
Изм.
Улучшение показателей технологического процесса изготовления автомобильных стекол