Авиационные электрические двигатели постоянного тока
PAGE \* MERGEFORMAT2
Содержание:
Введение…………………………………………………………………………………..6
1. Системы распределения электроэнергии…………………………………………….7
1.1 Бортовые электрические сети вертолётов…………………………………………..7
1.1.1 Назначение и состав………………………………………………………………...7
1.1.2 Режимы работы электрических сетей……………………………………………...7
1.1.3 Особенности эксплуатации бортовой электрической сети………………………8
2. Авиационные электрические двигатели постоянного тока………………………..10
2.1 Назначение и принцип работы……………………………………………………..10
2.2 Классификация электродвигателей………………………………………………...12
2.2.1 По наличию щёточно-коллекторного узла……………………………….12
2.2.2 По способу создания магнитного потока………………………………………..12
2.2.3 По способу возбуждения …………………………………………………………13
3. Потребитель электрической энергии………………………………………………..14
3.1 Назначение, основные тех. Данные………………………………………………..14
3.2 Электросхема (принципиальная, фидерная)………………………………………16
4. Расчёт электрической сети вертолёта……………………………………………….17
5. Расчёт электродвигателя постоянного тока………………………………………...22
6. Графики, схемы, таблицы, рисунки, приложения………………………………….29
7. Список использованной литературы………………………………………………..38
Введение
В данном курсовом проекте, я закреплю свои знания по дисциплине «Бортовые авиационные комплексы». Мне предстоит выполнить два задания: рассчитать электрическую сеть вертолёта по заданным параметрам. И рассчитать авиационный реверсивный электрический двигатель постоянного тока по заданным параметрам. За период выполнения проекта больше узнаю о бортовых электрических сетях вертолёта, их режимах работы, и про их состав и назначение элементов. Улучшу свои знания по электрическим двигателям постоянного так, их классификации, и способам возбуждения. И рассмотрю такой потребитель электрической энергии как Электромагнитный кран ГА-192/2.
1. Система распределения электроэнергии постоянного и переменного тока
1.1 ЭЛЕКТРИЧЕСКАЯ СЕТЬ
1.1.1 Электрическая сеть вертолёта является связующим звеном между источниками и потребителями электроэнергии и состоит из следующих элементов:
- электрических проводов для передачи электроэнергии от источников к потребителям;
- разъемов электрической сети вертолета;
- распределительных устройств для приема энергии от источников и распределения ее между потребителями;
- аппаратуры защиты источников энергии, потребителей и проводов от коротких замыканий и перегрузок;
- коммутационной аппаратуры для управления;
- аппаратуры контроля работы источников и потребителей электроэнергии;
- устройств против помех работе радиооборудования;
- устройств защиты от статического электричества.
1.1.2 Электрическая сеть выполнена в основном по однопроводной схеме, т. е. от источников питания к потребителям подведены лишь плюсовые провода, а в качестве минусового провода использован корпус вертолета. По двухпроводной схеме выполнена лишь сеть переменного тока напряжением 208 В т.е. от генератора СГО-ЗОУ до трансформаторов ТС/1-2 и АТ-8-3, а также до нагревательных элементов лопастей несущего и хвостового винтов.
Электроэнергия от источников постоянного тока через систему магистральных проводов поступает на распределительные щиты, установленные в распределительных устройствах. На вертолете имеются следующие распределительные шины:
- шина левого генератора;
- шина правого генератора;
- аккумуляторная шина;
- шина двойного питания.
В сети переменною тока имеются следующие распределительные шины:
- шина переменного тока 208 В;
- шина переменного тока 115 В;
- шина трехфазного переменною тока 36 В,
- шина однофазного переменною тока 36 В.
От распределительных шин к потребителям электроэнергия поступает по фидерным проводам.
1.1.3 Особенности эксплуатации бортовой электрической сети Ми-8Т:
- При эксплуатации авиационного оборудования возможно появление различных неисправностей электрической сети, вызванных рядом причин (ухудшение изоляции проводов, короткое замыкание и обрыв проводов, увеличение переходных сопротивлений минусовых клемм, повреждение экранирующей оплетки жгутов и др.). Эксплуатация неисправной электросети может привести к отказу в работе потребителей, а также выходу из строя источников электроэнергии. При серьезных повреждениях сети возможно возникновение пожара.
- Место повреждения может быть определено проверкой отдельных участков электрической сети между распределительными устройствами и потребителями, что требует четкого знания схем электрооборудования и умения быстро и безошибочно определить назначение провода по его маркировке. При проверке и эксплуатации сети необходимо пользоваться фидерными схемами, прикладываемыми к каждому вертолету.
- Перед проверкой электросети выключить источники питания электросети и отключить цепи потребителей энергии проверяемых жгутов. Электрическую сеть следует проверять под номинальным напряжением.
2. Авиационные электрические двигатели постоянного тока
2.1 Электродвигатели постоянного тока применяют в тех электроприводах, где требуется большой диапазон регулирования скорости, большая точность поддержания скорости вращения привода, регулирования скорости.
Поскольку на современных летательных аппаратах имеется большое количество разнообразных исполнительных механизмов и агрегатов, то качестве источников механической энергии применяются гидравлические, пневматические и электрические приводы. Наиболее универсальным из них считается электрический привод благодаря высокой надёжности, простоте в эксплуатации и возможности автоматизации. По виду преобразования энергии различают электродвигательный привод и электромагнитный.
Электродвигательный привод широко применяется во всех видах оборудования ЛА (взлётно-посадочная механизация, топливные и гидравлические насосы, агрегаты запуска и управления авиадвигателей, агрегаты в системе управления полётом, различные створки, панели и заслонки, вентиляторы и нагнетатели, и многое другое). Электромагнитный привод применяется при малых усилиях и небольших перемещениях - гидравлические, пневматические и топливные краны, замки, а также в коммутирующих устройствах бортовой сети - контакторах и реле.
Конструктивно все электрические двигатели постоянного тока состоят из индуктора и якоря, разделенных воздушным зазором.
Индуктор электродвигателя постоянного тока служит для создания неподвижного магнитного поля машины и состоит из станины, главных и добавочных полюсов. Станина служит для крепления основных и добавочных полюсов и является элементом магнитной цепи машины. На главных полюсах расположены обмотки возбуждения, предназначенные для создания магнитного поля машины, на добавочных полюсах - специальная обмотка, служащая для улучшения условий коммутации.
Якорь электродвигателя постоянного тока состоит из магнитной системы, собранной из отдельных листов, рабочей обмотки, уложенной в пазы, и коллектора служащего для подвода к рабочей обмотке постоянного тока.
Коллектор представляет собой цилиндр, насаженный на вал двигателя и избранный из изолированных друг от друга медных пластин. На коллекторе имеются выступы-петушки, к которым припаяны концы секций обмотки якоря. Съем тока с коллектора осуществляется с помощью щеток, обеспечивающих скользящий контакт с коллектором. Щетки закреплены в щеткодержателях, которые удерживают их в определенном положении и обеспечивают необходимое нажатие щетки на поверхность коллектора. Щетки и щеткодержатели закреплены на траверсе, связанной с корпусом электродвигателя.
В процессе работы электродвигателя постоянного тока щетки, скользя по поверхности вращающегося коллектора, последовательно переходят с одной коллекторной пластины на другую. При этом происходит переключение параллельных секций обмотки якоря и изменение тока в них. Изменение тока происходит в то время, когда виток обмотки замкнут щеткой накоротко. Этот процесс переключения и явления, связанные с ним, называются коммутацией.
В момент коммутации в короткозамкнутой секции обмотки под влиянием собственного магнитного поля наводится э. д. с. самоиндукции. Результирующая э. д. с. вызывает в короткозамкнутой секции дополнительный ток, который создает неравномерное распределение плотности тока на контактной поверхности щеток. Это обстоятельство считается основной причиной искрения коллектора под щеткой. Качество коммутации оценивается по степени искрения под сбегающим краем щетки и определяется по шкале степеней искрения.
Работа электрического двигателя постоянного тока основана на явлении электромагнитной индукции. Из основ электротехники известно, что на проводник с током, помещенный в магнитное поле, действует сила, определяемая по правилу левой руки:
F = BIL,
где I ток, протекающий по проводнику, В индукция магнитного поля; L длина проводника.
При пересечении проводником магнитных силовых линий машины в нем наводится электродвижущая сила, которая по отношению к току в проводнике направлена против него, поэтому она называется обратной или противодействующей (противо-э.д.с). Электрическая мощность в двигателе преобразуется в механическую и частично тратится на нагревание проводника.
2.2 Классификация двигателей постоянного тока
2.2.1 По наличию щёточно-коллекторного узла:
По наличию щёточно-коллекторного узла двигатели постоянного тока делят на коллекторные и безколлекторные. Щёточно-коллекторный узел предусмотрен для электрического соединения цепей статора и ротора. Этот узел электродвигателя является наиболее уязвимым, сложным в ремонте и обслуживании.
Внутри группы коллекторных двигателей существует деление на двигатели с самовозбуждением и независимым возбуждением от постоянных магнитов и электромагнитов.
Безколлекторные или вентильные двигатели работают по тому же прицепу, что и синхронные двигатели постоянного тока. Представляют собой замкнутые системы, включающие силовой полупроводниковый преобразователь, преобразователь координат, датчик положения ротора.
2.2.2 По способу создания магнитного потока:
По способу создания магнитного потока различают электродвигатели с постоянными магнитами и электромагнитами.
Электродвигатели с постоянными магнитами в силу относительно слабого магнитного потока изготовляют только небольшой мощности. Их используют в системах управления в качестве серводвигателей.
Для привода рабочих машин применяются двигатели с электромагнитами, которые по способу включения обмоток, называемых обмотками возбуждения, подразделяются на двигатели с независимым, параллельным, последовательным и смешанным возбуждением.
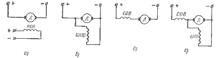
2.2.3 По способу возбуждения:

- С независимым возбуждением, у которых обмотка возбуждения НОВ питается от постороннего источника постоянного тока. (а)
- С параллельным возбуждением (шунтовые), у которых обмотка возбуждения ШОВ включается параллельно источнику питания обмотки якоря. (б)
- С последовательным возбуждением (сериесные), у которых обмотка возбуждения СОВ включена последовательно с якорной обмоткой. (в)
- Двигатели со смешанным возбуждением (компаундные), у которых имеется последовательная СОВ и параллельная ШОВ обмотки возбуждения. (г)
3. Потребитель электрической энергии топливный насос ПЦР-1Ш
3.1 Топливный насос ПЦР-1 Ш предназначен для подачи топлива из расходного бака к двигателям. Топливо из расходного бака подается к двигателям по двум топливным магистралям двумя параллельно работающими топливными электроприводными насосами (ПЦР-1Ш центробежного типа, установленными в нижней части расходного бака.)
Насос ПЦР-1Ш состоит из центробежного насоса и электродвигателя МП-100.
Электродвигатель МП-100 Б1 четырёхполюсный со смешанным возбуждением и с заземлением минусовых клемм внутри электродвигателя, конструктивно выполнен закрытым и взрывобезопасным.
Цепи питания электродвигателей насосов подключены к аккумуляторной шине через автоматы защиты сети АЗСГК-10 «Насосы топливных баков расход 1» и «Насосы топливных баков расход 2». Насосы включаются в работу одним выключателем 2Г-15К « Расходный бак» на левой панели электропульта. Работа топливных насосов ПЦР-1Ш контролируется световым табло «Расход бака», расположенным на левой панели электропульта лётчиков. Загорание лампы табло происходит от срабатывания сигнализатора давления СД-29А при наличии давления топлива в магистралях.
Основные технические данные топливного насоса ПЦР-1Ш
- Напряжение питания…………………………………………………..27 В ±10%
- Ток, потребляемый электродвигателем………………………………не более 7,2 А
- Скорость вращения электродвигателя………………………………..7200± 500 об/мин
- Крутящий момент на валу электродвигателя…………………………1.5 кгс*см
Щетки электродвигателя:
- марка…………………………………………………………………….МС-6
- количество……………………………………………………………….4
- размер…………………………………………………………………….5X12мм
- давление пружины на щетку…………………………………………..160-230 гс
- Режим работы электродвигателя ……………………………………… длительный
- производительность насоса при давлении топлива на выходе не менее 0.7кгс/см
…………………………………………………………………………………2100 л/ч
Допустимое просачивание топлива через манжетное уплотнение по дренажному штуцеру:
- при t топлива до -40°С ……………………………………………… не более 0.5см/ч
- при t топлива ниже -40°С.………………………..……. не более 1 капли в 1 минуту.
3.2 Принципиальная электрическая схема электродвигателя МП-100Б1 (вид со стороны коллектора)
4.Расчёт электрической сети вертолёта
Расчёт электрической сети ведётся по исходным данным:
Споживна потужність 60Вт; довжина дроту 30м; допустима втрата напруги 3,5-4,0В; номер схеми 5; режим роботи ПКР.
2) Для розрахунку електродвигуна: корисна потужність на валу 650Вт; напруга живлення 27В; частота обертання 8000Об/хв; режим роботи повторно короткочасний; ККД не менше 0.85; охолодження природне.
При расчёте необходимо определить:
- номинальный ток и переходное сопротивление линии сети;
- сечение проводов по допустимой потере напряжения и округлить его до стандартного значения;
- массу и стоимость проводов;
- проверить выбранное сечение проводов по условиям нагрева;
- призвести техніко-экономические обоснования наилучшего варианта;
- призвести выбор аппаратуры защиты и управления для наилучшего варианта.

Схема 4. Расчёт электросети

Схема 4. Расчёт электросети
4.1 Потребляемый ток:
(4.1.1)

4.2 Потеря напряжения:
(4.2.1)
Ом





4.3 Рассчётное сечение провода:
(4.3.1)
j=57 удельная проводимость медного провода

Выбираю провод сечением 0.35мм
4.4 Сопротивление провода линии:
(4.4.1)

4.5 Потеря напряжения на сопротивлении:
(4.5.1)

4.6 Фактическая потеря напряжения в линии:
(4.6.1)

4.7 Масса меди провода:
(4.7.1)
d=8,9г/см

4.8 Стоимость провода из меди:
(4.8.1)
грн
4.9 Ток короткого замыкания:
(4.9.1)

4.9.1 Коэффициент запаса аппаратуры защиты:
(4.9.1.1)

4.9.2 Чувствительность аппаратуры защиты:
(4.9.2.1)

4.10 Выбор аппаратуры управления:
Аппаратура прямого действия применяется при длительном и кратковременном воздействии на цепи силой тока до 35 А.
Аппаратура управления выключатели.
5.Расчёт авиационного реверсивного электрического двигателя с последовательным возбуждением
Расчёт электродвигателя производить по исходным данным:
Вставить инф о исх.дан
|
Исходные данные |
Варианты |
|||||||||
|
1 |
2 |
3 |
4 |
5 |
6 |
7 |
8 |
9 |
10 |
|
|
Полезная мощность на валу (Вт) |
150 180 |
200 250 |
300 330 |
350 380 |
400 450 |
500 550 |
600 650 |
700 800 |
850 900 |
1000 950 |
|
Напряжение питания (В) |
27 |
|||||||||
|
Частота вращения (об/мин) n |
7500 6500 |
5000 6200 |
7500 7800 |
8000 8500 |
5500 6000 |
7500 7000 |
8000 8000 |
6000 7000 |
7500 8000 |
8000 7500 |
|
Режим работы |
Повторно - кратковремененный ( 30 с работы, 5 мин перерыв, 5 циклов, после чего охлаждения) |
|||||||||
|
КПД |
Не менее 0,85 |
|||||||||
|
Охлаждение |
Естественное |
При расчёте следует определить:
- основные размеры электродвигателя;
- параметры обмотки якоря;
- размеры магнитопровода;
- параметры обмотки возбуждения;
-выбрать щётки и рассчитать коллектор.
5.1 Выбор основных размеров
5.1.1 Электромагнитная мощность двигателя:
(5.1.1.1)
Е по рисунку 5.1.1
Е=27·0,83=22,4 (В)



5.1.2 Диаметр якоря и число полюсов:
Определяется по отношению из кривых рис 5.1.2
(5.1.2.1)
D= 3 (см)
2р= 2
5.1.3 Электромагнитные загрузки:
Магнитная индукция и плотность тока по кривым, рис 5.1.3.1 и рис 5.1.3.2 соответственно.


5.1.4 Линейная нагрузка:
(5.1.4.1)


5.1.5 Длина якоря:
(5.1.5.1)
= 0,64 таблица 5.1.5

5.1.6 Полюсное деление:
(5.1.6.1)

5.2 Расчёт обмотки якоря
5.2.1 Число проводов одной параллельной ветви:
(5.2.1.1)


5.2.2 Общее число проводником обмотки якоря:
(5.2.2.1)
5.2.3 Число витков секции:
По рис. 5.2.3

5.2.4 Число коллекторных пластин:
(5.2.3.1)
5.2.5 Число коллекторных пластин на паз:

5.2.6 Число пазов:
(5.2.6.1)
5.2.7 Полное число проводников в пазу:
(5.2.7.1)
5.2.8 Сечение обмотки якоря:
(5.2.8.1)



Выбираю провод сечением 1.56 (мм) Приложение 1
5.2.9 Сопротивление обмотки якоря:
(5.2.9.1)

(5.2.9.2)
(5.2.9.3)
5.2.10 Падение напряжения в обмотке якоря:
(5.2.10.1)
5.3 Размеры магнитопровода
5.3.1 Воздушный зазор:
(5.3.1.1)

5.3.2 Высота спинки якоря:
(5.3.2.1)


= 0,65
5.3.3 Внутренний диаметр якоря:
(5.3.3.1)
5.3.4 Диаметр вала:
(5.3.4.1)
5.3.5 Магнитный поток:
(5.3.5.1)
5.3.6 Сечение полюса:
(5.3.6.1)

5.3.7 Длина сердечника полюса:


5.3.8 Ширина полюса:
(5.3.8.1)
5.3.9 Высота полюса:
(5.3.9.1)
5.3.10 Сечение корпуса:
(5.3.10.1)

5.3.11 Длина корпуса:
(5.3.11.1)
5.3.12 Высота спинки корпуса:
(5.3.12.1)
5.3.13 Наружный диаметр машины:

(5.3.13.1)
5.3.14 Отношение наружного диаметра к диаметру якоря:
(5.3.14.1)
5.4. Расчёт последовательной обмотки возбуждения
5.4.1 Сечение обмотки возбуждение:
(5.4.1.1)

Выбираю провод сечением 1,5 (мм) Приложение 1
5.4.2 Средняя длина витка обмотки возбуждения:

(5.4.2.1)

5.4.3 Сопротивление обмотки возбуждения:
(5.4.3.1)
5.4.4 Необходимое число витков на один полюс:
(5.4.4.1)

5.4.5 МДС обмотки возбуждения:
(5.4.5.1)
5.5. Коллектор и щётки
5.5.1 Диаметр коллектора:
(5.5.1.1)
5.5.2 Величина коллекторного деления:
(5.5.2.1)
5.5.3 Ширина коллекторной пластины:
(5.5.3.1)

5.5.4 Окружная скорость коллектора:
(5.5.4.1)
5.5.5 Общая площадь щёточного контакта одного болта:
(5.5.5.1)


5.5.6 Ширина щётки:
(5.5.6.1)
5.5.7 Длина щётки:

5.5.8 Размер щёток:
10Х20 - Приложение 2
5.5.9 Число щёток на болт:
(5.5.9.1)
6. Графики, схемы, таблицы, рисунки, приложения

Табл. 4. Исходные данные расчёта электросети
Величины переходных соединений
|
Тип контактного соединения |
Величина переходного сопротивления ( Ом ) |
|
|
Болтовое соединение |
( 0,5 1,0 ) |
|
|
Штепсельное соединение |
( 0,15 2,5 ) |
|
|
Контакты контакторов |
( 0,32 0,64 ) |
|
|
Контакты реле и выключателей |
( 3,0 15,0 ) |
|
|
Автоматы защиты |
( 0,9 52,7 ) |
|
|
Инерционные предохранители |
( 0,15 1,4 ) |
|
|
Тугоплавкие предохранители |
(0,03 0,34 ) |
|
|
Плавкие предохранители |
( 1,2 26 ) |
|
Табл. 4.2 Величины переходных сопротивлений
Основные данные проводов марки БПВЛ
|
Стандарт- ное сечение провода(мм) |
Длительная нагрузка(А) |
Максимально-допустимое время включения при нагрузках (мин.) |
Масса 1 км провода (кг.) |
Стоимость 1км. провода (руб.) |
|||
|
одиночный провод |
провода в жгутах |
1,5 -1 |
2 1 |
3 -1 |
|||
|
0,35 0,50 0,75 0,88 1,00 1,25 1,50 1,93 2,50 3,00 4,00 5,15 6,00 8,80 10,00 13,00 16,00 21,00 25,00 35,00 41,00 |
11 14 18 20 22 25 28 33 40 44 52 60 67 85 92 110 125 150 165 205 225 |
7 10 13 15 16 18 20 24 28 32 38 45 50 62 68 80 94 110 124 150 170 |
- 0,30 0,40 0,45 0,50 0,60 0,65 0,75 0,85 1,00 1,00 1,30 1,50 1,80 2,00 2,30 2,60 3,00 3,30 4,00 4,20 |
- - - - - 0,30 0,33 0,38 0,42 0,50 0,50 0,65 0,75 0,90 1,00 1,20 1,30 1,55 1,65 2,00 2,10 |
- - - - - - - - - - - - - 0,30 0,33 0,40 0,43 0,50 0,55 0,70 0,75 |
7,5 10 13 15 16,5 20 23 30 35 42 50 70 72 112 126 165 178 250 270 370 470 |
23 27 34 38 41 47 50 60 65 65 102 125 145 190 230 285 320 415 465 620 780 |
Табл. 4.3Основные данные проводов БПВЛ
Исходные данные для расчета электродвигателя
|
Исходные данные |
Варианты |
|||||||||
|
1 |
2 |
3 |
4 |
5 |
6 |
7 |
8 |
9 |
10 |
|
|
Полезная мощность на валу (Вт) |
150 180 |
200 250 |
300 330 |
350 380 |
400 450 |
500 550 |
600 650 |
700 800 |
850 900 |
1000 950 |
|
Напряжение питания (В) |
27 |
|||||||||
|
Частота вращения (об/мин) n |
7500 6500 |
5000 6200 |
7500 7800 |
8000 8500 |
5500 6000 |
7500 7000 |
8000 8000 |
6000 7000 |
7500 8000 |
8000 7500 |
|
Режим работы |
Повторно - кратковремененный ( 30 с работы, 5 мин перерыв, 5 циклов, после чего охлаждения) |
|||||||||
|
КПД |
Не менее 0,85 |
|||||||||
|
Охлаждение |
Естественное |
Табл. 5. Исходные данные расчёта электродвигателя

Рис. 5.1.1 Зависимость

Рис. 5.1.2 График зависимости диаметра якоря от отношения

Рис. 5.1.3.1 График зависимости индукции от диаметра якоря

Рис. 5.1.3.2 График зависимости линейной нагрузки от диаметра
|
Рн (Вт) |
5 100 |
100 500 |
500 1000 |
1000 - 3000 |
|
0,55 0,6 |
0,6 0,63 |
0,63 0,65 |
0,65 0,72 |
Табл. 5.1.5

Рис. 5.2.3 Изменение числа витков в секции с ростом мощности
|
(Вт) |
До 100 |
100-1000 |
>1000 |
|
(Тл) |
1.0-1.3 |
1.3-1.5 |
1.5-1.7 |
|
(Тл) |
1.0-1.2 |
1.2-1.4 |
1.4-1.7 |
|
(Тл) |
1.0-1.2 |
1.1-1.3 |
1.3-1.5 |
Табл. 5.3
Приложение 1
Номинальные диаметры и расчетные сечения
медного обмоточного круглого провода
|
Номинальный диаметр по меди мм |
Сечение |
Вес 100 м (без изоляции) |
Сопротивление 100 м (Ом) |
Длина на 1 Ом (м) |
Максимальный диаметр изолированного провода |
|||
|
ПЭЛ ПЭТ |
ПЭЛУ |
ПЭВ-1 |
ПЭВ-2 |
|||||
|
0,05 0,06 0,07 0,08 0,09 0,10 0,11 0,12 0,13 0,14 0,15 0,16 0,17 0,18 0,19 0,20 0,21 0,23 0,25 0,27 0,29 0,31 0,33 0,35 0,38 0,41 0,44 0,47 0,49 0,51 0,53 0,55 0,57 0,59 0,62 0,64 0,67 0,69 0,72 0,74 0,77 0,80 0,83 0,86 0,90 0,93 0,96 1,00 1,04 1,08 1,12 1,16 1,2 1,25 1,3 1,35 1,4 1,45 1,5 1,56 1,62 1,68 1,74 1,81 1,88 1,95 2,02 2,10 2,26 2,44 |
0,00196 0,00283 0,00385 0,00509 0,00636 0,00783 0,00950 0,01131 0,0133 0,0154 0,0177 0,0201 0,0227 0,0255 0,0284 0,0314 0,0346 0,0415 0,0491 0,0573 0,0661 0,0755 0,0855 0,0962 0,1134 0,1320 0,1521 0,1735 0,1886 0,2043 0,2206 0,2376 0,2552 0,2734 0,3019 0,3217 0,3526 0,3739 0,4071 0,4301 0,4657 0,5027 0,5411 0,5808 0,6362 0,6793 0,7238 0,7854 0,8495 0,9161 0,9852 1,0568 1,1309 1,2271 1,3273 1,4314 1,5394 1,6513 1,7672 1,9113 2,061 2,2167 2,3779 2,5730 2,7759 2,9865 3,2047 4,4636 4,0115 4,6760 |
1,75 2,52 3,43 4,48 5,67 7,0 8,5 10,1 11,8 13,7 15,8 17,9 20,2 22,7 25,3 28,0 30,9 37,0 43,8 51,0 58,9 67,3 76,2 85,7 101,0 118,0 136,0 155,0 168,0 182,0 196,0 212,0 227,0 243 269 288 314 333 363 383 415 449 482 581 567 605 645 700 756 816 878 940 1010 1090 1180 1280 1370 1470 1580 1700 1835 1975 2119 2290 2470 2660 2860 3080 3560 4160 |
892 618 454 348 275 223 184 155 132 114 98,8 87,6 77,0 68,6 61,6 55,7 50,6 42,3 35,6 30,6 26,5 23,2 20,5 18,2 15,5 13,3 11,5 10,1 9,26 8,59 7,93 7,35 6,89 6,43 5,82 5,44 4,98 4,7 4,32 4,07 3,77 3,48 3,24 3,01 2,75 2,58 2,42 2,23 2,07 1,92 1,78 1,66 1,55 1,45 1,32 1,23 1,14 1,06 0,989 0,918 0,853 0,792 0,738 0,683 0,632 0,585 0,548 0,503 0,438 0,376 |
0,112 0,162 0,220 0,287 0,264 0,448 0,543 0,645 0,758 0,877 1,01 1,15 1,30 1,46 1,62 1,80 1,98 2,37 2,81 3,27 3,77 4,31 4,88 5,49 6,45 7,52 8,7 9,9 10,8 11,6 12,6 13,6 14,5 15,5 17,3 18,4 20,4 21,3 23,3 24,6 26,5 28,7 30,8 33,2 36,4 38,8 41,3 44,8 48,3 52,0 56 60,3 64,5 69,0 75,8 81,3 87,7 94,3 101 108,8 117,3 126 135,4 146 158 171 182 199 228 266 |
0,065 0,075 0,085 0,095 0,105 0,120 0,130 0,140 0,150 0,160 0,170 0,180 0,190 0,20 0,210 0,225 0,235 0,225 0,275 0,31 0,33 0,35 0,37 0,39 0,42 0,45 0,49 0,52 0,54 0,56 0,58 0,60 0,62 0,64 0,67 0,69 0,72 0,74 0,78 0,80 0,83 0,86 0,89 0,92 0,96 0,99 1,02 1,07 1,12 1,16 1,20 1,24 1,28 1,33 1,38 1,43 1,48 1,53 1,58 1,64 1,71 1,77 1,83 1,90 1,97 2,04 2,12 2,20 2,36 2,54 |
0,075 0,085 0,095 0,105 0,115 0,135 0,145 0,155 0,165 0,175 0,185 0,195 0,205 0,215 0,225 0,240 0,250 0,27 0,29 0,33 0,35 0,37 0,39 0,41 0,44 0,47 0,51 0,54 0,56 0,58 0,60 0,62 0,64 0,66 0,69 0,71 0,74 0,76 0,80 0,83 0,86 0,89 0,92 0,95 0,99 1,02 1,05 1,10 1,15 1,19 1,23 1,27 1,31 1,36 1,41 1,46 1,51 1,56 1,61 1,67 1,74 1,80 1,86 1,93 2,00 2,07 2,15 2,23 2,39 2,57 |
- 0,085 0,095 0,105 0,115 0,125 0,135 0,145 0,155 0,165 0,18 0,19 0,20 0,21 0,22 0,23 0,24 0,27 0,29 0,31 0,33 0,35 0,37 0,39 0,42 0,45 0,48 0,51 0,53 0,56 0,58 0,60 0,62 0,64 0,67 0,69 0,72 0,74 0,77 0,80 0,83 0,86 0,89 0,92 0,96 0,99 1,02 1,08 1,12 1,16 1,20 1,24 1,28 1,33 1,38 1,43 1,48 1,53 1,58 1,64 1,70 1,76 1,82 1,90 1,97 2,04 2,11 2,20 2,36 2,54 |
- 0,09 0,1 0,11 0,12 0,13 0,14 0,15 0,16 0,17 0,19 0,20 0,21 0,22 0,23 0,24 0,25 0,28 0,30 0,32 0,34 0,36 0,38 0,41 0,44 0,47 0,50 0,53 0,55 0,58 0,60 0,62 0,64 0,66 0,69 0,72 0,75 0,77 0,80 0,88 0,86 0,89 0,92 0,95 0,99 1,02 1,05 1,11 1,15 1,19 1,23 1,27 1,31 1,36 1,41 1,46 1,51 1,56 1,61 1,67 1,73 1,79 1,85 1,93 2,00 2,07 2,14 2,23 2,39 2,57 |
Приложение 2
Технические параметры щеток
|
Марка щеток ГОСТ 12232-71 |
Область применения |
Рекомендуемые сечения щеток () |
Допустимая плотность тока (А/) |
Контактное падение напряжения (В) |
Предельная окружная скорость V (м/с) |
|
МГС-7 |
Генераторы основных систем электроснабжения |
5 х 8 6,5 х 6,5 6,5 х 12,5 7 х 14 8 х 16 10 х 20 12,5 х 25 |
12,5 - 20 |
1,2 2,4 |
55 |
|
МГС-8 |
Маломощные генераторы преобразователей |
6,5 х 6,5 5 х 15 6,5 х 8 |
до 27 |
2 2,8 |
55 |
Список использованной литературы:
- http://ukrlot.com/princip_deystviya_elektrodvigatelya.html
- http://electricalschool.info/main/387-jelektrodvigateli-postojannogo-toka.html
- Техническое описание вертолёта Ми-8 часть 3 Авиационное оборудование Москва «Машиностроение» 1973г.
Авиационные электрические двигатели постоянного тока







