Компоновка конструктивной схемы сборного балочного перекрытия
- Исходные данные
Размеры здания в плане (расстояние между крайними осями, м) 21,2x42,7
Число этажей (без подвала), м 9
Высота подвального этажа, м 3,3
Высота надземного этажа, м 2,7
Расстояние от пола 1-го этажа до планировочной отметки, м 1,0
Грунт основания глина
Условное расчетное давление на грунт, МПа 0,3
Район строительства Тюмень
Полное значение временной нагрузки, кПа 5
Длительная часть временной нагрузки, кПа 1,75
Конструкция пола
Рис. 1. Конструкция пола.
- Компоновка конструктивной схемы сборного балочного перекрытия
В состав сборного балочного междуэтажного перекрытия входят плиты и ригели, опирающиеся на колонны (рис.2).
При компоновке сборного балочного перекрытия необходимо:
- назначить размеры сетки колонн;
- выбрать направление ригелей, форму и размеры их поперечного сечения;
- выбрать тип и размеры плит.
Сетка колонн назначается в зависимости от размеров плит и ригелей.
Расстояние между колоннами должно быть кратно 100 мм и принимается в пределах (4,8 …7,2) м.
Направление ригелей может быть продольным или поперечным. Это обусловливается технико-экономическими показателями. Выбор типа поперечного сечения ригелей зависит от способа опирания на них плит. Высота сечения ригеля:

где пролет ригеля, ширина его сечения
Тип плит перекрытия выбирается по архитектурно-планировочным требованиям и с учётом величины действующей временной (полезной) нагрузки. При временной нагрузке используются многопустотные плиты, высота сечения которых равна (2024) см.
Плиты выполняются преимущественно предварительно напряженными, что позволяет получить экономию за счёт сокращения расхода стали. Количество типоразмеров плит должно быть минимальным: рядовые шириною (1,22,4) м, связевые плиты-распорки (0,81,8) м, фасадные плиты-распорки (0,60,95) м.
По исходным данным принимаю следующее:
- связевая конструктивная схема здания с поперечным расположением ригелей и сеткой колонн с размерами в плане (рис.2)
- ригель таврового сечения шириною и высотой

Предварительно назначенные размеры могут быть уточнены при последующем расчете и конструировании ригеля.
- Плиты многопустотные предварительно напряженные высотой 22 см (рис.3)
Ширина рядовых плит 1,3 м, плит-распорок 1,4 м, доборных плит 0,9 м.
- Колонны сечением в плане 40х40 см
Рис. 2. Конструктивная схема перекрытия
Разрез 1-1
Рис. 3. Конструктивная схема здания

Рис. 4. К определению расчетной длины плиты перекрытия
Рис. 5. К расчету плиты перекрытия
- Расчет и конструирование многопустотной предварительно напряженной плиты перекрытия при временной полезной нагрузке
- Сбор нагрузок
Таблица 1. Нормативные и расчетные нагрузки на 1 м2
|
Вид нагрузки |
Нормативная нагрузка, кН/м2 |
Коэффициент надежности по нагрузке |
Расчетная нагрузка, кН/м2 |
|
1 |
2 |
3 |
4 |
|
Постоянная: |
|||
|
Ламинат, Древесно-волокнистая плита, Цементно-песчаная стяжка, Многопустотная сборная плита перекрытия с омоноличиванием швов, |
0,06 0,072 0,9 3,4 |
1,3 1,3 1,3 1,1 |
0,078 0,094 1,17 3,74 |
|
Итого постоянная нагрузка |
4,43 |
5,08 |
|
|
Временная: |
|||
|
Перегородки, , (приведенная нагрузка, длительная) Полезная нагрузка (из здания) в том числе: - кратковременная - длительная |
0,50 5,0 3,25 1,75 |
1,2 1,2 1,2 1,2 |
0,60 6 3,9 2,1 |
|
Итого временная нагрузка |
5,50 |
6,60 |
|
|
Временная нагрузка без учета перегородок |
5,00 |
6,00 |
|
|
Полная нагрузка (постоянная + временная): |
|||
|
Итого : |
9,93 |
11,68 |
*Примечание: коэффициент надежности по нагрузке для временной (полезной) нагрузки принимается равным:
1,3 при полном нормативном значении нагрузки менее 2 кПа (кН/м2)
1,2 при полном нормативном значении нагрузки 2 кПа (кН/м2) и более.
Нагрузка на 1 погонный метр плиты:
|
Ширина плиты Нагрузка |
0,9м |
1,3м |
1,4м |
|
Расчетная постоянная, g |
4,57 |
6,6 |
7,1 |
|
Расчетная полная, (g+v) |
10,5 |
15,18 |
16,35 |
|
Нормативная постоянная, |
4,0 |
5,76 |
6,2 |
|
Нормативная полная, |
8,94 |
12,91 |
13,9 |
|
Нормативная постоянная и длительная, () |
5,56 |
8,03 |
8,65 |
Материалы для плиты
Бетон тяжелый. Класс прочности на сжатие B20:
; ; ; ;
; Начальный модуль упругости бетона .
Технология изготовления плиты агрегатно-поточная. Плита подвергается тепловой обработке при атмосферном давлении. Натяжение напрягаемой арматуры осуществляется электротермическим способом.
Арматура:
- продольная напрягаемая класса А600:
;
- ненапрягаемая класса B500: ;
- Расчет плиты по предельным состояниям первой группы
Определение внутренних усилий
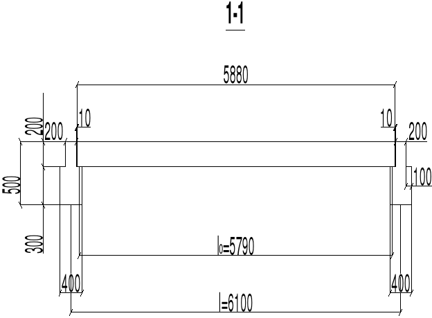
Расчетный пролет плиты в соответствии с рис. 4:

Поперечное конструктивное сечение плиты заменяется эквивалентным
двутавровым сечением (рис. 3). Размеры сечения плиты


Рис. 6. Эквивалентное двутавровое сечение
Плита рассчитывается как однопролетная шарнирно-опертая балка, загруженная равномерно-распределенной нагрузкой (рис. 4).
Усилия от расчетной полной нагрузки:
- изгибающий момент в середине пролета:

- поперечная сила на опорах:

- Усилия от нормативной нагрузки (изгибающие моменты) постоянной:

- постоянной и длительной:

Рис. 7. Расчетная схема плиты и эпюры усилий.
Расчет по прочности нормального сечения при действии изгибающего момента
При расчете по прочности расчетное поперечное сечение плиты принимается тавровым с полкой в сжатой зоне (свесы полок в растянутой зоне не учитываются).
При расчете принимается вся ширина верхней полки , так как

где, конструктивный размер плиты
Положение границы сжатой зоны определяется из следующего условия:

где, - изгибающий момент в середине пролета от полной нагрузки .
- момент внутренних сил в нормальном сечении плиты,
при котором нейтральная ось проходит по нижней грани сжатой полки;
- расчетное сопротивление бетона сжатию;
Остальные обозначения приняты в соответствии с рис.3.
Если это условие выполняется, граница сжатой зоны проходит в полке, и площадь растянутой арматуры определяется как для прямоугольного сечения шириной, равной

Условие выполняется, т.е. расчет ведем как для прямоугольного сечения.
Согласно п.3.25[6]:



Должно выполняться условие:


Значение определяется по следующей формуле:

где, - относительная деформация арматуры растянутой зоны, вызванная внешней нагрузкой при достижении в этой арматуре напряжения, равного ;
- относительная деформация сжатого бетона при напряжениях, равных , принимается равной 0,0035.
Для арматуры с условным пределом текучести значение определяется как:
, где
- предварительное напряжение в арматуре с учетом всех потерь и коэффициента .
Предварительное напряжение арматуры принимают не более для горячекатаной и термомеханически упрочненной арматуры (А600) и не более для холоднодеформированной арматуры и арматурных канатов (2.2.3.1[4]).
Принимаем:
При проектировании конструкций полные суммарные потери следует принимать не менее 100 МПа (п. 2.2.3.9 [4]), .
При определение :





Если соблюдается условие нет необходимости усиливать сжатую зону бетона, а расчетное сопротивление напрягаемой арматуры допускается умножать на коэффициент условий работы , учитывающий возможность деформирования высокопрочных арматурных сталей при напряжениях выше условного предела текучести и определяемый по формуле:

Если , что для плит практически всегда соблюдается, можно принимать максимальное значение этого коэффициента, т.е..

Площадь сечения арматуры определяем по формуле:

Принимаем:

Расчет по прочности при действии поперечной силы
Поперечная сила от полной нагрузки .
Расчет предварительно напряженных элементов по сжатой бетонной полосе между наклонными сечениями производят из условия:

коэффициент, принимаемый равным 0,3 (п. 3.1.5.2 [4])
- поперечная сила в нормальном сечении элемента
ширина ребра,

Расчет предварительно напряженных изгибаемых элементов по наклонному сечению производят из условия:

поперечная сила в наклонном сечении
поперечная сила, воспринимаемая бетоном в наклонном сечении.
поперечная сила, воспринимаемая арматурой в наклонном сечении.
, принимается ;
коэффициент, принимаемый равным 1,5 (п.3.1.5.3 [4]);
;
кН.
кН.
Допускается производить расчёт наклонного сечения из условия:


;
где

Таким образом, бетон не в состоянии воспринять всю поперечную силу в сечении и необходимо установить поперечную арматуру (хомуты) на нагрузку:

Усилие в поперечной арматуре на единицу длины равно:

Назначаем шаг хомутов с учетом требований СП:

Находим требуемую площадь поперечной арматуры:

Принимаем арматуру 25 В500С:
Окончательно принимаем на приопорных участках плиты четыре каркаса
с поперечной рабочей арматурой 25 В500С, расположенной с шагом Sw=10 см.
Рис. 8. Армирование плиты перекрытия
- . Расчет плиты по предельным состояниям второй группы
Геометрические характеристики приведенного сечения
Круглое очертание пустот заменим эквивалентным квадратным со стороной:

Размеры расчетного двутаврового сечения. Толщина полок:

Ширина ребра:
Ширина полок:
Определяем геометрические характеристики приведенного сечения:

Площадь приведенного сечения:

Статический момент приведенного сечения относительно нижней грани:


Удаление центра тяжести сечения от его нижней грани:

Момент инерции приведенного сечения относительно его центра тяжести:



Моменты сопротивления приведенного сечения по нижней и верхней грани:


Потери предварительного напряжения арматуры
Первые потери предварительного напряжения включают потери от релаксации напряжений в арматуре, потери от температурного перепада при термической обработке конструкций, потери от деформации анкеров и деформации формы (упоров).
Вторые потери предварительного напряжения включают потери от усадки и
ползучести бетона (п. 2.2.3.2. [4]).
Потери от релаксации напряжений арматуры определяют для арматуры классов А600-А1000 при электротермическом способе натяжения в соответствии с п. 2.2.3.3[4].

Потери от температурного перепада при агрегатно-поточной технологии
принимаются равными 0
Потери от деформации формы при электротермическом способе натяжения арматуры не учитывают; .
Потери от деформации анкеров при электротермическом способе натяжения арматуры не учитывают; .
Первые потери:

Потери от усадки бетона:

деформации усадки бетона, значения которых можно принимать в зависимости от класса бетона равными:
- 0,00020 для бетона классов В35 и ниже;
- 0,00025 для бетона класса В40;
- 0,00030 для бетона классов В45 и выше;

Потери от ползучести бетонаопределяются по формуле:

где коэффициент ползучести бетона, определяемый согласно п. 2.1.2.7 [4] или по Приложению 16. Принимаем ;
напряжение в бетоне на уровне центра тяжести рассматриваемой ой группы стержней напрягаемой арматуры;

усилие предварительного обжатия с учетом только первых потерь;
эксцентриситет усилия Р1 относительно центра тяжести приведенного сечения;
коэффициент армирования, равный , где площадь поперечного сечения элемента;
площадь рассматриваемой группы стержней напрягаемой арматуры.





Полное значение первых и вторых потерь:

При проектировании конструкции полные суммарные потери для арматуры, расположенной в растянутой при эксплуатации зоне сечения элемента, следует принимать не менее 100 МПа (п. 2.2.3.9[4]). Принимаем = 100 МПа.
После того, как определены суммарные потери предварительного напряжения арматуры, можно определить :

P2 усилие предварительного обжатия с учетом полных потерь;

Расчёт предварительно напряжённых изгибаемых элементов по раскрытию трещин производят в тех случаях, когда соблюдается условие:

M изгибающий момент от внешней нагрузки (нормативной);
Mcrc изгибающий момент, воспринимаемый нормативным сечением элемента при образовании трещин и равный:;
расчетное значение сопротивления бетона растяжению для предельных состояний второй группы в зависимости от класса бетона на сжатие;
W момент сопротивления приведённого сечения для крайнего растянутого волокна;
усилие предварительного обжатия бетона;
расстояние от точки приложения усилия предварительного обжатия до ядровой точки, наиболее удалённой от растянутой зоны;
r расстояние от центра тяжести приведённого сечения до ядровой точки;
W=1,25Wred приведенного сечения для крайнего растянутого волокна для двутаврового симметричного сечения (табл.4.1[6]);
P усилие предварительного обжатия с учётом потерь предварительного напряжения в арматуре, соответствующих рассматриваемой стадии работы элемента. Определяем:




Так как меньше чем следовательно трещины в растянутой зоне от эксплуатационных нагрузок не образуются.
Расчет прогиба плиты
Расчет изгибаемых элементов по прогибам производят из условия :

где f прогиб элемента от действия внешней нагрузки;
значение предельно допустимого прогиба.
При действии постоянных, длительных и кратковременных нагрузок прогиб балок или плит во всех случаях не должен превышать 1/200 пролета.
Для свободно опертой балки максимальный прогиб определяют по формуле:

где s коэффициент, зависящий от расчетной схемы и вида нагрузки; при действии равномерно распределенной нагрузки; при двух равных моментах по концам балки от силы обжатия
полная кривизна в сечении с наибольшим изгибающим моментом от нагрузки, при которой определяется прогиб.
Полную кривизну изгибаемых элементов определяют для участков без трещин в растянутой зоне по формуле:

кривизна от непродолжительного действия кратковременных нагрузок;
кривизна от продолжительного действия постоянных и длительных нагрузок;
кривизна от непродолжительного действия усилия предварительного обжатия вычисленного с учётом всех потерь, т.е. при действии момента .
Кривизну элемента на участке без трещин определяют по формуле:

где М изгибающий момент от внешней нагрузки или момент усилия предварительного обжатия относительно оси, проходящей через центр тяжести приведенного сечения;
момент инерции приведенного сечения;
модуль деформации сжатого бетона, определяемый по формуле:

где,
при непродолжительном действии нагрузки;
по табл.5 [4] или по Приложению 16 в зависимости от класса бетона на сжатие и относи -тельной влажности воздуха окружающей среды при продолжительном действии нагрузки;
при непродолжительном действии нагрузки (4.33 [6]);
- значения, численно равные сумме потерь предварительного напряжения арматуры от усадки и ползучести бетона соответственно для арматуры растянутой зоны и для арматуры, условно расположенной в уровне крайнего сжатого волокна бетона.
Нормами допускается при ограничении прогиба лишь эстетико-психологическими требованиями определять его только от постоянных и временных длительных нагрузок [1]:

изгибающий момент от действия постоянных и длительных нагрузок.


В запас жёсткости плиты оценим её прогиб только от постоянной и длительной нагрузок (без учёта выгиба от усилия предварительного обжатия):

- Расчет и конструирование однопролетного ригеля.
Для опирания пустотных панелей принимается сечение ригеля высотой hb =50 см. Ригели могут выполняться обычными или предварительно напряженными.
- Исходные данные
Нормативные и расчетные нагрузки на 1 м2 перекрытия принимаются те же, что и при расчете панели перекрытия. Ригель шарнирно оперт на консоли колонны, hb = 50 см.
Расчетный пролет:

Расчетная нагрузка на 1 м длины ригеля определяется с грузовой полосы, равной шагу рам, в данном случае шаг рам 6,7 м. (рис. 1)
Постоянная нагрузка (табл. 1):
- от перекрытия с учетом коэффициента надежности по ответственности здания :

- от веса ригеля:

где 2500 кг/м3 плотность железобетона. С учетом коэффициента надежности по нагрузке
и по ответственности здания

Итого постоянная нагрузка погонная, т.е. с грузовой полосы, равной шагу рам:

Временная нагрузка (1) с учетом коэффициента надежности по ответственности здания
и коэффициента сочетания (см. табл.1).

- для помещений указанных с поз. 1, 2, 12 [1]
А грузовая площадь ригеля; А = 6,15,3 = 32,33 м2

На коэффициент сочетания умножается нагрузка без учета перегородок:

Полная погонная нагрузка:

- Определение усилий в ригеле
Расчетная схема ригеля однопролетная шарнирно опертая балка пролетом .
Вычисляем значение максимального изгибающего момента М и максимальной поперечной силы Q от полной расчетной нагрузки:


Характеристики прочности бетона и арматуры:
- Бетон тяжелый B25: ; ; ; ;
; (табл. 5.2 [3], приложение 4), b1 = 0,9 (табл. 5.1.10 [3]);
- Арматура:
- продольная напрягаемая класса А500С диаметром 10-40мм:
- поперечная ненапрягаемая класса А400 диаметром 6-8мм: ;
- Расчет ригеля по прочности нормальных сечений при действии
изгибающего момента
Определяем высоту сжатой зоны





Граница сжатой зоны проходит в узкой части сечения ригеля, следовательно, расчет ведем как для прямоугольного сечения. Расчет по прочности нормальных сечений производится в зависимости от соотношения относительной высоты сжатой зоны бетона и граничной относительной высоты R, при которой предельное состояние элемента наступает по сжатой зоне бетона одновременно с достижением в растянутой арматуре напряжения, равного расчетному сопротивлению Rs Значение R определяется по формуле:

где, относительная деформация растянутой арматуры при напряжениях, равных Rs;

относительная деформация сжатого бетона при напряжениях равных Rb, принимаемая равной 0,0035 (п. 6.2.7 [3]):

значение R можно определить по табл. 3.2 [5] или по Приложению 11. Т.к. =0,44 < R=0,491,
площадь сечения растянутой арматуры определяется по формуле:

По найденной площади сечения растянутой арматуры по сортаменту (Приложение 12) подбираем 216 А500С и 222 А500С
Определим процент армирования поперечного сечения ригеля:

- Расчет ригеля по прочности при действии поперечных сил
Расчёт ригеля по прочности при действии поперечных сил производится на основе модели наклонных сечений [3]. Ригель опирается на колонну с помощью консолей, скрытых в его подрезке, т.е. имеет место резко изменяющаяся высота сечения ригеля на опоре. При расчёте по модели наклонных сечений должны быть обеспечены прочность ригеля по бетонной полосе между наклонными сечениями, по наклонному сечению на действие поперечной силы и изгибающего момента. Для ригелей с подрезками на опорах производится расчёт по поперечной силе для наклонных сечений, проходящих у опоры консоли, образованной подрезкой. При этом в расчётные формулы вводится рабочая высота h01 короткой консоли
ригеля. Таким образом, в качестве расчётного принимаем прямоугольное сечение
с размерами b h1 = 2035 см, в котором действует поперечная сила Q=153,7 кН от полной расчётной нагрузки. Рабочая высота сечения ригеля в подрезке составляет вне подрезки в средней части пролета 50 см
При диаметре нижних стержней продольной рабочей арматуры ригеля ds=22 мм с учётом требований п.8.3.10 [3] назначаем поперечные стержни (хомуты) 8 А400. Их шаг на приопорном участке предварительно принимаем по конструктивным соображениям sw1=10 см, что в соответствии с п.8.3.11[3] не превышает 0,5h01=18,5 см и 30 см. Значения прочностных характеристик бетона класса В20, входящие в расчётные зависимости, принимаем с учётом коэффициента условий работы .
Расчёт ригеля по бетонной полосе между наклонными трещинами производится из условия:

т.е. принятые размеры сечения ригеля в подрезке достаточны.
Проверяем, требуется ли поперечная арматура по расчёту, из условия:

Т.е.
Нет необходимости в расчете поперечной арматуры. Принимаем конструктивно поперечную арматуру 28 А400С с шагом
Находим погонное усилие в хомутах для принятых выше параметров поперечного армирования Asw =1,01 см2 (28 А400) , Rsw =285 МПа, sw1 = 10 см:

Расчёт ригеля с рабочей поперечной арматурой по наклонному сечению производится из условия:

где с длина проекции наклонного сечения на продольную ось элемента,
коэффициент, принимаемый равным 1,5 (п. 6.2.34 [3]).
Наиболее опасная длина проекции наклонного сечения:

которая должна быть не более 2h01 = 74 см.
С учётом этой величины условие () преобразуем к виду:


т.е. условие прочности ригеля по наклонному сечению в подрезке при действии поперечной силы соблюдается.
Необходимо также убедиться в том, что принятый шаг хомутов не превышает максимального шага хомутов, при котором ещё обеспечивается прочность ригеля по наклонному сечению между двумя соседними хомутами, т.е.

Выясним теперь, на каком расстоянии от опор в соответствии с характером эпюры поперечных сил в ригеле шаг поперечной арматуры может быть увеличен. Примем, согласно п.8.3.11 [3], шаг хомутов в средней части пролёта равным , что не превышает 500 мм.
Погонное усилие в хомутах для этого участка составляет:

что не меньше минимальной интенсивности этого усилия, при которой поперечная арматура учитывается в расчёте:

При действии на ригель равномерно распределённой нагрузки q=g1+v1 длина участка с интенсивностью усилия в хомутах qsw,1 принимается не менее значения l1, определяемого по формуле:



Поскольку , то принимаем


В ригелях с подрезками у концов последних устанавливаются дополнительные хомуты и отгибы для предотвращения горизонтальных трещин отрыва у входящего угла подрезки. Эти хомуты и отгибы должны удовлетворять условию:

Для рассматриваемого примера со сравнительно небольшим значением поперечной силы примем дополнительные хомуты у конца подрезки в количестве 212 А500С с площадью сечения Asw 1=2,26 см2 отгибы использовать не будем. Тогда проверка условия даёт:

т.е. установленных дополнительных хомутов достаточно для предотвращения горизонтальных трещин отрыва у входящего угла подрезки.
- Расчет и конструирование однопролетного ригеля.
Продольная рабочая арматура в пролете 216 и 222 А500. Площадь этой арматуры Аs определена из расчета на действие максимального изгибающего момента в середине пролета. В целях экономии арматуры по мере уменьшения изгибающего момента к опорам два стержня обрываются в пролете, а два других доводятся до опор. Если продольная рабочая арматура разного диаметра, то до опор доводятся два стержня большего диаметра.
Определяем изгибающий момент, воспринимаемый сечением ригеля с полной запроектированной арматурой 216 и 222 А500 .



Изгибающий момент, воспринимаемый сечением ригеля, определяется из условия равновесия:


то есть больше действующего изгибающего момента от полной нагрузки, это значит, что прочность сечения обеспечена.
До опоры доводятся 222 А600, h0 = 50 3 = 47 см , .

Определяем изгибающий момент, воспринимаемый сечением ригеля с рабочей арматурой в виде двух стержней, доводимых до опоры

Откладываем в масштабе на эпюре моментов полученные значения изгибающих моментов М(216+2 22) и М(222) и определяем место теоретического обрыва рабочей арматуры это точки пересечения эпюры моментов с горизонтальной линией, соответствующей изгибающему моменту, воспринимаемому сечением ригеля с рабочей арматурой в виде двух стержней М(222)
Изгибающий момент в любом сечении ригеля определяется по формуле


При

При

При

Рис. 9. Эпюра материалов в ригеле
Длина анкеровки обрываемых стержней определяется по следующей зависимости:

Поперечная сила Q определяется графически в месте теоретического обрыва, Q = 76,6 кН.
Поперечные стержни 8 А400 Rsw = 285 МПа с Аsw = 1,01 см2 в месте теоретического обрыва имеют шаг 10 см;


Место теоретического обрыва арматуры можно определить аналитически.
Для этого общее выражение для изгибающего момента нужно приравнять моменту, воспринимаемому сечением ригеля с арматурой 222 А600.



Это точки теоретического обрыва арматуры.
Длина обрываемого стержня будет равна3,543
Определяем аналитически величину поперечной силы в месте теоретического обрыва арматуры при

Это значение полностью совпадает с графически определенным .
- Расчет и конструирование колонны
Для проектируемого 9-этажного здания принята сборная железобетонная колонна сечением 4040 см. Для колонн применяется тяжелый бетон классов по прочности на сжатие не
ниже В15, а для сильно загруженных не ниже В25. Армируются колонны продольными стержнями диаметром 16 …40 мм из горячекатаной стали А400, А500С и поперечными стержнями преимущественно из горячекатаной стали класса А240.
- Исходные данные.
Таблица 2. Нормативные и расчетные нагрузки на ригель
|
Вид нагрузки |
Нормативная нагрузка, кН/м3 |
Коэффициент надежности по нагрузке |
Расчетная нагрузка, кН/м2 |
|
1 |
2 |
3 |
4 |
|
Гидроизоляционный ковер (3слоя) |
0,15 |
1,3 |
0,195 |
|
Армированная цементно-песчаная стяжка |
0,880 |
1,3 |
1,44 |
|
Керамзит по наклону
|
0,600 |
1,3 |
0,780 |
|
Утеплитель (минераловатные плиты)
|
0,225 |
1,2 |
0,270 |
|
Пароизоляция (1 слой) |
0,050 |
1,3 |
0,065 |
|
Многопустотная плита перекрытия с омоноличиванием швов |
3,400 |
1,1 |
3,740 |
|
Итого постоянная нагрузка |
5,305 |
6,194 |
|
|
Временная нагрузка Снеговая В том числе длительная часть снеговой нагрузки |
0,71,8=1,588 0,794 |
- - |
1,8 0,90 |
|
Полная нагрузка |
6,893 |
7,994 |
Материалы для колонны:
Характеристики прочности бетона и арматуры:
- Бетон тяжелый B30: ; ; ; ;
(табл. 5.2 [3], приложение 4).
- Арматура:
- продольная рабочая класса А500(: ;
- поперечная класса А240: ;
- Определение усилий в колонне.
Рассчитывается средняя колонна подвального этажа высотой hfl = 3,3 м.
Грузовая площадь колонны
Продольная сила N, действующая на колонну, определяется по формуле:




где
;


коэффициент сочетаний (коэффициент снижения временных нагрузок в зависимости от количества этажей);


Длительно действующая нагрузка на колонну определяется по формуле:


- Расчет колонны по прочности
Расчет по прочности колонны производится как внецентренно сжатого элемента со случайным эксцентриситетом еа:

Однако расчет сжатых элементов из бетона классов В15 …В35 (в нашем случае В30) на действие продольной силы, приложенной с эксцентриситетом
при гибкости:

площадь сечения колонны; площадь продольной арматуры в сечении колонны;
расчетная длина колонны типового этажа с шарнирным закреплением в уровне последующего этажа и с жесткой заделкой в уровне опирания на нижележащий; расчетное сопротивление арматуры сжатию.
;
- коэффициент, принимаемый при длительном действии нагрузки по табл. 6.2. [3] или по Приложению 19, в зависимости от гибкости колонны. .

Из условия ванной сварки выпусков продольной арматуры при стыке колонн, минимальный ее диаметр должен быть не менее 20 мм. Принимаем 428 А500С .

Диаметр поперечной арматуры принимаем 6 А240 (из условия сварки c продольной арматурой). Шаг поперечных стержней s = 300 мм, что удовлетворяет конструктивным требованиям [3]: s 15d = 15·28 =420мм и s 500 мм. Если > 3 %, то шаг поперечных стержней должен быть s 10d и s 300 мм.
-
Расчет и конструирование фундамента под колонну.- Исходные данные
Грунт основания глина, условное расчётное сопротивление грунта R0 = 0,31 МПа[7]. Бетон тяжелый класса В25. Расчетное сопротивление растяжению Rbt = 1,05 МПа, b1 = 0,9. Арматура класса А500С, Rs = 435 МПа = 43,5кН/см2. Вес единицы объема бетона фундамента и грунта на его обрезах m = 20 кН/м3. Высоту фундамента предварительно принимаем 90 см. C учётом пола подвала глубина заложения фундамента Н1 = 105 см. Расчетное усилие, передающееся с колонны на фундамент, N = 3100 кН. Нормативное усилие;
Nn = N/fm = 3100/1,15 = 2690 кН,
где fm = 1,15 усредненное значение коэффициента надежности по нагрузке.
- Определение размера стороны подошвы фундамента
Площадь подошвы центрально нагруженного фундамента определяется по условному давлению на грунт R0 без учета поправок в зависимости от размеров подошвы фундамента и глубины его заложения

Размер стороны квадратной подошвы фундамента:

Давление на грунт от расчетной нагрузки:

- Определение высоты фундамента
Рабочая высота фундамента из условия продавливания

Полная высота фундамента устанавливается из условий:
- Продавливания
- Заделки колонны в фундаменте
- Анкеровки сжатой арматуры
Базовая длина анкеровки, необходимая для передачи усилия в арматуре с полным расчетным сопротивлением на бетон, определяется по формуле:

где и соответственно площадь поперечного сечения анкеруемого стержня арматуры и периметр его сечения (в нашем случае для арматуры 28 .
расчетное сопротивление сцепления арматуры с бетоном, принимаемое равномерно распределенным по длине анкеровки ;
где 1 коэффициент, учитывающий влияние вида поверхности арматуры. Для горячекатаной арматуры периодического профиля 1 = 2,5;
2 - коэффициент, учитывающий влияние размера диаметра арматуры, принимаемый равным
1,0 при диаметре продольной арматуры


Требуемая расчетная длина анкеровки арматуры с учетом конструктивного решения элемента в зоне анкеровки определяется по формуле:

где и площади поперечного сечения арматуры, соответственно требуемая по расчету и фактически установленная (для нашего случая
коэффициент, учитывающий влияние на длину анкеровки напряженного состояния бетона и арматуры. Для сжатых стержней периодического профиля . Тогда:

Кроме того, согласно требованиям [3], фактическую длину анкеровки необходимо принимать и
Из четырех величин принимаем максимальную длину анкеровки, т.е.

Следовательно, из условия анкеровки арматуры

Принимаем трехступенчатый фундамент высотой 110 см с высотой ступеней 40см и 30см. При этом ширина первой ступени а1 = 1,0 м, а второй а2 =1,8 м [8].
Проверяем, отвечает ли рабочая высота нижней ступени h03 = 30 5 = 25 см
условию прочности при действии поперечной силы без поперечного армирования в наклонном сечении. Для единицы ширины этого сечения (b = 100 см) должно выполняться условие:

Поперечная сила от давления грунта:


- Расчет на продавливание
Проверяем нижнюю ступень фундамента на прочность против продавливания. Расчет элементов без поперечной арматуры на продавливание при действии сосредоточенной силы производится из условия (6.97 [3]):

где F продавливающая сила, принимаемая равной продольной силе в колонне подвального этажа на уровне обреза фундамента за вычетом нагрузки, создаваемой реактивным отпором грунта, приложенным к подошве фундамента в пределах площади с размерами, превышающими размер площадки опирания (в данном случае второй ступени фундамента a a =1,81,8 м) на величину h0 во всех направлениях; Ab площадь расчетного поперечного сечения, расположенного на расстоянии 0,5h0 от границы площади приложения силы N с рабо-
чей высотой сечения h0. В нашем случае h0 = h03 = 0,3 м. Площадь Ab определяется по формуле:

где U периметр контура расчетного сечения

Площадь расчётного поперечного сечения:
Продавливающая сила равна:
p =299 кН/м2, реактивный отпор грунта,
A1 площадь основания продавливаемого фрагмента нижней ступени фундамента в пределах контура расчётного поперечного сечения, равная:



т.е. прочность нижней ступени фундамента против продавливания обеспечена.
Рис. 10. Трехступенчатый фундамент под внутреннюю колонну
- Определение площади арматуры подошвы фундамента
Подбор арматуры производим в 3-х вертикальных сечениях фундамента, что позволяет учесть изменение параметров его расчётной схемы, в качестве которой принимается консольная балка, загруженная действующим снизу вверх равномерно распределенным реактивным отпором грунта. Для рассматриваемых сечений вылет и высота сечения консоли будут разными, поэтому выявить наиболее опасное сечение можно только после определения требуемой площади арматуры в каждом из них (см. рис. 10).
Сечение I-I

Площадь сечения арматуры определяем по формуле:

Сечение II-II

Площадь сечения арматуры определяем по формуле:

Сечение III-III

Площадь сечения арматуры определяем по формуле:

Из трёх найденных значений подбор арматуры производим по максимальному значению, т.е.
Шаг стержней принимается от 150 мм до 300 мм. При ширине подошвы фундамента а 3 м минимальный диаметр стержней dmin = 10 мм, при а > 3 м dmin = 12 мм.
Принимаем нестандартную сварную сетку с одинаковой в обоих направлениях арматурой из стержней 1214 А500 с шагом 260 мм.

Определяем процент армирования и сравниваем его с минимально допустимым:
Сечение I-I

Сечение II-II

Сечение III-III

Так как во всех сечениях , выбранная арматура удовлетворяет условию армированию. В случае , диаметр принятой арматуры следует увеличить диаметр арматуры или уменьшить ее шаг. Конструкция фундамента на рис. 11.
Рис. 11. К определению сечения арматуры в подошве фундамента
35
Компоновка конструктивной схемы сборного балочного перекрытия

