Изучение организации производства в холодном цехе ресторана «Оранжевое настроение»
Содержание
Введение…………………………………………………………………………………...3
1. Характеристика предприятия …………………………………………………………6
1.1. Описание исследуемого предприятия ……………………………………………...6
1.2. Управление предприятием общественного питания ……………………………....7
2. Оперативное планирование работы структурного подразделения ………………..11
2.1. Расчет количества потребителей…………………………………………………...11
2.2. Определение количества блюд и напитков, подлежащих изготовлению
и реализации……………………………………………………………………………..13
2.3. Разбивка блюд по ассортименту…………………………………………………....13
2.4. Расчет количества холодных напитков, мучных кондитерских и хлебобулочных изделий, хлеба……………………………………………………………………….…...14
2.5. Составление расчетного меню предприятия……………………………………...15
2.6. Составление плана-меню предприятия …………………………………………...19
2.7. Расчет количества продуктов, полуфабрикатов и готовых изделий. ……….…..20
2.8. Составление таблицы реализации блюд по часам работы торгового зала….…..21
2.9. Расчет численности работников производства……………………………….…..22
2.10. Составление графиков выхода на работу. ……………………………………....23
2.11. Расчет и подбор технологического оборудования………………………….…..24
3. Оценка эффективности работы структурного подразделения…………………….28
4. Ведение учетно-отчетной документации…………………………………………....31
4.1. Составление технико-технологической карты…………………………………....31
4.2. Составление калькуляционной карточки на блюдо……………………………....31
4.3. Составление требования в кладовую…………………………………………....... 32
4.4. Составление накладной на отпуск продуктов и других материальных ценностей…………………………………………………………………………………32
4.5. Составление табеля рабочего времени………………………………………....... 33
Заключение……………………………………………………………………………….35
Список использованных источников……………………………………………….......36
Приложения……………………………………………………………………………....37
Введение
Общественное питание представляет собой отрасль народного хозяйства, основу которой составляют предприятия, характеризующиеся единством форм организации производства и обслуживания потребителей и различающихся по типам специализации.
Особое внимание уделяется, предприятиям быстрого обслуживания в нашей стране реализована Республиканская концепция развития предприятий быстрого питания на период до 2020 года. Бистро представлено как стационарными, так и мобильными предприятиями, которые расположены, как правило, в местах массовых потоков населения, административных центрах городов.
Мобильные предприятия быстрого обслуживания, которые организованны на базе прицепов Купава, обеспечиваются продукцией с крупных предприятий или кулинарных цехов заготовочных фабрик. Транспортировка пищи осуществляется в гастрономических емкостях специально оборудованного транспорта.
Еще одним видом предприятий быстрого обслуживания, широко распространенным не только в странах Западной Европы и Америки, но и в нашей стране, является Макдональдс.
Наблюдается рост числа объектов общественного питания с оказанием таких сопутствующих услуг, как трансляция спортивных телепередач. Так же растёт количество чайных и кофеен.
За последние 15 лет в стране значительно расширился ассортимент качественных продуктов, появились новые, ранее не используемые, что привело к увеличению ассортимента блюд в торговых объектах.
Ресторан это особый тип предприятия, в котором организация производства широкого ассортимента кулинарной продукции сложного приготовления сочетаются с организацией высокого уровня обслуживания посетителей в торговых залах ресторана.
Успешная деятельность ресторана зависит от многих факторов, начинающихся от формулирования общей философии ведения этого бизнеса и, заканчивая контролем над тем, как эта философия реально претворяется в жизнь.
Для того чтобы концентрация ресторанного бизнеса была успешной, она должна разрабатываться с учётом его потенциальных посетителей. Профиль каждого ресторана определяется его концепцией, и эта концепция определяет его имидж, апеллирующий к определенному рынку: будничный, официальный, детский, только для взрослых, этнический и т. д.
Концепция должна подходить для выбранного района и ориентироваться на выбранный целевой рынок. Другими словами, расположение ресторана, его концепция, меню и особенности оформления должны быть гармоничными и соответствовать друг другу.
Целью данной работы является изучение организации производства в холодном цехе ресторана «Оранжевое настроение».
Выполнение цели исследования предполагает решение ряда взаимосвязанных задач, а именно:
характеристика рассматриваемого предприятия,
раскрытие организации производственных и трудовых процессов на предприятии.
Объект исследования: ресторан «Оранжевое настроение».
1. Характеристика предприятия
1.1. Описание исследуемого предприятия ООО «ОРАНЖЕВОЕ НАСТРОЕНИЕ»
Тип собственности предприятия общество с ограниченной ответственностью (ООО).
К контингенту потребителей ресторана относятся граждане со средним уровнем дохода.
Обслуживание в ресторане сочетается с организацией отдыха и развлечений. Приготовление пищи, и обслуживание осуществляется высококвалифицированными поварами и официантами. Также возможна организация банкетов и шведского стола.
Для ресторана коэффициент потребления блюд m=3.0.Ресторан работает по 2 колонке сборника рецептур кулинарных изделий.
Адрес предприятия: Удмуртская республика, г. Ижевск, ул. Революционная 217.
Ресторан «Оранжевое настроение» работает с 1000 до1800, воскресение выходной.
Целью предприятия является удовлетворения общественных потребностей в работах, товарах и услугах.
Проектируемый ресторан «Жемчужина» на 80 посадочных мест является специализированным предприятием общественного питания, отличающееся наилучшим оснащением, сервировкой, интерьером.
Предприятие имеет следующие производственные цеха и помещения:
- Вестибюль (включая гардероб, умывальные и уборные).
- Зал.
- Горячий цех.
- Холодный цех.
- Мясорыбный цех.
- Кондитерский цех.
- Пекарный цех.
- Моечная посуды.
- Раздаточная.
Ресторан относится к предприятиям с полным циклом производства, т.е. осуществляет обработку сырья, выпускает полуфабрикаты и готовую продукцию, а затем сам реализуют ее.
В ресторане «Оранжевое настроение» предоставляется широкий ассортимент фирменных блюд, разнообразный выбор заказных и фирменных напитков.
Ассортимент ресторана включает: 7 закусок и салатов, 3 супа, 14 горячих блюд, 7 гарниров, 3 соуса, 10 напитков, хлебобулочных изделий.
В приложении 1 представлено меню ресторана.
1.2. Управление предприятием
Таблица 1- Структура персонала.
|
Категория работников |
Структура персонала, % |
Фактически за отчетный год |
|
Административный (управляющий) |
7.69 |
|
|
Производственный персонал (шеф-повар, повар, пекарь-кондитер, уборщица, мойщица) |
53.83 |
|
|
Обслуживающий персонал (кассир, охрана, официант) |
38.45% |
|
|
Итого |
100 |
Общая схема организационного процесса представлена на рисунке 1.

Рисунок 1- Общая схема организационного процесса.
В состав ресторана «Оранжевое настроение» входят следующие помещения: помещения для посетителей, производственные, складские, административно-бытовые.
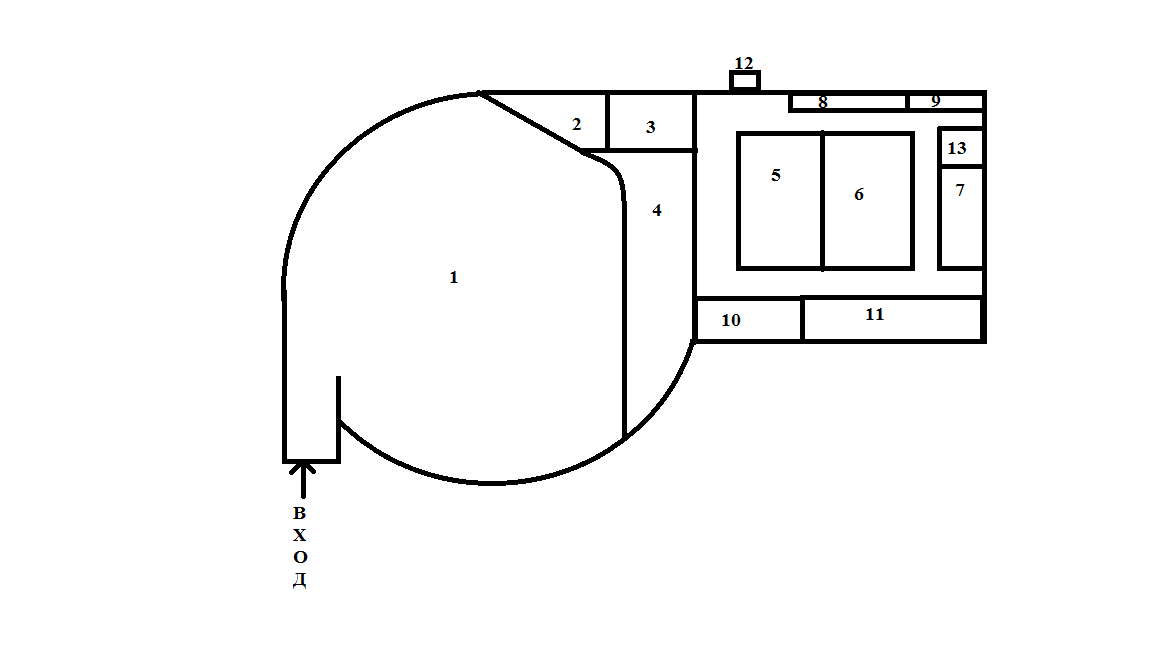
Взаимосвязь помещений на предприятии представлена в рисунке 1.2.
Рисунок 2 - Взаимосвязь помещений.
1-зал,
2-туалет,
3-моечная,
4- раздаточная,
5- холодный цех,
6- горячий цех,
7-кондитерский и пекарный цех,
8- морозильная камера,
9- раздевалка,
10- административное помещение,
11- склад,
12- служебный вход.
Горячий цех занимает в предприятии центральное место. В нем осуществляют тепловую обработку продуктов и полуфабрикатов, варят бульоны, готовят супы, соусы, гарниры, вторые блюда, выполняют тепловую обработку продуктов для холодных и десертных блюд. Цех имеет удобную связь с мясорыбным цехом, который предназначен для производства мясных, рыбных, куриных полуфабрикатов. Также горячий цех целесообразно расположен по отношению к складским помещениям и к холодному цеху, раздаточной и торговому залу, моечной столовой посуды.
Компоновка торговых помещений произведена по ходу движения посетителей. Предусмотрена возможность сокращения их передвижения и обеспечение эвакуации людей в случае пожара.
Все входы в производственные и складские помещения со стороны хозяйственного двора, а в торговые помещения с улицы.
Большое преимущество данного объекта в том, что он создавался буквально с нуля по четко определенному плану, а значит все помещения изначально были грамотно спроектированы. Это касалось и кухни. Сырые продукты и напитки поставляются в распаковочную, где разгружаются и распределяются в холодильники, кладовую овощей или на склад для вина. Горячий цех кухни находится напротив этих складов через коридор, и сквозь него никакие сырые продукты не проносятся. Далее идут моечная столовой посуды, моечная тары и помещения для персонала гардероб, санузел и душ.
Взаимное расположение основных групп помещений обеспечивает кратчайшие связи между ними без пересечения потоков посетителей и обслуживающего персонала, чистой и использованной посуды, разгрузки только что привезенных продуктов и поставки в зал готовых блюд.
2. Оперативное планирование работы структурного подразделения
2.1. Расчет количества потребителей
Количество потребителей может быть определено на основе графика загрузки зала для всех типов ПОП или по оборачиваемости одного места за день.
При определении количества потребителей по графику загрузки зала основными данными для составления графика являются: часы (режим) работы предприятия, оборачиваемость места за час и процент загрузки зала по часам его работы.
Количество потребителей, обслуживаемых за 1 ч. работы предприятия определяются по формуле:

, (1)
где, Nr - количество потребителей, обслуживаемых за 1 час работы;
P - вместимость зала;
F - оборачиваемость места в зале в течении данного часа;
X - загрузка зала в данный час.
Nд. = Nr, (2)
где, Nд.- общее количество потребителей.
Расчеты сводятся в таблицу 1.
Таблица 1 - График загрузки зала закусочной на 80 посадочных мест.
|
Часы работы торгового зала |
Оборачиваемость зала за 1 час |
Средний % загрузки зала |
Количество потребителей в час |
Коэффициент перерасчета блюд |
|
10-11 |
1 |
25 |
20 |
0,06 |
|
11-12 |
1 |
25 |
20 |
0,06 |
|
12-13 |
1.5 |
60 |
72 |
0,25 |
|
13-14 |
1.5 |
55 |
66 |
0,23 |
|
14-15 |
1 |
50 |
40 |
0,13 |
|
Продолжение таблицы 1 |
||||
|
15-16 |
1 |
40 |
20 |
0,06 |
|
16-17 |
1 |
30 |
24 |
0,08 |
|
17-18 |
1 |
30 |
24 |
0,08 |
|
Итого |
286 |
0,95 |
Производим расчет количества потребителей по формуле (1)
Торговый зал
10-11 Nr =1*25*80/100=20
11-12 Nr =1*25*80/100=20
12-13 Nr =1.5*60*80/100=72
13-14 Nr = 1.5*55*80/100=66
14-15 Nr = 1*50*80/100=40
15-16 Nr = 1*40*80/100=20
16-17 Nr = 1*30*80/100=24
17-18 Nr = 1*30*80/100=24
Общее количество потребителей определяем по формуле (2)
Nд. = 20+20+72+66+40+20+24+24=286 (потребителей).
Коэффициент перерасчета блюд определяется по формуле.
K=Nr/Nдн (3)
Рассчитаем коэффициент перерасчета блюд в таблице 1 по формуле (3).
10-11 К = 20/286= 0.06
11-12 К = 20/286=0,06
12-13 К = 72/286= 0,25
13-14 К = 66/286=0,23
14-15 К = 40/286=0,13
15-16 К= 20/286=0,06
16-17 К= 24/286=0,08
17-18 К = 24/286=0,08
2.2. Определение количества блюд и напитков, подлежащих изготовлению и реализации
Для определения количества блюд необходимы данные: количество потребителей и коэффициент потребления блюд.
Общее количество блюд определяется по формуле:
A дн. = N д.*m, (4)
где, N д. - количество посетителей за каждый час;
m коэфицент потребления блюд (сума коэфицентов потребления холодных блюд, супов, вторых, горячих блюд, сладких блюд и горячих напитков).
В кафе коэффициент потребления равен 3.
N =286*3=858 (блюд).
2.3. Разбивка блюд по ассортименту
Общее количество блюд, реализуемых на предприятии, зависит от его типа оснащения и определяется по формуле:
N = nхолодных блюд + nвторых блюд + nсупов + nсладких блюд (5)
Разбивка общего количества блюд на отдельные группы (холодные блюда, супы, горячие блюда, сладкие) и внутригрупповое распределение блюд по основным продуктам (рыбные, мясные, овощные и т.п.) производятся в соответствии с таблицей процентного соотношения различных групп блюд в ассортименте продукции, выпускаемой предприятием.
Таблица 2- Разбивка блюд по ассортименту.
|
Блюда |
Процентное соотношение блюд |
Количество блюд |
|
|
От общего количества, % |
От данной группы, % |
||
|
Холодные блюда |
30 |
35 |
|
|
Супы |
20 |
30 |
|
|
Горячие блюда |
40 |
||
|
Мясо |
90 |
80 |
|
|
Рыба |
10 |
8 |
|
|
Продолжение таблицы 2 |
|||
|
Сладкие блюда и горячие напитки |
10 |
445 |
|
|
Итого |
100 |
598 |
2.4. Расчет количества холодных напитков, мучных кондитерских и хлебобулочных изделий, хлеба
Хлебобулочные изделия изделия хлебопекарного производства. К хлебобулочным изделиям относятся: хлеб, булочное изделие, мелкоштучное булочное изделие, изделие пониженной влажности, пирог, пирожок, пончик.
Кондитерские изделия - высококалорийные и легкоусваиваемые пищевые продукты с большим содержанием сахара, отличающиеся приятным вкусом и ароматом.
К холодным напиткам относятся: молоко и молочные коктейли, хлебный квас, плодово-ягодные прохладительные напитки.
Количество холодных напитков, мучных кондитерских и булочных изделий, хлеба определяется по нормам потребления на одного человека. Используя расчеты количества потребителей предприятия.
Таблица 3 - Расчет количества холодных напитков, мучных кондитерских и хлебобулочных изделий, хлеба.
|
Наименование |
Количество потребителей |
Норма потребления на 1 чел. в день |
Общее количество |
|
|
в литрах, штуках |
в порциях |
|||
|
Холодные напитки: |
286 |
0.14 |
40.04 |
196.196 |
|
Горячие напитки, л |
286 |
0.08 |
22.88 |
112.112 |
|
Хлеб и хлебобулочные изделия, г |
286 |
0.1 |
28.6 |
На основании Сборника рецептур, ассортиментного минимума и полученных данных из предыдущих таблиц составляется расчетное меню предприятия, которое является его производной программой.
2.5. Составление расчетного меню предприятия
Сущность оперативного планирования заключается в составлении программы предприятия. Вопросами планирования производственной программы занимаются заведующий производством, бухгалтер.
В ресторане должен быть утвержден план товарооборота на месяц, на основании которого составляется производственная программа.
Оперативное планирование работы производства включает в себя следующие элементы:
- составление планового меню на декаду (цикличное меню), на его основе разработка плана-меню, отражающего производственную программу предприятия; составление и утверждение меню;
- расчет потребности в продуктах для приготовления блюд, предусмотренных планом меню, и составления требования на сырье;
- оформление требования-накладной на отпуск продуктов из кладовой на производстве и получение сырья;
- распределение сырья между цехами и определение заданий поварам в соответствии с планом-меню.
Первым этапом оперативного планирования является составление планового меню, наличие которого дает возможность обеспечить разнообразие блюд в декаде, избежать повторений одних и тех же блюд, обеспечить четкую организацию снабжения производства сырьем и полуфабрикатами, своевременно направляя заявки на оптовые базы, промышленные предприятия, правильно организовать технологический процесс приготовления пищи и труд работников производства. В плановом меню указывается ассортимент и количество блюд каждого наименования, которые могут быть приготовлены на данном предприятии по дням декады. При составлении планового меню учитываются квалификация поваров, потребительский спрос, возможности снабжения сырьём и сезонность сырья, техническое оснащение предприятия.
Вторым и основным этапом оперативного планирования является составление плана-меню заведующим производством накануне планируемого дня (не позднее 15 часов) и утверждение его директором предприятия.
Расчетное меню представляет собой перечень наименований блюд с указанием выхода готового блюда и количества блюда. Составляется меню по сборникам рецептур блюд и другой литературе с учётом:
- типа предприятия;
- контингента;
- национальных особенностей сезонности;
- приёмов тепловой обработки;
- разнообразия ассортимента
Меню может быть:
- со свободным выбором блюд;
- скомплектованных завтраков, обедов и ужинов;
- меню дневного рациона;
- диетическое меню;
- банкетное меню
К основным факторам, которые необходимо учитывать при составлении меню, относятся: примерный ассортимент выпускаемой продукции, вида предоставляемого рациона, наличие сырья.
Примерный ассортимент блюд (ассортиментный минимум) это определенное количество наименований холодных блюд, напитков, характерных для ресторана.
При составлении плана-меню необходимо учитывать наличие сырья в кладовых. Блюда и закуски, включаемые в меню, должны быть разнообразными как по видам сырья, так и по способам тепловой обработки (варёные, припущенные, жареные, тушеные, запеченные); учитываются также квалификационный состав работников, мощность производства и оснащенность его торгово-технологическим оборудованием, а также трудоёмкость блюд, т.е. затраты времени на приготовление единицы продукции.
Утверждая план-меню, директор и заведующий производством несут ответственность за то, чтобы блюда, включаемые в меню, были в продаже в течение всего дня торговли предприятия.
Разбивка общего количества блюд на виды (холодные, первые, вторые, вторые, сладкие) и по ассортименту (рыбные, мясные, овощные и др.) производится в соответствии с процентным соотношением различных видов блюд в ассортименте продукции.
Таблица 4- План- меню предприятия.
|
Номер рецептуры блюда |
Наименование блюда |
Выход, г |
Количество порций |
|
Холодные блюда и закуски |
|||
|
Салат капустный с крабовыми палочками |
100 |
5 |
|
|
Сельдь под шубой |
100 |
5 |
|
|
Салат «Мимоза» |
100 |
5 |
|
|
Салат «Цезарь с курицей» |
100 |
5 |
|
|
Салат «Свадебный» |
100 |
5 |
|
|
Овощные горки |
100 |
5 |
|
|
Салат «Императорский» |
100 |
5 |
|
|
Супы |
|||
|
250 |
Солянка мясная |
200 |
10 |
|
196 |
Щи |
200 |
10 |
|
167 |
Суп-пюре овощной |
200 |
10 |
|
Горячие блюда |
|||
|
375 |
Буженина |
120 |
4 |
|
Продолжение таблицы 4 |
|||
|
600 |
Шашлык из свинины |
100 |
10 |
|
Мясо по-французски |
200 |
10 |
|
|
709 |
Курица по-албански |
120 |
10 |
|
Жаркое из говядины с грибами |
250 |
10 |
|
|
Отбивная из курицы с сыром |
120 |
5 |
|
|
632 |
Гуляш из говядины |
75/50 |
6 |
|
650 |
Отбивная из свинины по-мексикански |
120 |
5 |
|
Кармашки куриные с ананасом |
120 |
5 |
|
|
Семга на углях |
80 |
6 |
|
|
312 |
Горбуша по-ленинградские |
100 |
6 |
|
Окунь с овощами |
100 |
6 |
|
|
Вареники |
150 |
5 |
|
|
Кебаб из говядины |
100 |
10 |
|
|
Горячие, холодные напитки |
|||
|
1008 |
Чай пакетированный в ассортименте |
200 |
40 |
|
Кофе экспрессо |
40 |
30 |
|
|
Кофе американо |
160 |
30 |
|
|
Кофе капучино |
160 |
30 |
|
|
Кофе пакетированный 3 в 1 |
200 |
20 |
|
|
Кофе пакетированный черный |
200 |
20 |
|
|
Морс клюквенный |
200 |
15 |
|
|
Мин. Вода в ассортименте |
200 |
30 |
|
|
Сок в ассортименте |
200 |
30 |
|
|
Кока-кола |
330 |
20 |
|
|
Мучные кондитерские изделия |
|||
|
107 |
Булочка ванильная |
100 |
25 |
|
108 |
Булочка с орехами |
100 |
25 |
|
114 |
Булочка сдобная с помадкой |
100 |
25 |
|
Продолжение таблицы 4 |
|||
|
120 |
Булочка «Розовая» |
60 |
25 |
|
76 |
Булочка с кремом |
100 |
20 |
|
122 |
Булочка осенняя |
60 |
20 |
|
59 |
Булка мясная |
60 |
20 |
|
78 |
Рулет с маком |
100 |
20 |
2.6. Составление плана-меню предприятия
В зависимости от типа предприятия общественного питания и формы обслуживания меню подразделяют на следующие виды:
- меню со свободным выбором блюд;
- меню для банкетов и специального обслуживания (свадеб, юбилеев);
- комплексные завтраки, обеды и ужины; меню обеденных (дежурных) блюд.
В ресторанах обычно используют меню со свободным выбором блюд, разновидностью такого меню является меню порционных блюд, которое предоставляет широкий выбор фирменных и заказных блюд, закусок, первых и вторых блюд, горячих напитков и кондитерских изделий.
План-меню. Форма ОП-2 документ, предназначенный для составления ежедневного меню на предприятии, организации или ином учреждении, независимо от специфики его деятельности. В унифицированной форме ОП-2 отображаются необходимые продукты, предназначенные для приготовления конкретного количества блюд.
Документ составляется в единственном экземпляре за несколько дней до момента приготовления того или иного блюда. В плане-меню указывается полое наименование приготовляемого блюда, номер согласно специальным карточкам или же Сборнику рецептур, а так же количество блюд, намеченных к приготовлению.
План-меню является производственной программой предприятий с полным производственным циклом и доготовочных. К основным факторам, которые необходимо учитывать при составлении плана-меню относятся:
-примерный ассортимент продукции, характерный для данного типа предприятия;
-сезонность сырья;
-соотношение ассортимента в каждой группе блюд;
-спрос потребителей на продукцию предприятий.
В плане-меню необходимо указать:
-наименование блюда с указанием основных его ингредиентов и способа приготовления;
-выход одной порции блюда или изделия;
-количество порций блюд каждого вида и наименования.
В приложении 1 представлено меню ресторана.
2.7. Расчет количества продуктов, полуфабрикатов и готовых изделий
В основу расчета продуктов положен план-меню. Суточное количество продуктов определяется по формуле:
G = (6)
где, G-количество продуктов данного вида, кг
gn норма продукта на одно блюдо по Сборнику рецептур,
n- количество блюд, реализуемых предприятием за день.
, (7)
На предприятия, работающие на полуфабрикатах, поступают полуфабрикаты различной степени готовности и кулинарные изделия. Для таких предприятий делают расчёт необходимого количества полуфабрикатов и кулинарных изделий, а нс продуктов, которые расходуются на их изготовление.
После расчёта количества продуктов во всех случаях составляется сводная продуктовая ведомость и оформляется требование на склад.
Таблица 5- Расчет количества продуктов, полуфабрикатов и готовых изделий.
|
Название продуктов |
№ рецептуры |
№ рецептуры |
Итого брутто, кг |
|
Сельдь под шубой |
салат «Овощные горки» |
||
|
брутто |
брутто |
||
|
на 1 порцию |
на 1 порцию |
||
|
Свекла |
150 |
300 |
450 |
|
Картофель |
85 |
85 |
|
|
Морковь |
150 |
70 |
220 |
|
Сельдь |
30 |
30 |
|
|
Лук |
10 |
50 |
60 |
|
Соленые огурцы |
1 шт. |
1 шт. |
|
|
Яблоки |
150 |
150 |
|
|
Яйцо |
40 |
40 |
|
|
Майонез |
5 ст. л. |
5 ст. л. |
2.8. Составление таблицы реализации блюд по часам работы торгового зала
При организации холодного цеха составляется график реализации холодных и сладких блюд, напитков собственного производства.
Таблица реализации блюд составляется график реализации на все блюда и напитки согласно меню, кроме сдобно-булочных и кондитерских изделий.
Основой для составления этого расчета являются график загрузки зала и расчетное меню. Количество блюд, реализуемых за каждый час работы предприятия, определяются по формуле:
, (8)
где, n ч количество блюд, реализуемых за 1 час работы,
n. Д количество блюд, реализуемых за весь день (из расчетного меню),
К коэффициент перерасчета для данного часа.
Таблица 6- Реализация блюд по часам загрузки торгового зала.
|
Название блюд по видам |
Кол-во блюд в день |
Часы работы торгового зала |
|||||||
|
10-11 |
11-12 |
12-13 |
13-14 |
14-15 |
15-16 |
16-17 |
17-18 |
||
|
Коэффициент перерасчета блюд |
|||||||||
|
0,06 |
0,06 |
0,25 |
0,23 |
0,13 |
0,06 |
0,08 |
0,08 |
||
|
Холодные блюда |
35 |
2.1 |
2.1 |
8.75 |
8.05 |
4.55 |
4.55 |
2.8 |
2.8 |
|
Супы |
30 |
1.8 |
1.8 |
7.5 |
6.9 |
3.9 |
3.9 |
2.4 |
2.4 |
|
Горячие блюда |
98 |
5.88 |
5.88 |
24.5 |
22.54 |
12.74 |
12.74 |
7.84 |
7.84 |
|
Сладкие блюда и напитки |
265 |
15.9 |
15.9 |
66.25 |
60.95 |
34.45 |
15.9 |
21.2 |
21.2 |
|
Итого |
428 |
25.68 |
25.68 |
107 |
131.44 |
55.64 |
37.09 |
34.24 |
34.24 |
2.9. Расчет численности работников производства
Численность производственных работников цехах может быть определены по нормам времени (для холодного и горячего цехов), по нормам времени (для заготовочных цехов) с учетом фонда рабочего времени одного работающего за определенный период и производственной программы цеха за этот же период
Численность производственных работников по нормам времени определяется по формуле:
R1=n*t/T*3600* (9)
где,
R1-численность производственных работников, человек
n-количество изделий за день в шт., кг., блюдах.
t-норма времени на изготовление единицы изделия.
-коэффициент, учитывающий рост производительности труда (1.14)
T-продолжительность рабочего дня каждого работника (11.5).
R1= 35*15/11.5*3600*1.14= 1 (человек)
Общая численность производственных работников с учетом выходных и праздничных дней, отпусков, дней болезни определяется по формуле:
, (10)
где, К1 коэффициент, учитывающий выходные и праздничные дни (1.32 и 1.59).
2.10. Составление графиков выхода на работу
В целях установления распорядка работы на каждом предприятии составляются графики выхода на работу. Правильно работающий и соблюдаемый на предприятии режим труда и отдыха обеспечивают повышение производительности труда работников, значительно снижают травматизм и заболеваемость, повышают культуру производства. При составлении графика вначале производится расчет эффективного рабочего времени, т.е. времени, которое должен отработать каждый повар за календарный месяц. Расчет производится по формуле:
Э эф = [К (П. + В)] * Т см, (11)
где, Э эф эффективный фонд рабочего времени;
К количество календарных дней;
П. количество праздничных дней;
В количество выходных дней;
Т см продолжительность рабочей смены.
Э эф = [29 (1+4)] * 9 = 216 ч.
Затем составляется график выхода на работу поваров цеха на месяц.
В Приложении 2 представлен график выхода на работу.
2.11. Расчет и подбор технологического оборудования
Площадь холодных цехов регламентируется СНиПами, где указываются рекомендуемые параметры, которые зависят от типов предприятия питания и производственной мощности. Она должна обеспечивать организацию производства с соблюдением всех технологических требований, позволять размещать всё необходимое оборудование и создавать комфортные условия работы для обслуживающего персонала. Холодный цех располагают на любом этаже, кроме подземного, рядом с обеденным залом, в который направляется готовая продукция, и кухней, откуда поступает основное сырьё.
Высота помещения должна быть не менее 3-х метров. Стены, пол и потолок отделывают гигиеническими материалами, которые позволяют поддерживать санитарное состояние на высоком уровне.
В холодный цех должны быть подведены: канализация, холодная и горячая вода, отопление. Вентиляция и система и энергоснабжения с напряжением 220 и 380 Вт. Особое внимание уделяют освещению, где основным должно быть естественное, а дополнительным искусственное. В летнее время для поддержания в помещении температуры не выше 18.°С необходимо предусмотреть кондиционер.
Подбор механического оборудования для холодного цеха осуществляется по «Нормам оснащения предприятий общественного питания торгово-технологическим и холодильным оборудованием» (приказ МТ СССР от 26.11.71 № 187) в зависимости от типа предприятия, режима его работы, характерной максимальной загрузки торгового зала в часы «пик», а также форм обслуживания. Подбор осуществляется с указанием производительности машин и количества единиц каждого вида.
По вышеуказанным принципам подбираю следующее оборудование для холодного цеха предприятия:
Нейтральное оборудование холодного цеха:
Для начала, это рабочие места персонала, то есть столы нейтральные и холодильные, с мойками, тумбами и без. Кроме того, в любом цехе обязательно будут стеллажи и полки для хранения инвентаря, съемных частей оборудования, специй, для временного размещения порционированных блюд и т. д., освобождающие пространство на столах.
Столы, столы-тумбы, столы с моечной ванной.
Рабочее место повара - производственный стол, предназначенный для разделки и обработки продуктов не отличается большим разнообразием характеристик, но все равно, выбор этого стола очень важен. Важно, из какого материала он сделан (столешницу, как правило, изготавливают из пищевой нержавеющей стали). В остальном, вариации этого типа оборудования касаются в основном размеров, наличия заднего бортика (при стенное расположение) или его отсутствия (центральное расположение), а также наличия/отсутствия дополнительных приспособлений, таких как моечная ванна, полка, решетка и тумба (с дверями-купе и полками, ящиками и т.д.).
Механическое:
- Привод универсальный ПУ 0,6 1шт.
- Хлеборезка МХР 200 1шт.
- Маслоделительный ручной РДМ 5 1шт.
- Машина для нарезки вареных овощей МРОВ 160 1шт.
- Машина для нарезки гастрономических продуктов МРГ 300А 1шт.
- Привожу техническую характеристику оборудования:
Расчет производственных столов производится по количеству поваров, одновременно работающих в цехе в максимальную смену по формуле:
Ј = l.*К р. (м), (12)
где, Ј- погонная длина производственных столов (м);
l- норма погонной длины стола на 1 работника (м);
Кр - наибольшее количества поваров, работающих одновременно в цехе
(берется из графика выхода на работу).
Ј=1.25*5=6.25 (м).
При проектировании холодного цеха принимаем к установке:
1) Стол с охлаждаемым шкафом и горкой СОЭСМ 3 1 шт. (длина 1,68 м)
Стол со встроенной моечной ванной СПМ-1500 1 шт. (длина 1,5 м)
Стол производственный СПММ-1500 2 шт. (длина 1,5 м)
Немеханическое: пользуясь приказом Министерства торговли СССР от 9,11,73 №38 «Нормы оснащения предприятий общественного питания посудой, столовыми приборами, мебелью и кухонным инвентарем» подобрано следующее немеханическое оборудование:
Таблица 7 - Немеханическое оборудование холодного цеха ресторана на 80 посадочных мест.
|
№ |
Наименование |
Количество шт. |
|
1 |
Нож филейный |
2 |
|
2 |
Нож гастрономический (колбасный) |
2 |
|
3 |
Нож для нарезки ветчины |
2 |
|
4 |
Нож с двумя ручками для нарезки масла и сыра |
2 |
|
5 |
Нож кухонный |
1 |
|
6 |
Нож для фигурной нарезки масла |
1 |
|
7 |
Нож вилка |
5 |
|
8 |
Томаторезка ручная |
1 |
|
9 |
Яйцерезка |
1 |
|
10 |
Скребок для сливочного масла |
1 |
|
11 |
Доска разделочная |
6 |
|
12 |
Соковыжималка ручная |
1 |
|
13 |
Лопатка нож для заливных блюд |
1 |
|
14 |
Стеллажи СП-230 (принимается без расчета исходя из удобства работы) |
1 |
|
15 |
Ванна моечная ВМСМ-1 (принимается без расчета исходя из удобства работы) |
1 |
Пользуясь приказом Министерства торговли СССР от 09.11.1973 №38 «Нормы оснащения предприятий общественного питания посудой, столовыми приборами, мебелью и кухонным инвентарем» подобран следующий инвентарь, тара и кухонная посуда:
Таблица 8 - Тара, инвентарь и кухонная посуда столовой промпредприятия на 80 посадочных мест.
|
№ |
Наименование |
Количество |
|
1 |
Горка для гарниров |
2 |
|
2 |
Лотки для заливных блюд |
5 |
|
3 |
Формы для паштетов, заливных и сладких блюд |
25 |
|
4 |
Лопатки для раскладывания порционных блюд |
3 |
|
5 |
Лопатки-ножи для раскладывания заливных блюд |
3 |
|
6 |
Приборы для раскладывания блюд: |
|
|
7 |
Приборы салатные |
3 |
|
8 |
Прибор для консервированных фруктов |
3 |
|
9 |
Щипцы для раскладывания порционных блюд |
3 |
|
10 |
Тарелки |
250 |
|
11 |
Кастрюли разных объемов |
9 |
|
12 |
Салатницы |
250 |
3. Оценка эффективности работы структурного подразделения
Эффективность работы структурного подразделения определяется расчетом планируемого товарооборота, себестоимости, валового дохода, прибыли от реализации продукции собственного производства.
Товарооборот - это важнейший показатель, характеризующий хозяйственную деятельность предприятий торговли и общественного питания. Он является оценочным показателем предприятий торговли общественного питания, измерителем эффективности их деятельности.
Стоимость сырья в общественном питании является себестоимостью продукции собственного производства.
Издержки производства и обращения предприятий питания определяются без стоимости сырья, используемого для приготовления продукции.
Прибыль - выступает как повышение доходов от продажи товаров (услуг) над произведенными затратами.
Чистая прибыль, после уплаты налога на прибыль остается в полном распоряжении предприятия.
Рентабельность- показатель эффективности единовременных текущих затрат. В общем виде рентабельность определяется отношением прибыли к единовременным вложениям и текущим затратам, благодаря которым получена эта прибыль. Различают «рентабельность производства» и «рентабельность продукции».
Таблица 9 - Расчет себестоимости сырья холодного цеха.
|
Наименование продуктов |
Кол-во необходимых продуктов, кг |
Цена за 1 кг продукта, руб. |
Стоимость сырья для выполнения дневной производственной программы |
|
Яблоки |
0.23 |
78.35 |
18.02 |
|
Горошек зеленый консервированный |
0.2 |
101.40 |
20.28 |
|
Продолжение таблицы 9 |
|||
|
Яйца куриные |
4 шт. |
4.95 |
20.68 |
|
Лук репчатый |
1.332 |
27.40 |
36.5 |
|
Морковь столовая свежая |
1.155 |
42.00 |
48.51 |
|
Помидоры грунтовые |
0.34 |
80.00 |
27.20 |
|
Перец болгарский |
0.34 |
177.30 |
60.28 |
|
Сыр Голландский |
0.23 |
281.00 |
64.63 |
|
Масло подсолнечное рафинированное |
0.414 |
67.00 |
27.74 |
|
Итого |
323.84 |
Таким образом, себестоимость сырья составляет СС= 323.84 руб.
Таблица 10. Результаты финансово-хозяйственной деятельности холодного цеха предприятия ООО «Оранжевое настроение»
|
№ |
Показатели |
За день, руб. |
|
1 |
Товарооборот, руб. |
12138.00 |
|
2 |
Себестоимость, руб. |
323.84 |
|
3 |
Валовой доход, руб. |
11814.16 |
|
4 |
Издержки производства и обращения, руб. |
5409.00 |
|
5 |
Прибыль от реализации продукции собственного производства, руб. |
6405.16 |
|
6 |
Рентабельность продаж, % |
52.76 |
Средняя наценка на продукцию собственного производства составляет 100 %
- Дневной товарооборот холодного цеха определяется в результате сложения цен всех реализованных блюд, напитков и изделий за день.
Т= 35*340=12138 руб.
- Планируемый валовой доход холодного цеха определяется по формуле:
ВД = Т СС, (13)
где, ВД - валовой доход, руб.
Т дневной товарооборот, руб.
СС себестоимость сырья, руб.
ВД = 12138-323.84 = 11814.16 руб.
- Планируемая прибыль от реализации продуктов собственного производства определяется по формуле:
П = ВД И, (14)
где, П. - прибыль от реализации продуктов собственного производства, руб. ВД валовой доход, руб.
И издержка производства и обращения, руб.
П = 11814.16 5409 = 6405.16 руб.
- Рентабельность продаж определяется по формуле:
Р. = П./Т * 100%, (15)
где, Р рентабельность продаж, %.
П прибыль от реализации продукции собственного производства, руб.
Т дневной товарооборот, руб.
Р = 6405.16 / 12138 * 100 = 52.76 %
- Ведение учетно-отчетной документации
Все хозяйственные операции, проводимые организацией, согласно статье 9 Федерального закона № 402-ФЗ «О бухгалтерском учете», должны оформляться оправдательными документами. Эти документы являются первичными документами, на основании которых ведется бухгалтерский учет.
На основании расчета потребности в сырье оформляются следующие документы: технологические карты, технико-технологические карты, калькуляционная карта, требование в кладовую, накладная на отпуск товаров.
- Составление технико-технологической карты
Технико-технологические карты разрабатывают на новые и фирменные блюда и кулинарные изделия те, которые вырабатывают и реализуют на данном предприятии и его филиалах.
Срок действия ТТК определяет само предприятие.
Приложение 3. Технико-технологическая карта на корейку свиную на гриле.
- Составление калькуляционной карточки на блюдо
Калькуляция цен составляется в калькуляционных карточках установленной формы (Форма ОП-1) отдельно на каждый вид блюда. Можно составлять расчет на одно или сто блюд.
Рассчитывать продажную цену можно разными способами в зависимости от метода формирования продажной цены
- Составляется ассортимент блюд по плану-меню, на которое необходимо составить расчет.
- Устанавливаются нормы вложения сырья на каждое блюдо на основании сборника рецептур или технико-технологических карт.
- Определяются продажные цены на сырье на основании приходных документов.
- Устанавливается продажная цена блюда путём сложения стоимости сырьевого набора и наценки в денежном выражении.
- Указывается выход блюда.
- В калькуляционной карточке продажная цена действует до изменения компонентов сырьевом наборе или цены на сырье и продукты.
Приложение 4. Калькуляционная карточка на корейку свиную на гриле.
- Составление требования в кладовую
Требование (Форма ОП-3) применяется для определения отпуска необходимого количества продуктов из кладовой. Составляется в одном экземпляре с учетом потребности в сырье (продуктах) на предстоящий день и остатка сырья на производстве (кухне) на начало дня. На основании требования выписывается накладная на отпуск товара.
Приложение 5. Требование в кладовую.
4.4. Составление накладной на отпуск продуктов и других материальных ценностей
Накладная на отпуск товара по форме ОП-4 применяется для оформления
отпуска продуктов (товаров) и тары из кладовой организации в производство (кухню), буфеты, мелкорозничную сеть, а также при одноразовом отпуске готовых изделий с кухни в филиалы, буфеты, мелкорозничную сеть, раздаточную, если она отделена от основного производства. Код по форме ОКУД 03300504.
Накладные выписываются на основании требований в кладовую. Накладная составляется в двух экземплярах. Один экземпляр остается у материально ответственного лица, получающего товар, другой вместе с товарным отчетом сдается в бухгалтерию.
Подписывается накладная заведующим производством и утверждается руководителем организации.
Приложение 6. Накладная на отпуск товаров.
- Составление табеля рабочего времени
Табель учета рабочего времени это документ, который содержит
информацию о фактически отработанном времени и количестве неявок за месяц по каждому сотруднику организации. На его основании производится расчет и начисление заработной платы.
В случае если ведение табеля учета рабочего времени ведется ручным методом, применяют типовую форму Т-12, если контроль явок - неявок осуществляется автоматически (турникет) используют форму Т-13.
Порядок заполнения табеля учета рабочего времени.
Табель учета рабочего времени ведется каждый день в течение месяца, в последний день месяца подводится итоговое количество отработанных часов и неявок каждым сотрудником.
Составляется данный документ в одном экземпляре и передается в бухгалтерию.
Табель учета рабочего времени и расчета оплаты труда (форма Т-12) заполняются в следующем порядке:
Заполнение табеля учета рабочего времени начинается с указания юридического названия организации в заглавном абзаце первой страницы. Если предприятие или фирма имеет разграничения по отделам, далее заполняется раздел «Структурное подразделение».
В графах «Номер документа», «Дата составления» и «Отчетный период» указывается порядковый номер формы согласно документообороту предприятия и данные в соответствии с периодом, согласно которого заполняется образец.
Таблица для заполнения основных показателей находится на второй станице табеля. В ней для каждого сотрудника выделяется своя строка, а данные вносятся по:
- Названию соответствующих столбцов:
- Номер по порядку;
- Сведения из личной карточки сотрудника;
- Показатели временных затрат (вид затрат обозначают соответствующим кодом, строкой ниже прописывают продолжительность в часах, минутах);
- Отработанное работником время в днях и часах соответственно в верхней и нижней строке.
Оформление показателей, следующих далее в строке по порядку возможно только в конце учетного периода после подведения итогов, когда известно общее количество отработанного времени в днях и часах. При этом учитывается рабочее время за вычетом командировочных и выходных дней, прогулов, больничных и заполняется в последовательности:
Суммарное количество отработанных дней.
Общее число рабочих часов. Далее прописывают их же с разделением по категориям (сверхурочные, отработанные в праздничные дни и ночное время).
Если таковые имеются, неявки на работу с обозначением кода причины.
Суммарное число выходных дней работника.
Последующие графы содержат информацию о типе оплаты и корреспондирующих счетах для каждого сотрудника и для всего коллектива подразделения.
Таблицы на третьей и четвертой страницах формы предназначены для заполнения работниками бухгалтерии.
Подготовленный в единственном экземпляре учет использования рабочего времени проходит проверку у начальника подразделения и представителя кадрового отдела. После заверения подписями табель передают в бухгалтерию.
Приложение 7 - Табель учета рабочего времени.
Заключение
Предприятия питания играют важную роль в жизни человеческого общества. Успешная работа предприятия зависит от многих факторов. Как и всякая сложная система, предприятие питания начинается с замысла его создателя и заканчивается контролем и его функционированием.
Можно сделать вывод, что запроектированный холодный цех отвечает архитектурно-планировочному, технологическому, конструктивному, специальному инженерному решению. А так же детальная планировка холодного цеха в ресторане «Оранжевое настроение» отвечает всем требованиям технологического планирования.
Все оборудование в цехе размещено согласно технологическому процессу. Рабочие места организованы в соответствии с технологическим процессом. Расстановка оборудования правильная, подготовка рабочих мест, а так же оснащение необходимым инвентарем, посудой обеспечивает снабжение в течение смены сырьем и бесперебойное выполнение работы. Данный цех можно использовать по его непосредственному назначению и выполнять в нем все необходимые технологические процессы без какого-либо вреда.
В данной курсовой работе я произвела расчет холодного цеха ресторана, его оборудования и инвентаря, штата поваров и суточного наряда, компоновку ресторана с отражением ее на чертеже. Выполненная работа позволила мне понять все тонкости проектирования ресторанов, узнать всю сложность и трудоемкость этой деятельности, а самое главное она заставила проникнуться чувством ответственности за точное и тщательное производство расчетов, необходимое для будущей четкой и бесперебойной работы ресторана.
Работа важна еще и тем, что позволяет будущим руководителям ощутить ответственность за свою работу, за личный состав, за вверенные материальные ценности.
Список использованных источников
- ГОСТ Р 50763-95 «Общественное питание. Кулинарная продукция, реализуемая населению. Общие технические условия».
- ГОСТ Р 50647-94 «Общественное питание. Классификация предприятий»
- ГОСТ Р 50763-2007. Услуги общественного питания. Продукция общественного питания, реализуемая населению. Общие технические условия.
- ГОСТ Р 53106-2008. Услуги общественного питания. Метод расчета отходов и потерь сырья и пищевых продуктов при производстве продукции общественного питания.
- Постановление Правительства РФ от 15.08.1997 г. №1036 "Правила оказания услуг общественного питания".
- ГОСТ Р 53105-2008. Услуги общественного питания. Технологические документы на продукцию общественного питания. Общие требования к оформлению, построению и содержанию.
- Приказ Министерства торговли СССР от 9.11.1973 №38 «Нормы оснащения предприятий общественного питания посудой, столовыми приборами, мебелью и кухонным инвентарем».
- Никуленкова Т. Т. Проектирование предприятий общественного питания
- Справочник «Технологическое оборудование предприятий общественного питания», 1985.
- Сборник рецептур на хлеб и хлебобулочные изделия.
- http://www.kazedu.kz/referat/100541
- http://works.doklad.ru/view/a83DdWBiAI8.html
- http://bibliofond.ru/view.aspx?id=136172
- http://tourlib.net/books_tourism/radchenko4-2.htm
- http://www.nehudlit.ru/books/sbornik-retseptur-na-khleb-i-khlebobulochnye-izdeliya.html
- http://www.pompred.ru/term_stand.php
PAGE \* MERGEFORMAT 2
Изучение организации производства в холодном цехе ресторана «Оранжевое настроение»