Цех по производству асбестоцементных листов
Министерство образования и науки Украины
Одесская государственная академия строительства и архитектуры
Кафедра "Процессов и аппаратов в технологии строительных материалов"
КУРСОВАЯ РАБОТА
по дисциплине: «Технология гидроизоляционных и теплоэффективных материалов»
на тему: «Цех по производству асбестоцементных листов»
Выполнил:
ст. гр.
зач. кн. №
Проверил:
Одесса 2014 г.
Содержание
Введение ..................................................................................................................4
Номенклатура изделий............................................................................................6
Характеристика используемого сырья..................................................................9
Технологическая схема производства асбестовых листов................................12
Основные физико-механические свойства получаемого изделия....................17
Режим работы цеха и отделений..........................................................................21
Расчет производительности цеха.........................................................................21
Подбор основного технологического оборудования.........................................23
Контроль качества сырья и готовой продукции.................................................25
Техника безопасности и охрана труда при производстве ................................27
Методы оценки качества получаемого изделия.................................................29
Список использованных источнико....................................................................41
I. Введение
Материалы, применяемые для отделки строительных конструкций и сооружений, домов и квартир, должны защищать их от воздействия окружающей среды, придавать завершающее архитектурное оформление, создавать особые санитарно-гигиенические условия, уменьшающие запыление, загрязнение, увлажнение, защиту от шума и др.; обеспечивать возможность восстановления поверхности отделки. А также отвечать эстетическим запросам владельца здания, дома, помещения. И, в конце концов - удовлетворять типовому архитектурному стилю, принятому в данной местности. Во всем мире резко увеличивается объем производства отделочных материалов, расширяется ассортимент, повышаются качество и выразительность, столь необходимые современному городу, общественным зданиям и жилищу.
Разнообразные отделочные материалы и изделия, применяемые в современном строительстве, классифицируют по технологическому признаку: лакокрасочные материалы, изделия из природного и искусственного камня, керамики, стекла, металлов, лесных материалов, полимеров и др. А так же и по архитектурно-строительным видам (материалы для наружной отделки; внутренней отделки; покрытия полов; специальных целей). Ряд материалов и изделий применяют для отделки, как внутренних интерьеров, так и фасадов зданий, предъявляя к ним повышенные эксплуатационные и эстетические свойства. Среди эксплуатационных свойств важнейшими являются санитарно-гигиенические, создающие в помещениях здоровые условия для жизни, работы и отдыха, а также огнестойкие, токсикологические, радиационные характеристики, удовлетворяющие соответствующим нормам. Условиями высокого эстетического качества являются подчинение отделки законам красоты, гармонии, художественного вкуса, образная передача цветового тона, чистоты, насыщенности цвета, цветового рисунка, структурно-текстурных особенностей материала.
Решающее влияние на техническую и экономическую эффективность отделочных материалов оказывают фактический срок службы, эксплуатационные расходы на текущие и капитальные ремонты, а также общий срок службы с учетом морального старения. Зачастую это и определяет выбор того или иного отделочного материала.
Номенклатура изделий
Номенклатура асбестоцементных изделий насчитывает свыше 40 наименований. Они могут быть разделены на следующие основные группы: профилированные листы волнистые и полуволнистые для кровель и обшивки стен; плоские плиты обыкновенные и офактуренные или окрашенные для облицовки стен; панели кровельные и стеновые с теплоизоляционным слоем; трубы напорные и безнапорные и соединительные муфты к ним; специальные изделия (архитектурные, санитарно-технические, электроизоляционные и т. д.).
Асбестоцементные листовые конструкции применяют во всех климатических зонах Украины и объем их производства обеспечивает нужды строительства. Объем производства сборных асбестоцементных конструкций удовлетворяет только 67% потребности в них.
Дальнейшая индустриализация строительства, снижение трудо- и материалоемкости, повышение долговечности и надежности асбестоцементных конструкций требуют увеличения размеров волнистых листов до 6 м, организации производства окрашенных и армированных листов, плоских прессованных листов, погонажных элементов для каркасов панелей.
Профилированные листы изготовляют из асбестоцемента волнистыми (обыкновенного и усиленного профиля) и полуволнистыми.
Листы волнистые имеют форму прямоугольника с шестью (восемью) волнами, направление гребней которых совпадает с направлением большой стороны прямоугольника. Длина волнистых листов обыкновенного профиля (ВО) 1200мм, ширина - около 700мм и толщина - 5,5 мм. Листы волнистые усиленного профиля (ВУ) несколько толще, что позволяет изготовлять их больших размеров. Длина их 2800 мм, ширина - около 1000 мм и толщина - 8 мм. В последние годы разработан новый тип асбестоцементных волнистых листов - СВ-40-250 размером 2500x1150x6 мм. По сравнению с ранее выпускаемыми листами ВО, эти листы имеют большую полезную площадь и меньший расход асбестоцемента на 1 м2 полезной площади.
Листы, профилированные должны быть строго прямоугольной формы, без трещин и отколов. Профилированные асбестоцементные листы применяют для устройства кровель, облицовки стен, ограждений балконов и т.п. Плоские облицовочные асбестоцементные плиты выпускают непрессованными и прессованными повышенной прочности толщиной 4-10мм, шириной до 1600 мм и длиной до 2800 мм. В процессе формования их лицевую поверхность отделывают в зависимости от назначения декоративным асбестоцементным слоем, окрашивают водостойкими эмалями, полируют, а также делают рельефной, имитирующей керамическую глазурованную плитку. Плиты, окрашенные водостойкими эмалями, в последнее время с успехом применяют для облицовки панелей, потолков, стен санитарных узлов и кухон жилых и общественных зданий.
Асбестоцементный шифер - недорогой, легкий в монтаже и один из самых известных кровельных материалов. Волнистые асбестоцементные листы (шифер) являются самым распространенным кровельным материалом. До недавнего времени их размеры были относительно небольшими: листы обыкновенного профиля ВО имели размер в плане 1200X680 мм и массу около 9 кг. В настоящее время их выпуск почти повсеместно прекращен и начато производство крупноразмерных асбестоцементных листов волнистого профиля.
Наиболее массовыми для сельского домостроения являются асбестоцементные листы УВ размером в плане 1750*25 мм. Каждый из них покрывает около 1,5 м2 крыши и по сравнению с мелкоразмерным листом ВО имеет в 2 раза меньше стыков.
Современные асбестоцементные кровельные листы - шифер, для повышения их декоративных свойств и увеличения срока службы, окрашивают. Окрашивание производится силикатными красками или красками на фосфатном связующем, с использованием различных пигментов. В прошлом асбестоцементные листы (шифер) имели либо безликий, серый оттенок, либо могли быть красного или зеленого цвета. В настоящее время шифер производится самых различных цветов: красно-коричневого, шоколадного, кирпично-красного, желтого (охра), синего и др. Краска, которой покрывают готовые листы шифера, образует защитный слой, предохраняющий изделие от разрушения, снижающий его водопоглощение и повышающий морозостойкость. Такой защитный слой уменьшает объем выделений асбеста в окружающую воздушную среду и увеличивает срок службы шифера в 1,3 - 1,5 раза.
Плоский шифер уже отходит с потребительского рынка, его недостатки все-таки перебороли его достоинства: укладка усложняется благодаря малым размерам (400x400 мм) и ограничивается углом уклона от 30°. Но и внешний вид плоской шиферной кровли оставляет желать лучшего, его проще заменить на оптимальные для таких уклонов нарядные черепицу и ее интерпретаторы (металлочерепицу и битумную черепицу).
Характеристика используемого сырья
Асбестом называют группу минералов, имеющих волокнистое строение и при механическом воздействии способных распадаться на тончайшие волокна. В производстве асбестоцементных листов применяют хризотил-асбест. Мировая добыча хризотил-асбеста составляет 95%, а вся группа кислотостойких асбестов не более 5%. Химический состав хризотил-асбеста выражается формулой 3MgO-2Si02-2H20, т. е. он является гидросиликатом магния. Молекулы асбеста прочно связаны между собой лишь в одном направлении, боковая же связь с соседними молекулами крайне слаба. Этим свойством объясняется очень высокая прочность асбеста на растяжение вдоль волокон и хорошая распушаемость расщепление поперек волокон. Диаметр волокна хризотил-асбеста колеблется от 0,00001 мм до 0,000003 мм.
Асбест обладает большой адсорбционной способностью. А в смеси с портландцементом при смачивании водой он адсорбирует (т. е. хорошо) удерживает на своей поверхности продукты гидратации цемента, связывающие волокна асбеста, поэтому асбестоцемент является как бы тонкоармированным цементным камнем. Хризотил-асбест не сгораем, однако при температуре 0°С он начинает терять адсорбционную воду, предел прочности при растяжении снижается до 10%, а при 368°С испаряется вся адсорбционная вода, что приводит к снижению прочности на 25-30%. После охлаждения асбест восстанавливает из воздуха потерянную влагу и прежние свойства. При нагревании асбеста до температуры более 550°С удаляется вся химически связанная вода, теряются эластичность и прочность, асбест становится хрупким, и после охлаждения свойства его не восстанавливаются. При температуре около 1550°С хризотил-асбест плавится. Асбест имеет малую тепло- и электропроводность, высокую щелочестойкость, однако кислоты его легко разрушают.
Качество асбестоцементных листов во многом зависит от качества асбеста и тонкости помола цемента. В соответствии с ГОСТом качество хризотил-асбеста характеризуется следующими показателями:
- текстурой (степень распушаемости волокон);
- средней длиной волокна, эластичностью, влажностью;
- степенью засоренности пылью.
Большое влияние на качество продукции оказывает длина волокон асбеста. Это основной признак деления асбеста на сорта. Чем больше средняя длина волокон, тем выше сорт. Для производства асбестоцементных изделий применяют коротковолокнистый асбест3, 4, 5 и 6 сортов с длиной волокон от 10 мм до нескольких сотых мм, а содержание их составляет 50-24 % по массе, остальные 50-76 % приходятся на долю пылевидных и других неволокнистых частиц. Иногда часть асбеста (10-15%) заменяют базальтовой или шлаковой минеральной ватой.
Асбест с недеформированными волокнами, размер которых в поперечнике более 2 мм, условно называют «кусковым» асбестом, а менее 2 мм «иголками». «Распушенным» называют асбест, в котором волокна тонки, деформированы и перепутаны. Частицы сопутствующей породы крупностью более 0,25 мм носят название «галь», а менее 0,25 мм «пыль».
Портландцемент М400. В качестве вяжущего компонента при производстве асбестоцементных листов используют специальный портландцемент для асбестоцементных изделий. В данном случае применяется портландцемент М400. Такой цемент характеризуется быстрым нарастанием прочности как в начале, так и в последующие сроки твердения, замедленным началом схватывания (не ранее 1,5 ч) и достаточно большой тонкостью помола, необходимой для того, чтобы создать значительную поверхность сцепления между цементом и тонко распушенными волокнами асбеста. Этот цемент содержит не менее 52% 3CaO-SiO2 и не более 8 % ЗСаО-А12Оз, в нем не должно быть минеральных добавок (кроме гипса). Нарастание прочности изделия должно происходить достаточно быстро для перехода полуфабриката в готовую продукцию. Для удовлетворения требований ГОСТ 983577 для производства асбестоцементных листов используют специальный портландцемент с удельной поверхностью 2200-3200 см2/г. Количество добавок в цементе устанавливают с согласия потребителя, но не более 3% (за исключением гипса). Гипс же добавляют для регулирования сроков схватывания в количестве не менее 1,5% и не более 3,5% от массы цемента.
Формование асбестоцементных изделий продолжается дольше, чем изделий из бетона. В связи с этим начало схватывания у цемента для асбестоцементных изделий должно наступать несколько позже, чем у обычного портландцемента, не ранее 1,5 ч с момента затворения водой, а конец не позднее 10 ч после начала затворения.
При изготовлении асбестоцементных листов применяют также специальные белый и цветные цементы.
Технологическая часть
В настоящее время существует три способа производства асбестоцементных изделий: мокрый способ из асбестоцементной суспензии;
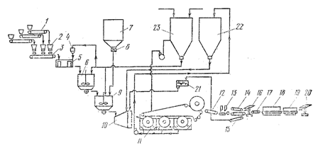
Технологическая схема мокрого способа производства волнистых асбестоцементных листов с использованием низко концентрированных суспензий:

рис.1.Технологическая схема мокрого способа производства.
1, 3, 12, 15, 17 - конвейеры, 2, 4, 8 - дозатор, 5 - бегуны, 6 - гидропушитель, 7 бункер, 9 - турбосмеситель, 10 - ковшовая мешалка, 11 - листоформовочная машина, 13 - ножницы, 14 - волнировщнк, 16 - перекладчик, 18 - камера предварительного твердения, 19 - конвейер водного твердения, 20 - переборщик листов, 21 обрезомешалка, 22, 23 рекуператоры.
полусухой из асбестоцементной массы

рис.2.Технологическая схема для полусухого формования.
1-роликовый конвейер; 2-пресующие валки; 3-посыпочные бункера; 4-вибромеханизм; 5-поддержывающие валки; 6-приемная ванна; 7-приводной вал; 8-малые валки; 9-вакум-коробка; 10-сетчатое полотно; 11-натяжной вал.
и сухой из сухой асбестоцементной смеси

рис.3.Технологическая схема формования сухим способом.
1-циклон; 2-бункер; 3-смачивающая трубка; 4-уплотняющие валки; 5-резательное устройство; 6-разгонный конвейер; 7-прокатные валы; 8-питатель; 9-слой асбестоцементной массы; 10-прорезиненная лента.
Наиболее широкое распространение получил мокрый способ. Два других применяют только в опытных установках.
Процесс производства асбестоцементных листов складывается из следующих основных технологических операций:
1) Транспортирование цемента в закрытые бункера по трубопроводу;
2) Дозировка цемента весовыми дозаторами;
3) Подача асбеста в расходные бункера с помощью электропогрузчика;
4) переемещение асбеста транспортером в расходный бункер;
5) Дозирование;
6) Первичная обработка шихты;
7) Обработка асбеста в гидропушителях при наличие большого количества воды;
8) Перекачка асбестовой суспензии в турбосмеситель и смешивание с цементом;
9) Перемешивание асбестоцементной массы;
10) Поступление массы в ковшовую мешалку;
11) Перемещение массы на валы сетчатых цилиндров листоформовочных машин (ЛФМ);
12) Формование листов;
13) Разрезка на листы заданных размеров;
14)Волнировка листов на механизированных линиях;
15) Предварительное твердение в конвейере.
16) Твердение в увлажнителе.
17) Перемещение на склад готовой продукции и окончательное твердение.
Описание технологической схемы производства асбестоцементных листов
Цемент транспортируется по трубопроводу в закрытые бункера и дозируется строго по весу весовыми дозаторами. Асбест складируется по сортам и маркам в закрытом помещении. Дозировка асбеста также осуществляется по весу согласно заданной шихты.
Асбест доставляют на заводы в бумажных мешках в железнодорожных вагонах. На заводе хранят в закрытом складе на деревянном полу в отдельных отсеках для разных марок и сортов. Если асбест поступил на склад в таре, то его можно хранить в штабелях. Над каждым отсеком или штабелем указывают сорт и марку асбеста.
Для изготовления изделий устанавливают состав смески асбеста. Так, для асбестоцементных волнистых листов, применяемых для покрытия кровель жилых зданий, смеска асбеста установлена следующая: 50% асбеста 5-го сорта, 50% асбеста 6-го сорта, причем общее содержание мягкой текстуры не должно превышать 50%, в том числе содержание в смеске асбеста М-60-40 не должно быть более 15%. Сорта асбеста и их процентное содержание в применяемых смесках нормируют специальными технологическими картами.
Далее асбест на специальных поддонах подаётся электропогрузчиком на площадку и загружается в расходные бункера раздельно по группам и маркам. Из них асбест по наклонным транспортёрам подаётся в весовые дозаторы, где собирается готовая шихта асбеста. По команде с пульта управления шихта высыпается из дозаторов и с помощью передаточных и наклонных транспортёров поступает на раздаточный транспортёр, откуда поступает в бегуны, где шихта подвергается первичной обработке (увлажнению, облипанию). Одновременно с погрузкой асбеста в бегуны, его увлажняют осветленной рекуперацией водой, с помощью специального мерника в количестве не менее 5л на 1кг сухого асбеста. Продолжительность обработки асбеста в бегунах 12-15 мин, влажность асбеста не менее 28-80%.
По окончании обработки асбест выгружается из бегунов без остатка. Далее асбест подвергается обработке в гидропушителях при присутствии большого количества воды с целью хорошей распушки. Время обработки 8 - 10 мин. Распушка асбеста не менее 80 - 90%. Распушка асбеста определяет в значительной мере качество продукции. Различают три вида распушки: сухую, мокрую и полусухую.
При сухом способе распушку производят на бегунах и пушителях. В бегунах разминаются пучки асбеста, нарушается связь между волокнами, а в пушителе (дезинтеграторе) происходит дальнейшее расщепление размятых пучков на отдельные волокна. Окончательно же распушиваются волокна асбеста в аппарате для приготовления асбестоцементной массы голлендере. При мокром способе распушки асбест замачивают в воде 3-5 дней, затем смеску разминают на бегунах. Вода проникает в микрощели и оказывает расклинивающее действие, вследствие чего волокна распушиваются легче и лучше. Увлажнение асбеста повышает эластичность волокон, что увеличивает сопротивление излому при обработке на бегунах. В настоящее время для обминания асбеста все большее распространение получает валковая машина. В отличие от бегунов эта машина выпускает высококачественный обмятый асбест непрерывным потоком.
По окончании распушки асбестовая суспензия насосом перекачивается в турбосмеситель, где происходит смешивание с цементом. Количество цемента, загружаемого на один замес в смеситель 600- 800 кг.
Загрузка цемента в смеситель производится постепенно равномерными порциями из расходного бункера через весовой дозатор. По окончании загрузки цемента асбестоцементная масса перемешивается в течение 45 мин. Готовая масса самотёком поступает в ковшовую мешалку, предназначенную для бесперебойного питания. Масса в мешалке непрерывно перемешивается. Из ковшовой мешалки асбестоцементная масса поступает на валы сетчатых цилиндров листоформовочных машин (ЛФМ), на которых производится формование асбестоцементного макета полуфабриката. Формование листов производится на универсальной кругло - сетчатой трёхцилиндровой машине СМ 943. Асбестоцементный накат автоматически по достижении заданной толщины срезчиком снимается с формовочного барабана машины. Снятый накат ленточным транспортом подаётся к гильотинным ножницам которые разрезают на форматы размером 1750*10 мм.
Отводящим и питающим транспортёрами листы подаются на волнировщик, где подвергаются волнировке на механизированных линиях беспрокладочного формования СМ 115 и СМА 170 с применением ускоренного гидротермального твердения. В настоящее время применяют агрегаты для автоматического изготовления волнистых листов и укладывания их в стопку.
Листы после профилирования, имеющие внешние дефекты сбрасываются на стоящий транспортёр к мешалочным обрезкам для переработки.
Далее происходит процесс твердения в три стадии:
1. предварительное твердение в конвейере;
2. твердение в увлажнителе;
3. окончательное твердение на тёплом складе.
После увлажнителя переборщиком осуществляется комплектование стоп. Окончательное твердение изделий осуществляется на складе готовой продукции и далее на открытых площадях. На складе листы выдерживают семь суток, после чего происходит приём готовой продукции ОТК и испытание партий согласно ГОСТ 16233 70.
Физико-механические свойства. Прочностные и деформативные свойства:
Предел прочности при изгибе sизг, МПа....................................................15 - 42
Предел прочности при растяжении sрас, МПа............................................10 -25
Предел прочности при сжатии перпендикулярно слоистости sсж,МПа.60 - 80
Предел прочности при сжатии параллельно слоистости sсж, МПа.........30 - 40
Модуль упругости (деформативности), при осевом растяжении,
если s = (0,8 - 0,85)sрас, Ер, МПа...................................................(12 - 18) · 1000
Модуль упругости при сжатии параллельно слоистости, Есж...(13 - 30) · 1000
Предельная деформативность при осевом растяжении, eпр.......................................(20 - 65) / 100000
Ударная вязкость Rуд, кДж/м2........................................................................1 - 5
Прочность растет при увеличении содержания трехкальциевого силиката при оптимальных значениях трехкальциевого алюмината и дисперсности цемента.
Увеличение содержания асбеста до определенной величины (18-25%) повышает прочность асбестоцемента при одновременной оптимизации технологических параметров. Наибольшее влияние на прочность асбестоцемента оказывают длина волокна асбеста и содержание пылевидных примесей, а также точность дозировки компонентов сырьевой композиции, степень и качество распушки асбеста, гомогенность сырьевой смеси, условия формования, обеспечивающие обезвоживание полуфабриката до оптимального значения без нарушения его структуры, условия твердения, стимулирующие максимальную гидратацию цемента.
Прочность асбестоцемента возрастает при увеличении его плотности. Приближенно: sизг = К·(r0)2, где К - постоянная, зависящая от качества сырья и параметров производства. Величина о растет во времени за счет продолжающейся длительное время гидратации клинкерных минералов и карбонизации продуктов гидратации (табл.1). Интенсивность роста s зависит от состава применяемого цемента.

табл.1 Рост sизг во времени
На асбестоцемент влияет влажность. У насыщенного водой асбестоцемента sизг и sрас ниже на 15-16%, у высушенного до постоянной массы выше на 12-18%, чем у воздушно-сухого (при Wг = 8-11%). Коэффициент однородности прочности Кодн составляет при изгибе 0,65-0,75; при осевом растяжении 0,5-0,6.
Пропорциональность между напряжениями о и относительными деформациями e асбестоцемента сохраняется при кратковременном действии растягивающей нагрузки до s = (0,5-0,65)sрас,. В этих пределах он ведет себя как упругий материал, подчиняющийся закону Гука. Дальнейший рост s приводит к некоторому искривлению прямой в координатах s - e. Поэтому модуль упругости (деформативности) при s = (0,3-0,4)sрас, на 4 - 6 % больше, чем, например, при s = (0,9-0,95)sрас. Ер повышается с увеличением со держания в нем асбеста, более высоких его марок, а также с ростом r0. Так, увеличение r0 с 1,5 до 1,7 кг/см3 приводит к росту Ер почти в 1,5 раза. У водонасыщенного асбестоцемента по сравнению с сухим Ер снижается на 15-25% и соответственно повышается предельная деформативность.
Ударную вязкость асбестоцемента Ryд принято характеризовать пределом прочности при ударном изгибе, который вычисляется как частное от деления работы, затрачиваемой для разрушения образца, на площадь его поперечного сечения. Ryд в наибольшей степени зависит от качества и длины волокон асбеста и повышается с их ростом. Так, ударная вязкость асбестоцемента, изготовленного на асбесте 5-й и 6-й групп, 1-2,5 кДж/м2, а на асбесте 3-й и 4-й групп 3-5 кДж/м2. Рост плотности асбестоцемента до r0 »1,7 повышает, а затем несколько снижает Ryд (табл.3).
Влияние возраста асбестоцемента на Ryд несущественно. Ryд повышается, при введении в сырьевую композицию целлюлозно-бумажных и синтетических волокон. Ударные воздействия на асбестоцемент, особенно при низких значениях Ryд, могут приводить к разрывам части армирующих волокон и микротрещинам. При значениях ударной нагрузки, близких к разрушающим, и при повторяющихся ударах изделия могут терять без образования видимых трещии до 30-50 % первоначальной прочности. Поэтому при погрузочно-разгрузочных работах, во время транспортирования и строительных работ изделия следует оберегать от ударов.
Асбестоцемент обладает свойством ползучести, связанной с наличием в цементном камне мелкокристаллических образований, характеризуемой способностью к пластическим деформациям. Такие деформации существенно проявляются при длительных воздействиях нагрузок и могут достигать 55-60% предельных. В связи с ползучестью длительно действующие нагрузки могут разрушать асбестоцемент при напряжениях, составляющих 70-80% sрас, полученного при машинных испытаниях материала. Его ползучесть почти не проявляется. если нагрузки не превышают 35-40% разрушающих.
Усадка, температурные и влажностные деформации асбестоцемента. Во время твердения асбестоцемента происходит усадка материала, вызываемая контракцией (сжатием) системы. Переход части капиллярной влаги в состав новообразований, как и высушивание в капиллярных телах, сопровождается усадкой. Усадка при твердении изделий в зависимости от вида цемента, плотности полуфабриката, содержания асбеста и режимов твердения составляет 0,35-1,5 мм/м. Усадка возрастает при использовании высокоалюминатных цементов, особенно с высокой удельной поверхностью (3500-4000 см2/г). При использовании песчанистого портландцемента усадка снижается в 1,5-2 раза. Скорость усадки - наибольшая в первые дни твердения - в возрасте 14-28 сут. заметно снижается.
Температурные относительные деформации et затвердевшего изделия при положительной температуре, а неувлажненного и при отрицательной, линейно зависят от температуры:
et = at Dt
При изменениях влажности W асбестоцемента возникают его влажностные деформации (ew), Высушивание его приводит к усадке (-ew), а водонасыщение к набуханию (+ew). ew зависит от состава сырья для изготовления асбестоцемента, его плотности, возраста, режимов обводнения и высушивания и может составлять 0,03-0,3%. Последнее значение соответствует изменению W асбестоцемента от 0 до 24-25%. Изделия, изготовленные на песчанистом портландцементе автоклавной технологии, имеют значения ew в 1,5-1,7 раза меньше, чем при использовании портландцемента. При изменении W изделия, изготовленного на асбесте 5-й и 6-й групп, от полностью высушенного до водонасыщенного состояния приближенно ew = -0,42r0+ 0,88%.
Следствием влажностных деформаций асбестоцемента является его коробление, возникающее при намокании или высушивании из-за перепада W по толщине материала. Максимальная величина стрелы коробления возникает при одностороннем увлажнении (либо сушке) асбестоцемента в зависимости от его плотности и состава через 5-25 мин. после начала процесса, затем она уменьшается. Коробление - недостаток, и у крупноразмерных деталей стрела коробления может достигать нескольких сантиметров. При жестком закреплении асбестоцемента напряжения, вызванные перепадом W, могут достигнуть предела прочности материала и привести к трещинам в конструкции. Поэтому асбестоцементные изделия в конструкции закрепляют с помощью податливых связей, обеспечивающих свободу деформирования материала.
МОРОЗОСТОЙКОСТЬ АСБЕСТОЦЕМЕНТА. ТЕПЛОПРОВОДНОСТЬ АСБЕСТОЦЕМЕНТА.
Морозостойкость асбестоцемента - важное условие его долговечности. Стандарты на изделия из асбестоцемента предусматривают нормативы Мрз 25 либо 50 цикл попеременных замораживаний и оттаиваний без снижения sизг более чем на 10% и без внешних признаков разрушения материала.
На морозостойкость асбестоцемента влияют состав сырья, параметры формования и плотность материала. Увеличение количества и качества асбеста приводит, как правило, к повышению морозостойкости изделия. Понижение морозостойкости проявляется при использовании в сырьевой композиции повышенного содержания асбеста мягкой текстуры (более 15-20% его общего содержания). Состав и дисперсность цемента оказывают влияние на морозостойкость асбестоцемента, изменяя его пористость и структуру. Наибольшей морозостойкостью обладает изделие, изготовленное на белитовом цементе с содержанием 40-45% двухкальциевого силиката.
Понижение морозостойкости зависит от содержания в цементе трехкальциевого алюмината, так, увеличение его содержания более 6% понижает морозостойкость асбестоцемента тем больше, чем выше тонкость помола цемента. Это влияние может быть устранено за счет подбора оптимальных добавок гипса в цемент и соответствующей его удельной поверхности. Технологические факторы, способствующие увеличению ре асбестоцемента, одновременно повышают и его морозостойкость.
Теплопроводность асбестоцемента в воздушно-сухом состоянии при r0 = 1,9 г/см3 составляет 0,35 Вт/(м·град). Изменения r0 в пределах 1,5-2 г/см3 мало влияют на его теплопроводность. Удельная теплоемкость асбестоцемента может быть принята 0,8 кДж/°·кг. Асбестоцемент выдерживает нагревание до 150°С без снижения прочности. При нагревании до более высоких температур и последующем воздушном охлаждении его прочность снижается следующим образом:
Температура, °С Снижение sизг, %
400 10 - 15
500 45 - 55
600 60 - 70
800 80 - 85
Режим работы технологической линии
Режим работы технологической линии характеризуется технологическими особенностями производства, количеством рабочих дней в году ), количеством смен в сутки (n), продолжительностью смены в часах (г).
Расчетный годовой фонд времени работы технологической линии определяем по формуле:
= = 262 х 8 х 2 х 0,9=3772,8 час;
где: коэффициент использования технологического оборудования (0,87…0,92).
Итоговые данные по принятым режимам сводим в таблицу 1.
Табл. 2.
Режим работы цеха.
|
№ п/п |
Наименование цехов, отделений |
Количество рабочих дней в году, сут |
Количество смен в сутки |
Длитель-ность смены, час |
Коэф- фициент использо вания технол. оборудов |
Расчетный годовой фонд работы тех. оборуд. в час |
|
1. |
2. |
3. |
4. |
5. |
6. |
7. |
|
1. |
Транспортирование сырья |
262 |
2 |
8 |
0,9 |
3772,8 |
|
2. |
Дозирование |
262 |
2 |
8 |
0,9 |
3772,8 |
|
3. |
Перемешивание в ковшевой мешалке |
262 |
2 |
8 |
0,9 |
3772,8 |
|
4. |
Формование листов |
262 |
2 |
8 |
0,9 |
3772,8 |
|
5. |
Разрезка на заданные размеры |
262 |
2 |
8 |
0,9 |
3772,8 |
|
6. |
Волнировка |
262 |
2 |
8 |
0,9 |
3772,8 |
Рассчитываем суточную, сменную и часовую производительность технологической линии, используя заданную годовую производительность.
Суточную производительность определяем по формуле:
= = ;
где: - годовая производительность цеха;
- количество рабочих дней в году, сут.
Производительность в смену определяем по формуле:
= = ;
где: n - количеством смен в сутки.
Производительность в час определяем по формуле:
= = = 3,98 ;
где: расчетный годовой фонд времени оборудования в часах.
|
Наименование выпускаемого изделия |
Производительность |
|||
|
в год |
в сутки |
в смену |
в час |
|
|
Асбестоцементные листы (700х900х5 мм) |
15000 |
57,25 |
|
3,98 |
Полученные данные сводим в таблицу 3.
Подбор технологического оборудования для производства асбестоцементных листов
Выбор и расчет технологического оборудования зависит от часовой производительности каждой машины и коэффициента использования оборудования.
Требуемое количество машин рассчитываем по формуле:
М = ;
где: М количество машин, шт.;
часовая производительность линии;
- часовая производительность машин выбранного типа;
- коэффициент использования оборудования во времени.
Количество валковых машин:
М = = 2,2 3 шт.
2) количество голландеров:
М = = 2,95 3 шт
После подбора оборудования приводим их краткую характеристику.
Полученные данные сводим в таблицу 4.
|
№п/п |
Наименование технологического оборудования |
Марка, краткая характеристика оборудования |
Мощность двигателя |
Коэффици-ент использования оборудования |
|
|
Единич-ная |
Общая |
||||
|
1. |
Валковая машина |
СМ-957. Количество валков 7; размеры валков: диаметр 0,4м; длина 0,7м; число оборотов валков в сек. 4,66; мощность электродвигателя в кВт 40 и 0,4; Габариты в м: длина 3,6; ширина 2,35; высота 2,345; масса в т 9,8. |
40 кВт |
120Квт |
0,9 |
|
2. |
Голландер |
СМ-892(роторный); Габаритные размеры в м: длина 4,32; ширина 3,25; высота 1,62; Масса в т 10,7 |
40кВт |
120кВт |
0,9 |
|
3. |
Листоформовочная машина |
СМ-343А. Габаритные размеры в м: длина 9,91; ширина 4,08; высота 3,85; Маса в т - 27 |
18,7кВт |
18,7кВт |
0,9 |
|
4. |
Ротационные ножницы |
СМ-275. Габаритные размеры в м: длина 14,3; ширина 3,89; высота 1,6.Масса в т 1,075; Мощность электродвигателя в кВт 12,5. |
12,5кВт |
12,5кВт |
0,9 |
Контроль качества сырья и готовой продукции
Одними из основных этапов технологии изготовления отделочных материалов являются контроль за качеством поступающего сырья, за всеми технологическими операциями, а также контроль уже готовой продукции. Контроль качества исходного сырья заключается в следующем: каждую партию поступающего на завод сырья предприятие-поставщик должно снабжать паспортом, а непосредственно контроль ведет заводская лаборатория, которая проверяет их внешний вид, для каждого вида сырья отбирают пробы, проводят испытания и определяют соответствие показателей свойств с требованиями ГОСТа.
Результаты испытания и анализа лаборатория сообщает в отдел технического контроля, который дает разрешение на передачу сырья в производство или бракует его, т.е. возвращает сырье, обязательно со своими результатами испытаний, предприятию-поставщику.
К задачам контроля за технологическими процессами относят проверку очередности и правильности операции, расход сырьевых материалов и соответствие рецептуры, расход электроэнергии, пара, воздуха, размеров поперечного сечения выпускаемых изделий, их внешний вид и т.д.
Параметры всех технологических процессов задаются заводской лабораторией, контролируются отделом технического контроля, а также цеховыми лабораториями. Все контрольно-измерительные и весовые приборы периодически проверяются в соответствии с правилами.
Качество готовой продукции на соответствие с требованием ГОСТа или ТУ контролирует заводская лаборатория. Для характеристики внешнего вида материала, определения размеров, формы, а также проведения физико-химических и механических испытаний от каждой партии отбирают определенное его количество, затем из отобранной пробы материала в установленном порядке изготавливают требуемое количество образцов и подвергают их всем испытаниям, регламентированных ГОСТом, после чего дают заключение о его качестве.
Результаты испытаний включают в паспорт-документ, который сопровождает каждую партию, отгружаемой заказчику продукции и удовлетворяющий соответствие её требованиям стандарта.
Кроме результатов испытаний в паспорте указывают наименование, адрес предприятия-изготовителя, марку и сорт изделия, основные внешние признаки, массу или количество изделий в партии, дату изготовления и розничную цену.
Техника безопасности и охрана труда при производстве
Как известно, некоторые отделочные материалы, связующие и другие составляющие пластические массы (кроме минеральных наполнителей и пигментов), обладают достаточной токсичностью и пожароопасностью.
Токсичные полимеры могут вызывать заболевания людей, занятых их переработкой. Эти материалы, а также продукты их разложения, которые образуются в процессе производства отделочных материалов, попадая в грунт, воду рек и озер, отравляют природный и животный мир.
Токсичными и горючими является и большинство пластификаторов, вредное воздействие на организм человека оказывают многие отвердители и стабилизаторы. Токсичными и взрывоопасными является большинство растворителей, ацетон, бензол, которые широко применяются в производстве красок и мастик. Заводы, выпускающие полимерные композиционные материалы, характеризуются следующими правилами охраны труда и противопожарной безопасности:
- хранение и транспортирование токсичных сырьевых материалов только в плотно закрываемой таре;
- категорически запрещается пользоваться источниками огня;
- ограждены движущиеся части механизмов и машин, различных производственных емкостей: бункеров, резервуаров и т.д.;
- надежная теплоизоляция установок и агрегатов, работающих при повышенных температурах;
- обеспечение общей вентиляции всех рабочих помещений и в том числе местная у каждой машины и агрегата, при работе которых выделяются вредные вещества;
- заземление всех электродвигателей, пусковых устройств и агрегатов для предотвращения образования статистического электричества и искр;
- размещение в изолируемых помещениях технологических линий, связанных с токсичным выделением веществ и пыли.
Рабочие должны своевременно проходить инструктаж по технике безопасности и противопожарной технике, строго соблюдать правила личной гигиены, кроме того, рабочие снабжаются специальной одеждой и дополнительными средствами защиты. Также, на что следует обратить внимание, рабочие помещения должны быть снабжены материалами для медицинской помощи пострадавшим.
В целях защиты окружающей среды от загрязнения все вентиляционные выбросы и сточные воды, следует обязательно подвергать специальной чистке, которая исключала бы попадание в воздух, грунт и водоемы каких-либо загрязняющих веществ.
Методы оценки качества получаемого изделия
1.1. Внешний вид листовых изделий проверяют визуально.
Неровности поверхности (выпуклости, углубления) измеряют штангенциркулем по ГОСТ 166-80, а измерения других дефектов, в случае необходимости, производят штангенциркулем, рулеткой по ГОСТ 7502-80 или линейкой по ГОСТ 427-75 с ценой деления не более 1 мм.
Сдиры измеряют по прямой в направлении из наибольшей протяженности.
Размеры выщербин измеряют вдоль и поперек изделия. Размеры выщербин в направлении ширины листа с одной торцевой стороны суммируют.
Длину поверхностного разрыва измеряют вдоль образующей волны; ширину - поперек разрыва.
1.2 Внешний вид листовых изделий с поверхностной отделкой (цвет, интенсивность и равномерность окраски, рисунок, характер отделки и др.) проверяют визуально сравнением с утвержденным эталоном на расстоянии 10 м.
1.3. Соответствие маркировки требованиям стандартов или технических условий проверяют визуально.
Маркировку считают соответствующей требованиям, если она включает всю информацию, предусмотренную нормативно-технической документацией на конкретное изделие и при этом исключена возможность оспорить ее содержание.
2. Контроль размеров и формы
2.1. Проведение контроля.
Контроль следует проводить на столе, длина которого должна быть не менее длины контролируемого изделия, а ширина - превышать ширину изделия не менее чем на 300 мм.
При всех измерениях (кроме контроля толщины) и вычислениях среднего арифметического значения получаемые результаты следует округлять до 1 мм, при контроле толщины - до 0,1 мм.
2.1.1. Длину волнистых листов измеряют рулеткой вдоль обоих крайних гребней , длину плоских листов - рулеткой вдоль обеих продольных сторон на расстоянии 30-50 мм от кромки изделия.
Каждое измерение должно быть в пределах допускаемых отклонений.

рис.4.Измерение ширины волнистых листов.
2.1.2. Ширину волнистых листов измеряют рулеткой у обеих торцевых кромок на расстоянии 30-50 мм от кромки (рис.4), для чего используют металлические упоры (рис.5), ширину плоских листов - рулеткой по обеим поперечным сторонам изделия на расстоянии 30-50 мм от кромки. Всего на каждом изделии проводят два измерения.
Каждое измерение должно быть в пределах допускаемых отклонений.

рис.5. Металлические упоры для измерения ширины волнистых листов.
2.1.3. Толщину измеряют штангенциркулем, толщиномером или стенкомером посередине каждой из четырех сторон. Место измерения может быть смещено от середины стороны изделия не более чем на 50 мм.
За толщину изделия принимают среднее арифметическое значение результатов четырех измерений.
2.1.4. Высоту рядовой волны измеряют штангенциркулем типа ШЦ-1 или штангенглубиномером с использованием металлической накладки (рис.6), где
- шаг волны. Схема измерения - в соответствии с рис.7.

рис.6.Металлическая накладка для измерения высоты рядовой волны.

1 - накладка; 2 - лист
рис.7.Схема измерения высоты рядовой волны.
Накладку помещают на два соседних гребня волн, кроме крайних (перекрывающей и перекрываемой), и штангенциркулем путем выдвижения линейки для измерения глубины или штангенглубиномером измеряют расстояние от низшей точки впадины волны до верхней грани накладки (
).
Измерение высоты каждой волны производят два раза - по одному у каждого из торцов на расстоянии 50-100 мм от кромки.
За высоту рядовой волны
принимают разность между средним арифметическим значением результатов двух измерений и толщиной накладки.
При измерении высоты перекрывающей (перекрываемой) волны используют те же средства контроля, что и при измерении высоты рядовой волны.
Изделие сдвигают в продольном направлении за край стола. Снизу к нему прижимают накладку в соответствии с (рис.8), штангенциркулем путем выдвижения линейки для измерения глубины или штангенглубиномером измеряют расстояние от нижней грани накладки до высшей точки нелицевой поверхности изделия (
).
Измерение высоты перекрывающей (перекрываемой) волны производят два раза - по одному у каждого из торцов изделия.
За высоту перекрывающей (перекрываемой) волны
принимают разность между средним арифметическим значением двух измерений и толщиной накладки.

1 - накладка; 2 - лист
рис.8.Измерение высоты волны.
Допускается при определении высоты волны применять вместо накладки линейку, которую при измерении следует прикладывать ребром к поверхности изделия.
В этом случае из среднего арифметического значения результатов двух измерений вычитают ширину линейки.
3. Определение несущей способности волнистых листов
3.1. Сущность метода заключается в разрушении волнистого листа нагрузкой, прикладываемой посередине пролета по однопролетной схеме.
3.2. Проведение испытаний
Листы кладут на опоры лицевой поверхностью вверх. Нагрузку на лист передают через планку.
Между опорами и листом, а также между планкой и листом помещают мягкие прокладки (из войлока, сукна и т.п.) толщиной от 5 до 10 мм.
Лист доводят до разрушения и измеряют разрушающую нагрузку.
3.3. Обработка результатов
Несущую способность асбестоцементного волнистого листа (
) вычисляют в килоньютонах на метр (килограммах силы на метр) по формуле
где: F - разрушающая нагрузка, кН (кгс);
B - ширина листа, м.
Результат вычисления округляют до 0,01 кН/м (1кгс/м).
4. Определение прочности волнистых листов испытательной планочной нагрузкой
4.1. Сущность метода заключается в создании изгибающих напряжений в испытываемом волнистом листе путем повышения нагрузки до нормативного уровня.
4.2. Проведение испытаний
Лист кладут на опоры лицевой поверхностью вверх.
Нагрузку доводят до нормативной, выдерживают лист под этой нагрузкой не менее 5 с, после чего нагрузку снимают.
Каждый испытываемый лист должен выдержать нормативную нагрузку без признаков разрушения.
5. Определение прочности при сосредоточенной нагрузке от штампа
5.1. Сущность метода заключается в испытании на изгиб целых волнистых листов без разрушения путем приложения заданной нормативной нагрузки к определенному участку листа при помощи штампа по одно- или двухпролетной схеме.
5.2. Проведение испытаний
Листы испытывают по одной из схем в соответствии с рис.9.

рис.9.Схема определения прочности.
Схема испытаний и расстояние между опорами (
) приведены в нормативно-технической документации на конкретные изделия.
Лист кладут на опоры лицевой поверхностью в сторону приложения нагрузки.
Нагрузку передают через штамп, приложенный посередине пролета ко второму гребню волны, считая первым гребень перекрываемой волны.
Нагрузку доводят до нормативной, выдерживают лист под этой нагрузкой не менее 5 с, после чего нагрузку снимают.
Каждый испытанный лист должен выдерживать нормативную нагрузку без признаков разрушения.
6. Определение плотности
6.1. Метод заключается в определении массы сухого образца и его объема.
6.2. Проведение испытаний
Испытание состоит из следующих операций:
сушки образцов;
охлаждения образцов;
взвешивания высушенных образцов на воздухе;
насыщения образцов водой;
взвешивания насыщенных водой образцов;
взвешивания насыщенных водой образцов в воде;
Результаты всех взвешиваний округляют до 0,1 г.
Образцы для сушки помещают на полки сушильного шкафа плашмя в один ряд на расстоянии не менее 3 мм между образцами в ряду и от стенок шкафа.
Образцы сушат при температуре (105-110) °С не менее 24 ч, если толщина их не превышает 15 мм, и не менее 48 ч при толщине более 15 мм.
Допускается сушка образцов на электроплитке. На одной плитке следует сушить одновременно не более шести образцов, располагая их плашмя в один ряд.
Продолжительность сушки при толщине образцов до 15 мм включительно должна быть не менее 30 мин, при толщине более 15 мм - не менее 60 мин.
Охлаждение образцов должно проводиться в эксикаторе.
После охлаждения высушенные образцы взвешивают.
Высушенные образцы помещают в воду не менее чем на 30 мин, при этом уровень воды должен быть выше образцов не менее чем на 30 мм.
Перед взвешиванием насыщенных водой образцов с каждого образца мягкой тканью удаляют имеющиеся на его поверхности капли воды.
Взвешивание каждого образца должно быть закончено не позднее чем через 5 мин после извлечения его из воды.
Затем эти образцы взвешивают погруженными в воду на лабораторных весах с приспособлением для гидростатического взвешивания.
При взвешивании образец должен быть полностью погружен в воду и не должен касаться стенок сосуда.
6.3. Обработка результатов
Плотность (
) в граммах на кубический сантиметр вычисляют по формуле
За значение плотности изделий партии принимают среднее арифметические результатов испытаний всех образцов партии.
7. Определение водопоглощения
7.1. Сущность метода заключается в определении масс образца изделия в высушенном и водонасыщенном состояниях с последующим их сравнением.
7.2. Проведение испытаний
Испытание состоит из следующих операций:
сушки образцов;
охлаждения образцов;
взвешивания высушенных образцов;
насыщения образцов водой;
взвешивания насыщенных водой образцов
При контроле качества продукции предприятием-изготовителем допускается насыщение образцов в кипящей воде или методом вакуумирования.
При насыщении в кипящей воде образцы помещают в сосуд, заполненный водой и снабженный решеткой для обеспечения свободной циркуляции воды между образцами и дном сосуда.
Воду нагревают до кипения и выдерживают образцы в кипящей воде не менее 3 ч, после чего их охлаждают в той же воде до температуры помещения.
При насыщении вакуумированием образцы помещают в камеру, из которой откачивают воздух. Остаточное давление в камере не должно быть более 2 кПа (15 мм рт. ст.). При этом давлении образцы выдерживают не менее 5 мин, после чего в камеру подают воду. Уровень воды должен быть выше образцов не менее чем на 30 мм. Насыщение образцов в условиях разрежения должно продолжаться не менее 5 мин.
После снятия разрежения до взвешивания образцы должны находиться в воде.
После насыщения образцы взвешивают на лабораторных весах. Перед взвешиванием с каждого образца мягкой тканью следует удалить имеющиеся на его поверхности капли воды.
Взвешивание каждого образца должно быть закончено не позднее чем через 5 мин после извлечения его из воды.
7.3. Обработка результатов
Водопоглощение (
) в процентах вычисляют по формуле
Результат вычисления округляют до 1%.
За водопоглощение партии изделий принимают среднее арифметическое значение результатов испытаний всех образцов партии.
8. Определение водонепроницаемости
8.1. Сущность метода заключается в одностороннем воздействии воды на участок испытываемого изделия в течение определенного времени.

рис.10.Схема определения водонепроницаемости.
При проведении испытания любым из указанных способов по истечении 24 ч осматривают обратную (нелицевую) поверхность изделия (образца) и устанавливают наличие или отсутствие на ней капель воды.
9. Определение морозостойкости
9.1. Сущность метода заключается в многократном попеременном замораживании и оттаивании насыщенных водой образцов.
9.2. Проведение испытаний
Образцы, предназначенные для испытания на морозостойкость, помещают в кассеты и все перемещения образцов производят только в кассетах.
Кассеты с образцами погружают не менее чем на 48 ч в емкость с водой так, чтобы уровень воды был выше образцов не менее чем на 30 мм.
После насыщения водой проводят попеременное замораживание и оттаивание образцов по следующему циклу:
1) замораживание - не менее 4 ч при температуре не выше минус 15 °С;
2) оттаивание - не менее 4 ч в воде при температуре не ниже плюс 10 °С.
Число циклов устанавливают в стандартах или технических условиях на конкретное изделие.
После проведения установленного числа циклов попеременного замораживания и оттаивания тщательно осматривают образцы и устанавливают наличие расслоений или других повреждений, сравнивая испытанные образцы с контрольными.
Затем эти и контрольные образцы насыщают водой не менее 48 ч и испытывают на прочность при изгибе в соответствии с п.4.4.
За предел прочности при изгибе образцов, подвергшихся замораживанию и оттаиванию, принимают среднее арифметическое значение результатов испытаний всех образцов.
За предел прочности при изгибе контрольных образцов принимают среднее арифметическое значение результатов испытаний всех образцов.
9.3. Обработка результатов
Остаточную прочность в процентах вычисляют как отношение предела прочности при изгибе образцов, подвергшихся замораживанию, к пределу прочности при изгибе контрольных образцов.
Список используемой литературы
1. Пахаренко В. А., Яковлева Р. А., Пахаренко А. В. «Переработка полимерных композиционных материалов» - К. : Издательская компания «Волна», 2006 552 с.
2. Почапский Н. Ф. «Технология строительных изделий из полимеров» - Киев Донецк : Высшая школа, 1979 216 с.
3. Воробьев В. А. «Технология строительных материалов и изделий на основе пластмасс» - М.: Высшая школа, 1974 -472 с.
4. Рыбьев И. А. « Строительное материаловеденье» - М.: Высшая школа, 2002 701 с.
5. Сапожников М. Я., Дроздов Н. Е. «Справочник по оборудованию заводов строительных материалов М.: Издательство лит. по строит., 1970 487 с.
6. Воробьев В. А., Андрианов Р. А. «Технология полимеров»,Учебник для вузов: - 2-е изд. перераб. М.: Высшая школа, 1980 303 с.
7. Новиков В. У. «Полимерные материалы для строительства» - М.: Высшая школа, 1995 448 с.
8. Материаловедение. Отделочные строительные работы: Учебник для нач. проф. образования, В. А. Смирнов, Б. А. Ефимов, О. В. Кульков и др. М.: ПрофОбрИздат, 2002 288 с.
Цех по производству асбестоцементных листов
