Проектирование автодорожного железобетонного моста
Министерство образования Российской Федерации
Федеральное государственное бюджетное образовательное учреждение высшего профессионального образования
«Сибирская государственная автомобильно-дорожная академия (СибАДИ)»
Кафедра «МОСТЫ»
Курсовой проект
«Проектирование автодорожного железобетонного моста»
Выполнил:
студент АДб-12- Z1 группы
Жданов А.В.
Приняла:
Щетинина Н.Н.
Омск 2014 г.
Содержание
1. Описание схемы моста и конструкции пролетных строений_____________2
2. Расчёт плиты проезжей части_______________________________________4
2.1. Определение усилий в плите проезжей части от постоянной нагрузки ___4
2.2. Определение усилий от временной нагрузки ________________________5
2.3. Армирование плиты ПЧ и расчёт на прочность _____________________10
2.3.1. Армирование плиты ПЧ в середине плиты _______________________11
2.3.2. Армирование плиты ПЧ на опорах ______________________________12
3. Расчёт и конструирование главной балки____________________________14
3.1. Определение усилий в балке от постоянной нагрузки ______________14
3.2.1. Учёт пространственной работы ________________________________15
3.2.2. Определение КПУ ___________________________________________16
3.3. Определение усилий в главной балке ___________________________18
3.4. Армирование главной балки ___________________________________25
4. Построение эпюры материалов ____________________________________27
5. Расчёт наклонного сечения на перерезывающую силу _________________28
Список использованной литературы__________________________________30
Приложение 1_______________________________________________31
Приложение 2_______________________________________________32
- Описание схемы моста и конструкции пролетных строений.
Мостовой переход это комплекс сооружений, в состав которого входят мост, подходы к нему; а также ледорезы, регуляционные сооружения и берегоукрепительные устройства, которые в проекте не представлены.
Мост своими конструкциями перекрывает русло и часть поймы реки. Мост состоит из пролетных строений и опор.
Пролетные строения моста включают следующие основные части: проезжую часть, несущую часть(балки), систему связей и опорные части.
Проезжая часть воспринимает действие подвижных нагрузок (от транспортных средств и пешеходов) и передает их на несущую часть. В состав проезжей части входит мостовое полотно и несущие элементы.
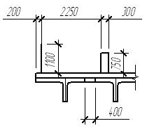
В соответствии с заданием габарит моста Г10 (для III тех. категории), ездовое полотно состоит из двух полос движения: ширина проезжей части 7,0 м, и полос безопасности шириной 2х1,5 м. Ширина моста, включающая в себя ширину проезжей части, полос безопасности, тротуаров и ограждений, равна:
Ширина тротуара, согласно заданию, 2,25 м. С наружной стороны тротуары ограждаются перилами высотой 1,1 м, а с внутренней стороны барьерным ограждением высотой 0,75 м. Для обеспечения быстрого отвода воды поверхностям ездового полотна и тротуарам придаем продольный уклон (10‰) и поперечные уклоны (20‰). Необходимость обеспечить плавность перехода от насыпи к мосту достигается путем создания в местах сопряжения моста с насыпью специальных переходных участков в виде переходных плит.
Несущие элементы проезжей части железобетонные плиты проезжей части (принимаем толщиной 18 см) воспринимают нагрузку от транспортных средств с ездового полотна, от пешеходов с тротуаров и передают их на основные несущие конструкции пролётного строения. Несущая часть пролетного строения воспринимает действие собственного веса пролетного строения и временной подвижной нагрузки и передает его на опоры, представляющие собой балки.
Мостовое полотно обеспечивает безопасное движение транспорта и ограждающие устройства, устройства для водоотводов, деформационные швы и сопряжения мостов с подходами.
1 - асфальтобетонное покрытие 9 см;
2 - защитный слой 6 см;
3 - гидроизоляция 0,5 см;
4 - выравнивающий слой 3 см ;
5 - железобетонная плита-18 см

Рисунок 1.3. Поперечное сечение главной балки.
2. Расчет плиты проезжей части
- Определение усилий в плите проезжей части
от постоянной нагрузки.
Определение расчетной нагрузки, действующей на 1 м2 плиты проезжей части (собственный вес) представлено в таблице 1.1.
; ; (СНиП табл.8)
Определение расчетной нагрузки
Таблица 1.1.
|
№№ п.п |
Виды нагрузки |
Объемный вес, , т/м3 |
Нормативная нагрузка, |
Коэф. надежности, f |
Расчетная нагрузка, |
|
11 |
А/б покрытие, = 0,09 м |
2,3 |
=0,207 |
1,5 |
0,3105 |
|
22 |
Защитный слой = 0,06 м |
2,5 |
=0,15 |
1,3 |
0,195 |
|
33 |
Гидроизоляция, = 0,005 м |
1,5 |
=0,0075 |
1,3 |
0,00975 |
|
44 |
Выравнивающий слой, = 0,03 м |
2,1 |
=0,063 |
1,3 |
0,0819 |
|
55 |
Ж/б плита, = 0,18 м |
2,5 |
=0,45 |
1,1 |
0,495 |
|
Всего расчетная нагрузка (т/м2): |
т/м2 |
1,09 |
|||
|
Расчетная нагрузка (кН/м2): |
кН/м2 |
10,9 |
Расчетный максимальный изгибающий момент в середине пролета плиты М q и расчетная максимальная перерезывающая сила Qg на опоре от постоянной нагрузки равны:
М q = qр * lр2 ;
8
Qq = qр * lр ;
2
где
lр расчетный пролет плиты, lр = l bр ;
1 расстояние между осями балок ;
bр - ширина ребра балки.
2.2. Определение усилий от временной нагрузки
Определяю расчетное расстояние между балками:
где lo расстояние между осями балок;
bр толщина ребра.
Определение усилий от нагрузки А-11.
Рис.2.1 - Эпюра рабочих ширин для определения максимального изгибающего момента при загружении нагрузкой А14.
Так как расчетное расстояние между балками, меньше 2м, то при определении усилий от временной нагрузки А-14 рассматривают схему размещения одной колеи и одного колеса нагрузки (рис. 2.1).
Нагрузка от распределенной полосы: v=14 кН/м.
Нагрузка от оси тележки: рось=140 кН.
Давление колеса на поверхность покрытия, действующее на площадке аb, распределяется дорожной одеждой примерно под углом 45°. В результате на поверхность железобетонной плиты давление передается на значительно большую площадку (эпюра рабочих ширин). По форме её принимают за прямоугольную.
При определении изгибающего момента нагрузка ставится симметрично относительно плиты проезжей части.
Принимаем общую площадку распределения давления:
а1 = а+2· hдо = 0,2 + 2·0,185 = 0,57 м
b1 = b+2·hдо = 0,6 + 2·0,185 = 0,97 м
где H = 0,185 м толщина слоев дорожной одежды
Определяю размеры эпюры рабочих ширин, выбирая из двух значений наибольшие:
Определяем интенсивность распределенной нагрузки на 1м2 от тележки и от распределенной полосы:
;
Определяем коэффициенты надежности по нагрузке:
faТ коэффициент надежности для тележки; faТ = 1,5;
fa коэффициент надежности для полосы; fa = 1,15.
динамический коэффициент;
Определяем максимальный изгибающий момент в середине пролёта плиты проезжей части:
Суммарный момент от постоянной и временной нагрузок:
Рис.2.2 - Эпюра рабочих ширин для определения максимальной поперечной силы при загружении нагрузкой А14.
При определении поперечной силы нагрузка ставится так, чтобы край площадки распределения давления совпадал с проверяемым сечением (рис. 2.2)
Размеры эпюры рабочих ширин имеют то же значение, как и при определении величины изгибающего момента. Коэффициенты надежности по нагрузке остаются теми же.
Максимальная поперечная сила у опоры:
где y1=0,74 ордината линии влияния под осью колеса.
Суммарная поперечная сила от постоянной и временной нагрузок
Определение усилий от нагрузки НК-100
Рис.2.3 - Эпюра рабочих ширин для определения максимального изгибающего момента при загружении нагрузкой НК-100.
Нагрузка от тележки: рНК-100 = 18х14=252 кН (на ось ) х 4 = 1008 кН.
При действии нагрузки от одного колеса размеры площадки составят:
вдоль движения а3= а1=0,57 м;
поперек движения b3=b+2Н=0,8+2·0,185=1,17 м.
При определении изгибающего момента нагрузка ставится в середину пролета (рис.2.3)
Определяю размеры эпюры рабочих ширин, выбирая из двух значений наибольшие:
Определяем интенсивность распределенной нагрузки на 1м2: .
динамический коэффициент, [1, согласно п.1.4.2];
коэффициент надежности по нагрузке.
Определяем максимальный изгибающий момент в середине пролёта:
Суммарный изгибающий момент от постоянной и временной нагрузок:
Рис.2.4 - Эпюра рабочих ширин для определения максимальной поперечной силы при загружении нагрузкой НК-100.
При определении поперечной силы нагрузка ставится как можно ближе к ребру балки (рис.2.4)
Определяем величину поперечной силы:
где y1 =0,69 ордината линии влияния по оси колеса.
Суммарная поперечная сила от постоянной и временной нагрузок:
.
В качестве расчётных усилий принимается наибольшие, полученные при загружении плиты нагрузкой А-14:
Определяем моменты для фактической схемы загружения:
М0,5l=0,5·Мmax=0,5·43,21 =21,61 кН·м;
Моп=-0,8·Мmax=-0,8·43,21 =-34,57 кН·м.
3. Расчет и конструирование плиты проезжей части.
По полученным расчетным значениям усилий производим армирование плиты проезжей части с проверкой ее на прочность.
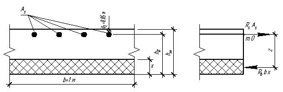
- Армирование нижней сетки
Схема для расчета нижней сетки приведена на рис 2.5.

Рис. 2.5 Схема для расчета нижней сетки
- Определяю рабочую высоту плиты:
- Определяю плечо внутренней пары сил:
z 0,925 ·hо=0,925 ·0,155= 0,1434 м.
- Определяю площадь рабочей арматуры:
- Определяю количество стержней:
шт. Принимаю 6 стержней.
Определяю фактическую площадь рабочей арматуры:
- Определяю высоту сжатой зоны:
- Осуществляю проверку прочности:
Мпред= 18,6 кНм > М0,5l= 17,73 кНм.
Следовательно, условие проверки на прочность выполняется.
- Определяю площадь распределительной арматуры:
Определяю количество стержней распределительной арматуры:
шт. Конструктивно принимаем 4 стержня.
Фактическая площадь распределительной арматуры, Аsф:
м2.
2.3.2. Армирование плиты ПЧ на опорах (верхняя сетка).
Схема для расчета верхней сетки приведена на рис. 2.6.

- Определяю рабочую высоту плиты:
- Определяю плечо внутренней пары сил:
z 0,925 ·hо = 0,1156 м.
- Определяю площадь рабочей арматуры:
4. Определяю количество стержней:
шт. Конструктивно принимаем 12 стержней.
Определяю фактическую площадь рабочей арматуры:
- Определяю высоту сжатой зоны:
- Осуществляю проверку прочности:
Мпред = 29,2 кНм > Моп = 28,36 кНм, следовательно условие проверки на прочность выполняется.
- Определяю площадь распределительной арматуры:
Принимаем диаметр распределительной арматуры: d=6 мм
2. Определяю количество стержней распределительной арматуры:
шт. Принимаем 7 стержней.
3. Фактическая площадь распределительной арматуры, Аsф:
м2.
3. Расчет и конструирование главной балки.
3.1.Определение усилий в балке от постоянной нагрузки
Постоянная нагрузка определяется на 1 п.м. балки и слагается из веса самой балки, плиты проезжей части, дорожной одежды, лит, бордюрных камней и перильного ограждения.
Определение усилий от постоянной нагрузки произведено в табличной форме и приведено в таблице 3.1.
Таблица 2.1 . Расчет постоянной нагрузки на главную балку
|
№ |
Вид нагрузки |
Объем.вес , кН/м3 |
Норматив. нагрузка qн, кН/м |
Коэф. надежн. f |
Расч. нагр. qр=qнf кН/м |
|
1 |
Асфальтобетон 7см |
23 |
15,5230,07=24,96 |
1,5 |
37,44 |
|
2 |
Защитный слой 6см |
25 |
15,5250,06=23,25 |
1,3 |
30,23 |
|
3 |
Гидроизоляция 1см |
15 |
15,5150,01=2,33 |
1,3 |
3,03 |
|
4 |
Выравн. слой 4см |
21 |
15,5 210,03=9,77 |
1,3 |
12,7 |
|
5 |
Барьер. ограждение |
25 |
2 |
1,1 |
2,2 |
|
6 |
Плита проезж. части |
25 |
15,5250,18=69,75 |
1,1 |
76,73 |
|
7 |
Перильное ограждение |
1,25 |
1,25 |
1,1 |
1,38 |
|
8 |
Собств. вес балки |
25 |
0,160,72825=23,04 |
1,1 |
25,34 |
Сумма 189,05
Считаем, что постоянная нагрузка распределяется равномерно между всеми балками и нагрузка на каждую из них равна:
кН/м2.
- Определение коэффициентов поперечной установки
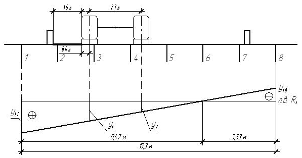
Распределение временной вертикальной нагрузки между главными балками осуществляется с помощью коэффициента поперечной установки (КПУ), который показывает, какая часть временной нагрузки находящейся на проезжей части и тротуаре приходится на рассчитываемую балку.
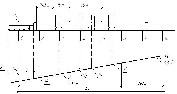
КПУ определяется по методу внецентренного сжатия. Для определения поперечной установки необходимо построить линии влияния усилий действующих на отдельные балки.
Ввиду прямолинейности линий влияния давления для построения их достаточно найти две ординаты над крайними балками:

или .
таким образом: y1 = 0,42, y8 = -0,17.
Для определения усилий в главной балке от временной нагрузки необходимо найти КПУ по линии влияния давления на рассчитываемую балку. При этом для нагрузки А-11 для тележки и полосы КПУ определяется по-разному. При этом для полосы вводится коэффициент сочетания, равный 0,6 для второй колонны.
Для тележки
Для равномерно распределённой полосы
От толпы
Загружается тот участок, где имеем положительное значение усилия.
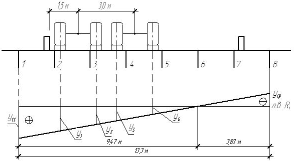
3.2.2. Определение КПУ для главной балки
1-я схема загружения.
Нагрузку А11 располагают в 1,5 м от полосы безопасности при одном загруженном тротуаре.

Рис. 3.1 Схема загружения линии влияния давления нагрузкой А11 по I схеме загружения
Определяю коэффициенты поперечной установки:
2-я схема загружения.
Нагрузка А11 ставится в 0,55 м от бордюрного камня при незагруженных тротуарах.

Рис. 3.2 Схема загружения линии влияния давления нагрузкой А11 по II схеме загружения
Определяю коэффициенты поперечной установки:
3-я схема загружения.
Ставится один расчетный автомобиль НК-80 как можно ближе к полосе безопасности при незагруженных тротуарах.

Рис. 3.3 Схема загружения линии влияния давления нагрузкой НК-80.
Определяю коэффициент поперечной установки:
.
3.3. Определение усилий в главной балке
Расчетные значения усилий M и Q определяются путем загружения линий влияния постоянной и временной нагрузкой. Определяем значения М и Q в сечениях, количество которых достаточно для построения эпюр этих усилий: середина, четверть и опорное сечение балки.
Усилие в рассматриваемом сечении:
, где
S усилие в рассматриваемом сечении;
qр расчётная постоянная нагрузка на 1п.м. главной балки=23,63 кН/м2;
алгебраическая сумма площадей всех участков загружения линии влияния;
площадь линии влияния с положительным значением;
fv коэффициент надежности для полосы; fv = 1,2
v коэффициент поперечной установки для полосы автомобильной нагрузки;
динамический коэффициент для нагрузок А11 и НК-80;
полосовая нагрузка=10,8 кН;
P коэффициент надежности для тележки;
P = 1,5 при = 0, р = 1,2 при 30 м, промежуточные значения по интерполяции:
fНК-80 - коэффициент надежности для нагрузки НК-80 = 1;
P коэффициент поперечной установки для тележки;
НК80 коэффициент поперечной установки для тележки нагрузки НК80;
Рось усилия на ось тележки А11=108 кН;
рНК80 - усилия на ось нагрузки НК-80=20 т;
y1, y2, у3, у4 ординаты линии влияния для осей нагрузки;
Т коэффициент надежности для пешеходов; fТ = 1,2
Т коэффициент поперечной установки для пешеходов;
нагрузка от пешеходов на тротуарах.
lр=8,4 м расчетная длина пролета.

Рис. 3.4 Схема загружения линий влияния усилий М и Q постоянной и временной нагрузками в сечениях 1-1,2-2 и 3-3 по I схеме загружения.

Рис. 3.5 Схема загружения линий влияния усилий М и Q постоянной и временной нагрузками в сечениях 1-1,2-2 и 3-3 по II схеме загружения.

Рис. 3.6 Схема загружения линий влияния усилий М и Q постоянной и временной НК-80 нагрузками в сечениях 1-1,2-2 и 3-3.
Сечение 1-1
Определяю М
1я схема загружения
2я схема загружения
3я схема загружения
Определяю Q
1я схема загружения
2я схема загружения
3я схема загружения
Сечение 2-2
Определяю М
1я схема загружения
2я схема загружения
3я схема загружения
Определяю Q
1я схема загружения
2я схема загружения
3я схема загружения
Сечение 3-3
Момент в опорном сечении равен нулю.
Определяю Q
1я схема загружения
2я схема загружения
3я схема загружения
Результаты вычислений сведены в таблицу 3.2.
Таблица 3.2.-Внутренние усилия по сечениям
|
Сечение |
Внутренние усилия |
|||||
|
А11 |
НК80 |
|||||
|
1я схема загружения |
2я схема загружения |
|||||
|
M |
Q |
М |
Q |
М |
Q |
|
|
1 1 |
481,45 |
60,95 |
551,08 |
75,06 |
510,11 |
57,32 |
|
2 2 |
376,70 |
148,05 |
435,74 |
178,09 |
384,77 |
158,40 |
|
3 3 |
0 |
245,77 |
0 |
285,85 |
0 |
260,86 |
На основе произведенного расчета определяю максимальные усилия в сечениях и строю эпюру огибающих усилий (рис. 3.7).

Рис. 3.7. - Эпюра огибающих усилий
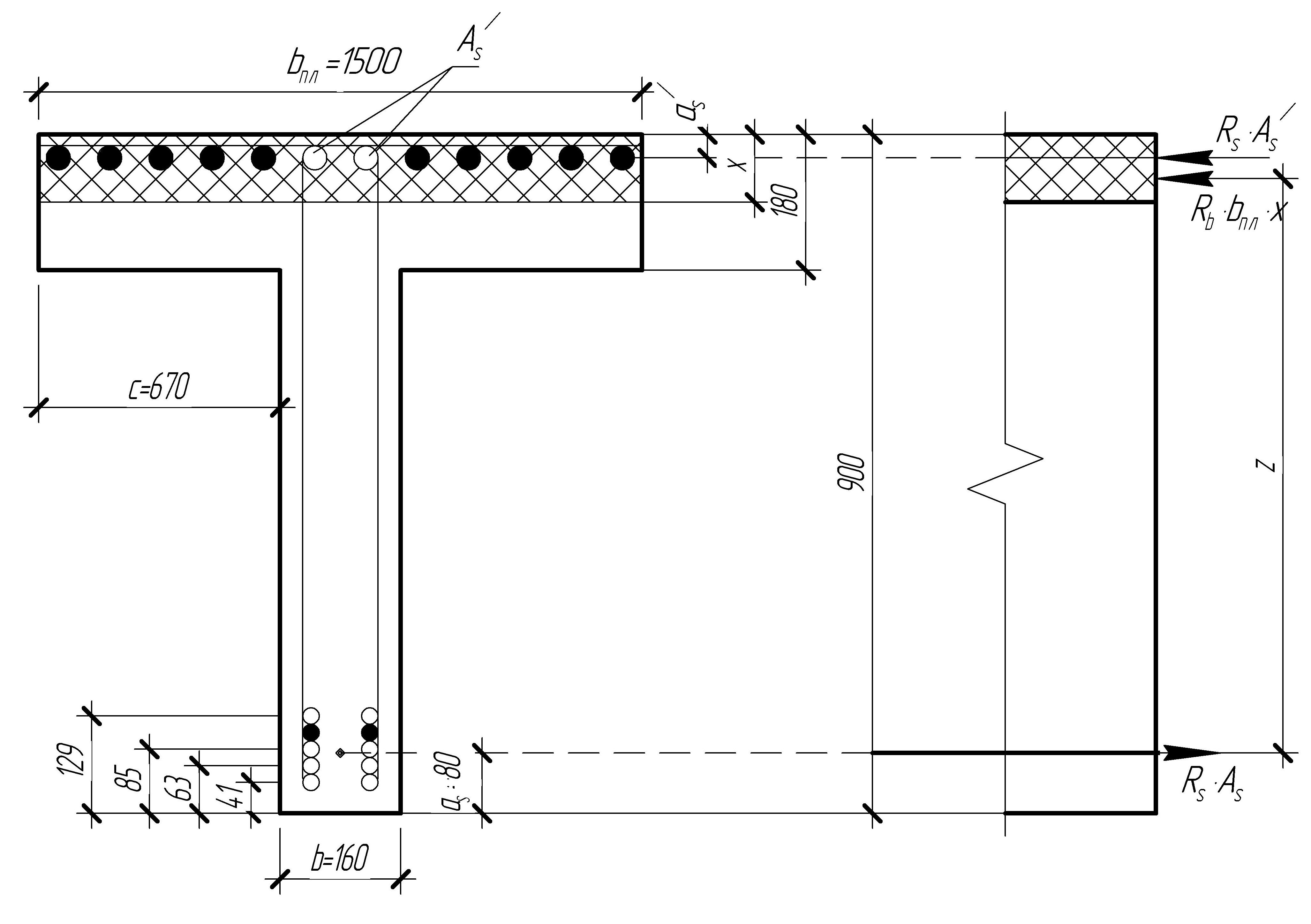
- Армирование главной балки.

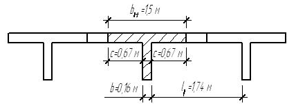
Рис. 3.8 Назначение расчетной ширины плиты.
As(As) площадь растянутой (сжатой) арматуры;
as(as) расстояние до ц.т. растянутой (сжатой) арматуры;
h =0,9 м высота расчетной балки;
hf = 0,18 м высота плиты проезжей части балки;
b = 0,16 м толщина ребра балки;
- Расчетная ширина плиты
м;
- Плечо внутренней пары:
м;
- Площадь рабочей арматуры:
м2;
- Число стержней при диаметре одного стержня d =22 мм:
шт., округляем в большую сторону nsф = 8 шт.
Фактическая площадь рабочей арматуры:
м2.
5. Положение центра тяжести:
м.
где ns общее число стержней; ni число стержней в i-том ряду; ai расстояние до центра
тяжести i-го ряда от низа балки;
6. Точное вычисление рабочей высоты:
м.
7. Высота сжатой зоны:
(м);
Коэффициент условий работы:
где: (h-x) высота растянутой зоны сечения; - расстояние от оси растянутого арматурного элемента от растянутой грани сечения;
Принимаем
м.
Проверка по предельному моменту:
М пр > М max ; 653,03>551,08
Следовательно, армирование рассчитано правильно.

Рисунок 3.9- Схема к проверке балки на прочность по предельному моменту.
4. Построение эпюры материалов.
- Строится эпюра моментов (Mmax), откладывая предельный момент Мпред>Мmax в пределах 5%
- Предельный момент делится на число пар стержней.
- По СНиП ( п 3.126 ) определяем величину заделки стержня:
При марке бетона В30 ls=22d=22·0,022=0,
484м
- Стержни отгибают под углом 45. Отогнутые стержни должны быть распределены по длине балки таким образом, чтобы любое сечение, нормальное к оси элемента, пересекало хотя бы один стержень; если это требование не выполняется, то применяем дополнительные косые стержни, привариваемые к основной рабочей арматуре (того же диаметра).
Длину сварных швов в местах прикрепления наклонных стержней принимают равной при односторонней сварке 12d, при двусторонней 6d.
В местах, где производят отгиб или обрыв стержней, а также между ними на расстояниях, не превышающих высоты балки, в сварных каркасах необходимо располагать связующие швы. Их длина принимается равной 6d и 3d. При двусторонней сварке наименьшая толщина швов 4мм (п. 3.161).
5. Расчет наклонного сечения на перерезывающую силу.
Рис.5.1 схема к расчету балки на прочность по наклонному сечению
Выполняем расчет приопорного участка:
1. Расчет наклонного сечения элемента с поперечной арматурой на действие поперечной силы следует производить из условия:
2.
где: - площадь сечения одного стержня отгиба; - коэффициент условий работы; - количество отгибов, попавших в наклонное сечение; - количество срезов ; - угол наклона отогнутых стержней к продольной оси элемента в месте пересечения наклонного сечения;
МПа
3.
где: - площадь сечения одного стержня хомута; - коэффициент условий работы; - количество хомутов, попавших в наклонное сечение; - количество срезов;
= 6 хомутов;
МПа
4.

но не менее 1,3 и не более 2,5;
расчетное сопротивление на скалывание при изгибе;наибольшее скалывающее напряжение от нормативной нагрузки;
Па

кН;
кН;
- условие проверки выполняется.
5.
где: площадь горизонтальной ненапрягаемой арматуры, см2;
Так как град, то К<0 и он не учитывается.
6.МПа - проверка выполняется.
Расчёт выполнен верно.
Список использованной литературы:
1. Колоколов Н.М., Копац Л.Н., Файнштейн И.С. Искусственные сооружения:
Учебник для техникумов трансп. стр-ва/ Под ред. Н.М. Колоколова.- 3-е изд.,
перераб. и доп.-М.: Транспорт, 1988, 440с.
2. Мосты и сооружения на дорогах: Учеб. для вузов: В 2-х ч./ Гибшман Е.Е.,
Кирилов В.С., Маковский Л.В., Назаренко Б.П. Изд. 2-е, перераб. и доп. М.:
Транспрорт, 1972, 404с.
3. Мосты и сооружения на дорогах: Учеб. для вузов: В 2-х ч./П.М. Саламахин,
О.В. Воля, Н.П. Лукин и др.; Под ред. П.М. Саламахин. -М.: Транспорт, 1991,
344с.
4. Проектирование деревянных и железобетонных мостов. Под ред. А.А.
Петропавловского. Учеб. для вузов.- М.: Транспорт, 1978, 360с.
5. СНиП 2.05.03-84*. Мосты и трубы.- М.: Стройиздат, 1984
Проектирование автодорожного железобетонного моста