Двухэтажный жилой дом из мелкоразмерных элементов
1. Объемно-планировочное решение здания
Тема проекта ”Двухэтажный жилой дом из мелкоразмерных элементов”, строительство данного жилого дома предусмотрено в городе Гомеле, Республика Беларусь. Ширина и длина здания по координационным осям составляет: ширина в осях А-З составляет 17,4 м; длина в осях 1-6 составляет 11,26 м.
Тип жилого дома отдельностоящий. Здание одноэтажное с мансардой. Высота этажа 2,8 м. В плане запроектирована одна квартира улучшенной планировки с жилой площадью 126,25 м2. На первом этаже запроектированы 2 тамбура, холл, кладовая, санузел, 2 общие комнаты, вестибюль, семейная комната, кухня-столовая, уборная; на мансардном этаже холл, комната отдыха, 3 спальни, санузел, библиотека, вестибюль и гардеробная.
2.Теплотехнический расчет наружной стены в зимних условиях
Определить толщину утеплителя внутренней стены кирпичного жилого дома в условиях зимы г.Гомеля.
Теплотехнический расчет выполняется в соответствии с ТКП 45-2.04-43-2006 (02250) «Строительная теплотехника» [2] или приложения 7 методических указаний [1].
Конструкция стены:
1- известково-песчаная штукатурка
= 1600 кг/м3 , =0,02 м
2- плиты пенополиуретановые
=60 кг/м3 ,=х м
3- воздушный зазор
=0,02 м
4- кирпич силикатный утолщенный
=1400 кг/м3 ,=0,38 м
5- цементно-песчаная штукатурка
=1800 кг/м3 ,=0,02 м
|
№ слоя |
Материал |
Толщина слоя , м |
Плотность материала, , кг/м3 |
Коэффициент теплопроводности , Вт/(м•оС) |
|
1. |
Известково-песчаная штукатурка |
0,02 |
1600 |
0,81 |
|
2. |
Плиты пенополиуретановые |
х |
60 |
0,041 |
|
4. |
Кирпич силикатный утолщенный |
0,38 |
1400 |
1,16 |
|
5. |
Цементно-песчаная штукатурка |
0,02 |
1800 |
0,93 |
1. Производим определение величины требуемого сопротивления теплопередаче:
Rт тр (2.1)
где: Rт тр - требуемое сопротивление теплопередаче, м2•°С/Вт, значение которого необходимо определить по формуле (2.1);
n = 1 - коэффициент, учитывающий положение наружной поверхности ограждающей конструкции по отношению к наружному воздуху (табл. 5.3 [2] или приложение 7 [1];
tв=18оС температура внутреннего воздуха помещения (табл. 4.1 [2] или приложение 7 [1]);
в = 8,7 Вт/(м2•°С) - коэффициент теплоотдачи внутренней поверхности, (табл. 5.4 [2] или приложение 7 [1]);
tв = 6 °С - расчетный перепад между температурой внутреннего воздуха и температурой внутренней поверхности ограждающей конструкции, (табл. 5.5 [2] или приложение 7 [1]);
tн - расчетная зимняя температура наружного воздуха, °С, принимаемая по таблице 4.3 [2] или приложение 18 [1] с учетом тепловой инерции ограждающих конструкций D (за исключением заполнений проемов) по таблице 5.2 [2] или приложению 7 [1].
Для определения температуры наружного воздуха tн задаёмся величиной тепловой инерцией ограждения 4<D7 (табл. 5.2 [2] или приложение 7 [1]). Данное условие определяет расчетную температуру наружного воздуха зимой по трем наиболее холодным суткам (таблица 4.3 [2] или приложение 7 [1]). Она определяется как среднеарифметическое между средней температурой наружного воздуха наиболее холодных суток обеспеченностью 0,92 и средней температурой наружного воздуха наиболее холодной пятидневки обеспеченностью 0,92 (табл. 4.3 [2] или приложение 7 [1]):
оС
Подставив все значения в формулу, получим:
Rт тр= м2 оС/Вт
Сопротивление теплопередаче наружных ограждающих конструкций, Rт, за исключением заполнений проемов и ограждающих конструкций помещений с избытками явной теплоты, следует принимать не менее значения нормативного сопротивления теплопередаче Rт. норм, приведенного в таблице 5.1 [2] или приложении 7 [1]. Поэтому в расчет принимаем значение
Rт, норм 3,2 м2 оС/Вт.
2. Определение толщины утеплителя.
Неизвестное значение толщины утеплителя выразим из формулы (2.2), подставив в нее все известные значения толщин , теплопроводности и Rт норм. 3,2 м2 оС/Вт
Необходимую толщину утеплителя выразим из формулы (2.2):
(2.2)
Где:
i- толщина i-го слоя наружной стены, м; i- расчетный коэффициент теплопроводности, Вт/(м•°С) (приложение А [2] или приложение 18 [1]) Выбираем расчетный коэффициент теплопроводности, соответствующий выбранному материалу и условиям эксплуатации ограждения Б (табл. 4.2 [2] или приложение 18 [1]), т.к. режим помещений нормальный.
н = 23 - коэффициент теплоотдачи наружной поверхности ограждающей конструкции для зимних условий, Вт/(м2•°С), принимаемый по таблице 5.7.[2] или приложение 18 [1].
Подставив все известные значения в формулу (2.2), выразим толщину утеплителя 2:
Откуда х = 2 =0,109 0,11 (м). Принимаем толщину утеплителя 0,11 м, при этом толщина стены будет 0,55 м.
3. Конструктивное решение здания
Конструктивная система - стеновая, конструктивная схема здания - с продольными несущими стенами. Квартира расположена в одном уровне.
Фундаменты
В возводимом здании запроектирован ленточный сборный фундамент. Геометрические размеры фундаментов обосновываются величинами нагрузок, действующими на них, а также несущей способностью грунта (песок крупный).
Глубина заложения фундамента обусловлена глубиной промерзания грунта, характерной для района проектирования (df), и видом грунта (песок крупный).
Расчетная глубина сезонного промерзания грунтов (df) м, определяется по формуле:
(3.1)
где: kn=0,8 коэффициент влияния теплового режима сооружения на промерзание грунта у фундамента, принимаемый для ленточных фундаментов наружных стен отапливаемых сооружений по табл. 19 прил. 14 [1];
dfn=63 см нормативная глубина сезонного промерзания грунтов, определяемая по табл. 20 прил. 14 [1].
Таким образом, глубина заложения фундамента равна 1,79 м.
Принимаем бетонные блоки марки ФБС 9.4.6, ФБС 12.4.6, фундаментные плиты марки ФЛ6.12 в осях 1-6, ФЛ12.12 в осях А-З, ФЛ12.30 в осях Б-Г и Е-Ж, ФЛ14.12 в осях Д и Ж.
Для отвода ливневой и талой вод от фундаментов предусмотрено устройство отмостки, уклоном i=0,2. Отмостка выполняется из цементного бетона. Ширина отмостки b=500 мм. Отмостка устраивается по уплотненному грунту.
Для сцепления материалов и защиты элементов фундамента от неблагоприятных воздействий внешней среды используем гидроизоляцию: горизонтальную рубероид, вертикальную 2 слоя битума.
Стены и перегородки
Стены выполняются из мелкоразмерных элементов кирпича силикатного утолщенного на цементно-песчаном растворе. При кладке стен применяется шестирядная система перевязки швов, когда один тычковый ряд чередуется с пятью ложковыми рядами. Кладка ведется на цементно-песчаном растворе. Толщина швов: вертикальных 10 мм, горизонтальных 12 мм. Конструкция наружных стен пятислойная (с внешней стороны: цементно-песчаная штукатурка 20 мм, кирпичная кладка из кирпича силикатного утолщенного 380 мм, воздушный зазор 20 мм, плиты пенополиуретановые 110 мм, известково-песчаная штукатурка 20 мм). Толщина данных стен подобрана в соответствии с теплотехническим расчетом (смотри соответствующий пункт пояснительной записки) и составляет 550 мм.
Внутренние стены выполняются из кирпичной кладки толщиной 380 мм. Связи в углах и пересечениях наружных стен с внутренними усиливают арматурными стержнями, которые укладываются в растворе горизонтальных швов в трех уровнях по высоте этажа. Межкомнатные перегородки запроектированы кирпича силикатного утолщенного толщиной 120 мм.
Перекрытия
Перекрытия выполнены из мелкоразмерных элементов: железобетонных балок таврового сечения марок БЖ1-24.20.22, БЖ1-40.20.22, БЖ1-54.20.22, БЖ1-56.20.22 и легкобетонных накат-плит марки П3. Железобетонные балки перекрытия в ходе их установки жестко заделываются в стенах с помощью анкерных креплений марки А-1. Железобетонные балки опираются на наружные несущие стены на 200 мм, на внутренниена 190 мм. Для устранения мостика холода в наружные несущие стены укладываем утеплитель пенополистирол =15 кг/м3 толщиной =50 мм.
Лестницы
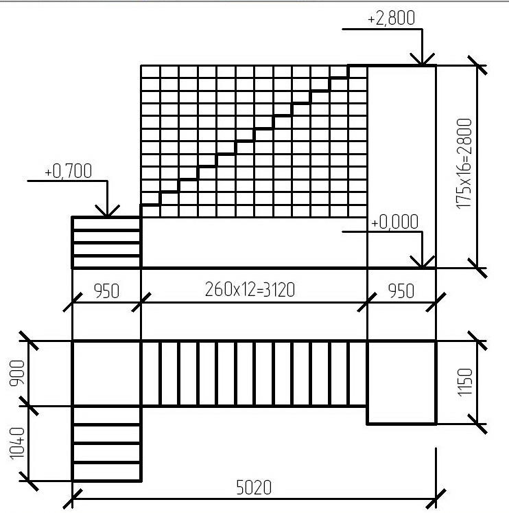
Для межэтажного сообщения в проектируемом здании служит двухмаршевая с поворотом под углом 90o железобетонная лестница из мелкоразмерных элементов на железобетонных косоурах с уклоном 1:1,48. Ширина лестничной площадки 950 мм, ширина лестничного марша 950 мм. В целях противопожарной безопасности между маршами обеспечивается зазор 250 мм для свободного пропуска пожарного шланга.
Расчет конструктивных элементов лестницы приведен в соответствующем пункте пояснительной записки.
Также запроектированы входные бетонные лестницы с уклоном 1:3:
- лестница для главного входа, с шириной лестничного марша 2100 мм.
- лестница для хозяйственного входа, с шириной лестничного марша 1000 мм.
Расчёт конструктивных элементов лестниц приведён в соответствующем пункте пояснительной записки.
Крыша
По конструктивному решению крыша запроектирована скатная мансардная деревянная. Стропильная система наслонная; состоит из стропил 140х220, обрешетки, выполняемой из брусков 60х60, с шагом 600 мм, прогона 150х150 и 150х100, мауэрлата 200х150.
Используем кровлю фирмы «Катепал». Крепеж элементов кровли осуществляется при помощи жидких гвоздей к влагостойкой фанере. Доски обрешетки крепят гвоздями к стропилам. Для предотвращения механических деформаций кровли и поддержания стандартной влажности деревянных элементов крыши между кровлей и обрешёткой ложится слой влагостойкой фанеры толщиной 12 мм.
Стропила соединены между собой при помощи накладок, гвоздей и стальных скоб. Для соединения стропил и кобылок между собой используем гвозди.
Водосток запроектирован организованный наружный.
Экспликация помещений
Таблица 1
|
Номер поме-щения |
Наименование |
Площадь, м2 |
|
1 |
Тамбур |
6,23 |
|
2 |
Холл |
17,49 |
|
3 |
Кладовая |
1,74 |
|
4 |
Санузел |
7,17 |
|
5 |
Общая комната |
16,28 |
|
6 |
Вестибюль |
13,70 |
|
7 |
Семейная комната |
24,50 |
|
8 |
Кухня-столовая |
12,13 |
|
9 |
Уборная |
3,01 |
|
10 |
Тамбур |
8,69 |
|
11 |
Общая комната |
16,28 |
|
12 |
Холл |
12,89 |
|
13 |
Комната отдыха |
24,50 |
|
14 |
Спальня |
12,13 |
|
15 |
Санузел |
12,13 |
|
16 |
Спальня |
16,28 |
|
17 |
Библиотека |
6,23 |
|
18 |
Вестибюль |
17,49 |
|
19 |
Гардеробная |
11,59 |
|
20 |
Спальня |
16,28 |
4. Расчет и графическая разбивка лестницы на плане и в разрезе

- Принимаем высоту этажа Нэт=2800 мм.
- Задаём количество подступенков в марше n=16.
- Определяем высоту подступенка
Возьмём высоту подступенка рядовой ступени равной 175 мм, высота подступенка фризовой ступени также равна 175 мм.
- Наибольший уклон марша в соответствии с приложением 5 [1]1:1,25. Примем уклон марша 1:1,5.
- Вычисляем ширину проступи рядовой и фризовой ступени:
- С учётом требования, что ширина проступи должна быть не менее величины стопы человека (250 мм), принимаем ширину проступи рядовой и фризовой ступени 260 мм, высоту подступенка рядовой и фризовой ступени 175 мм.
- Получаем лестницу с уклоном 1:1,48.
- Проверяем условие 2h+b=570…640 мм:
Условие выполняется.
Расчёт лестницы для главного и хозяйственного входа
- Принимаем высоту крыльца Нкр=710 мм, так как планировочная отметка земли равна -0,750 мм.
- Задаём количество подступенков в марше n=6.
- Определяем высоту подступенка:
Возьмём высоту подступенка рядовой ступени равной 120 мм, высоту подступенка фризовой ступени равной 110 мм.
- Задаёмся уклоном в соответствии с [1] 1:3.
- Вычисляем ширину проступи рядовой:
и фризовой ступени:
- Проверяем условие 2h+b=570…640 мм:
Условие выполняется.
5. Расчет размеров оконных проемов
- Расчёт необходимой площади оконного проёма производится по формуле
где: Sпроёмаплощадь проёма, принимаем за x; Sполаплощадь пола помещения.
- Расчёт необходимой ширины проёма:
где: Внеобходимая ширина окна; Нокнавысота окна, Нокна=1500 мм.
- Вычисления сводим в таблицу 2.
Расчет размеров оконных проемов
Таблица 2
|
Наименование помещения |
Площадь пола, Sпола , м2 |
Площадь оконного проема, Sпр= Sпола /5,5 м2 |
Необходимая ширина окна, В, мм |
Марка окна по приложению 8 [1] |
|
Общая комната |
16,28 |
2,96 |
1973 |
2xОД 2С 15-9 |
|
Семейная комната |
24,50 |
4,45 |
2967 |
3xОД 2С 15-9 |
|
Кухня-столовая |
12,13 |
2,20 |
1467 |
ОД 2С 15-13,5 |
|
Общая комната |
16,28 |
2,96 |
1973 |
2xОД 2С 15-9 |
|
Комната отдыха |
24,50 |
4,45 |
2967 |
ОД 2С 15-9 3х Мансардное окно 6,6-11,8 |
|
Спальня |
12,13 |
2,20 |
1467 |
2х Мансардное окно 6,6-11,8 |
|
Спальня |
16,28 |
2,96 |
1973 |
3х Мансардное окно 6,6-11,8 |
|
Спальня |
16,28 |
2,96 |
1973 |
3х Мансардное окно 6,6-11,8 |
6. Подбор перемычек оконных и дверных проемов
При проектировании оконных и дверных перемычек руководствоваться приложениями 10 и 11 [1]. Необходимое количество перемычек в зависимости от их ширины и толщины стены:
где: Втолщина стены, bширина перемычки.
Длина перемычек определяется следующим образом:
- усиленных перемычек (величина опирания 250 мм, Адлина проёма без учёта четвертей):
- простых перемычек (величина опирания 120 мм или 200 мм в зависимости от ширины окна):
- при А не более 1,75 м ;
- при А более 1,75 м .
В здании запроектированы железобетонные брусковые перемычки.
Расчёт перемычек
Таблица 3
|
Комната |
Марка оконного и дверного блока |
Количество перемычек |
Вид перемычки |
Величина минимального опирания |
Минимальная длина перемычки |
Марка перемычки |
|
Тамбур |
ДН Д Г 21-10 |
3 |
брусковая |
120 |
1250 |
8 ПБ 10-1 |
|
брусковая |
250 |
1510 |
9 ПБ 16-37 |
|||
|
брусковая |
250 |
1510 |
9 ПБ 16-37 |
|||
|
ОД 2С 15-7,5 |
3 |
брусковая |
120 |
1000 |
8 ПБ 10-1 |
|
|
брусковая |
120 |
1000 |
8 ПБ 10-1 |
|||
|
брусковая |
120 |
1000 |
8 ПБ 10-1 |
|||
|
ДН Д О 21-8 |
3 |
брусковая |
250 |
1310 |
9 ПБ 16-37 |
|
|
брусковая |
250 |
1310 |
9 ПБ 16-37 |
|||
|
брусковая |
250 |
1310 |
9 ПБ 16-37 |
|||
|
Холл |
ОД 2С 15-9 |
3 |
брусковая |
120 |
1150 |
8 ПБ 10-1 |
|
брусковая |
120 |
1150 |
8 ПБ 10-1 |
|||
|
брусковая |
120 |
1150 |
8 ПБ 10-1 |
|||
|
ДВ1 Д О 21-8 |
3 |
брусковая |
120 |
1050 |
8 ПБ 10-1 |
|
|
брусковая |
120 |
1050 |
8 ПБ 10-1 |
|||
|
брусковая |
120 |
1050 |
8 ПБ 10-1 |
|||
|
ПР 15 |
3 |
брусковая |
250 |
2050 |
9 ПБ 22-3 |
|
|
брусковая |
250 |
2050 |
9 ПБ 22-3 |
|||
|
брусковая |
250 |
2050 |
9 ПБ 22-3 |
|||
|
Кладовая |
ДВ1 Д Г 21-8 |
1 |
брусковая |
120 |
1050 |
8 ПБ 10-1 |
|
Санузел |
ДВ6 Д Г 21-7 |
1 |
брусковая |
120 |
950 |
8 ПБ 10-1 |
|
ОД 2С 15-7,5 |
3 |
брусковая |
120 |
1000 |
8 ПБ 10-1 |
|
|
брусковая |
250 |
1260 |
9 ПБ 13-37 |
|||
|
брусковая |
250 |
1260 |
9 ПБ 13-37 |
|||
|
Общая комната |
ОД 2С 15-9 |
3 |
брусковая |
120 |
1150 |
8 ПБ 10-1 |
|
брусковая |
250 |
1410 |
9 ПБ 13-37 |
|||
|
брусковая |
250 |
1410 |
9 ПБ 13-37 |
|||
|
ОД 2С 15-9 |
3 |
брусковая |
120 |
1150 |
8 ПБ 10-1 |
|
|
брусковая |
120 |
1150 |
8 ПБ 10-1 |
|||
|
брусковая |
120 |
1150 |
8 ПБ 10-1 |
|||
|
ДВ1 Д О 21-8 |
3 |
брусковая |
250 |
1310 |
9 ПБ 16-37 |
|
|
брусковая |
250 |
1310 |
9 ПБ 16-37 |
|||
|
брусковая |
250 |
1310 |
9 ПБ 16-37 |
|||
|
Семейная комната |
ОД 2С 15-9 |
3 |
брусковая |
120 |
1150 |
8 ПБ 10-1 |
|
брусковая |
250 |
1410 |
9 ПБ 13-37 |
|||
|
брусковая |
250 |
1410 |
9 ПБ 13-37 |
|||
|
ОД 2С 15-9 |
3 |
брусковая |
120 |
1150 |
8 ПБ 10-1 |
|
|
брусковая |
120 |
1150 |
8 ПБ 10-1 |
|||
|
брусковая |
120 |
1150 |
8 ПБ 10-1 |
|||
|
ОД 2С 15-9 |
3 |
брусковая |
120 |
1150 |
8 ПБ 10-1 |
|
|
брусковая |
120 |
1150 |
8 ПБ 10-1 |
|||
|
брусковая |
120 |
1150 |
8 ПБ 10-1 |
|||
|
ОД 2С 15-9 |
3 |
брусковая |
120 |
1150 |
8 ПБ 10-1 |
|
|
брусковая |
120 |
1150 |
8 ПБ 10-1 |
|||
|
брусковая |
120 |
1150 |
8 ПБ 10-1 |
|||
|
ДВ1 Д О 21-15 |
3 |
брусковая |
250 |
2010 |
9 ПБ 21-8 |
|
|
брусковая |
250 |
2010 |
9 ПБ 21-8 |
|||
|
брусковая |
250 |
2010 |
9 ПБ 21-8 |
|||
|
Кухня-столовая |
ДВ1 Д О 21-8 |
3 |
брусковая |
120 |
1050 |
8 ПБ 10-1 |
|
брусковая |
120 |
1050 |
8 ПБ 10-1 |
|||
|
брусковая |
120 |
1050 |
8 ПБ 10-1 |
|||
|
ОД 2С 15-13,5 |
3 |
брусковая |
120 |
1600 |
8 ПБ 10-1 |
|
|
брусковая |
120 |
1600 |
8 ПБ 10-1 |
|||
|
брусковая |
120 |
1600 |
8 ПБ 10-1 |
|||
|
Уборная |
ДВ6 Д Г 21-7 |
1 |
брусковая |
120 |
950 |
8 ПБ 10-1 |
|
Тамбур |
ДН Д Г 21-10 |
3 |
брусковая |
120 |
1250 |
8 ПБ 10-1 |
|
брусковая |
120 |
1250 |
8 ПБ 10-1 |
|||
|
брусковая |
120 |
1250 |
8 ПБ 10-1 |
|||
|
ДН Д О 21-8 |
3 |
брусковая |
120 |
1050 |
8 ПБ 10-1 |
|
|
брусковая |
120 |
1050 |
8 ПБ 10-1 |
|||
|
брусковая |
120 |
1050 |
8 ПБ 10-1 |
|||
|
ОД 2С 15-9 |
3 |
брусковая |
120 |
1150 |
8 ПБ 10-1 |
|
|
брусковая |
120 |
1150 |
8 ПБ 10-1 |
|||
|
брусковая |
120 |
1150 |
8 ПБ 10-1 |
|||
|
Общая комната |
ДВ1 Д О 21-8 |
3 |
брусковая |
120 |
1050 |
8 ПБ 10-1 |
|
брусковая |
120 |
1050 |
8 ПБ 10-1 |
|||
|
брусковая |
120 |
1050 |
8 ПБ 10-1 |
|||
|
ОД 2С 15-9 |
3 |
брусковая |
120 |
1150 |
8 ПБ 10-1 |
|
|
брусковая |
120 |
1150 |
8 ПБ 10-1 |
|||
|
брусковая |
120 |
1150 |
8 ПБ 10-1 |
|||
|
ОД 2С 15-9 |
3 |
брусковая |
120 |
1150 |
8 ПБ 10-1 |
|
|
брусковая |
250 |
1410 |
9 ПБ 13-37 |
|||
|
брусковая |
250 |
1410 |
9 ПБ 13-37 |
|||
|
Комната отдыха |
ДВ1 Д О 21-8 |
3 |
брусковая |
120 |
1050 |
8 ПБ 10-1 |
|
брусковая |
120 |
1050 |
8 ПБ 10-1 |
|||
|
брусковая |
120 |
1050 |
8 ПБ 10-1 |
|||
|
ОД 2С 15-9 |
3 |
брусковая |
120 |
1050 |
8 ПБ 10-1 |
|
|
брусковая |
120 |
1050 |
8 ПБ 10-1 |
|||
|
брусковая |
120 |
1050 |
8 ПБ 10-1 |
|||
|
Спальня |
ДВ1 Д О 21-8 |
3 |
брусковая |
120 |
1150 |
8 ПБ 10-1 |
|
брусковая |
250 |
1410 |
9 ПБ 13-37 |
|||
|
брусковая |
250 |
1410 |
9 ПБ 13-37 |
|||
|
Санузел |
ДВ1 Д О 21-8 |
3 |
брусковая |
120 |
1150 |
8 ПБ 10-1 |
|
брусковая |
250 |
1410 |
9 ПБ 13-37 |
|||
|
брусковая |
250 |
1410 |
9 ПБ 13-37 |
|||
|
Спальня |
ДВ1 Д О 21-8 |
3 |
брусковая |
120 |
1150 |
8 ПБ 10-1 |
|
брусковая |
250 |
1410 |
9 ПБ 13-37 |
|||
|
брусковая |
250 |
1410 |
9 ПБ 13-37 |
|||
|
ОД 2С 15-9 |
3 |
брусковая |
120 |
1050 |
8 ПБ 10-1 |
|
|
брусковая |
120 |
1050 |
8 ПБ 10-1 |
|||
|
брусковая |
120 |
1050 |
8 ПБ 10-1 |
|||
|
Библиотека |
ОД 2С 15-9 |
3 |
брусковая |
120 |
1050 |
8 ПБ 10-1 |
|
брусковая |
120 |
1050 |
8 ПБ 10-1 |
|||
|
брусковая |
120 |
1050 |
8 ПБ 10-1 |
|||
|
Вестибюль |
ПР 16 |
3 |
брусковая |
120 |
1750 |
8 ПБ 10-1 |
|
брусковая |
120 |
1750 |
8 ПБ 10-1 |
|||
|
брусковая |
120 |
1750 |
8 ПБ 10-1 |
|||
|
ПР 16 |
3 |
брусковая |
120 |
1750 |
8 ПБ 10-1 |
|
|
брусковая |
120 |
1750 |
8 ПБ 10-1 |
|||
|
брусковая |
120 |
1750 |
8 ПБ 10-1 |
|||
|
Гардеробная |
ДВ1 Д О 21-8 |
3 |
брусковая |
120 |
1150 |
8 ПБ 10-1 |
|
брусковая |
250 |
1410 |
9 ПБ 13-37 |
|||
|
брусковая |
250 |
1410 |
9 ПБ 13-37 |
|||
|
Спальня |
ДВ1 Д О 21-8 |
3 |
брусковая |
120 |
1050 |
8 ПБ 10-1 |
|
брусковая |
120 |
1050 |
8 ПБ 10-1 |
|||
|
брусковая |
120 |
1050 |
8 ПБ 10-1 |
Спецификация элементов перемычек
Таблица 4
|
Поз. |
Обозначение |
Наименование |
Кол. на этаж |
||
|
1 |
2 |
Всего |
|||
|
1 |
ГОСТ 948-84 |
8 ПБ 10-1 |
50 |
25 |
75 |
|
2 |
9 ПБ 13-37 |
8 |
6 |
14 |
|
|
3 |
9 ПБ 16-37 |
8 |
0 |
8 |
|
|
4 |
9 ПБ 21-8 |
3 |
0 |
3 |
|
|
5 |
9 ПБ 22-3 |
3 |
0 |
3 |
Ведомость перемычек
Таблица 5
|
Марка |
Схема сечения |
|
ПР 1 |
|
|
ПР 2 |
|
|
ПР 3 |
|
|
ПР 4 |
|
|
ПР 5 |
|
|
ПР 6 |
|
|
ПР 7 |
|
|
ПР 8 |
|
|
ПР 9 |
|
|
ПР 10 |
|
|
ПР 11 |
|
|
ПР 12 |
|
|
ПР 13 |
|
|
ПР 14 |
|
|
ПР 15 |
|
|
ПР 16 |
|
Спецификация элементов заполнения проемов
Таблица 6
|
Поз. |
Обозначение |
Наименование |
Кол. по фасадам |
||||
|
1-6 |
6-1 |
А-З |
З-А |
Всего |
|||
|
Окна |
|||||||
|
ПР 1 |
1.436.3-16 |
ОД 2С 15-9 |
1 |
2 |
- |
- |
3 |
|
ПР 2 |
ОД 2С 15-9 |
2 |
1 |
3 |
3 |
9 |
|
|
ПР 3 |
ОД 2С 15-13,5 |
- |
- |
- |
1 |
1 |
|
|
ПР 4 |
ОД 2С 15-7,5 |
1 |
- |
- |
- |
1 |
|
|
ПР 5 |
ОД 2С 15-7,5 |
- |
- |
1 |
- |
1 |
|
|
Блоки дверные |
|||||||
|
ПР 6 |
ГОСТ 14624-84 |
ДН Д Г 21-10 |
1 |
- |
- |
- |
1 |
|
ПР 7 |
ДН Д Г 21-10 |
- |
- |
- |
1 |
1 |
|
|
ПР 8 |
ДН Д О 21-8 |
- |
- |
- |
- |
1 |
|
|
ПР 9 |
ДН Д О 21-8 |
- |
- |
- |
- |
1 |
|
|
ПР 10 |
ДВ1 Д О 21-8 |
- |
- |
- |
- |
5 |
|
|
ПР 11 |
ДВ1 Д О 21-8 |
- |
- |
- |
- |
5 |
|
|
ПР 12 |
ДВ1 Д О 21-15 |
- |
- |
- |
- |
1 |
|
|
ПР 13 |
ДВ6 Д О 21-7 |
- |
- |
- |
- |
2 |
|
|
ПР 14 |
ДВ1 Д О 21-8 |
- |
- |
- |
- |
1 |
|
|
ПР 15 |
- |
- |
- |
- |
- |
1 |
|
|
ПР 16 |
- |
- |
- |
- |
- |
2 |
7.Расчёт простенков и отметок низа и верха оконных проёмов.
8. Список используемых источников
1. Волик А. Р., Сазон С. А. Методические указания к выполнению курсовой работы «Двухэтажный жилой дом из мелкоразмерных элементов» (электронная версия).
2. ТКП 45-2.04-43-2006 (02250) Строительная теплотехника
3. ГОСТ 21.501-93 Правила выполнения архитектурно-строительных рабочих чертежей
4. СНБ 3.02.04-03 Жилые здания
5. СТБ 1138-98 Двери и ворота для зданий и сооружений
6. ГОСТ 21.101-93 Основные требования к рабочей документации
7. Дыховичный Ю.А. и др. Архитектурные конструкции. Книга 1. Архитектурные конструкции малоэтажных жилых зданий: учебное пособие. 2-е изд., перераб. и доп.-М.: Архитектура-С, 2006.- 284 с.
8. Маклакова Т. Г., Нанасова С. М. Конструкции гражданских зданий; Учебник. - М.: Издательство АСВ, 2006, -296 с.
9. Мансарды. Строительство и утепление мансард: http://premer-stroy.ru/
10. Бетонные лестницы: http://www.mukhin.ru/
Двухэтажный жилой дом из мелкоразмерных элементов















