Подобрать вентилятор для перекачивания воздуха через адсорбер
Курсовая работа
по дисциплине «Процессы и аппараты»
на тему «Подобрать вентилятор для перекачивания воздуха через адсорбер»
Исходные данные к работе
Подобрать вентилятор для перекачивания воздуха через адсорбер. Расход воздуха 0,4 м3/с, температура 20 °С. Воздух вводится в нижнюю часть адсорбера. Давление исходного воздуха и над слоем адсорбента атмосферное. Сорбент представляет собой частицы, плотность которых т = 800 кг/м3, средний размер dч =0,00205 м, фактор формы Ф=0,8. Высота неподвижного слоя сорбента 0,65 м, порозность =0,4 м3/м3. Внутренний диаметр адсорбера D = 1,34 м. Длина трубопровода от точки забора воздуха до адсорбера составляет 20 м. На трубопроводе имеются четыре колена под углом 90° и одна задвижка.
Содержание:
Введение
Вентилятор устройство для перемещения газа со степенью сжатия менее 1,15 (или разностью давлений на выходе и входе не более 15 кПа, при большей разнице давлений используют компрессор).
Основное применение: системы принудительной приточно-вытяжной и местной вентиляции зданий и помещений, обдув нагревательных и охлаждающих элементов в устройствах обогрева и кондиционирования воздуха, а также обдув радиаторов охлаждения различных устройств.
Вентиляторы обычно используются как для перемещения воздуха для вентиляции помещений, охлаждения оборудования, воздухоснабжения процесса горения (воздуходувки и дымососы).
В современных крупных вентиляторах на выходе кроме цилиндрических диффузоров, устанавливают аппараты, выпрямляющие поток, а на выходе ставят поворотные пипетки, позволяющие регулировать производительность.
Вентиляторы широко применяются в различных отраслях народного хозяйства. Их используют в системах вентиляции и кондиционирования воздуха жилых, общественных и промышленных зданий, для проветривания горных выработок и создания в них нормальных атмосферных условий. Вентиляторы являются неотъемлемой частью многих технологических установок металлургической, химической промышленности и энергетики. Вентиляторы устанавливают в системах жизнеобеспечения космических кораблей. Они служат для создания микроклимата элементов ЭВМ и других приборов радиоэлектроники.
Вентиляторы используют в фильтроочистительных установках различного назначения, в системах пневмотранспорта и пневмоники.
1.Теоретическая часть
1.1. Вентилятор
Вентиляция это регулируемый воздухообмен, осуществляемый с целью создания в помещениях жилых, общественных и промышленных зданий воздушной среды, благоприятной для здоровья и трудовой деятельности человека, а также для технологических целей.
Вентиляционные системы овокупность технических устройств, обеспечивающих воздухообмен. Побудителем движения воздуха в таких системах является вентилятор промышленный. Вентилятор сложное техническое устройство, преобразующее кинетическую энергию вращающегося колеса в кинетическую и потенциальную энергии перемещаемого объема воздуха. Существует большое многообразие типов вентиляторов, однако в вентсистемах используется всего несколько из них. От выбора типа промышленного вентилятора и соответствия поставленной задаче зависят его габариты, потребляемая мощность, технические характеристики, а также шум и некоторые другие свойства вентсистемы.
В общем случае вентилятор ротор, на котором определенным образом закреплены лопатки, которые при вращении ротора, сталкиваясь с воздухом, отбрасывают его. От положения и формы лопаток зависит направление, в котором отбрасывается воздух.
Существует несколько основных видов по типу конструкции вентиляторов, используемых для перемещения воздуха:
- осевые (аксиальные);
- центробежные (радиальные);
- диаметральные (тангенциальные).
1.2.ОСНОВНЫЕ ПАРАМЕТРЫ
Вентиляторы характеризуются следующими основными техническими характеристиками:
- Частота вращения (об/мин).
Стандартные вентиляторы оборудованы двухполюсными двигателями. Во время изменения скорости вращения вентилятора полное давление возрастает, производительность и потребление энергии меняются следующим образом:

- Напряжение и частота.
В стандартной версии моторы сконструированы для частоты сети 50 Гц и напряжения 230/400 В /Y и 400 В трехфазного тока в соответствии с IEC 38.
Моторы, рассчитанные на частоту сети 60 Гц, также сконструированы в соответствии с IEC 38. Моторы для специальных напряжений и частот, как и моторы с возможностью работы при различных напряжениях поставляются по запросу.
При трехфазном электропитании максимальное допустимое напряжение 660 В. При изменении частоты сети скорость вращения рабочего колеса, полное повышение давления, производительность и потребляемая мощность вентилятора меняются следующим образом:

В вентиляторах высокого давления с моторами, рассчитанными на 60 Гц, передаточное число ременного привода подобрано таким образом, что их характеристические кривые соответствуют характеристическим кривым вентиляторов, рассчитанных на 50 Гц.
- Полное создаваемое давление (Па)
При движении воздуха в подсоединенных к вентилятору воздуховодах давление, которое развивает вентилятор, используется для преодоления сил сопротивления, возникающих во всей системе воздуховодов. При этом давление воздуха (а оно, как известно, бывает статическим, динамическим и полным) может подвергаться изменениям на всем протяжении воздуховода, и напрямую зависит от вида, значений и размещения местных сопротивлений.
Рассмотрим самый простой случай, когда воздуховод абсолютно прямой и имеет на всей своей протяженности одинаковое поперечное сечение. В этом случае скорость движения воздуха и, соответственно, динамическое давление будут одинаковы в любой точке как нагнетательной, так и всасывающей линий. Если не брать во внимание значение местного сопротивления, возникающего при входе воздуха в воздуховод, а также на выходе из него, то мы будем иметь ситуацию, когда создаваемое вентилятором давление будет расходоваться только на преодоление сил сопротивления трению.
Относительное полное и статическое давление во всасывающем воздуховоде может иметь отрицательную величину, в то время как динамическое давление всегда будет иметь положительное значение. Когда вентилятор находится в состоянии бездействия, абсолютное статическое давление на всей протяженности воздуховода эквивалентно атмосферному давлению. Относительное статическое давление в такой ситуации будет равно нулю.
Воздух в воздуховоде находится в неподвижном состоянии и имеет скорость, равную нулю, поэтому и динамическое давление в воздуховоде будет равно нулю. При запуске вентилятора неподвижный воздух приходит в движение и начинает создавать разрежение на входном (всасывающем) воздуховоде. Как следствие этого процесса абсолютное статическое давление на входе воздуховода становится меньше атмосферного давления. В результате разности давлений, возникших в системе, воздух начинает поступать во входной воздуховод.
Относительное полное давление в сечении всасывающего отверстия воздуховода будет состоять из положительного динамического давления и отрицательного относительного статического давления, преодолевающего сопротивление на входе воздуховода. В этом случае коэффициент местного сопротивления для входа будет равен единице, а относительное статическое давление будет эквивалентно динамическому. Таким образом относительное полное давление во всасывающем сечении воздуховода будет равно нулю.
Поскольку мы рассматриваем случай, когда скорость передвижения воздуха в системе вентиляции является величиной постоянной благодаря постоянному сечению воздуховода по всей его протяженности, то в любой точке сечения воздуховода динамическое давление будет являться величиной постоянной.
В связи с этим сопротивление трению можно будет преодолеть только путем изменения статического давления. А так как потеря давления на преодоление сопротивления может быть выражена как линейная функция от длины воздуховода, то и изменение статического давления на всем протяжении воздуховода будет также выражаться линейной зависимостью (но только при условии постоянства его поперечного сечения). Таким образом, создаваемое вентилятором полное давление будет разностью полного давления после вентилятора и полного давления до него.
- Расход воздуха (м3/ч)
Расход воздуха можно определить по формуле:
Q= VS,
где Q - расход воздуха, м3/с;
V - скорость воздуха в сечении, м/с (замеряется при помощи анемометра);
S - площадь сечения, м2 (замеряется при помощи рулетки).
А вообще все зависит от исходных данных.
- Уровень создаваемого звукового давления (дБ).
Исходными данными для акустического расчета являются:
- план и разрез помещения с расположением технологического и инженерного оборудования и расчетных точек;
- сведения о характеристиках ограждающих конструкций помещения (материал, толщина, плотность и др.);
- шумовые характеристики и геометрические размеры источников шума.
Шумовые характеристики технологического и инженерного оборудования в виде октавных уровней звуковой мощности Lw, корректированных уровней звуковой мощности LwA, а также эквивалентных LwAэкв и максимальных LwAмакс корректированных уровней звуковой мощности для источников непостоянного шума должны указываться заводом-изготовителем в технической документации.
Допускается представлять шумовые характеристики в виде октавных уровней звукового давления L или уровней звука на рабочем месте LA (на фиксированном расстоянии) при одиночно работающем оборудовании.
- КПД (коэффициент полезного действия).
Коэффициент полезного действия (КПД) характеристика эффективности системы (устройства, машины) в отношении преобразования или передачи энергии. Определяется отношением полезно использованной энергии к суммарному количеству энергии, полученному системой; обозначается обычно (« эта»). = Wпол/Wcyм. КПД является безразмерной величиной и часто измеряется в процентах. Математически определение КПД может быть записано в виде:
,
где А полезная работа, а Q затраченная работа.
В силу закона сохранения энергии КПД всегда меньше единицы или равен ей, то есть невозможно получить полезной работы больше, чем затрачено энергии.
- Потребляемая мощность (Вт)
Существует много механизмов, работающих продолжительно с неизменной или мало меняющейся нагрузкой без регулирования скорости, например насосы, компрессоры, вентиляторы и т.п. При выборе электродвигателя для такого режима необходимо знать мощность, потребляемую механизмом. Если эта мощность неизвестна, ее определяют теоретическими расчетами или расчетами по эмпирическим формулам с использованием коэффициентов, полученных из многочисленных опытов. Для малоизученных механизмов необходимую мощность определяют путем снятия нагрузочных диаграмм самопишущими приборами на имеющихся уже в эксплуатации аналогичных установках либо путем использования нормативов потребления энергии, полученных на основании статистических данных, учитывающих удельный расход электроэнергии при выпуске продукции.
При известной мощности механизма мощность электродвигателя выбирается по каталогу с учетом КПД промежуточной передачи. Расчетная мощность на валу электродвигателя:

где PM - мощность, потребляемая механизмом; П - КПД передачи.
Номинальная мощность электродвигателя, принятого по каталогу, должна быть равна или несколько больше расчетной.
Выбранный электродвигатель не нуждается в проверке по нагреву или по перегрузке, так как завод-изготовитель произвел все расчеты и испытания, причем основанием для расчетов являлось максимальное использование материалов, заложенных в электродвигателе при его номинальной мощности. Иногда, однако, приходится проверять достаточность пускового момента, развиваемого электродвигателем, учитывая, что некоторые механизмы имеют повышенное сопротивление трения вначале трогания с места (например, транспортеры, некоторые механизмы металлорежущих станков).
Мощность (кВт) электродвигателя для насоса определяется по формуле:

где
- коэффициент запаса, принимаемый 1,1-1,3 в зависимости от мощности электродвигателя;
- ускорение свободного падения;
- подача (производительность) насоса, м/с;
- расчетная высота подъёма, м;
- плотность перекачиваемой жидкости, кг/м; нас - КПД насоса (для поршневого 0,7-0,9; для центробежного с давлением свыше 0,4105Па 0,6-0,75, с давлением до 0,4105 Па 0,45-0,6); п - КПД передачи, равный 0,9-0,95;
- давление, развиваемое насосом, Па.
Для центробежного насоса особенно важен правильный выбор частоты вращения электродвигателя, так как производительность насоса Q, расчетная высота H, момент М и мощность Р на валу электродвигателя зависят от угловой скорости W. Для одного и того же насоса значения Q1, H1, M1, P1 при W1 связаны со значениями Q2, H2, M2, P2 при скорости W2 соотношениями Q1/Q2=W1/ W2; H1/H2=M1/M2=W21/ W22; P1/ P2=W31/ W32.
Из этих соотношений следует, что при завышении угловой скорости электродвигателя потребляемая им мощность резко возрастает, что приводит к перегреву его и выходу из строя. При заниженной скорости создаваемый насосом напор может оказаться недостаточным, и насос не будет перекачивать жидкость.
1.3 Центробежные (радиальные)
1.3.1 Основные понятия и параметры
Центробежными вентиляторами называют машины для перемещения чистых газов и смесей газов с мелкими твердыми материалами, имеющие степень повышения давления не более 1,15 при плотности потока 1,2 кг/м3. Характерным признаком центробежного вентилятора является повышение давления за счет работы центробежной силы газа, движущегося в рабочем колесе от центра к периферии.
При незначительном повышении давления газа изменением его термодинамического состояния можно пренебречь. Поэтому к центробежным вентиляторам применима теория машины для несжимаемой среды.
Центробежные вентиляторы широко распространены в промышленности и коммунальном хозяйстве для вентиляции зданий и отсасывания вредных веществ в технологических процессах.
В теплоэнергетических установках центробежные вентиляторы применяются для подачи воздуха в топочные камеры котлов, перемещения топливных смесей в системах пылеприготовления, отсасывания дымовых газов и выброса их в атмосферу.
Конструктивное устройство центробежного вентилятора простейшего типа показано на рисунке 1.

Рисунок 1 Центробежный вентилятор
1 ступица; 2 основной диск; 3 рабочие лопатки; 4 передний диск; 5 лопастная решетка; 6 корпус; 7 шкив; 8 подшипники; 9 станина; 10, 11 фланцы.
Рабочее колесо вентилятора состоит из литой ступицы 7, жестко сопряженной с основным диском 2. Рабочие лопатки 3 крепятся к основному диску 2 и переднему диску 4, обеспечивающему необходимую жесткость лопастной решетки 5. Корпус 6 вентилятора крепится к литой или сварной станине 9, на которой располагаются подшипники 8, несущие вал вентилятора с посаженным на него рабочим колесом. На корпусе вентилятора установлены фланцы 10 и 11 для крепления всасывающей и напорной труб.
Центробежные вентиляторы выпускаются заводами в определенных геометрических сериях. Каждая серия характеризуется постоянством отношений сходственных размеров; размеры отдельных машин и их рабочие параметры в серии различны.
Обозначение центробежных вентиляторов в соответствии с государственными стандартами включает букву Ц, указывающую на основной признак типа центробежный, пятикратное значение коэффициента полного давления в режиме при max, округленное до целого числа, и значение коэффициента быстроходности в режиме max,, также округленное до целого числа. Обозначение вентилятора включает и его номер, представляющий собой значение диаметра D2, выраженное в дециметрах. Например, центробежный вентилятор с диаметром рабочего колеса 400 мм, имеющий при максимальном КПД коэффициент полного давления 0,86 и быстроходность 70, обозначается Ц4704.
Характерной конструктивной величиной центробежного вентилятора является отношение выходного и входного диаметров межлопастных каналов рабочего колеса D2/D1. В обычных конструкциях это отношение выбирается небольшим (1,21,45), радиальная длина лопасти составляет (0,0840,16)D2.
Теоретический напор вентилятора определяется по уравнению Эйлера, которое с учетом радиального входа потока (c1u = 0) можно записать в следующем виде:
Нт = u2c2u/g
Отсюда теоретическое давление вентилятора:
рт = u2с2u,
где средняя плотность перемещаемого газа, кг/м3.
В реальном вентиляторе часть давления теряется в проточной части.
Если поток газа на входе в вентилятор имеет параметры p1ст и с1, а на выходе р2ст и с2, то полное давление, развиваемое вентилятором:
где статическое давление потока соответственно на выходе и входе вентилятора, Па;
с1, с2 соответствующие скорости потока, м/с.
Работа вентилятора при заданной частоте вращения характеризуется объемной подачей Q, полным давлением р, мощностью N и полным КПД .
Полезная мощность (Вт) вентилятора определяется по формуле:
Nпол = р·Q,
где Q объемная подача (производительность) вентилятора, м3/с.
Мощность на валу (эффективная мощность) N обычно определяется при испытании вентилятора.
Вентиляторы характеризуются двумя КПД: полным и статическим, так как в некоторых случаях для вентиляторов характерно не полное давление, ими развиваемое, а лишь статическая часть его рст или соответственно статический напор Нст.
Статический КПД дополняет оценку эффективности вентилятора, так как в полной энергии, сообщаемой потоку газа, существенную долю составляет кинетическая энергия. Ориентировочно ст меньше на 2030 %.
Мощность двигателя для привода вентилятора (кВт) выбирают с запасом на возможные отклонения рабочего режима от расчетного:
где полный КПД вентилятора;
пвр, КПД передачи.
При непосредственном соединении валов двигателя и вентилятора
= 1, при клиноременной передаче пвр = 0,92.
Коэффициент быстроходности вентилятора характеризует конструкцию рабочего колеса, следовательно, способность создавать давление. Если принять плотность воздуха = 1,2 кг/м3, то
Для каждого типа вентилятора характерно определенное значение коэффициента быстроходности:
Центробежные высокого давления 1030,
Центробежные низкого и среднего давления с лопатками:
отогнутыми вперед 3060
отогнутыми назад 5080
Центробежные двустороннего всасывания 80120.
1.3.2. Характеристики и регулирование подачи центробежных вентиляторов
Характеристиками вентиляторов называют графики зависимостей напоров, мощности на валу и КПД от объемной подачи. Характеристики получают по результатам непосредственных испытаний вентиляторов при постоянной частоте вращения и строят для воздуха с = 1,2 кг/м3.
Регулирование подачи вентиляторов можно производить:
1. Изменением частоты вращения вала вентилятора;
2. Дросселированием на входе и выходе вентилятора;
3. Направляющим аппаратом различных конструкций на входе.
Первый способ требует применения электродвигателей с переменной частотой вращения (коллекторных или двухскоростных). Возможно применение двигателей с постоянной частотой вращения при включении между валами двигателя и вентилятора как вариатора частоты вращения (обычно гидромуфты). В обоих вариантах вентиляторная установка усложняется и удорожается, поэтому такой способ регулирования применяется только для крупных вентиляторов в особо ответственных установках.
В некоторых случаях для привода вентиляторов применяют электродвигатели с фазовым ротором, в которых с помощью специальных контактных колец и реостата можно регулировать сопротивление в цепи ротора и таким образом изменять частоту вращения вала.
В настоящее время для регулирования подачи вентиляторов изменением частоты вращения применяют приводные двигатели с теристорными преобразователями частоты.
Второй способ применяется очень широко ввиду его конструктивной простоты. Например, вентиляторы малых и средних размеров, приводимые асинхронными короткозамкнутыми двигателями, регулируются этим единственно доступным для них способом.
Третий способ распространен для вентиляторов с большой подачей в шахтных установках и, особенно в станционной теплоэнергетике (дутьевые вентиляторы, дымососы).
По затратам энергии на привод в режимах регулирования при одинаковых подачах указанные способы неравноценны.
Для любых типов вентиляторов худшим способом регулирования является дроссельный, требующий наибольших затрат энергии.
1.3.3. Конструктивное выполнение вентиляторов общего назначения
Конструкция вентилятора определяется его аэродинамической схемой, под которой понимается схематический чертеж его проточной части с указанием основных размеров в долях наружного диаметра колеса.
Конструктивная форма и размеры вентилятора определяются его подачей, давлением и частотой вращения.
Формы рабочих колес вентиляторов даны на рисунке 2.

Рисунок 2 Формы рабочих колес центробежных вентиляторов
а барабанная; б кольцевая, в, г с коническими покрывающими дисками;д, е соответственно однодисковых и бездисковых.
Формы, показанные на рис. 2а, б, свойственны вентиляторам низкого давления с лопатками, загнутыми вперед; формы, приведенные на рис. 2бг, характерны для вентиляторов низкого, среднего и высокого давлений с лопатками, загнутыми назад.
Форма, показанная на рис. 2г, применяется для колес большой подачи и находит применение, в частности, для дутьевых вентиляторов и дымососов ТЭС.
Открытые однодисковые и бездисковые колеса форм (рис. 2д, е) применяются в пылевых вентиляторах, служащих для подачи смесей газов с твердыми частицами, например в системах пылеприготовления ТЭС.
В вентиляторах применяются все три типа лопастей.
По назначению вентиляторы подразделяются на следующие группы: вентиляторы общего назначения (Ц); вентиляторы дутьевые (БД); дымососы (Д); вентиляторы горячего дутья (ВГД); вентиляторы мельничные (ВМ); вентиляторы специального назначения.
По направлению вращения рабочего колеса различают вентиляторы правого вращения (колесо вращается по направлению движения часовой стрелки, если смотреть со стороны привода) и левого вращения. По направлению выхода газа вентиляторы изготовляются с различными положениями корпуса.
Вентиляторы общего назначения по полному давлению, создаваемому при номинальном режиме, подразделяются на вентиляторы низкого (до 1 кПа), среднего (от 1 до 3 кПа) и высокого (свыше 3 кПа) давления.
К вентиляторам низкого давления относятся вентиляторы средней и большой быстроходности. Рабочие колеса этих вентиляторов имеют широкие листовые лопатки. Окружная скорость вращения колес составляет менее 50 м/с.
Вентиляторы низкого давления используются в вентиляционных системах.
Вентиляторы среднего давления имеют окружную скорость до 80 м/с, лопатки этих вентиляторов выполняются как загнутыми вперед, так и назад и применяются как в вентиляционных, так и технологических установках различного назначения.
Вентиляторы высокого давления имеют окружную скорость свыше 80 м/с, лопатки загнуты назад.
Широкое применение в промышленности получили вентиляторы общего назначения, которые используются для перемещения воздуха и неагрессивных газов с температурой до 80 °С, не содержащих вредных веществ, волокнистых материалов, а также твердых примесей в количестве более 100 мг/м3. Это одноступенчатые со спиральными корпусами и горизонтально расположенной осью вращения машины, которые имеют рабочие колеса диаметром от 200 до 3150 мм (указаны на рисунке 3) и обеспечивают производительность до 30 м3/с и давление до 11 кПа.

Рисунок 3 Центробежный вентилятор общепромышленного назначения:
1 входной патрубок; 2 корпус; 3 рабочее колесо; 4 вал; 5 стойка; 6 подшипники; 7 шкив; 8 фланец выходного патрубка.
Вентиляторы общего назначения маркируются аналогично центробежным вентиляторам. Например, вентилятор с диаметром рабочего колеса 800 мм, имеющий при максимальном КПД р = 0,86 и ns = 70, обозначается Ц470 №8. Вентиляторы общего назначения выпускаются по четырем основным аэродинамическим схемам: Ц470, Ц476, Ц1446, Ц1028.
1.4. Осевые (аксиальные) вентиляторы
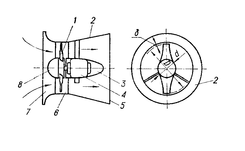
Данный вид вентилятора содержит лопасти (указаны рисунке 4) (в некоторых случаях вместо понятия «лопасти» применяется понятие «лопатки»), которые перемещают воздух вдоль оси, вокруг которой они вращаются. В виду совпадения направления движения всасываемого и нагнетаемого воздуха, а также, в большинстве случаев, простоты изготовления, этот вид вентилятора является наиболее распространенным.
Рисунок 4 Чертёж осевого вентилятора
1 осевое лопастное рабочее колесо;2 диффузор; 3,8 обтекатель;
4 электродвигатель; 5 выходное отверстие; 6 цилиндрический кожух; 7 входной коллектор.
Примеры применения аксиальных вентиляторов: малые вентиляторы охлаждения электроники (кулеры), бытовые вентиляторы, вентиляторы для турбовентиляторных авиационных двигателей, шахтные вентиляторы, вентиляторы дымоудаления, вентиляторы аэродинамических труб.
1.4.1.Турбовентиляторный двигатель
Турбовентиляторным двигателем в популярной литературе обычно называют ТРДД с высокой (выше 2) степенью двухконтурности (указан на рисунке 5). В данном типе двигателей используется одноступенчатый вентилятор большого диаметра, обеспечивающий высокий расход воздуха через двигатель на всех скоростях полета, включая низкие скорости при взлёте и посадке. По причине большого диаметра вентилятора сопло внешнего контура таких ТРДД становится достаточно тяжёлым и его часто выполняют укороченным, со спрямляющими аппаратами (неподвижными лопатками, поворачивающими воздушный поток в осевом направлении). Соответственно, большинство ТРДД с высокой степенью двухконтурности -без смешения потоков.

Рисунок 5 Турбовентиляторный двигатель
Устройство внутреннего контура таких двигателей подобно устройству ТРД, последние ступени турбины которого являются приводом вентилятора.
Внешний контур таких ТРДД, как правило, представляет собой одноступенчатый вентилятор большого диаметра, за которым располагается спрямляющий аппарат из неподвижных лопаток, которые разгоняют поток воздуха за вентилятором и поворачивают его, приводя к осевому направлению, заканчивается внешний контур соплом.
По причине того, что вентилятор таких двигателей, как правило, имеет большой диаметр, и степень повышения давления воздуха в вентиляторе невысока - сопло внешнего контура таких двигателей достаточно короткое. Расстояние от входа в двигатель до среза сопла внешнего контура может быть значительно меньше расстояния от входа в двигатель до среза сопла внутреннего контура. По этой причине достаточно часто сопло внешнего контура ошибочно принимают за обтекатель вентилятора.
ТРДД с высокой степенью двухконтурности имеют двух- или трёхвальную конструкцию.
Главным достоинством таких двигателей является их высокая экономичность. Недостатки - большие масса и габариты. Особенно - большой диаметр вентилятора, который приводит к значительному лобовому сопротивлению воздуха в полете. Область применения таких двигателей дальне- и среднемагистральные коммерческие авиалайнеры, военно-транспортная авиация.
1.4.2. Шахтный вентилятор
Шахтный вентилятор - стационарное шахтное оборудование, используемое для обеспечения воздухообмена в подземных горных выработках (рисунок 6). К шахтным вентиляторам относятся также вентиляторы для проветривания тоннелей и станций метрополитенов.

Рисунок 6 Шахтный вентилятор
1 корпус; 2 колесо рабочее; 3 электродвигателью.
Характеристики шахтных вентиляторов:
- мощность электродвигателя - до 6000 КВт;
- напряжение питания электродвигателя - до 6 КВ;
- частота вращения - до 1500 мин- (для главного проветривания -метрополитенов - до 600 мин-);
- производительность - до 1200 м/с;
- давление - до 9,2 КПа;
- уровень шума - до 120 дБ(А) (для главного проветривания метрополитенов - не более 105 дБ(А));
- КПД - до 0,88 (для главного проветривания метрополитенов не менее 0,85).
Применение шахтных вентиляторов: проветривание шахт, а также тоннелей и станций метрополитенов.
- Рабочие инструменты шахтных вентиляторов.
Центробежные шахтные вентиляторы:
- опор ротора;
- ротор;
- рабочее колесо;
- кожух;
- входная коробка;
- направляющий аппарат;
- привод направляющего аппарата;
- электропривод с аппаратурой управления и контроля;
- маслостанция.
Осевые шахтные вентиляторы:
- приводной электродвигатель;
- тормоз;
- трансмиссионный вал;
- муфта;
- опора ротора;
- ротор;
- направляющий аппарат;
- колеса ротора;
- спрямляющий аппарат;
- корпус;
- диффузор.
1.4.3. Аэродинамическая труба
Аэродинамическая труба - это экспериментальная установка, разработанная для изучения эффектов, проявляющихся при обтекании твёрдых тел (самолётов, автомобилей, ракет, мостов, зданиий и др.) потоком, а также для экспериментального изучения аэродинамических явлений (указаны на рисунке 7).

Рисунок 7 Аэродинамическая труба
1 всасывающий патрубок аэродинамической трубы; 2 модель здания; 3 подставка под модель, имитирующая поверхность земли; 4 выходной патрубок аэродинамической трубы; 5 рабочая часть трубы; 6 решетка у выходного патрубка аэродинамической трубы; 7 поворотные лопатки; 8 вентилятор с изменяемым углом атаки лопаток; 9 электродвигатель.
Аэродинамическая труба состоит из одного или нескольких вентиляторов (или других устройств нагнетания воздуха), которые нагнетают воздух в трубу, где находится модель исследуемого тела, тем самым создаётся эффект движения тела в воздухе с большой скоростью (принцип обращения движения).
Аэродинамические трубы классифицируют по диапазону возможных скоростей потока (дозвуковые, трансзвуковые, сверхзвуковые, гиперзвуковые), размеру и типу рабочей части (открытая, закрытая), а также поджатию соотношению площадей поперечных сечений сопла трубы и форкамеры. Также существуют отдельные группы аэродинамических труб:
- высокотемпературные - дополнительно позволяют изучать влияние больших температур и связанных с ними явлений диссоциации и ионизации газов;
- высотные - для исследования обтекания моделей разреженным газом (имитация полёта на большой высоте);
- аэроакустические - для исследования влияния акустических полей на прочность конструкции, работу приборов и т. п.
Исследование характеристик надводных и подводных частей корпуса судов приходится выполнять с использованием дублированных моделей, что позволяет удовлетворить условию непротекания по поверхности раздела сред. В качестве альтернативы возможно использование специального экрана, имитирующего поверхность воды.
Типовые эксперименты:
- Измерение давлений по поверхности тела.
Для исследования необходимо изготовить дренированную модель тела - в поверхности модели выполняются отверстия, которые соединяются шлангами с манометрами .
В гидромеханике доказано, что давление без изменений передается поперек пограничного слоя , что позволяет рассчитать сопротивление давления тела по результатам измерения давлений.
- Измерение сил и моментов, действующих на тело
Для исследования необходимо подвесить модель на многокомпонентном динамометре (аэродинамические весы) либо на системе растяжек, позволяющей измерять натяжение каждой растяжки. Пересчет сил и моментов, действующих на тело осуществляется в соответствии с критерием подобия Рейнольдса.
- Визуализация течений
Для решения этой задачи используют шерстяные нити (шелковинки), наклеенные на поверхность модели либо закрепленные на проволочной сетке. Возможна постановка эксперимента с подачей цветного дыма в характерные зоны потока, но продолжительность такого эксперимента (в трубах с повторной циркуляцией воздуха), как правило, весьма мала вследствие общего задымления всего аэродинамического тракта.
1.4.4. Дымоудаление
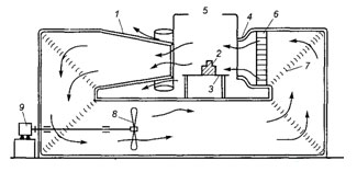
Дымоудаление - процесс удаления дыма и подачи чистого воздуха системой приточно-вытяжной противодымной вентиляции зданий для обеспечения безопасной эвакуации людей из здания при пожаре, возникшем в одном из помещений. Работа системы противодымной защиты подвержена действию множества с трудом поддающихся учёту факторов, в основе которых лежат сложные, многообразные явления, наблюдаемые при пожаре: химические реакции горючих материалов с кислородом воздуха, сложный теплообмен ,диффузия, турбулентное перемешивание пространственных неизотермических потоков воздуха и продуктов горения (схема вентилятора указана на рисунке 8)

Рисунок 8 Дымоудаление
1 корпус клапана; 2 заслонка; 3 электромагнит; 4 сердечник эл/магнита; 5скоба; 6 ось поворота заслонки ; 7 микропереключатель; 8 рычаг; 9коробка соединительная.
Система противодымной защиты здания или сооружения должна обеспечивать защиту людей на путях эвакуации и в безопасных зонах от воздействия опасных факторов пожара в течение времени, необходимого для эвакуации людей, или всего времени развития и тушения пожара посредством удаления продуктов горения и термического разложения и (или) предотвращения их распространения.
Системами противодымной вентиляции защищаются помещения не имеющие естественного освещения.
Применение систем общеобменной вытяжной вентиляции для дымоудаления на пожаре может существенно изменить газообмен и динамику пожара в целом, поэтому решение об их использовании принимает руководитель тушения пожара (РТП).
1.5. Вентилятор диаметрального сечения(тангенциальный)
Тангенциальный вентилятор - тип вентиляторов, в котором перемещение воздуха происходит в плоскости, перпендикулярной оси вращения рабочего колеса(показан на рисунке 9).

Рисунок 9 Диаметральный вентилятор
1лопастное колесо; 2 кожух; 3направляющий аппарат; 4коробка; 5коленообразная часть кожуха; 6диффузор.
Рабочее колесо тангенциального вентилятора выполнено в форме продолговатого цилиндра. Вместо стенок у цилиндра крыльчатка из загнутых вперед лопастей. Крыльчатка тангенциального вентилятора встроена в корпус в форму диффузора, напоминающий корпус центробежного вентилятора. Только воздух забирается не с торца вентилятора, а по всей его длине с фронтальной стороны устройства. Воздух увлекается вращающимися лопатками, а потом благодаря диффузору приобретает ускорение в нужном направлении.
Тангенциальные вентиляторы широко применяются в кондиционерах, воздушных завесах, фанкойлах и других устройствах, где не важен напор воздуха. Отличительной особенностью тангенциальных вентиляторов можно назвать большой расход воздуха, низкий уровень шума и низкий создаваемый напор. Именно эта особенность и определяет невозможность осуществлять глубокую фильтрацию воздуха при помощи бытового кондиционера. Любой фильтр тонкой очистки создает высокое сопротивление потоку воздуха. И в бытовом кондиционере установка такого фильтра приседет к неработоспособности системы.
1.5.1 Кондиционеры
Кондиционер - это устройство для поддержания оптимальных климатических условий в квартирах, домах, офисах, автомобилях, а также для очистки воздуха в помещении от нежелательных частиц. Предназначен для снижения температуры воздуха в помещении при жаре, или (реже) - повышении температуры воздуха в холодное время года в помещении. Устройство кондиционера настенного типа изабражено на риснке 10.

Рисунок 10 Устройство кондиционера настенного типа
1 компрессор; 2 четырехходовой клапан; 3 теплообменник-конденсатор и капиллярная трубка; 4 звукоизоляция;5 вентилятор;6 жалюзи кожуха;7 выходная решетка;8 двухходовой клапан;9 трехходовый клапан; 10 поддон;11 сливной патрубок.
Виды:
- Центральные кондиционеры - это промышленные агрегаты, которые применяются для обработки воздуха в крупных коммерческих и административных зданиях, плавательных бассейнах, промышленных предприятиях и других. Центральный кондиционер является неавтономным, то есть для работы ему необходим внешний источник холода: вода от чиллера, фреон от внешнего компрессорно-конденсаторного блока или горячая вода от системы центрального отопления, бойлера. Основными целевыми функциями данных систем являются: комфортная вентиляция с рекуперацией тепла, нагревом и охлаждением; вентиляция и осушение в помещениях плавательных бассейнов; промышленная вентиляция с рекуперацией и без рекуперации тепла. Обработанный центральными кондиционерами воздух по сети воздуховодов распределяется по всему помещению.
- Прецизионные кондиционеры в основном такой кондиционер применяется в помещениях, требующих поддержания заданных параметров с высокой надёжностью и точностью, таких как медицинские учреждения, производственные помещения, лаборатории, посты управления, узлы связи, залы электронных вычислительных машин, диспетчерские пункты и другие помещения. Представляет собой моноблок, который содержит вентагрегат, фильтр, холодильную машину с фреоновым воздухоохладителем, водяной воздухонагреватель и электрокалорифер. Применяется кондиционер как в системах с рециркуляцией воздуха, так и в системах со 100 % приточным воздухом.
- Автономные системы кондиционирования воздуха снабжаются извне только электрической энергией, например, шкафные кондиционеры и тому подобное. Такие кондиционеры имеют встроенные компрессионные холодильные машины, работающие на фреоне-R22, R134A, R407C. Автономные системы охлаждают и осушают воздух, для чего вентилятор продувает рециркуляционный воздух через поверхностные воздухоохладители, которыми являются испарители холодильных машин, а в переходное или зимнее время они могут производить подогрев воздуха с помощью электрических подогревателей или методом реверсирования работы холодильной машины, по циклу так называемого «теплового насоса».
Большинство бытовых кондиционеров не могут работать при отрицательных наружных температурах, особенно в режиме подогрева, поэтому в средних широтах использовать их вместо обычных систем отопления можно только в переходный период. Кондиционеры, адаптированные к работе и при отрицательных температурах, называются всесезонными (или - кондиционерами с всесезонным блоком).
Для охлаждения небольших объёмов (например, внутренних полостей какого-либо оборудования, процессоров ПК) иногда используют кондиционеры, основанные на элементах Пельтье. Такие кондиционеры бесшумны, легки, не имеют движущихся деталей, надёжны и компактны. Но имеют очень ограниченную холодопроизводительность, дороги и менее экономичны.
Кондиционер воздуха, работающий на наружном воздухе, называется приточным; на внутреннем воздухе - рециркуляционным; на смеси наружного и внутреннего воздуха - кондиционером с рекуперацией.
- Мобильные - кондиционеры, не требующие монтажа; для использования достаточно вывести гибкий шланг или особый блок из помещения для отвода тёплого воздуха. Конденсат обычно скапливается в поддоне в нижней части мобильного кондиционера.
- Моноблочный кондиционер - новый тип кондиционеров, для использования необходимо два отверстия в стене. Преимущества: простой монтаж и обслуживание, отсутствие разъёмных соединений во фреоновой магистрали и, как следствие, отсутствие утечки фреона, максимально возможный коэффициент полезного действия, длительный срок службы, низкий уровень шума. Недостаток: высокая цена
- Оконное состоящие из одного блока; монтируются в окне, стене и прочее. Недостатки: высокий уровень шума, уменьшение освещённости помещения из-за сокращения площади оконного проёма. Преимущества: дешевизна, лёгкость монтажа и последующего обслуживания, отсутствие разъёмных соединений во фреоновой магистрали и, как следствие, отсутствие утечки фреона, максимально возможный коэффициент полезного действия, длительный срок службы.
- Сплит-системы - состоят из двух блоков, внутреннего и наружного размещения, соединённых между собой трассой фреонопровода (обычно используются медные трубки). Наружный блок содержит (подобно холодильнику) компрессор, конденсатор, дроссель и вентилятор; внутренний блок - испаритель и вентилятор. Различаются по типу исполнения внутреннего блока: настенный, канальный, кассетный, напольно-подпотолочный (универсальный тип), колонный и другие.
- Мульти-сплит системы - состоят из наружного блока и нескольких, чаще двух, внутренних блоков, связанных между собой трассой фреонопровода. Как и обычные, сплиты различаются по типу исполнения внутренних блоков.
- Системы с изменяемым расходом хладагента (VRF, VRV и так далее) состоят из одного наружного блока (при необходимости увеличения общей мощности могут использоваться комбинации наружных блоков) и из некоторого количества внутренних блоков. Особенность систем состоит в том, что наружный блок меняет свою холодопроизводительность (мощность) в зависимости от потребностей внутренних блоков по данной мощности.
1.6.Аэродинамические характеристики вентиляторов
Под аэродинамическими характеристиками вентиляторов понимают производительность вентилятора в зависимости от значения давления воздуха в сети. Так, давление с определенным значением соответствует определенному удельному расходу воздушной массы. Данная зависимость проиллюстрирована на графике 1.

График 1 Аэродинамические характеристики вентилятора и сети воздуховода
График характеристики сети наглядно демонстрирует зависимость производительности вентилятора от значения давления воздуха в сети. На данном графике рабочей точкой вентилятора является точка лежащая на пересечении кривой характеристики сети и кривой аэродинамической характеристики вентилятора. Данная точка характеризует воздушный поток для заданной сети воздуховода.
Любое изменение давления воздуха в системе дает начало новой кривой, описывающей характеристику сети. При возрастании давления характеристика сети будет соответствовать кривой «В», а при его снижении - кривой «С» это показано на графике 2. Данная зависимость справедлива при условии, что количество оборотов рабочего колеса в минуту остается неизменным.

График 2 Кривые сети в зависимости от изменения давления
Данная зависимость наглядно показывает, как расход воздуха зависит от сопротивления воздуха в сети. В зависимости от кривой сопротивления сети рабочая точка может смещаться как вверх по графику, так и вниз, понижая или, соответственно, увеличивая расход воздуха.
При этом следует учитывать, что в случае отклонения перепада давления от теоретических (расчетных) значений, и положение рабочей точки, и расход воздуха будут отличаться от расчетных.

График 3 Изменение значений скорости вентилятора
Для получения эксплуатационных характеристик сходных с теоретическими, возможно изменение значений скорости вращения рабочего колеса вентилятора, показано на графике 3. Так, например, при увеличении или уменьшении скорости вращения вентилятора можно смещать рабочие точки как вправо и вверх по графику, так и опускать их влево и вниз, изменяя тем самым расход воздуха.

График 4 Изменение давления в зависимости от скорости вращения рабочего колеса вентилятора
И в первом, и во втором случаях возможно отклонение фактических показателей давления от теоретических расчетных данных (на графике 4 изображено, как Р1 и Р2). Вследствие чего, рабочая точка для расчетной сети может определяться так, чтобы была возможность выхода на уровень наибольшей эффективности эксплуатации. При этом изменение количества оборотов рабочего колеса вентилятора (и увеличение, и уменьшение) ведет к снижению эффективности.
1.7.Эффективность и характеристики сети
Как же осуществить правильный выбор вентилятора?
Наиболее наглядным способом является графическое определение, для этого необходимо составить несколько возможных характеристик сети на графике вентилятора 5 и визуально определить между кривыми каких характеристик находится конкретный тип вентилятора. Пронумеровав кривые характеристик от 0 до 10, можно с уверенностью сказать, что вентилятор на кривой 10 имеет максимальный расход воздуха и дует свободно, а вентилятор на линии 0 «захлебнется». Вентилятор, находящийся на линии 4, будет иметь расход около 40%.

График 5 Характеристики сети (0:10) на графике вентилятора
При этом эффективность вентилятора константа вдоль всей кривой характеристики сети.
Вентиляторы, конструкция которых предусматривает наличие лопаток загнутых назад, имеют более высокий показатель эффективности, в отличие от вентиляторов с загнутыми вперед лопатками, это хорошо видно на графике 6. Однако высокий уровень эффективности возможен на небольшом участке, где кривая характеристики сети представлена более низким расходом при заданном значении давления, чем у конструкций вентиляторов с загнутыми вперед лопатками.
Для достижения расхода подобному при эксплуатации вентиляторов с загнутыми вперед лопатками, и одновременном сохранении высокой эффективности производительности, необходимо осуществлять выбор вентилятора с загнутыми назад лопатками, имеющими большие геометрические размеры.

График 6 Уровень эффективности для одинаковых размеров центробежных вентиляторов с лопатками, загнутыми назад и загнутыми вперед.
1.8.Теоретические расчеты характеристики сети

где:P общее давлении вентилятора (Па),
qv расход воздуха (м3/ч или л/с),
k постоянная.
Пример:
Вентилятор подает 5 000 м3/ч при давлении 250 Па.
A. Как изобразить характеристику сети на графике?
a) Поставьте точку на характеристике вентилятора (1), где давление составляет 250 Па , а расход 5 000 м3/час.
Введите это значение в вышеприведенную формулу для получения значения константы k.
k = P / qv2 = 250 / 50002 = 0.00001
b) Выберите произвольное снижение давления, например, 100 Па, рассчитайте расход воздуха и поставьте на графике точку (2).
|
|
c) Сделайте тоже самое для 350 Па и поставьте на графике точку 3.
|
|
d) Теперь нарисуйте кривую, которая и покажет характеристику сети, кривая указана на графике 7.

График 6 Кривая показывающая характеристику сети
B. Что же произойдет, если давление в сети увеличится на 100 Па, например, из-за забитого фильтра?
a) Рассчитайте коэффициент для новой характеристики сети:
k = 350/5000 (2) = 0,000014
b) Выберите еще два других падения давления, например, 150 и 250 Па, и рассчитайте для них расход воздуха.
|
|
|
|
м3/ч |
c) Постройте две новые точки (2 и3) и проведите новую характеристику сети. Эта характеристика указна на графике 8.

График 6 Кривая показывающая характеристику сети с двумя точками 2 и 3.
Новая рабочая точка (4) расположена на пересечении характеристики вентилятора и новой линией системы.
Данный график также показывает, что увеличение давления вызывает также уменьшение расхода воздуха примерно до 4 500 м3/час.
1.9 Аэродинамические потери сети
Характеристики вентиляторов на указанных выше графиках справедливы при том условии, что монтаж, установка и наладка вентиляторов соответствуют определенным правилам. Так, например, со стороны забора воздушной массы должен быть предусмотрен прямолинейный участок воздуховода, длиной не менее одного диаметра, а со стороны выхлопа воздушной массы - не менее трех диаметров.
В случае отступления от указанных правил, возможно возникновение значительного перепада давления, что может отрицательно сказаться на производительности вентилятора. Для того, чтобы застраховать себя от подобного случая, необходимо учитывать следующие факторы.
Со стороны забора:
- расстояние до близлежащей стены должно быть не менее, нежели 0,75 диаметра ввода;
- размеры поперечного сечения воздуховода на входе системы не должно лежать вне диапазона значений 92%...112% от диаметра входного отверстия вентилятора;
- длина воздуховода на всасывании должна превышать по значению 1 диаметр воздуховода;
- элементы воздуховода, расположенные на заборе воздушных масс, не должны иметь никаких элементов, препятствующих свободному всасыванию воздуха.
Со стороны нагнетания:
- угол сужения поперечного сечения не должен превышать 15%;
- угол увеличения поперечного сечения - не более 7%;
- длина прямолинейного участка, лежащего за вентилятором должна быть более или равной трем диаметрам воздуховода;
- по возможности, необходимо избегать элементов воздуховода имеющих угол поворота 90 градусов, рекомендуются использование отводов под 45 градусов;
- отводы должны повторять форму проходящего воздушного потока на выходе из вентилятора.
2.Расчетная часть
2.1 Исходные данные к работе и подбор вентилятора для перекачивания воздуха через адсорбер
Подобрать вентилятор для перекачивания воздуха через адсорбер. Расход воздуха 0,4 м3/с, температура 20 °С. Воздух вводится в нижнюю часть адсорбера. Давление исходного воздуха и над слоем адсорбента атмосферное. Сорбент представляет собой частицы, плотность которых т = 800 кг/м3, средний размер dч =0,00205 м, фактор формы Ф=0,8. Высота неподвижного слоя сорбента 0,65 м, порозность =0,4 м3/м3. Внутренний диаметр адсорбера D = 1,34 м. Длина трубопровода от точки забора воздуха до адсорбера составляет 20 м. На трубопроводе имеются четыре колена под углом 90° и одна задвижка.
Определяем состояние (неподвижное или псевдоожиженное) слоя.
Фиктивная скорость воздуха в аппарате:
wn=4Q/(nD2) = 4-0,4/(3,14-1,342) =0,284 м/с.
Рассчитаем критерий Архимеда по формуле (1.25):
Аг = (0,00205)31,206-9,81 (800 - 1,206) / (1,85 10-5)2=2,38 105.
Определим Reo пс c по приближенной формуле (1.26):

Скорость начала псевдоожижения найдем по формуле (1.27):
wпс=60,3-1,85-10-5/(0,00205-1,206) =0,451 м/с.
Таким образом, w0 wпс; слой находится в неподвижном состоянии.
Определим критерий Рейиольдса в слое по формуле (1.14):

Рассчитаем по формуле (1.11):
= 133/33,7 + 2,34=6,29.
Найдем гидравлическое сопротивление слоя по формуле (1.13):
=3-6,290,65(1-0.4) 1,206 - 0,2842/(40,80,43-0,00205) = 1705 Па
Примем, что гидравлическое сопротивление газораспределительной решетки и других вспомогательных устройств в адсорбере составляет 10 % от сопротивления слоя.
Тогда гидравлическое сопротивление аппарата:
=17051,1=1876 Па.
Примем скорость воздуха в трубопроводе w =10 м/с. Тогда диаметр трубопровода по формуле (1.8) равен:

Выбираем стальной трубопровод наружным диаметром 245 мм и толщиной стенки 7 мм. Тогда внутренний диаметр d=0,231 м. Фактическая скорость в трубе:
w= 0,44/ (3,14 0,231)2=9,55 м/с.
Критерий Рейиольдса для потока в трубопроводе:
Re=9,550,231 1,206/(1,8510-5) = 143800.
Примем, что трубы были в эксплуатации, имеют незначительную коррозию.
Тогда =0,15 мм.
Получим:
е= 1,510-4/0,231=6,4910-4; 1/e=1541; 10-1/ e =15410; 5601/ e 862900; 15410<Re = 143800<862900.
Таким образом, расчет следует проводить для зоны смешанного трения по формуле (1.6):
= 0,11 (6,4910-4+68/143800)0,25=0,020.
Определим коэффициенты местных сопротивлений:
- вход в трубу (принимаем с острыми краями): 1=0,5;
- задвижка: для=0,231 м 2 = 0,22;
- колено: 3=1,1;
- выход из трубы: 4=1.
Сумма коэффициентов местных сопротивлений:
=0,5+0,22+41,1 + 1 =6,12. Гидравлическое сопротивление трубопровода по формуле (1.1):
pп= (0,02020/0,231 +6,12) 1,2069,552/2= 432 Па.
Избыточное давление, которое должен обеспечить вентилятор для преодоления гидравлического сопротивления аппарата и трубопровода, равно:
p=pв + pп = 1876 +432 = 2308 Па.
Таким образом, необходим вентилятор среднего давления. Полезную мощность его находим по формуле (1.32):
N=pgQH=Qp = 0.4•2308 =923 Вт=0,923 кВт.
Принимая пер= l и н= 0,6, по формуле (1.34) найдем:
N=0,923/0,6 =1,54 кВт.
По полученным данным лучше всего удовлетворяет вентилятор Ц1-1450.
Заключение
В данной курсовой работе был подобран вентилятор для перекачивания воздуха через адсорбер на основании которых были сделаны выводы.
В ходе выполнения курсовой работы были получены навыки применения теоретических знаний при решении теплотехнических задач.
Были рассмотрены основные параметры вентиляторов, центробежного, осевого и диаметрального, а так же другие виды вентиляторов, их свойства и предназначение. Была рассчитана производительность и полезная мощность.
Список использованных источников
1. Основные процессы и аппараты химической технологии: пособие по проектированию/ Г.С. Борисов, В.П. Брыков, Ю.И. Дытнерский и др. Под ред. Ю.И. Дытнерского, 2-е изд., перераб. и дополн. М. : Химия, 2011. - 496 с;
2. Касаткин А.Г. Основные процессы и аппараты химической технологии. Учебник для химико-технологических вузов. 8-е изд. перераб. М.: Химия, 2010. 784 с.
3.Павлов, К.Ф. Примеры и задачи по курсу процессов и аппаратов химической технологии : учеб. пособие для вузов / П.Г. Романков, А.А. Носков; под ред. чл.-корр. П.Г. Романкова. - 10-е изд., перераб. и доп. - Л.: Химия, 2007. - 576 с.;
PAGE \* MERGEFORMAT1
Подобрать вентилятор для перекачивания воздуха через адсорбер



