Конструирование гражданских зданий из крупных блоков
Лекция . Конструирование гражданских зданий из крупных блоков.
Крупноблочные дома обычно проектируют бескаркасными на основе конструктивных схем:
- с продольными несущими стенами для зданий до 5 этажей;
- с поперечными несущими стенами - для многоэтажных;
- комбинированными наиболее распространена, так как позволяет применять для устройства перекрытий однотипные железобетонные настилы, элементы которых укладываются поперек здания, опирая их на наружные и внутренние продольные стены.
Стены из блочной конструкции по месторасположению подразделяют на простеночные, подоконные, перемычечные, парапетные, поясные, подкарнизные, цокольные, рядовые (рас. 5.25, 5.26 ).
По схеме разрезок фасада настенные блоки различают двухрядную, трехрядную и четырехрядную разрезки. Для зданий с высотой
этажа 2,8 м рекомендуется применять блоки с двухрядной разрезкой, а с высотой этажа 3,3 м, наряду с двухрядной, применяют трех- и четырехрядные разрезки (рис. 5.25).
По числу основных слоев наружные блоки бывают одно- и двухслойными (табл.5.3).
Наружные однослойные стеновые блоки рекомендуется проектировать сплошного сечения из легкого бетона на пористых заполнителях с
плотностью до 1600 кг/м3 и автоклавного ячеистого бетона плотностью до 800 кг/м3 (табл.5.4).
Для наружных двухслойных стен внутренний изолирующий слой рекомендуется выполнять из тяжелого бетона, а наружный утепляюший слой из легкого бетона. Толщина изолирующего слоя стеновых блоков должна быть не менее 50 мм.
Внутренние стены выполняются, как правило, однослойными из тяжелого или легкого бетона (рис. 5.26,6, ).
Толщина наружных блоков устанавливаются согласно статическим, теплотехническим и экономическим расчетам. Их можно принимать равным 200, 250, 300, 350, 400, 500, 550 и 600 мм.
Толщину внутренних стен устанавливают в соответствии с требованиями статической надежности, огнестойкости и звукоизоляции и принимают от 160 до 300 мм кратно модулю М, М/2 и М/5.
Элементы крупноблочных зданий проектируются согласно номенклатуре конструкций и изделий, предусмотренных СТБ и бывшим Общесоюзным каталогом индустриальных изделий (табл. 5.3-5.4).
В крупноблочных зданиях особое внимание уделяется узлам сопряжения блоков между собой.

Рис. 5.25. Схема разрезок наружных стен на блоки:
а, г двухрядная; б трехрядная; в четырехрядная; 1 подоконный блок; 2- перемычечный блок; 3- простеночный блок;4 блоки лестничной клетки; 5- панель перекрытия; 6 блоки внутренней стены.
В зданиях высотой до 5 этажей крупные легкобетонные блоки связывают между собой специальными стальными анкерами, привариваемыми к закладным деталям, или арматурными сетками. Вертикальные пазы блоков замоноличивают цементным раствором.
В зданиях высотой более 5 этажей крупные легкобетонные блоки связывают между собой при помощи анкеров из круглой арматурной стали, закрепляемых за подъемные петли блоков, и панелей перекрытий (рис. 5.27-5.28).
Вертикальные стыки крупных блоков наружных стен необходимо заполнять бетоном класса В7, В5 или раствором марки не менее 100.

Рис. 5.26. Детали стен из крупных легкобетонных блоков:
а,б наружные и внутренние стены; в,г парапет в здании с чердаком и без
чердака; 1 простеночные рядовые и угловые блоки; 2 перемычечный блок; 3
подоконный блок; 4 блок внутренней стены; 5 блок внутренней стены с
дверью; 6 парапетный блок; 7 панель покрытия; 8 панель перекрытия; 9 перемычечный блок.
Горизонтальные швы выполняются толщиной не более 20 мм.
Перекрытия укладывают на стены по слою раствора.
Блоки внутрениих стен соединяют между собой сваркой анкеров и накладок, предусмотренных по верху блоков.
Ввиду малой прочности соединительных стальных элементов между блоками, а также небольшого количества закладных деталей в пределах
высоты блоков крупноблочные здания рекомендуется в основном для строительства в несейсмических районах.
Таблица 5.3.
Кординационные размеры крупных блоков наружных стен
|
Типы блока по виду стены |
Типы блока по назначению |
Координационные размеры, мм |
||
|
Длина |
Высота |
Толщина |
||
|
Наружный |
Простеночный цокольный, рядовой |
400, 600, 900, 1000, 1200, 1300, 1500, 1500, 1800, 2100, 3000 |
300, 1000, 1200, 1600, 1800, 2200, 2500, 2700, 2800, 3000, 3300, 3900 |
350-600 |
|
Подоконный |
900, 1200, 1500, 1800, 2100, 2400 |
600, 800, 900, 1500 |
320-600 |
|
|
Перемычечный, поясной |
2100, 2400, 2700, 3000, 3300, 3600 |
600, 800 |
400-600 |
|
|
Подкарнизный |
400, 900, 1200, 1500, 1800, 3000, 3300 |
900, 1200, 2400, 2700 |
400-800 |
|
|
Наружные |
Карнизные плиты рядовые |
1100, 1500, 1800, 2100, |
750, 900, 1000 |
70-90 |
|
То же, угловые |
2300, 2400, 2500 |
750, 900, 1000 |
70-90 |
|
|
Прапетные |
2400, 2700, 3000, 3300, 3600 |
400, 500, 600 |
160 |
Таблица 5.4.
Кординационные размеры крупных блоков внутренних стен
|
Типы блока по виду стены |
Типы блока по назначению |
Координационные размеры, мм |
||
|
Длина |
Высота |
Толщина |
||
|
Внутренний |
Простеночный, рядовой, блоки лестничной клетки |
400, 600- 2700 |
1100, 2100, 2500, 2800, 3000, 3300 |
160, 200, 250, 300 |
|
Перемычечный, поясной |
900-3300 |
300-600 |
160, 200, 250, 300 |
|
|
Блоки чердака |
4200, 6000 |
1000, 1500, 1900, 2000 |
200 |
|
|
Вентиляционные блоки |
900 |
2800 |
300 |

Рис. 5.27. Узлы сопряжения блоков
а - простеночных угловых блоков наружных стен с рядовыми блоками; 6 - рядовых блоков наружных стен друг с другом; в - рядовых блоков наружных стен с внутренними стеновыми блоками; г, д рядовых блоков с подоконными блоками наружных стен; I простеночный угловой блок; 2 то лее рядовой; 3 рядовой блок внутреннего угла; 4 подоконный блок; 5 блок внутренней стены; 6 легкий бетон; 7 стальной анкер; 8 ~ закладная деталь; 9 - защитное покрытие; 10-герметик; 11 -утеплитель; 12-два слоя рубероида; 13 конопатка; 14 цементный раствор; 15 поясной или цокольный блок
Блоки из ячеистого бетона применяют при двухрядной разрезке для самонесущих стен.
Кирпичные блоки применяют редко для стен 2-х 4-х рядной разрезки.
Крупные блоки из природного камня применяют при 2-х 4-х рядной разрезке, где сырье для них явялется местным материалом.
При двухрядной разрезке первый ряд состоит из простеночных и подоконных блоков, второй из из перемычечных и поясных. Кроме тгог, применяют цокольные, угловые, карнизные и другие виды блоков.
Простеночные блоки по вертикальным граням имеют четверти: подоконные блоки имеют такие же четверти, обращенные в другую

Рис. 5.28 . Узлы сопряжений:
а,6,в-поясных блока, наружных стен между собой, с перекрытиями и с внутренними стенами; 1-угловой блок; 2-рядовой блок; 3-угловой блох внутреннего угла; 4-простеночный блок 5-перекрытие; 6~блок внутренней несущей стены; 7-утеплитель; 8-цементный раствор; 9-герметизация стыка: 10-бетон; 11-стальной анкер; 12-стальная накладка: 13-закладная деталь
сторону. У поясных и перемычечных блоков сверху также образована четверть по длине изделий для опирания плит перекрытий. Перемычечные блоки имеют четверти снизу для оконной коробки. У этих блоков на торцах верхней поверхности имеются закладные детали для соединениях их с другими элементами здания.
Кирпичные блоки объемом до 1 куб м, то есть весом до 3 тонн,
изготавливают заранее на стройплощадке. Для изготовления применяли легкий кирпич (дырчатый, щелевой) либо устраивают облегченную кладку. Для стен толщиной до 380 мм можно применять полнотелый кирпич.(рис.5.29 а,б).

Рис.5.29. Стена из крупных блоков:
а блок из семищелевых камней; б- блок колодцевой кладки; в трехрядная разрезка стен; г перемычечный блок с железобетонной плитой; 1 и 2 лицевой и семищелевой кирпичи; 3 сухая штукатурка; 4 сплошной кирпич с расшивкой швов4; 5 шлакобетон; 6 блок-перемычка; 7 простеночный блок; 8 подоконный блок; 9 железобетонная плита.
Блоки внутренних стен можно изготавливать из сплошного
кирпича. В качестве основной разрезки принята трехрядная (рис.5.29, в), при которой основными типами блоков являются: простеночный, перемычечный и подоконный. Толщина блоков: 380, 510 и 640 мм. Высота простеночных блоков 1090 мм, подоконных 815 мм, перемычечных 580 мм. Ширина простеночных блоков от 670 до 1780 мм, подоконных от 980 до 1980 мм, перемычечных от 1980 до 3188 мм.
Перемычечный блок (рис.5.29, г) рекомендуется применять комплексной конструкции с железобетонной плитой снизу. Это дает возможность включать пермычки в состав периметрового железобетонного пояса жесткости (или антисесйсмического).
Основные детали крупноблочных стен представлены на рис.5.30-5.33
При примыкании блоков друг к другу образуются различные стыки.
Вертикальные стыки бывают закрытые и открытые (с внутренней стороны). Закрытые стыки образуются при стыковании внутренних стен и горизонтального перемычечного ряда наружных стен (рис.5.34, а), а также простеночных и подоконных блоков (рис.5.34, б). Вертикальные стыки с обеих сторон предварительно проконопачивают пеньковой паклей или

Рис. 5.30. Внутренние стены крупноблочных зданий:
а схема двухрядной разрезки внутренних стен; б схема однорядной разрезки; в конфигурация поясных надпроемных блоков при несовпадении высот проема и простеночных блоков; блоки внутренних стен: 1 поясные; 2 простеночные; 3 однорядной разрезки; 4 настил перекрытия; 5 цементный раствор; 6- стальной анкер.
просмоленным жгутом и затем зачеканивают на глубину 20-30 мм густым раствором.
Открытые стыки получаются в результате сопряжения простеночных блоков, устанавливаемых рядом (рис.5.34,в). Шов стыка также проконопачивают пеньковой паклей и зачеканивают цементным раствором, а затем окрытый с внутренней стороны стык заделывают специальными бетонными вкладышами (или кирпичом) и образовавшийся колодец тщательно заполняют легким бетоном. Вместо конопатки стыка паклей или жгутом сейчас применяют для уплотнения стыка жгуты из пароизола, приклеиваемого на мастике «изол» и др.
При 3-х рядной разрезке простенки стены членят по высоте на два равновысоких блока, а при 4-х рядной на три блока одинаковой высоты.
Крупноблочные конструкции уступают по своему техническому индустриальному уровню, например, панельным, поэтому их применяют редко.
Фундаменты для крупноблочных зданий: ленточные из сборных железобетонных подушек и бетонных блоков либо свайные из забивных свай.
Перекрытия: многопустотные железобетонные панели.
Конструкции крыш: в зависимости от этажности и объемно-планировочного решения проектируют малоуклонными сборными железобетонными или скатными по деревянным стропилам.


Рис. 5.31. Узел сопряжения несущих конструкций 14-этажного крупноблочного здания: 1- поперечные несущие стены; 2 керамзитобетонный блок наружной стены; 3 перемычечный блок; 4 настил; 5 стальная шпонка; 6- балконняа плита; 7 стальная накладка.
Рис. 5.32. Поперечный разрез наружной стены жилого дома, выполненный из легкобетонных крупных блоков:
1 фундаментный блок-подушка; 2 гидроизоляция; 3 фундаментный стеновой блок; 4 приямок; 5 цокольный блок; 6 подоконный блок; 7 отлив; 8 подоконник; 9 перемычечный блок; 10 карнизная плита; 11 продух; 12 фартук из оцинкованной стали; 13- парапетная плита; 13 утеплитель минераловатный.

Рис. 5.33. Основные типы крупных блоков стен жилых зданий:
а блок наружной стены перемычечный; б то же, простеночный; в то же, подоконный; г то же, угловой; д то же, простеночный с круглыми пустотами; е блоки внутренней стены : 1 вертикальный, 2 горизонтальный (поясной).

Рис.5.34. Детали крупноблочных стен:
а закрытый стык блоков внутренних стен; б то же, простеночных и подоконных блоков; в открытый стык блоков наружных стен; г связь блоков наружных стен; д связь перекрытий со стенами; е связь наружных и внутренних стен; ж то же, с применением железобетонной шпонки; з - связь по верху перемычечных блоков в наружном углу; и деталь венчающего карниза стены из легкобетонных крупных блоков; к то же, из кирпичных блоков; 1 цементный раствор; 2 легкий раствор; 3 бетонный вкладыш; 4 конопатка и зачеканка; 5 железобетонная шпонка; 6 стальная закладная деталь; 7 сварной шов; 8 анкер; 9 блок-пермычка; 10 панель перекрытия; 11-пеергородка; 12 анкер пергородки; 13- стальная накладка; 14- стальная связь наружного угла; 15 карнизные блоки.
. Блоки подразделяют на следующие основные типы:
наружные
1БН - простеночные, рядовые,
2БН - подоконные,
3БН - перемычечные,
4БН - поясные,
5БН - парапетные,
6БН - подкарнизные,
7БН - цокольные;
внутренние
БВ - простеночные, рядовые, блоки лестничной клетки,
БВП - перемычечные и поясные.
Указанные обозначения типов наружных блоков, являющихся угловыми в стенах, следует дополнить прописной буквой У, а расположенных у деформационного шва - буквой Т, в лоджии - буквой Л. Например, 1БНУ - блок, наружный простеночный угловой.
Обозначение типов наружных двухслойных блоков следует дополнить прописной буквой Д. Например, 1БНД - блок наружный простеночный, двухслойный, 1БНУД - блок наружный простеночный угловой двухслойный.
2.2. Координационную длину и высоту блоков при отсутствии разделяющих элементов в местах их сопряжений со смежными конструкциями здания (например, стен перпендикулярного направления) следует принимать по табл. 1 кратными модулям 12М, 6М и 3М; в обоснованных случаях допускается принимать эти размеры кратными модулю М, равному 100 мм.
Координационную толщину блоков следует принимать по табл. 1 кратными модулю М и М/2; обоснованных случаях допускается принимать толщину блока кратной модулю М/5.
Если в местах сопряжений блоков имеются разделяющие элементы, координационную длину и высоту блоков следует определять путем уменьшения соответствующего размера, приведенного в табл.1, на величину, зависящую от координационных размеров разделяющего элемента и определяемую согласно СТ СЭВ 1001.
ГОСТ 19010-82 Стр. 3
Таблица 1
+------------------------------------------------------------------+
¦Тип блока¦ Тип блока по ¦ Координационные размеры, мм ¦
¦ по виду ¦ назначению +-------------------------------------¦
¦ стены ¦ (местоположению) ¦ Длина ¦ Высота ¦Толщина¦
¦ ¦ в стене ¦ ¦ ¦ ¦
+---------+------------------+--------------+--------------+-------¦
¦Наружный ¦ Простеночный, ¦400, 600, 900,¦300,1000,1200*¦ ¦
¦ ¦ цокольный,рядовой¦1000,1200,1300¦1600, 1800*, ¦ ¦
¦ ¦ ¦1500,1800,2100¦2200,2500,2700¦200-600¦
¦ ¦ ¦3000*, 3300 ¦2800,3000,3300¦ ¦
¦ ¦ ¦ ¦ 3900 ¦ ¦
¦ +------------------+--------------+--------------+-------¦
¦ ¦ Подоконный ¦900,1200,1500,¦600, 800, 900,¦ ¦
¦ ¦ ¦1800,2100,2400¦ 1500 ¦200-600¦
¦ +------------------+--------------+--------------+-------¦
¦ ¦ Перемычечный, ¦2100,2400,2700¦ ¦ ¦
¦ ¦ поясной ¦3000,3300,3600¦ 600,800 ¦200-600¦
¦ +------------------+--------------+--------------+-------¦
¦ ¦ Парапетный ¦400, 900, 1200¦900,1200,2400,¦ ¦
¦ ¦ ¦1500,1800,3000¦ 2700 ¦200-600¦
¦ ¦ ¦ 3300 ¦ ¦ ¦
¦ +------------------+--------------+--------------+-------¦
¦ ¦ Подкарнизный ¦900,1200,1500,¦500, 600, 900,¦ ¦
¦ ¦ ¦1800, 2100 ¦ 1200 ¦200-500¦
+---------+------------------+--------------+--------------+-------¦
¦Внутрен- ¦ Простеночный, ¦ ¦1100,2100,2500¦160,200¦
¦ний ¦ рядовой, блок ¦ 400,600-2700 ¦2800,3000,3300¦250,300¦
¦ ¦ лестничной клетки¦ ¦ ¦ ¦
¦ +------------------+--------------+--------------+-------¦
¦ ¦ Перемычечный, ¦ 900-3300 ¦ 300-600 ¦160,200¦
¦ ¦ поясной ¦ ¦ ¦250,300¦
+------------------------------------------------------------------+
#G0
---------------------------
* Только для стен производственных зданий.
Лекция. Крупнопанельные здания
Крупнопанельными называют здания, монтируемые из заранее изготовленных на заводе крупноразмерных плит, называемых панелями, из которых собирают наружные и внутренние стены, перекрытия, перегородки, балконные площадки, специальные конструкции (приборы отопления, санитарно-технические кабины). Все эти сборные элементы изготавливают на заводах, должны иметь повышенную заводскую готовность отделанные наружные и внутренние поверхности, вмонтированные окна и двери.
Панели классифицируются по следующим признакам:
- назначению в зависимости от вида здания: для жилых и общественных зданий; для производственных зданий и сооружений промышленных и сельскохозяйственных предприятий;
- условиям работы: для отапливаемых и неотапливаемых зданий и сооружений; при неагрессивной, слабо- и среднеагрессивной степени воздействия газообразной среды на панели;
- восприятию нагрузок: несущие; ненесущие.
Ненесущая панель панель, не предназначенная для опирания на нее конструкций здания (кроме оконных и дверных блоков и легких межоконных вставок). Несущая панель панель, предназначенная для опирания на нее конструкций здания;
типу разрезки: однорядные; полосовые;
- числу основных слоев: однослойные (рис. 5.35); слоистые или многослойные (при числе основных слоев два и более) Слоистые панели могут быть сплошными (без воздушных прослоек) и с воздушными прослойками. Панели с воздушной прослойкой, расположенной за наружным слоем, в дальнейшем именуются панелями с экраном.
Однослойная панель панель, имеющая один основной слой, выполняемый из бетона одного вида.
Основные слои панели все слои по толщине панели, в том числе теплоизоляционный слой и наружный экран, за исключением наружного декоративного или защитно-декоративного и внутреннего отделочного слоев, слоев из рулонного и пленочного материалов и воздушных прослоек.
Панель с экраном слоистая панель с наружным слоем, расположенным на относе (с воздушной прослойкой), наружным экраном. Наружные экраны применяют в целях уменьшения климатических воздействий на основную конструкцию стены, для ее водозащиты, вентиляции и повышения теплоустойчивости и выполняют из армированного бетона, листовых и других материалов.

Рис. 5.35. Панели наружных стен:
а однослойная; б двухслойная; в трехслойная; 1 конструктивно-теплоизоляционный бетон; 2 защитно-отделочный слой; 3 конструктивный бетон; 4 эффективный утеплитель.
Слоистая (многослойная) панель панель, имеющая несколько основных слоев, выполняемых из бетона или из бетона и небетонных теплоизоляционных материалов и изделий, в том числе панель с экраном.
Сплошная панель панель без воздушных прослоек и пустот.
Теплоизоляционный слой один из основных слоев слоистой панели, предназначенный для выполнения теплоизоляционных функций. Теплоизоляционный слой в двухслойных панелях сплошного сечения выполняется из теплоизоляционного или конструкционно-теплоизоляционного бетона, в трехслойных из небетонных теплоизоляционных изделий и материалов или из теплоизоляционного бетона. Теплоизоляционный слой панели может выполняться из нескольких слоев теплоизоляционных изделий и материалов одного или разных видов.
Трехслойная панель слоистая панель, имеющая три основных слоя. Трехслойная панель сплошного сечения имеет наружный и внутренний армированные бетонные слои и расположенный между ними теплоизоляционный слой. Трехслойная панель с экраном имеет внутренний армированный бетонный, теплоизоляционный слой и наружный экран;
- типам панелей (в зависимости от назначения в здании и
количества основных слоев):
- для надземных этажей: 1НС однослойная; 2НС двухслойная;
3НС - трехслойная
- для цокольного этажа: 1НЦ - однослойная ; 2НЦ двухслойная;
3НЦ-трехслойная
- для чердака: 1НЧ однослойная; 2НЧ - двухслойная; 3НЧ трехслойная.
Для панелей с экраном указанные обозначения типов панелей следует дополнить прописной буквой Э, например, 3НСЭ панель трехслойная с экраном.
Бетонная панель панель, прочность которой в стадии эксплуатации обеспечивается одним бетоном. Бетонная панель имеет конструктивную арматуру и может иметь расчетную, предназначенную для восприятия усилий, возникающих при изготовлении и транспортировании панели и при монтаже стены. Панель считается бетонной, если рабочая арматура имеется только на ограниченных участках (например, в опорных зонах, зонах концентрации напряжений от местной нагрузки).
Двухслойная панель слоистая панель, имеющая два основных слоя. Двухслойная панель сплошного сечения имеет два армированных бетонных слоя: несущий и теплоизоляционный. Двухслойная панель с экраном имеет внутренний слой из армированного конструкционно-теплоизоляционного бетона и наружный экран.
Железобетонная панель панель, прочность которой в стадии эксплуатации обеспечивается совместной работой бетона и арматуры. Железобетонная панель имеет рабочую арматуру и конструктивную, а также может иметь расчетную арматуру, предназначенную для восприятия усилий, возникающих при изготовлении и транспортировании панели и при монтаже стены.
Координационные размеры панелей по длине и по высоте должны быть кратны модулю М, равному 100 мм, а по толщине кратны 1/2М, равному 50 мм , 1/4М, равному 25 мм и 1/5 М, равному 20 мм в соответствии с требованиями ГОСТ 28984.
В соответствии с СТБ 1185-99 «Панели стеновые наружные бетонные и железобетонные для зданий и сооружений» конструктивную длину и высоту панелей следует принимать равными соответствующему координационному размеру, уменьшенному (или увеличенному) на величину, зависящую от конфигурации и размеров стыковых соединений панелей между собой и со смежными конструкциями здания и устанавливать в проектной документации.
Номинальную толщину внутреннего и наружного слоев трехслойных панелей, включая внутренний отделочный и наружный защитно-декоративный слои из раствора и бетона, следует назначать не менее, мм:
- 80 - для внутреннего несущего слоя из тяжелого бетона;
- 90 - для внутреннего несущего слоя из легкого бетона;
- 50 - для внутреннего ненесущего слоя из тяжелого бетона;
- 70 - для внутреннего ненесущего слоя из легкого бетона;
- 50 - для наружного ненесущего слоя из тяжелого бетона;
- 60 - для наружного ненесущего слоя из легкого бетона;
- 65 - для наружного несущего слоя из тяжелого бетона;
- 80 - для наружного несущего слоя из легкого бетона.
В случаях, предусмотренных проектной документацией, панели могут иметь:
- выступы, вырезы, штрабы, стальные закладные и накладные изделия и другие конструктивные элементы, предназначенные для опирания панелей на конструкции здания, а также для закрепления элементов примыкающих конструкций;
- углубления и вырезы в торцевых зонах и в других местах примыканий к панелям смежных конструкций, предназначенные для образования шпоночного соединения после замоноличивания стыков;
- арматурные выпуски, стальные закладные изделия и другие конструктивные элементы для соединения панелей между собой и со смежными конструкциями здания, детали для крепления санитарно-технических и электротехнических устройств и оборудования;
- вырезы, углубления, пробки и "четверти" по контуру проемов окон и дверей для надежного закрепления коробок, подоконных досок и замоноличивания стыков;
- внутренние каналы, замоноличенные пластмассовые или резиновые трубки (пустотообразователи) и закладные элементы для скрытой сменяемой электропроводки, гнезда и отверстия для установки разветвительных коробок, выключателей и штепсельных розеток, а также отверстия для прокладки других инженерных коммуникаций;
- борозды для замоноличиваемой электропроводки и разветвительных коробок;
- архитектурные детали.
Толщину наружных стен выбирают по наибольшей из величин, полученных в результате статического, теплотехнического и экономического расчетов, и назначают в соответствии с конструктивными и теплотехническими особенностями ограждающей конструкции. Толщину внутренних стен и перегородок назначают в соответствии со статическим и звукоизоляционным расчетом.
В полносборном бетонном домостроении расчетную толщину наружных стен принимают 200, 250, 300. 350, 400 мм для панельных и каркасно-панельных зданий.
Понятие "однослойная панель" условно, так как помимо основного бетонного слоя панель содержит наружный защитно-отделочный и внутренний отделочный слои. Фасадный защитно-отделочный слой легкобетонных панелей выполняют из паропроницаемых декоративных бетонов и растворов, либо из обычных растворов (с последующей заводской окраской), керамических и стеклянных плиток, тонких плит естественного камня, каменных материалов. С внутренней стороны на панель наносят слой раствора плотностью 1800 кг/куб.м толщиной до 15 мм.
Внутренний отделочный слой панели не основной слой панели, расположенный со стороны ее внутренней (обращенной в помещение) поверхности и служащий основанием, по которому производят последующую отделку стены и наносят различные покрытия, предназначенные для защитных или декоративных функций. Внутренний отделочный слой панели состоит из следующих одного или нескольких слоев: слоя из раствора, отделочного покрытия, гидро- или пароизоляционного покрытия и других слоев.
Наружный декоративный слой панели не основной слой панели, расположенный со стороны ее наружной (фасадной) поверхности и предназначенный для выполнения только декоративных функций. Наружный декоративный слой панели состоит из отделочного покрытия (например, водоэмульсионных полимерцементных, известково-полимерных составов и красок), наносимого в один или два слоя, или облицовки, придающих поверхности панели требуемый цвет и фактуру и не выполняющих защитных функций.
Наружный защитно-декоративный слой панели не основной слой панели, расположенный со стороны ее наружной (фасадной) поверхности и предназначенный для защиты в процессе эксплуатации основных слоев панели от внешних климатических воздействий и выполнения декоративных функций, состоящий из раствора или бетона, отделочного или облицовочного покрытия или слоев из других материалов и изделий, выполняющих защитные и декоративные функции.
Наружные стены из панелей однослойной конструкции следует проектировать из конструктивно-теплоизоляционных бетонов на пористых заполнителях с плотностью не более 1000 кг/кубм.
При несущих наружных однослойных стенах из автоклавных ячеистых бетонов толщину стен следует назначать не менее 240 мм и не более 400 мм.
Наибольшая плотность и водонепроницаемость защитно-отделочного слоя достигается при формировании панелей фасадной поверхностью ("лицом") вниз, что гарантирует наибольшую прочность сцепления бетона панели с облицовкой.
В панелях, изготавливаемых из ячеистых бетонов, для фасадно-отделочного слоя применяют поризованные растворы плотностью 1300-1400 кг/м3, каменные дробленые материалы, мелкие керамические или стеклянные плитки, либо стойкие синтетические кригки на основе ПВХ или ПВА.
Бетонные панели двухслойной конструкции имеют несущий и утепляющий слои: несущий - из тяжелого или конструктивного бетона, утепляющий - из конструктивно-теплоизоляционного легкого бетона плотной или пористой структуры. Несущий слой толщиной не менее 100 мм располагают с внутренней стороны. Для фасадно-отделочного слоя применяют те же материалы, что и в однослойных. При их изготовлении также наиболее целесообразно формирование "лицом" вниз.
Конструктивное армирование двухслойных панелей в целом аналогично применяемому для однослойных, но имеет следующие отличия: рабочая арматура перемычек и связевые элементы располагаются в несущем внутреннем слое, а фасадно-отделочный слой дополнительно армируют сеткой. При применении утепляющего слоя крупнопористой структуры, расположенные в нем арматурные элементы защищают от коррозии.
Бетонные панели трехслойной конструкции имеют наружный и внутренний слои из тяжелого или конструктивного легкого бетона и заключенный между ними утепляющий слой. Минимальный класс по прочности на сжатие тяжелого бетона В15, легкого в10. Для , утепляющего слоя применяют материалы с коэффициентом теплопроводности в пределах 0,04-0,10 Вт/м°С - в виде блоков, плит или матов-стекло и минераловат-Ш.1С плиты, плиты пенополистирола, пеностекла, фибролита. В экспериментальном строительстве для утепления панелей используют заливочные пенопласта, полимеризу-ющиеся в полости панели.
Бетонные слои панелей объединяют жесткими или гибкими связями (рис. 5.36).

Рис. 5.36. Схема армирования трехслойной панели с гибкими связями из
отдельных стержней:
1 - каркас перемычки; 2 подвеска; 3 распорка; 4 арматурная сетка
наружного слоя; 5 подкос.
Конструкции гибких связей состоят из отдельных металлических стержней, которые обеспечивают монтажное единство панели при независимости статической работы ее бетонных слоев. Гибкие связи не препятствуют температурным деформациям наружного бетонного слоя, исключая возникновение температурных усилий в несущем слое. Элементы гибких связей выполняют из стойких к атмосферной коррозии низколегированных сортов сталей или из обычной строительной стали с долговечным антикоррозионным покрытием. В трехслойных панелях нагрузка от массы наружного бетонного слоя и утеплителя передается через гибкие связи на внутренний бетонный слой. Наружный несущий слой по требованиям долговечности проектируют толщиной не менее 65 мм и армируют стальной сеткой. Вдоль стыковых граней панели и проемов в ней наружный бетонный слой утолщают для устройства профилировки стыков и граней проемов. Толщину внутреннего слоя принимают по расчету, но не менее 100 мм по условиям анкеровки в нем стальных связевых элементов (закладных деталей, арматурных выпусков и пр.).
Наряду с гибкими в трехслойных панелях применяют и жесткие связи между бетонными слоями в виде армированных ребер из тяжелого или конструктивного легкого бетона. Жесткие связи обеспечивают совместную статическую работу бетонных слоев, защиту соединительной арматуры от коррозии и простоту изготовления. Но их применение сопровождается появлением теплотехнических недостатков: опасностью выпадения конденсата на внутренней поверхности стен в местах теплопроводных включений (соединительных ребер) при резком похолодании и дополнительными тепдопотерями.
Вариант конструкции трехслойных панелей с отдельными жесткими железобетонными шпонками между бетонными слоями представлен на рис.5.37.
Для фасадной отделки трехслойных панелей применимы все материалы, используемые при изготовлении однослойных.
Трехслойные панели имеют существенные преимущества перед одно- и двухслойными. Они заключаются в повышенной водонепроницаемости фасадного слоя, возможности в широком диапазоне менять несущую способность стены (за счет увеличения класса бетона, толщины несущего слоя, или его армирования) и ее теплозащитные качества (за счет применения утеплителей различной эффективности и сечения). Это делает конструкцию трехслойной стены универсальной - пригодной к применению в разных климатических условиях и с различными статическими функциями.
Однако до середины 1990-х годов в отечественной домостроительной

Рис. 5.37. Детали сечений трехслойной панели со шпоночными связями: а армирование стыкового гребня; б то же, соединительной шпонки; в подоконных зон; г надоконных зон.
промышленности преобладало производство однослойных панелей. Всвязи
с резким возрастанием нормативных требований к энергосбережению и соответственно к сопротивлению теплопередаче наружных ограждающих конструкций однослойные конструкции для большинства климатических районов страны оказались неприемлемыми. Промышленность перестраивается на производство трехслойных панелей. Но и они в большинстве случаев оказываются пригодными лишь с самыми эффективными утеплителями (с коэффициентом теплопроводности в пределах 0,04...0,06 Вт/м °С). В этом случае из-за увеличения толщины утеплителя толщина стен может возрасти до 350-400 мм (раньше трехслойные панели имели унифицированную толщину 300 мм для всех районов с расчетной энмней температурой до -35°С), что влечет за собой реконструкцию бортовой оснастки форм на домостроительных заводах.
В качестве теплоизоляционного слоя используются: утеплители со средней плотностью не более 400 кг/куб.м; плиты из пеноплистирольного пенопласта ; плиты из перлитопластбетона; жесткие минераловатные плиты на синтетическом связующем; плиты теплоизоляционные из штапельного волокна; блоки из ячеистого бетона.
В качестве теплоизоляционного слоя наружных трехслойных стен из листовых материалов рекомендуется применять плиты минераловатные на синтетическом связующем, полужесткие стекловолокнистые плиты.
Цокольные панели однослойные (Прил.) легкобетонные предназначены для применения в зданиях с ленточными и свайными фундаментами. Они выполняются из тех же легких бетонов, что и панели несущих наружных стен.
Толщину цокольных панелей можно принимать на 50 мм меньше толщины наружных стеновых панелей.
Цокольные трехслойные панели (Прил ) проектируют с наружными и внутренними бетонными слоями из тяжелого бетона, между которыми предусматривают утеплитель и жесткие связи (ребра из тяжелого бетона). Их применяют в зданиях с ленточными фундаментами.
Толщина бетонных слоев та же, что и для этажных панелей: наружного - не менее 50 мм, внутреннего - 100 мм, а утепляющего слоя - согласно расчету. Утепляющий слой может быть принят из плит цементного фибролита толщиной 50 мм и плит полистирольного пенопласта толщиной 25 мм.
Панели парапета проектируют однослойными (Прил.) из легкого бетона и трехслойными с наружным и внутренним слоями из тяжелого бетона и промежуточным утеплителем.
В однослойных парапетных панелях в верхней части предусматривают четверть для опирания плит покрытия глубиной 120 мм и высотой 450 или 500 мм в зависимости от принятой толщины плиты покрытия. Толщина панелей парапета не должна превышать толщину панелей наружных стен.
Горизонтальные размеры панелей парапета при теплом чердаке могут быть такие же как этажных панелей.
Внутренние стеновые панели (Прил. ) проектируются однослойными из бетона на пористых заполнителях, из автоклавного силикатного и ячеистого бетонов. Допускается применять панели с пустотами.
Толщина внутренних стен определяется требованиями статической надежности, огнестойкости и звукоизоляции и принимается в соответствии с СТБ 1151-99 «Панели стеновые внутренние и блоки вентиляционные бетонные и железобетонные для зданий и сооружений»,
Минимальная толщина панелей внутренних стен составляет для несущих стен 100 мм, для ненесущих - 80 мм. Наиболее распространены панели из тяжелого бетона толщиной 160 мм для 5-этажных домов в качестве межквартирных стен, а для 9-этажных в качестве межквартирных и межкомнатных перегородок.
Широкое распространение в настоящее время получили легкобетонные панели внутренних стен, где в качестве крупного заполнителя применяется искусственный керамзитовый гравий. Толщину панелей межквартирных внутренних стен из керамзитобетона обычно принимают 180-200 мм.
Проектируемые межквартирные стены из бетонных и железобетонных сплошных панелей являются наименее эффективными в отношении звукоизоляции, В связи с чем применяются и многопустотные панели, позволяющие уменьшить расход материалов при обеспечении равной звукоизолирующей способности. Однако при этом толщина конструкции возрастает до 240 мм.
В практике строительства нашли применение пустотные дегкобе-тонные панели для внутренних межквартирных стен толщиной 240 мм с приведенной толщиной бетона не менее 140 мм. Диаметр пустот при этом 140 мм, шаг пустот 200 мм.
Панели внутренних стен могут выполняться из мелкозернистых бетонов плотностью свыше 1800 кг/м3 и толщиной 140мм.
В жилых панельных зданиях несущие стены делятся на поперечные и продольные.
В настоящее время в массовом строительстве гражданских зданий наибольшее применение получили перекрестно-стеновая конструктивная схема с малым шагом поперечных стен и поперечно-стеновые системы со смешанным или большим шагом (Прил). Толщину внутренних стен предусматривают для 1 -ой системы -120 и 160 мм, для 2-ой - 160 мм.
Устойчивость крупнопанельного здания обеспечивается связями между конструктивными элементами путем сварки при монтаже закладных изделий, предусмотренных в конструкциях панелей стен и перекрытий.
Вертикальные и горизонтальные стыки стеновых панелей должны обладать необходимой прочностью, теплоизоляцией, воздухе- и водонепроницаемостью.
Герметизацию и теплоизоляцию стыков наружных стен в зависимости от природно-климатических условий, свойств материала и конструкций (рис. 5.38).
С наружной стороны здания производится герметизация стыков стеновых панелей. В жилых домах высотой 9 этажей и более целесообразно применять дополнительную герметизацию изнутри.
В последнее время проведена типизация стыков наружных несущих легкобетонных однослойных и железобетонных трехслойных стен для крупнопанельных зданий. Панели наружных стен соединяются между собой и панелями внутренних стен стальными петлевыми связями и хомутами.
Для качественной и надежной герметизации горизонтальных стыков легкобетонных панелей помимо устройства противодождевого карьера осуществляется герметизация наружного шва. Вертикальный закрытый стык панелей наружных стен перед замоноличиванием бетоном изнутри проклеивают воздухозащитной прокладкой на битумной мастике.
Во всех типах стыков ( рис.5.38) легкобетонных панелей для сопряжения со смежными конструкциями и тепло- и воздухоизоляции применяются аналогичные приемы. Плита перекрытия и панель внутренней стены заводятся в пазы соответственна у верхней и боковых граней панелей.

Рис. 5.38. Герметизация стыков наружных стен:
а закрытый; б дренированный; в открытый стык; 1 упругая прокладка; 2 герметизирующая мастика; 3 защитное покрытие ; 4 оклейка рулонным гидроизоляционным материалом; 5 уплотняющий вкладыш; 6 бетон замоноличивания; 7 водоотводящий фартук; 8 водоотводная лента.
Образующийся вертикальный колодец замоноличивается конструктивным бетоном марки 200 при конструктивной схеме с «малым» шагом поперечных несущих стен и цементным раствором марки 100 при конструктивной схеме с «большим» шагом.
Теплоизоляция вертикального и горизонтального стыков обеспечивается термовкладышами из пенополистирола, жестких минераловатных плит на синтетической связке и других подобных несгораемых материалов.
Вертикальные термовкладыши снаружи защищены оклеечной воздухоизоляцней из атмосферостойких лент (бутилкаучук, найрит и т. п.) на соответствующих клеях. Устья стыков панелей цоколя зачеканиваются цементным раствором марки 100 в теплое время года.
В закрытых и дренированных стыках устья по вертикали и горизонтали снаружи грунтуются, а затем заполняются упругими уплотняющими прокладками и герметизирующими мастиками с защитным покрытием. Для грунтовки бетонных поверхностей устья применяются водостойкие мастики типа КН-2. Уплотняющие прокладки выполняются из жгутов гернита, пороизола и т. п. Герметизирующие нетвердеющие мастики полинзобу-тиленовая строительная типа УМС, тиоколовые, одно- и двухкомпонентные. От солнечной радиации мастики защищаются обмазкой полимерцементными составами, красками ПВХ и др.
Уплотняющие и герметизирующие материалы сохраняют необходимые свойства в течение 20 25 лет, после чего заменяются при капитальном ремонте зданий.
В дренированных и открытых стыках снаружи устраиваются: образующие лабиринтное сечение горизонтальные водозащитные гребни высотой соответственно от 80 до 120 мм, вертикальные декомпрессионные полости, в которых конденсируется проникшая за зону изоляции влага, и водоотводящие фартуки, уложенные на пересечении вертикального и горизонтального стыков. Фартуки выполняются из атмосферостойких долговечных материалов.
В дренированных стыках дополнительные упругие прокладки наклеиваются на водозащитный гребень в пределах длины водоотводящего фартука. Влага по фартукам стекает через поэтажные дренажные отверстия 50X20 мм, размещенные на пересечениях стыков. В открытых стыках проникновению атмосферных осадков через вертикальные устья препятствуют заведенные в специальные пазы водоотбойные ленты из атмосферостойких материалов (стабилизированный полиэтилен, неопрен и т. д.), через горизонтальные - водозащитный гребень высотой от 120 мм. В отдельных типовых проектах применяется образующий лабиринтное сечение стыка вертикальный водозащитный гребень. Уплотняющие упругие прокладки перемещены из устья в середину стыка. Для предотвращения возможных механических повреждений водоотбойных лент стыки панелей 1-го этажа выполняются по типу закрытых. При толщине стен от 400 мм дренированные и открытые стыки могут быть
При закрытых плоских горизонтальных стыках передача нормальных нагрузок происходит по всему сечению, при лабиринтных дренированных и открытых стыках соответственно через гребень и внутренний слой панели или только через внутренний слой. Поэтому в несущих стенах из однослойных легкобетонных панелей прочностные преимущества имеет закрытый стык. Стенам из трехслойных панелей с гибкими связями, где несущим является внутренний железобетонный слой, соответствует обладающий вентиляционными преимуществами открытый стык.
Дренированный стык применяется как вариант закрытого стыка с некоторым снижением прочностных и повышением изоляционных качеств.
В связи со специфическими свойствами стеновых материалов в навесных стенах из однослойных и ячеистобетонных и легких слоистых небетонных панелей применяются только закрытые стыки.
Литература.
1. Рабинович А.И. Облегченные стены кирпичных зданий. Журнал
«Жилищное строительство», № 11, 1982, с. 15-16.
Пришкайтис М.П. Конструкции наружных стен из мелких элементов.
Журнал «Жилищное строительство», № 10, 1984, с. 16- 17.
3. Материалы выставки «Белэкспо-2007», г.Минск, 2007 г.
4. СТБ 1117-98. Блоки из ячеистого бетона. Мн.:
Минстройархитектуры РБ, 1999. 22 с.
5. СТБ 1228-2000. Кирпич и камни силикатные. Мн.:
Минстройархитектуры РБ, 2001. 23 с.
6. СТБ 1160-99. Кирпич и камни керамические. Мн.:
Минстройархитектуры РБ, 1999. 33 с.
7. СТБ 1319-2002. Перемычки железобетонные. Мн.:
Минстройархитектуры РБ, 2002. 29 с.
СТБ 1375-2003. Блоки бетонных стен с теплоизоляционным слоем. Мн.: Минстройархитектуры РБ, 1999. 22 с.
Приложение
ОБЪЕМНО-БЛОЧНЫЕ КОНСТРУКЦИИ ГРАЖДАНСКИХ
ЗДАНИЙ.
Краткие сведения.
Объемные блоки - крупные конструктивные элементы, которые более точно будет наименовать объёмно-пространственными. Они являются крупной конструкцией объемной формы, в полом пространстве которой заключен определенный функциональный фрагмент здания. Объемные блоки могут заключать в себе комнату, лестничную клетку, либо служить пространственной границей между помещениями здания и внешней средой (Т -, П или Z - образные элементы лоджий, эркеров, ризалитов).
Конструкции объемных блоков разработаны в СССР в 1950-х годах и после проверки в экспериментальном строительстве внедрены в массовое производство в конце 1960-х - начале 1970-х годов.
Опыт проектирования, производства и строительства здании из железобетонных объемных блоков в городе и на селе доказал конкурентоспособность объемно-блочного домостроения по сравнению с другими индустриальными системами.
Объемно-блочные домостроение (ОБД) позволяет максимально использовать возможности заводского производства благодаря перенесению на завод 75-80% трудовых процессов, в 5-6 раз сократить число типоразмеров сборочных элементов, повысить производительность подъемно-транспортных механизмов и труда рабочих, в 2-3 раза сократить сроки возведения зданий, на 10-15 % снизить их стоимость и повысить качество строительства.
Из объемных блоков строят жилые здания, общежития и гостиницы, спальные корпуса санаториев и др.
Объемный блок представляет собой законченную структурную составляющую здания в виде замкнутой пространственной конструкции. В зависимости от назначения и размеров к объемным блокам предъявляются следующие основные требования: прочность, устойчивость, жесткость, долговечность, огнестойкость, трещиностойкость, неизменность при динамических нагрузках во время транспортировки и монтажа.
Готовые объемные блоки должны быть водонепроницаемыми, противостоять температурно-влажностным воздействиям, и удовлетворять эксплуатационным требованиям.
Объемные блоки должны быть рациональными по объемно-планировоч- ному и архитектурно-конструктивному решению, экономичными и технологичными в заводском производстве, иметь минимальную массу.
К ограждающим конструкциям блоков предъявляют требования звукоизоляции, теплозащиты, гидроизоляции, герметизации, санитарно-гигиенических параметров.
В зависимости от применяемых в зданиях блочных элементов конструктивные схемы зданий с применением объемных блоков делят на блочные, панельно-блочные, блочно-ствольные (рис.5.39-5.40)

Рис. 5.39. Конструктивные схемы блочных зданий
а - конструктивные схемы объемно-блочных зданий: а - блочная; б -панельно-блочная; в - каркасно-блочная; г - ствольно-блочная; Б схемы зданий из объемных блоков: а плоская; б со сдвижкой по продольной оси; в со сдвижкой по двум осям: г -со сдвижкой по вертикали; д террасного расположения; 1 объемные блоки; 2 панели перекрытия; 3 -каркас; 4 - ядра (стволы).

Рис.5.40. Конструктивные схемы домов из объемных блоков:
а блочные дома из блоков на одну комнату; б панельно-блочные с рядовым
расположением блоков; в каркасно-блочные дома.
Объемно-блочные системы используют в основном для жилых домов, панельно-блочные - для зданий общественного назначения, в которых требуются большие безопорные площади. Каркасно-блочные и блочно-ствольные системы используют для уникальных жилых домов и общественных зданий большой этажности, а также для зданий санитарно-курортного назначения.
Объемные блоки могут быть классифицированы:
по типологическим признакам - блоки жилых комнат, санитарно-кухонные, смешанные (кухня-жилая комната, санитарный узел и часть коридора), блок лестницы, вспомогательные (рис. 5.41- 5.42) 

Рис. 5.41. Примеры планировки квартир в зданиях из объемных блоков:
а квартиры типового этажа; б жилая комната; в санитарно-кухонный блок;
г,д- блоки смешанного назначения; е - блок-лестницы; ж, з - вспомогательные
блоки (шахты лифтов, коммуникации и т.д.)
по функциональному назначению - блок санитарно-технических кабин, блок-комнаты, блок-квартиры, блок лифтовых шахт, машинных отделений лифтов, лестниц, фундаментов, крыши, вентиляционных камер и лоджий (рис. 5.42). Цельнофермонанная блок-лестница (рис. 5.42, а) представяет собой чегырехстенную железобетонную объемную конструкцию, с которой монолитно соединены две складки лестничных маршей и две лестничные площадкит. Эта конструкция обладает повышенной простанственной жесткостью и миеет минимальное количесво закладных деталей, необходимых лишь для поэтажного соединения лестничных блоков. Технико-экономические показатели конструкции цельноформованной блок-лестницы выгодно отличаются от показателей сборной лестницы: расход железобетона меньше на 24 %, арматурной стали на 26 %, а трудоемкость изготовления - на 22 %. В пространствен-ном лестничном блоке (рис.5.42, б) монолитно соединены между собой два лестничных марша, две лестничные площадки и опорный стеновой элемент, расположенный между маршами и площадками. Для облегчения массы конструкции стеновой элемент может выполняться с вырезами различной конфигурации. При применении пространственных лестничных блоков вместо сборных лестниц достигается определенный экономический эффект: расход железобетона уменьшается на 3,4%, стали на 3,6%, трудоемкость изготовления - на 31,4%. Объемный лестнично-лифтовой блок (рис. 5.42, в) состоит из железобетонной лифтовой шахты и монолитно-связанных с ней двух лестничных маршей и мусоропровода. Основные технико-экономические показатели этого лестнично-лифтового блока выгодно отличаются от показателей сборного варианта: количество монтажных элементов меньше в 2 раза, расход железобетона ниже на 14%, а стали на 4%. Сборная блок-лестница представлена на рис.5.42, г, состоит из четырехстенного элемента и присоединенных к нему на сварке опорных балок, лестничных площадок и маршей;
а б

в г

Рис.5.42. Железобетонные объемные лестничные блоки:
а цельноформованная блок-лестница; б пространственный лестничный блок; в
объемный лестнично-лифтовой блок; г сборная блок-лестница.
по размерам - малые блоки (блоки на одну комнату) с площадью до 15 м2, средние (блоки на две комнаты) с площадью до 25 м2 общей площади пола;по общей массе - легкие (до 10 т); средние (до 25 т); тяжелые (свыше 25 т);
по раскрытию внутреннего пространства - закрытые или замкнутые, открытые с замкнутым контуром, открытые с незамкнутым контуром, открытые элементы объемных блоков;
по формам блоков - прямоугольные, косоугольные; криволинейные;
по виду опирания блоков - с линейным опиранием по контуру и на противолежащие стены, с точечным опиранием и со смешанным;
по способам соединения конструктивных элементов блоков - монолитные на болтах, на сварке, смешанное;
по конструктивно-технологическому типу изготовления - "стакан", "лежачий стакан", "близнецы" (рис. 5.43- 5.44).

Рис. 5.43. Виды объемных блоков:
а - по количеству и виду ограждающих конструкций.- а - замкнутый; б открытый с одной стороны: в открытый с двух противоположных сторон; г открытый с двух противоположных вертикальных сторон и одной горизонтальной; д двухгранный угол; е столик; Б по форме: а -прямоугольные: б косоугольные; в, г криволинейные
В зависимости от положения объемных блоков по высоте различают конструктивные схемы плоские и со сдвижками (рис. 5.39, Б). Сдвижка блоков обычно продольная, горизонтальная с образованием консольно- выступающих или западающих за плоскость фасада блоков.
2. Проектирование объемно-блочных зданий.
Производственная база объемно-блочного домостроения сосредоточена в ряде городов СНГ (табл. 5.5).
Тонкостенные керамзитобетонные блоки типа "лежащий стакан" формируются без наружной стены, которая изготавливается отдельно и
присоединяется к блоку при монтаже. Основная номенклатура содержит восемь типоразмеров блоков длиной 4,8 и 6 м, шириной 2,7; 3,0; 3,3 и 3,6 м. Лестничные клетки, санитарно-кухонный узел и малые спальни располагают обычно в блоках размером в плане 6 х 2,7 м, общие комнаты -

Рис. 5.44. Типы объемных блоков в зависимости от способов изготовления и условий
опирания:
а «колпак»; б стакан; в «лежачий стакан» (а,б,в монолитные); г - сборные;
д - линейное опирание по контуру; е опирание на продольные стены: ж опирание на две торцевые стены; з, и, к консольное опирание; л, м - опирание на одну стену и по четырем углам.
Таблиц 5.5
Характеристика технических решений на основных действующих предприятиях ОБД
|
Предприятия |
Здания |
||||||
|
Конст-руктив-тивная схема |
Этаж- ность |
Конструктив-но-техноло- гический тип |
Размеры, м |
Наружной стены |
Перего-родки |
||
|
ширина |
длина |
||||||
|
Завод ОБД, Краснодар |
Блочное |
12-9 |
«Лежачий стакан» |
3,63-2,7 |
6-4,8 |
Однослой-ная |
Сбор-ная |
|
Цез ОБД, Краснодар |
Блочно- панель-ное |
12-9-5 |
«Лежачий стакан» |
3,2 |
5,2 |
Однослой-ная |
Сбор-ная |
|
Завод ОБД, Хабаровск |
Блочно- панель-ное |
9 |
«Колпак» |
3 |
6 |
Трехслой-ная |
Сбор-ная |
|
Завод ОБД, Волжский |
Блочное |
9-5-1 |
«Колпак» |
3,3 |
6-5,4 |
Двухсой- ная |
Сбор-ная |
|
Завод ДСК, г.Витебск |
Блочное |
3-1 |
«Колпак» |
3,2 |
6 |
Трехслой- ная |
Сбор- ная |
|
ДСК-3, г. Минск |
Блочное |
9-5-1 |
«Лежачий стакан» |
3,5 |
5,5-4,3 |
Трехслой- ная |
Моно-литная |
в блоке 6 х 3,6 м, малые спальни или кухни с передними - в блоках 4,8 х 2,7 и 4,8 хЗ,0 м.
Формируются объемные блоки типа "колпак" из тяжелого бетона с промоноличиванием заранее отформованной однослойной легко-бетонной панели наружной стены. Колпак устанавливают на ребристую железобетонную панель пола (рис.5.45). Плита потолка имеет минимальную толщину в центре (25 мм).

Рис.5.45. Объемный блок типа «колпак» (Вологодское напраление):
а схема передачи вертикальной нагрузки на блок; б горизонтальный стык наужных стен; б конструкция объемного блока; в горизонтальный стык наружных тен; г то же, внутренних; д вертикальный стык наружных стен; е то же, внутренних; 1 навесная керамзитобетонная панель наружной стены; 2 2колпак»; 3 панель перекрытия; 4 упругая прокладка; 5 цементный раствор; 6 деревянная рейка; 7 минераловатная плита; 8 керамзитобетон замоноличивания; 9 рубероид.
Предусматривается изготовление монолитных объемных блоков типа "колпак" из аглопоритобетона. Основная номенклатура содержит два типа блоков 3,5 х 5,7 и 3,5 х 4,5 м.
Для зданий блочно-панельной конструктивной схемы полностью оборудуются и отделываются блоки типа "колпак" с элементами сантехнических устройств, инженерных коммуникаций, лестниц. Все объемные блоки имеют единый унифицированный размер по ширине (3 м) и три размера по длине 6,0,4,5 и 3,0 м. Объемный блок типа "колпак" формируется из тяжелого бетона с гладкими стенами и вспарушенной плитой потолка. Колпак устанавливают на ребристую железобетонную плиту пола и утепляют со стороны фасада навесной двухслойной бетонной панелью.
По конструктивному решению блоки могут быть цельноформи-рованными (монолитными) или сборными, замкнутыми и незамкнутыми (без плиты пола). Замкнутые блоки изготавливают при типах "колпак", "лежащий стакан", а также при полублоках.
Конструктивное решение блоков зависят от принятого сечения его элементов, от узлов, стыков, типов арматуры, способов армирования, класса бетона, величины и характера действующих нагрузок, способов обеспечения звукоизоляции и т.д.
Объемные блоки изготовляют из железобетона класса В15 и В25 плотностью равной 2506 кг/м3, из керамзитобетона классов В10 и В15 плотностью 1600... 1800кг/м3 и аглопоритобетона классов В15 и В25 плотностью 1000 кг/м3.
Потолки объемных блоков в период эксплуатации воспринимают усилия, возникающие от действия нагрузки собственной массы и вышележащих этажей. Для восприятия опорных моментов приопорные зоны усиливают путем утолщений, округлений, наплывов и т.д. Нижняя поверхность потолка в этих же целях может быть выполнена вспарушенной, а потолок - в виде ребристой плиты с ребрами вверх.
Плита пола представляет собой ребристую плиту с минимальной толщиной 50 мм, армируемую сетками из проволоки диаметром 3... 5 мм, при ширине плиты 3,6 м и более. Армирование производят с предварительным напряжением. Армирование контурных и промежуточных ребер осуществляется плоскими каркасами из арматуры класса А-П и А-Ш. По контуру пола блока предусматриваются закладные детали для сварки с закладными деталями, расположенными по низу "колпаков" (рис. 5.46).
Толщину стен блока принимают по условиям звукоизоляции не менее 50 мм при тяжелом бетоне и не менее 60...80 мм-при легком. Армирование стен осуществляется сетками из холоднотянутой проволоки диаметром 3...4 мм и пространственными каркасами из арматуры классов А-П и А-Ш.
Блоки типа "стакан" отличаются монолитной связью плиты пола со стенами. Плиту потолка изготовляют отдельно и соединяют с блоком в процессе его комплектации путем сварки закладных деталей.
Блоки типа "лежачий стакан" (рис.5.47) представляют собой про
странственные железобетонные оболочки, состоящие из 5 монолитно-связанных плоскостей в виде трех стен, пола и потолка и одной стены,

Рис. 5.46. Конструкция объемного блика типа "колпак" (КременчугскоеДСК-3):
а конструкция объемного блока; б горизонтальный стык наружных стен
объемного блока; в то же, внутренних; г угловой стык наружных стен; д
цокольный узел наружных стен; е ~ вертикальный стык внутренних стен; ж - то
же, наружных стен; I перекрытие; 2 - перегородка блока; 3 - приставная панель
пола; 4 приставная наружная стеновая панель; 5 - внутренние стены; 6
цокольная наружная панель; 7 - фундаментный блок; 8 - внутренняя цокольная
панель; 9 торцевая навесная панель наружной стены; 10 - защитное покрытие; И
- герметизирующая мастика; 12-упругая прокладка; 13конопатка; ! 4
цементный раствор; 15 - бетон замоноличивания; I б - деревянная рейка; 17
полоса рубероида и слой минеральной ваты
присоединяемой к блоку в процессе его сборки. Блоки изготавливаются с гладкими или ребристыми стенами. Проемы устраивают между ребрами.
Сборные объемные блоки собирают в заводских условиях из плоских элементов с ребрами по контуру и из часторебристых вибропрокатных панелей.
Наружные стены объемных блоков могут быть выполнены из бетонных материалов в виде однослойных, двухслойных, трехслойных (с различ-
ными утеплителями) панелей или из небетонных материалов в виде многослойных конструкций с эффективными утеплителями (рис.5.48).

Рис. 5.47. Конструкция объемного блока типа "лежачий стакан"
а конструкция объемного блока; б горизонтальный стык объемных блоков по продольным наружным стенам; в то же, по торцевым; г горизонтальный стык внутренних стен объемных блоков: д вертикальный стык внутренних стен объемных блоков; I перекрытиия; 2 приставная однослойная керамзито-бетонная наружная стеновая панеяь; 3 объемный блок; 4 цементный раствор; 5 керамзитпобетон; 6 оклейка из рубероида; 7 защитное покрытие; 8 ~ герметик; 9 упругая прокладка; 10 - арматурная сетка; II - деревянная рейка
В конструкциях блока типа "лежащий стакан" наружные стены предусматриваются приставными и в основном однослойными.
Блоки типа "колпак" имеют трехслойные, двухслойные и одно-
шные наружные стеновые панели.
Конструкции перегородок в ОБД выполняются сборными или монолитными. В конструкции блока типа "лежащий стакан" перегородки предусматриваются только сборными. А в блоках типа "колпак" перегородки выполняются сборными и монолитными.
Рис.5.48. Конструкции наружных стен объемных блоков:
а, б, в , е для блоков типа «колпак»; г, д для блоков типа «лежачий стакан».
Лестничные клетки в объемно-блочных зданиях устраивают из специальных объемных блок-лестниц с двухмаршевой лестницей, расположенной перпендикулярно наружной стене дома.
Другие элементы объемно-блочных зданий и, в частности, конструкции фундаментов и крыш, аналогичны конструкциям крупнопанельных зданий.
Блоки балконов и лоджий могут быть запроектированы в виде отдельных несущих, самонесущих и подвесных объемных блоков.
Схемы передачи вертикальных нагрузок на несущие объемные блоки.
Объемно-блочное здание рассматривается как система заделанных в фундамент консолей, состоящих из поставленных друг на друга блоков, объединенных связями с определенной податливостью. Несущие объемные блоки опираются друг на друга так, что вертикальная нагрузка передается на них или по контуру, или по двум противоположным сторонам, или па углам. Способ опирания блоков друг на друга предопределяет характер работы конструкций здания под нагрузкой.
При одирании по контуру и по двум противоположным сторонам через растворный шов образуется конструктивная схема крупнопанельного здания здания с несущими стенами, работающими на сжатие; при опирании на углы через растворный шов в опорных угловых частях блока - с несущими стенами, работающими в своей плоскости на изгиб.
Связи между блоками.
Объемные блоки, устанавливаемые друг на друга столбами, соединяются друг с другом при помощи гибких (обычные условия строительства) или жестких связей (особые условия строительства, а, именно, большие ветровые нагрузки и высота зданий более девяти этажей, сейсмические воздействия и т.д.).
При гибких связях объемные блоки, работающие как отдельностоящие столбы, соединяются между собой во верху в углах накладками из полосовой стали толщиной 6-8 мм или арматурных стержней Ф 10-12 мм на сварке по закладным деталям.
При жестких связях вертикальные столбы из блоков соединены жесткими горизонтальными дисками перекрытий в уровне потолочных плит или объемных блоков. По вертикали столбы блоков соединены между собой упругоподатливыми связями, выполняемыми в виде вертикальных железобетонных стоек со шпонками, получаемыми и результате замоноличивания вертикальных колодцев с расположенной в них арматурой.
Аксонометрия жестких и гибких связей, а также план связей между
блоками приведены на рис. 5.49.
5. Перекрытия и покрытия объемно-блочных зданий.
Особенностью перекрытия ОБЗ является то, что оно - акустически неоднородное и состоит из двух элементов - плит потолка и пола - с воздушным зазором между ними, что сказывается положительно на звукоизоляционных характеристиках перекрытия.
Из двух плит - потолка и пола - одна всегда будет ребристой. Плита потолка проектируется ненесущей, и поэтому она и плита пола не контактирует между ними обязательно предусматривается зазор, всегда больший, чем максимальный допустимый прогиб плиты пола.
В блоке типа "стакан" плита потолка подвешивается к готовому блоку. В блоке типа "колпак" плита пола может быть подвешено внутри блока

Рис.5.49. Системы связей между объемными блоками:
А гибкие для обычных условий строительства; Б для строительства в сложных
инженерно-геологических и сейсмических условиях; 1 блок типа «колпак»; 2
приставная панель; 3 ребристая панель пола объемного блока; 4 закладная
деталь; 5 связевая стальная накладка; 6 подъемная петля; 7 полость со
шпоночным рифлением граней; 8 арматурный каркас; 9 бетон
замоноличивания; 10 цементный раствор
(соединения закладных деталей блока и плиты - на сварке), либо блоки могут опираться друг на друга ребро плиты поле.
При блочно-панельной конструктивной схеме в промежутках между объемными блоками предусматриваются плоские плиты перекрытий, опирающиеся на консоли объемных блоков, приставные панели, консоли плит пола соседних объемных блоков. Основным правилом при проектировании такого перекрытии является обеспечение совпадения отметок частых полов объемно-блочной и панельной частей здания.
Покрытия объемно-блочных зданий (рис.5.50) могут выполняться аналогично покрытиям крупнопанельных зданий или из объемных блоков чердачных покрытий. Наиболее прогрессивными конструкциями покрытия являются объемнее блоки теплого черпака. Доборными конструкциями к теплому чердаку являются: блоки лотковые, вентшахты, блоки машинного отделения лифта. Объемный блок теплого чердака представляет собой блок-колпак со вставленной в него плитой пола. Высота блока соответствует нормативной высоте чердака. Особое внимание уделяется заделке стыков между блоками.

б)

Рис.5.50. разрез и план кровли ОБЗ:
а верхняя часть поперечного разреза девятиэтажного объемно-блочного
здания (покрытие теплый чердак из объемных блоков); б план кровли этого же
дома ( покрытие теплый чердак с рулонной кровлей).
Фундаменты объемно-блочных зданий.
Фундаменты ОБЗ выполняют аналогично фундаментам крупнопанельных зданий. Нагрузка от веса столбов объемных блоков через цокольные панели передается на фундаментные подушки ила
сваи.
Причем, фундаментные подушки ила сваи в плане располагают вдоль
границ столбов объемных блоков соответственно схеме опирания блока на блок, то есть при линейном опирании блоков друг на друга подушки или ростверки свай проектируют в виде непрерывной ленты, расположенной по контурам столбов объемных блоков. При угловом опирании блоков элемента ленточного или свайного фундамента располагают под углами столбов блоков.
Новым прогрессивным решением являются фундаменты объемно-блочного типа. Объемная блок фундамента представляет собой блок-трубу или блок-колпак без плиты пола. Отличается такой блок высокой прочностью, жесткостью, влагоустойчивостью. Высота блока равна нормальной высоте подвала или подполья. Схема опирания этажного блока на блок фундамента принимается такой же, как схема опирания этажных блоков друг на друга. Нагрузку на грунт фундаментные блоки могут передавать через фундаментные подушки или сваи (рис.5.51-5.52)

Рис.5.51. Нижняя часть поперечного разреза девятиэтажного дома:
а ленточный фундамент; б свайный фундамент с монолитным ростверком.
7. Балконы, лоджии и другие элементы объемно-блочных зданий.
Балконы в ОБЗ выполняются на консольном выносе платы пола. В этом случае между основной частью плиты пола и ее консолью (шириной 1100-1200 мм) обязательно устройство тсалоизоляциии.

Рис.5.52. Планы фундаментов:
а ленточного; б свайного с монолитным ростверком
Лоджии. могут быть образованы:
- аналогично балконам - на выпуске консоли плиты пола. На консоль устанавливаются боковые ограждения лоджий из панелей;
- сдвижкой блоков в плане или с применением блоков разной длины. В этом случае боковые стены и перекрытия объемных блоковм (неутепленные) должны быть утеплены; -
- приставным объемным блоком лоджии.
Эркеры устраиваются в ОБЗ редко. Устройство эркеров возможно следующими способами:
-приставным отдельным блоком эркера;
-применением блоков разной длины.
В этом случае нижнее перекрытие эркера должна быть утеплено. А над верхним эркером выполняется совмещенное перекрытие со стоком воды наружу. Покрытие обязательно утепляется.
Лифтовые шахты - блок типа труба высотой на этаж и доборные блоки машинного отделения лифта.
Блок мусороприемной камеры блок- «колпак»;
Выполняют также декоративный блок входного узла.
Различные направления объемно-блочного строительства.
Объемно-блочная домостроительная промышленность, как и панельное домостроение, сложилась по закрытой методике типизации. Заводская технология здесь более сложна, так как требует создания нескольких технологических линий: для формования объемных элементов, для формования плоскостных элементов (панели пола, панели наружных стен и пр.), для комплектации объемных и плоскостных элементов в единую законченную конструкцию блока.
Соответственно сложились и несколько направлений в проектировании объемно-блочных зданий, конструировании и технологии их изготовления.
Эти технические направления получили наименования по местам расположения предприятий, на которых они впервые были освоены - Краснодарское, Минское, Вологодское, Хабаровское, Кременчугское, Приднепровское и др. Конструктивные решения всех направлений ориентированы на возведение зданий средней и повышенной этажности (до 12 этажей включительно.
Краснодарское направление ОБД базируется на бескаркасной объемно-блочной конструктивной системе. Основная номенклатура сдержит восемь типоразмеров блоков длиной 4,8 и 6 м, шириной 2,7; 3; 3,3 и 3,6 м.
Лестничные клетки, санитарно-кухонный узел и малые спальни располагают обычно в блоках размером в плане 6x2,7 м, общие комнаты - в блоке 6x3,6 м, малые спальни или кухни с передними в блоках 4,8x2,7 и 4,8x3 м.
Объемный блок формуют из конструктивного керамзитобетона по
типу "лежащий стакан". Продольные стенки блока выполняют ребристыми, потолок ребристым или плоским, плиту пола - всегда ребристой. Наружные стены из однослойных керамзито-бетонных панелей, примоноличиваемых к блокам. Разработан вариант сейсмостойких конструкций здания на основе изделий серии. Повышение несущей способности конструкций в сейсмостойком варианте обеспечено устройством железобетонных шпонок по вертикальным и горизонтальным стыкам блоков. Шпонки образованы путем устройства шпоночных пазов в горизонтальных и вертикальных ребрах блоков снабженных арматурными петлевыми выпусками и продольного армирования каналов стыков, которые заполняют монолитным бетоном.
Вологодское направление ОБД базируется на бескаркасной объемно-блочной конструктивной системе. Конструкции «колпака» объемного блока формуют из конструктивного керамзитобетона. Керамзитобетонную панель наружной стены навешивают на отформованный колпак. Колпак устанавливают на железобетонную ребристую панель пола. Все вертикальные стыки между блоками замоноличивают керамзитобетоном плотностью 1500 кг/м3 с крупностью зерен до 15 мм.
Хабаровское направление ОВД основано на комбинированной блочно-стеновой конструктивной системе. Осуществляется в двух вариантах с минимальным и с максимальным применением объемных блоков. В первом случае в объемных блоках выполнены лестницы и санитарно-кухонные элементы, во втором в блоках помимо этих элементов размещают также и спальни.
В первом случае 30 % площади здания выполняют из объемных элементов, во втором 70 %. Все объемные блоки имеют единый унифицированный размер по ширине (3 м) и три размера (6 м, 4,5 м и 3 м) по длине. Объемный блок типа колпак формуют из тяжелого бетона марки М 300 с гладкими стенами и ненарушенной плитой потолка. Колпак устанавливают на ребристую железобетонную плиту пола и утепляют со стороны фасада навесной двухслойной бетонной панелью. Стенки блоков из-за распалубочного уклона имеют переменную толщину от 50 внизу до 70 мм вверху.
Продольные стенки блоков, на которые оперты перекрытия смежных панельных пролетов, утолщены до 120 мм. Перекрытия панельных пролетов (4,5 м) выполнены из панелей сплошного сечения толщиной 16 см, внутренние стены12 и 16 см, наружные стены из навесных трехслойных бетонных панелей. Стыки наружных стен изолированы по принципу закрытого стыка герметизирующими мастиками.
Кременчугское направление ОБД базируется на сочетании объемно-блочной и блочно-стеновой конструктивных систем. Основная номенклатура содержит восемь типоразмеров блоков четырех размеров по ширине и двух по длине.
Объемный блок типа «колпак» формуют из тяжелого бетона с примоноличиванием заранее отформованной однослойной легкобетонной панели наружной стены. Колпак устанавливают на ребристую железобетонную плиту пола. Потолок шатровый вспарушенный с минимальном толщиной в центре плиты 25 мм.
Минское направление ОБД основано на бескаркасной объемно-блочной системе.
Основная номенклатура содержит два типа блоков 3,5X5,7 и 3,5X4,5. Вариантность планировки и объемной формы достигается различными смещениями вертикальных столбов блоков по отношению к фасадной плоскости, Объемный блок типа «колпак» формуют из аглопоритобетона. Наружную стену трехслойной конструкции формуют одновременно с изготовлением всей монолитной конструкции колпака. В связи с передачей вертикальной нагрузки по углам блока сечение стен в местах их сопряжений усилено. Ребристая железобетонная панель пола подвешена к стенам блока. Плита потолка вспарушена, ее минимальная толщина в центральном сечении составляет 40 мм.
Приднепровское направление ОБД основано на объемно-блочной конструктивной системе с использованием блоков типа «колпак», отформованных из тяжелого бетона, с навесными двухслойным» бетонными панелями наружных стен, утепленных минераловатными плитами.


1. Рабинович А.И. Облегченные стены кирпичных зданий. Журнал
«Жилищное строительство», № 11, 1982, с. 15-16.
Пришкайтис М.П. Конструкции наружных стен из мелких элементов.
Журнал «Жилищное строительство», № 10, 1984, с. 16- 17.
3. Материалы выставки «Белэкспо-2007», г.Минск, 2007 г.
4. СТБ 1117-98. Блоки из ячеистого бетона. Мн.:
Минстройархитектуры РБ, 1999. 22 с.
5. СТБ 1228-2000. Кирпич и камни силикатные. Мн.:
Минстройархитектуры РБ, 2001. 23 с.
6. СТБ 1160-99. Кирпич и камни керамические. Мн.:
Минстройархитектуры РБ, 1999. 33 с.
7. СТБ 1319-2002. Перемычки железобетонные. Мн.:
Минстройархитектуры РБ, 2002. 29 с.
СТБ 1375-2003. Блоки бетонных стен с теплоизоляционным слоем. Мн.: Минстройархитектуры РБ, 1999. 22 с.
Лекция. Каркасно-панельные здания.
1. Конструктивные схемы каркасов.
Каркас предназначен для восприятия всех нагрузок, действующих от здания, и передаче их через фундаменты основанию.
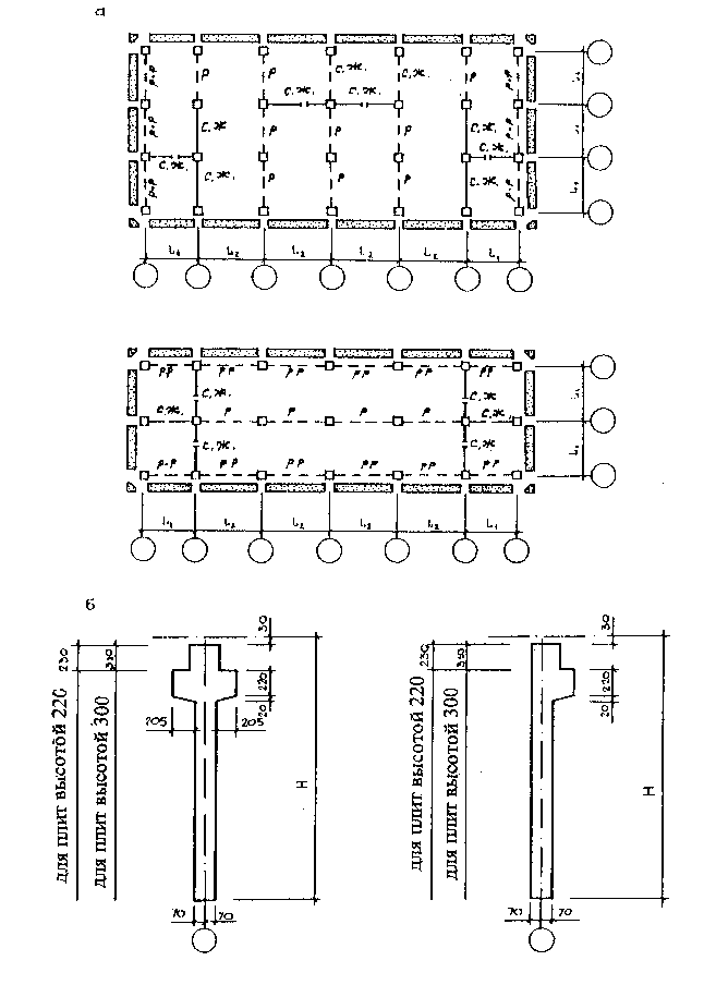
Несущие элементы сборного железобетонного каркаса включают: колонны высотой на Один-два этажа с одной консолью для крайнего ряда и двумя консолями для среднего ряда; ригели таврового сечения с полкой для опирания плит перекрытий; стены диафрагмы из бетонных панелей, имеющие одно- или двусторонние консольные полки в верхней зоне для опирания перекрытий. Кроме того, в номенклатуру элементов системы входят фундаменты, панели стен-диафрагм, связевые балки, элементы лестниц и др.
К преимуществам каркасно-панельной системы перед другими системами относят фиксированную передачу нагрузки, возможность возведения многоэтажных и высотных зданий, обеспечение надежного контроля качества изделий, стыков и производства работ; относительно небольшое влияние случайных эксцентриситетов; возможность применения больших шагов и пролетов (до 18 м), унифицированных конструктивных элементов; возможность размещения в первых этажах зданий предприятий общественного обслуживания без изменения конструктивной схемы зданий; возможность включения в здание помещений больших площадей и, при необходимости, последующей перепланировки.
К недостаткам каркасно-панельной системы можно отнести повышенный по сравнению с бескаркасными зданиями расход стали (до 20-30 %}, увеличение числа монтируемых элементов с разницей в их массе, увеличение стоимости (на 5-10%) и трудоемкости (на 10-15%).
Объемы строительства многоэтажных каркасных зданий различного назначения в сейсмоопасных районах составляют значительную долю от общих объемов. В каркасных конструкциях проектируется подавляющая часть общественных зданий и некоторые высотные жилые дома в крупных городах. Значительны масштабы строительства каркасных зданий в сейсмически активных районах многих зарубежных стран.
Здания могут проектироваться с полным и неполным каркасом. При полном каркасе колонны устанавливают как внутри, так и по периметру здания. Они воспринимают нагрузки от покрытий, перекрытий и навесных стен.
При неполном каркасе колонны размешают только внутри здания, а наружные стены являются не только ограждающими, но и несущими. В каркасных остовах зданий возможна конструктивная схема без ригелей (безригельный каркас) с опорой перекрытий и покрытий непосредственно на колонны.
Каркасы могут быть одноэтажными и многоэтажными, однопролетными и многопролетными с консолями и без консолей (рис. 1).
Однопролетные одноэтажные каркасы используют для общественных зданий с крупными помещениями. Каркасы жилых зданий обычно проектируются двухпролетными.

Рис.1. Каркасы:
А - виды каркасных зданий: а одноэтажное однопролетное; б, в, г многоэтажное, двух-, трех- и многопролетное; б - с консолями; в, г без консолей; Б - компоновочные схемы каркасных зданий: а рамная; брамно-связевая; в связевая; г - каркасно-ствольная
В высотных зданиях (как правило из зарубежной практики) высота может достигать нескольких сот метров. В этих случаях требуются специальные мероприятия, обеспечивающие малую деформативность и необходимую жесткость против воздействия горизонтальных сил. На рис. 2 приведены современные решения несущих конструкций высотных зданий.
Необходимую жесткость и устойчивость каркасов достигают применением рамной, связевой или рамно-связевой конструктивных систем (рис. 1).

Рис.2. Конструктивные системы высотных зданий
I - рамная система; Л - полужесткая рама; III - жесткая рама; IV -решетчатая ферма, взаимодействующая с рамой; V- пространственная система ~ "труба "; VI - "труба " в ферме
При рамной системе действующие на здание вертикальные и горизонтальные нагрузки воспринимают поперечные и продольные рамы, образованные жестким соединением колонн и ригелей. Применение рамной системы целесообразно при небольшой этажности зданий, т.к. с повышением этажности трудно обеспечить унификацию колонн. Рамные каркасные схемы использованы в строительстве ряда многоэтажных зданий Москвы и Киева.
Связевая система позволяет унифицировать основные элементы каркаса - колонн и ригелей. Диафрагмы жесткости при этом могут быть сквозными в виде стальных диагональных или портальных конструкций или сплошными в виде железобетонных стенок.
В связевых каркасах, кроме вертикальных диафрагм, располагаемых с интервалом 24-36 м, предусматриваются (через несколько этажей) горизонтальные диафрагмы жесткости. Их роль обычно выполняют замоноличенные железобетонные перекрытия.
Связевой системе в каркасно-панельном строительстве в последнее время отводится ведущее место.
Рамно-связевая система каркаса сочетает в себе рамы и диафрагмы жесткости. Горизонтальные и вертикальные нагрузки воспринимают и те и другие, а распределение усилий между ними происходит в зависимости от соотношения жесткостей. Такую систему целесообразно применять при металлических и монолитных железобетонных каркасах. Рамно-связевой каркас более целесообразно использовать в сейсмических районах.
Применение безригельного каркаса дает свободу планировки и перепланировки внутреннего пространства при изменении демографического состава семьи.
2. Фундаменты.
К видам фундаментных конструкций каркасных зданий следует отнести ряд элементов: фундаментные плиты «ФП» и «Ф», траверсы «ФТ», подколенники «КН», башмак под колонну «К», фундаментные балки «БФ». Как показывает практика, сборные составные фундаменты по сравнению с монолитными железобетонными имеют повышенную строительную высоту, металлоемкость и стоимость.
Башмак «БК» может устанавливаться на любой из фундаментов, в том числе на отдельно стоящий. Фундаментные балки предназначены для преимущественного использования как опоры наружных цокольных керамзитобетонных панелей.

Рис.3. Фундаменты под колонны зданий:
а-фундаментные плиты ФП-16, ФП-20, ФП-24, ФП-30 и др., б фундаментные траверсы ФТ-24, ФТ-40, в -подколонники КН, ЭКН, г-башмаки под колонны БК, д - фундаментные блоки БФ (полная номенклатура и размеры элементов фундаментов приведены в каталогах)
Сборные фундаменты по сравнению с монолитными имеют значительно меньшую трудоемкость.
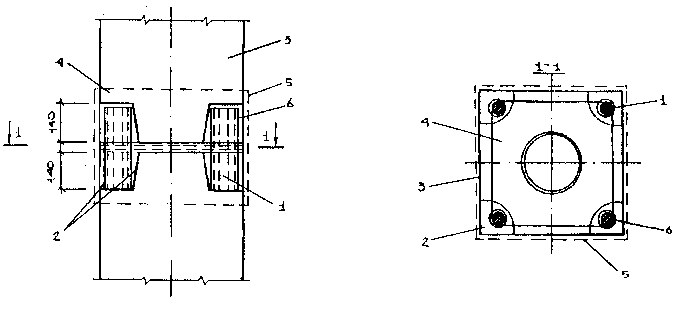
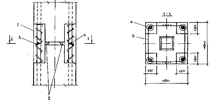
3.Колонны.
Колонна - вертикальный стержневой элемент каркаса, служащий для восприятия в основном вертикальной нагрузки. В колонне различают нижнюю часть (базу), ствол (фуст) и верхнюю венчающую часть (капитель). Колонны воспринимают нагрузку от прикрепленных к ним или опирающихся на них других элементов - ригелей, балок, плит перекрытий и т.д.
Колонны бывают каменные, бетонные, железобетонные и металлические.
Каменные колонны выполняются из кирпича, естественных и бетонных камней. По форме различают колонны квадратные, прямоугольные и круглые.
Колонны подразделяют: по местоположению - на рядовые, фасадные, торцевые, связевые и т.д.; по несущей способности - 2000,3000, 4000, 5000 и 6000 кН; по этажности - на одно-, двух- и многоэтажные; по виду поперечного сечения - на прямоугольные, квадратные и круглые; по типу стыка колонн - с плоскими металлическими торцами, с центрирующими прокладками, с выпусками свариваемой при монтаже арматуры и т.д.; по условиям опирания ригелей - на колонны с консолями, бесконсольные, со скрытыми консолями и т.д.; по классу бетона - В15, В25, ВЗО, В40, В50; по способу армирования ствола колонн - колонны с периферийным армированием, с центральным армированием, со спиральной арматурой, с металлическими сердечниками и т.д.; по способу изготовления - центрофугированные и т.д.
Металлические колонны применяются в каркасах производственных зданий, в путепроводах, эстакадах, в многоэтажных зданиях и в других случаях, когда нужно обеспечить минимальные размеры сечения колонны в целях увеличения полезной площади, либо при больших динамических нагрузках, передаваемых на колонны. При больших нагрузках на колонну более рационально применение железобетонных сборных колонн.
Железобетонные колонны подразделяются на три основные типа: с продольной арматурой и хомутами или поперечными стержнями, с косвенной арматурой в виде спиралей или сварных колец с жесткой арматурой. При одной и той же нагрузке колонны первого
типа имеют наибольшее поперечное сечение, второго - наименьшее.
Колонны каркаса могут быть одно-, двух- и многоэтажными.
Колонны сборного железобетонного каркаса изготовляют из тяжелого бетона и армируют согласно расчету гибкой арматурой (рис. 4).

Рис. 4. Деталь соединения колонны с фундаментом
I - колонна; 2 - сборный железобетонный фундамент стаканного типа; 3 заделка бетоном стыка колонны и фундаментного блока
Сечение колонн принимают обычно одинаковое по всей высоте здания.
Колонны нижних этажей выполняют с увеличением класса бетона и процента армирования.
Колонна снизу опирается на фундамент, как правило, стаканного типа. Для соединения с ригелями колонны имеют обычные скрытые консоли или могут быть бесконсольными, при котором соединение с ригелем осуществляется с помощью выпусков арматурных стержней их сварки и замоноличивания узла сопряжения.
Большинство проектов массовых общественных зданий базируется на основе каркасно-панельной системы с применением изделий, например, серии 1.020 -1 бывшего общесоюзного каталога унифицированных индустриальных изделий (табл.1).
Колонны предусматриваются бесстыковыми и стыковыми. Бесстыковые колонны имеют предельную высоту 13,75 м. Их применяют в зданиях малой и средней этажности.
Таблица 1
Габаритные схемы многоэтажных гражданских
каркасных зданий на основе серии 1-020-1
|
Шаг колонн в направлении пролета ригеля, мм |
Высота этажей, мм |
|
|
Зиб |
Колонны 400 х 400мм 2,8; 3,3; 3,6; 4,2; 4,8; 6; |
7,2 |
|
4,5 и 7,2 |
2,8; 3,3; 3,6; 4,2 |
|
|
9 |
3,6; 4,2; 4,8; 6; 7,2 |
|
|
3, 4,5 и 6 |
Колонны 300 X 300мм 2,8; 3,3; 3,6; 4,2 |
|
|
7,2 |
2,8; 3,3; 3,6; 4,2 |
|
В унифицированном каркасе стандартные сечения колонны при няты 300 Ч 300 мм для зданий высотой до 5 этажей, включительно 400 Ч 400 мм для всех остальных случаев (табл. 2).
Колонны применяются в зданиях с высотой этажа 3,0; 3,3; 3,6; 4,2 4,8; 6,0 и 7,2 м при шаге колонн в плоскости рам каркаса 3,0;.4,5; 6,1 и 7,2 м (табл. 3, 4).
Стык колонн выполняется с помощью стальных оголовников или стыкованием бетонных торцов. В унифицированном каркасе приняты бетонные стыки с ванной сваркой арматуры. Стыки колонн располагают на 60-80 см выше уровня перекрытия, чтобы обеспечить доступ к месту стыкования (рис. 5, 6).
Соединения колонн с ригелями показаны на рис. 8.
В одноэтажных колоннах стык с ригелями выполняют с помощью стальных оголовников (платформенный стык). Стык ригелей на открытых консолях затрудняет монтаж и работу каркаса. Открытая консоль увеличивает расход бетона, уменьшает габариты помещения, ухудшает интерьер. Этих недостатков можно избежать при использовании стыка со скрытой консолью. Во всех видах стыков соединение колонн и ригелей осуществляют сваркой закладных деталей или выпусков арматуры с последующим их замоноличиванием или заделкой цементным раствором.
Несущие конструкции зданий с безбалочными перекрытиями представляют собой железобетонный каркас, решенный по рамной схеме жесткими элементами. Элементами каркаса являются колонна, капитель и плоские плиты (плиты перекрытия и капители.
Таблица 2
Типы и номенклатура колонн сечением 300х300 мм для
зданий высотой до пяти этажей

Колонны зданий с безбалочными перекрытиями могут изготавливаться высотой на один-, два- и три этажа из бетона класса В15.. .В45 (табл. 4). Колонны армируются пространственными каркасами.
Стыки колонн располагаются на высоте 1 м от поверхности перекрытий и выполняются жесткими. Выпуски продольной арматуры колонн соединяются в стык с помощью ванной сварки и последующим замоноличиванием стыка (см. рис. 5-7). Железобетонные конструкции каркасных зданий в целом могут сопротивляться интенсивным сейсмическим воздействиям.
Железобетонные каркасы многоэтажных зданий, помимо требований по их унификации, технологичности и простоте устройства стыковых соединений, облегчению несущих ограждающих конструкций, должны быть способными к пластическому деформированию, поглощению энергии колебаний при сейсмических воздействиях и снижению инерционных
Таблица 3
Номенклатура колонн

Таблица 4
Номенклатура колонн серии 1.420.1-14

сейсмических нагрузок в зданиях. С этой целью на стадии проектирования целесообразно предусматривать специальные зоны образования пластических деформаций. Продольное армирование колонн принимается в пределах от 1% до 6°/о, а ригелей - от 1,5 до 3%. Поперечное армирование элементов каркасов осуществляется в виде замкнутых сваркой хомутов (рис. 9), объемных спиральных каркасов и т.п., узлов соединений ригелей с колоннами (рис. 10).

Рис.5. Варианты стыков колонн.

Элементы каркаса могут быть связаны между собой сваркой выпусков арматуры и замоноличиванием стыка бетоном или раствором с передачей усилий через железобетон.

Рис.6. Стык колонн с применением муфт.


Рис.7. Стык колонн с ванной сваркой арматуры


Рис.8. Узлы соединения колонн и ригелей.


Рис.9. Армирование узла сетками.


Рис.10. Армирование узла колонн и ригелей.
1 ригель; 2 колонна.
4. Ригели.
Ригели - горизонтальные элементы остова здания, воспринимающие вертикальные нагрузки, передаваемые преимущественно плитами перекрытий, распорками и передающие эти нагрузки на колонны. Кроме того, ригели участвуют в работе диска перекрытия по восприятию растягивающих и сжимающих усилий, возникающих в диске при его изгибе в своей плоскости.
Ригели различают: по местоположению - рядовые, фасадные, торцевые, коридорные, лестничные и т.д.; по несущей способности - в кН/м ригеля; по перекрываемому пролету - однопролетные, двухпро-летные, консольные и т.д.; по виду поперечного сечения - прямоугольные, тавровые с полкой понизу, с одно- или двусторонним опи-ранием настилов; по типу стыка с колонной - с подрезкой на опоре, с выпусками продольной арматуры; по классу бетона; по способу армирования; по способу производства - на предварительно напряженные с механическим натяжением арматуры, с электротермическим способом натяжения арматуры и т.д.
Ригели каркаса, как правило, имеют Т-образную форму с полкой понизу для опирания на нее настилов перекрытий. Такая конструкция ригеля позволяет уменьшить на толщину перекрытия размер выступающей в интерьер части ригеля. В опертой части ригели имеют подрезки, соответствующие размеру консоли колонн, в результате чего сопряжение ригеля с колонной осуществляется без выступающих в интерьер консолей или их частей. Ригели, как правило, имеют ширину понизу, равную ширине колонн.
Ригели изготавливают из бетона классов В25, ВЗО и В40 и армируют пространственными каркасами, в которые входят плоские каркасы, сетки и закладные детали, соединяемые с помощью дуговой или контактной сварки.
Ригели выполняют с подрезкой на опоре. Высота ригелей при легком каркасе принимается 300 мм при пролетах до 9 м включительно и 600 мм - при пролетах 12 м, а при тяжелом каркасе высота ригеля на опоре принимается не менее 600 мм.
Ригели монтируют к консолям колонн с приваркой их закладным деталям, что обеспечивает защемление концов ригелей и передачу растягивающих усилий, возникающих в диске перекрытий. Ригели легкого каркаса предназначены для связевых каркасов; ригели тяжелого каркаса - для использования, как в связевых, так и в рамных каркасах. Типы ригелей приведены на рис. 11.
Ригели легкого каркаса могут быть:
а) коридорными, высотой 300 мм, с пролетами 1,8 ... 3,6 м;
б) рядовыми, высотой 450 мм, с пролетами 1,8 ...6,6м и градацией 600 мм; высотой 600 мм, с пролетами 7,2 и 9 м; высотой 900 мм, с пролетами 12 м; в) лестничными (с одной полкой), высотой 450 мм, с пролетами 6 и 6,6 м;
г) фасадными, высотой 480 мм, с пролетами 1,8 ... 7,2 и 9 м.
Ригели тяжелого каркаса подразделяются на:
а) коридорные, высотой 600 мм, с пролетами 1,8; 2,4; 3 и 6 м;
б) рядовые, высотой 900 мм, с пролетами 6; 9 и 12 м;
в) фасадные, высотой 920 мм, с пролетами 3, 6 и 9м.
На фасадные ригели опирают панели наружных ограждений. Изготавливают ригели из бетона класса ВЗО и В40, а при высоте ригеля 300 мм - из бетона класса В25. Типы сборных ригелей приведены в табл. 5.

Рис.11. Железобетонные ригели.

Стык ригеля с колонной осуществляется приваркой его к консоли колонны в двух уровнях (частичное защемление); или в одном, нижнем, уровне (шарнирное опирание) (рис.12).
Опорный момент при частичном защемлении регулируется пределом текучести монтажных деталей ("рыбок"), воспринимающих верхнюю горизонтальную составляющую опорного момента. Частичное защемление ригеля обеспечивает устойчивость рам при монтаже, а также возможность организации каркаса в два этажа без диафрагм жесткости в направлении ригелей (верхние этажи здания).
Таблица 5.
Номенклатура ригелей по серии КМС-К1
Ригели каркаса с тавровым сечением высотой 450 и 600 мм с полками снизу и предназначены для рам пролетом 3,0; 6,0 и 7,2 м. Ригели имеют арматурные выпуски для жесткого соединения с уголковыми выпусками колонн (рис. 13).
Ригели высотой 450 мм применяются с колоннами каркаса для высоты этажей 3,0 и 3,3 м и предназначены для опирания многопустотных плит перекрытия; высотой 600 мм - для высот этажей в 3,6; 4,2; 4,8 и 6,0 м, предназначены для опирания многопустотных и ребристых плит.
Для устройства балконов предусмотрены консольные ригели с вылетом 1,2 и 1,8 м от грани колонны при высоте ригеля 450 и 490 мм.

Рис.12. Стык ригеля (а рядового, б коридорного) с колонной.

Для опирания лестничных маршей предусмотрены балки типа БЛ. Они имеют закладные детали для крепления с лестничными маршами.
Верхняя зона ригелей предусмотрена с обнаженными выступающими замкнутыми хомутами по всей длине (для пролета 3,0 м) или только на опорных участках, в которые в последующем устанавливается продольная арматура.
Верхнюю опорную арматуру закрепляют после монтажа ригеля сваркой с выпусками колонн и замоноличивают.
Для замоноличивания арматурных выпусков из панелей перекрытия и образования единого жесткого диска перекрытий ригеля должны иметь

Рис.13. Узлы соединения ригеля и колонны.
1 ригель; 2 колонна; 3 стальная консоль; 4 ванная сварка; 5 арматура ригеля; 6 дополнительное армирование.
высоту сечения ниже верха перекрытия. Верхнюю зону ригелей замоноличивают после укладки панелей перекрытия.
Продольное армирование ригелей рекомендуется принимать от 1,5 до 3%. Особое внимание уделяется поперечному армированию элементов каркаса (см. рис. 13).
5. Диафрагмы жесткости
Диафрагмы жесткости представляют собой вертикальные элементы несущей системы, выполняющие функции по восприятию горизонтальных нагрузок и передаче их фундаментам.
Диафрагмы жесткости воспринимают также непосредственно приложенные к ним вертикальные нагрузки от ригелей, плит перекрытий, лестниц, инженерного оборудования и др.
Диафрагмы жесткости выполняются из сборных железобетонных элементов, монолитных конструкций, образующих ядра жесткости, а также из решетчатых металлических конструкций.
Сборные элементы диафрагм жесткости подразделяют: по виду вертикального сечения - на консольные (одно- и двухконсольные) и бесконсольные; по типу горизонтального стыка диафрагм - на диафрагмы с закладными деталями в горизонтальном шве со шпонками, с контактным стыком; по наличию дверных проемов - на проемные и беспроемные.
Вертикальные диафрагмы жесткости проектируют на всю высоту здания, начиная от фундамента. Элементы диафрагм обычно имеют поэтажную разрезку.
Панели диафрагм жесткости в основном выполняются одноэтажными толщиной 140, 160 и 180 мм из бетона классов В15 и В25.
Арматура панелей состоит из нижней и верхней сеток. Панели с проемами дополнительно армируют по периметру проемов с учетом концентрации напряжений в угловых зонах.
Стены-диафрагмы монтируют из бетонных панелей высотой в этаж, имеющих одно- или двусторонние консольные полки в верхней зоне для опирания перекрытий (рис. 14).
Стены-диафрагмы устанавливают в пролетах между колоннами и рассчитывают на совместную с ними работу. В плане панели всегда устанавливают по координационным осям, а по вертикали таким образом, чтобы швы панелей совпадали с отметкой верха перекрытий (рис. 15).
При шаге колонн до 6 м ширина панели диафрагмы соответствует расстоянию между колоннами в свету, при шаге колонн 7,2 и 9 м стены-диафрагмы выполняют составными из двух-, трех изделий, с координационными размерами по ширине 1,2; 3,0 и 5,6 м. Панели-диафрагмы изготавливают глухими или с одним дверным проемом с размерами, приведенными на рис. 15.
Контактные стыки панелей стен-диафрагм выполняют с помощью стальных сварных связей с колоннами со слоем цементно-песчаного раствора. Число сварных связей назначают в зависимости от высоты этажа, но не менее двух на этаж. После сварки вертикальные швы замоноличивают (рис. 16).
Панели диафрагм жесткости подбирают по геометрическим параметрам и соответствующими прочностным характеристикам от действующих усилий. В пролете между двумя колоннами должна быть установлена только одна панель с проемом; дверные проемы по высоте стремятся размещать друг над другом; вертикальные швы панелей не должны перебиваться; смежные по высоте панели должны прикрепляться горизонтальными дисками перекрытий в целях обеспечения поперечной устойчивости диафрагмы.
Шаг диафрагм устанавливается путем расчета и составляет не более 36 м по длине здания.

Рис. 14. Стены жесткости.


Рис.15. Стены жесткости.


Рис.16. Узлы стены жесткости.

6. Перекрытия.
Перекрытия (рис.17) выполняются из железобетонных настилов многопустотного сечения высотой 220 мм и ребристых сантехнических панелей.
Предусмотрены несколько типов изделий панелей перекрытий :- рядовые распорки внутренние (по внутренним рядам колонн), распорки фасадные, фасадные лестничные и доборные (у стен жёсткости или стен лестничных клеток), распорки сантехнические из ребристых панелей с гладкой плитой по низу, укладываемых в местах пропуска инженерных коммуникаций, а также плит перекрытий лоджий и балконов.
Опирание панелей перекрытий на полки ригелей или стен жёсткости- шарнирное. Для создания целостного жёсткого горизонтального диска на боковых сторонах панелей перекрытий имеются шпоночные углубления, дающие возможность создать бетонные соединительные шпоночные вертикальные швы.

Рис.17. Взаимная компоновка сборных элементов панелей перекрытий:
а- в плоскости рам каркаса; б • из плоскости рам каркаса; НВ • настил; НРБ - настил-распорка внутренняя; НРФ - настил-распорка фасадная; НРД • настил-распорка дополнительная; Р- ригель; КФ - колонна фасадная; КР - колонна рядовая; МФ - фасадная стеновая панель; СтЖ - стена жесткости
7.Наружные стены.
Наружные стены (рис.18-19) монтируют из панелей, позволяющих создать горизонтальную или вертикальную разрезку фасадной плоскости.
При двухрядной (горизонтальной) разрезке панели делятся на поясные (полосовые) и простеночные.
При вертикальной разрезке - на вертикальные высотой на этаж, вертикальные с верхним или нижним выпуском и межоконные панели.
Панели вертикальной разрезки подчинены модульной сетке с размером 300x300 мм (как по высоте, так и в плане). Вертикальные панели с верхним или нижним выпуском позволяют решать фризовую или цокольную часть стены.
Координационные размеры элементов горизонтальной разрезки по высоте составляют для поясных элементов-1.2; 1.5; 1.8 и 3.0м, для простеночных - 1.5; 1.8 и 2.1 м.При шаге колонн вдоль фасада 9 и 12 м вводят дополнительную фахверковую колонну для промежуточного крепления двух заполняющих пролёт стеновых панелей длиной 6 и 3 м при пролёте 9 м или 6 и 6 м -при пролете 12 м
Примеры компоновки фасадов при различных системах разрезки стен на панели приведены (см. на рис.18).

Рис18. Углы сопряжений панелей наружных стен:
а - фрагмент монтажной схемы фасада с горизонтальной разрезкой стен на панели; МФ - фасадная стеновая панель; МП - простеночная стеновая панель; МУ - панель уступа; МПД - подоконная стеновая панель; НРФ- настал-рас порка фасадная; РР- ригель-распорка; I- панель наружной стены; 2 - опорный узел; 3 - цементный раствор; 4 - затирка; 5 • герметизирующая лента; 6 - краска; 7 - герметизирующая мастика; В - гернит; 9 - смоляная пакля 10 - клей-герметик; 11 - слив из оцинкованной стали
Панели ненесущих наружных стен поэтажно передают нагрузку на фасадные ригели или настилы распорки. Координационный размер глубины площадки опирания 100 мм. Опорный стык и длина свеса панели ниже перекрытия унифицированы для разных систем разрезок стен.
Опирание панелей наружных стен осуществляется по слою цементного раствора со сварным креплением на опоре к закладным деталям в фасадном ригеле или настиле перекрытия. Верхнюю часть панели крепят к колонне.
При вертикальной разрезке предусмотрено крепление стеновых элементов через две опорные закладные детали в нижних углах панели к фасадному ригелю или фасадной распорке. Опорные закладные детали двух смежных стеновых панелей устанавливают и крепят к одной закладной детали перекрытия. К ней же крепят и верх нижележащей стеновой панели (узел 5 на рис.19).

Рис. 19.Узлы сопряжении панелей наружных стеи вертикальной разрезки:
1 - конопатка паклей, смоченной в цементном молоке; 2 - монтажная петля; 3 - соединительная скоба; 4 - сварные швы, покрытые протекторным грунтом; 5 - цементный раствор; 6 - один сдой рубероида насухо; 7 • соединительная прокладка; 8 - металлическая балка; 9 - бетон замоноличивания; 10 - арматурная сетка; 11 - окраска; 12 -герметизирующая лента; 13 • герметизирующая мастика 14 - гернит; 15 - смоляная пакля; 16 • гвозди.
Горизонтальные стыки панелей всех типов осуществлены в четверть с нахлёсткой в 75 мм. Заполнение стыка упругими прокладками исключает передачу вертикальной нагрузки с панели на панель, а наличие нахлёстки - раскрытие горизонтального шва при прогибах опорных фасадных ригелей или распорок перекрытий.
Изоляция вертикальных и горизонтальных сопряжение панелей наружных стен выполнена по принципу дренированного стыка.
Например, в серии ТК-1-2 (для строительства в г.Москве) предусмотрена привязка внутренней поверхности наружных стен на расстоянии 400 мм от оси колонн фасадного ряда с образованием зазора между колонной и стеной в 200 мм, обычно используемого для скрытой установки стояков отопления, прокладки слаботочных сетей и других инженерных коммуникаций.
8. Безригельный каркас.
Основным недостатком каркасной системы дли жилых зданий являются выступающие в интерьере из плоскости перекрытия ригели,
Конструктивные разработки, ведущие к устранению этого недостатка, проявились в следующих решениях:
- каркасная система со скрытыми ригелями, образуемые в построечных условиях с предварительно-напряжённой арматурой (система КПНС);
- безбалочное перекрытие, формируемое из сборных элементов плит сплошного сечения с опорой на колонны, устанавливаемых по углам квадратного (6x6 м) плана (система КУБ ).
Система со скрытыми ригелями в плоскости перекрытия (КПИС) проектируется по связевой схеме из сборных элементов: колонны, плиты перекрытия, стены-диафрагмы жёсткости (рис.20).
Ригели, высотой в толщину плиты перекрытия, создаются в построечных условиях замоноличиванием перекрёстно расположенной канатной арматуры, пропущенной через сквозные отверстия в колонне.
При натяжении арматуры в построечных условиях создаётся двухосное обжатие плит перекрытия. Система позволяет воспринимать широкий диапазон нагрузок, габаритов пролётов и высот зданий.
Безригельная система КУБ (рис.21) выполняется из сборных элементов: колоны с металлическими воротниками в плоскости перекрытий; трех основных типов плит перекрытия толщиной в 16 см (надколонная, межколонная и средняя).

Рис.20. Безригельный каркас с натяжением арматуры в построечных условиях. А компоновка узла примыкания плит перекрытий и пропуск арматуры через колонну; Б схема компоновки несущих конструкций; 1 уголковый вкладыш; 2 плита перекрытия; 3- напрягаемая канатная арматура; 4 колонна; 5 фасадная распорка; 6 консольная плита перекрытия; 7 плита перекрытия с проемом для лестницы; 8 типовая плита перекрытия.

Рис.21. Безригельный каркас системы КУБ:

Колонны бесстыковые, высотой до 15,3 м, с нанизанными на неё надколонными плитами и соединённые с ней сваркой по металлическому воротнику. Межколонные и средние плиты имеют шпонки, позволяющие после сварки и замоноличивания, создать единый диск перекрытия, воспринимающий как вертикальные, так и горизонтальные нагрузки.
Пространственную жёсткость обеспечивают крестовые стальные связи между колоннами.
Как в первом, так и во втором вариантах безригельной системы каркаса наружные стены могут выполняться из сборных элементов (панелей) или местных материалов, выполняя роль ненесущих или самонесущих стен.
Лекция. 5
Монолитные и сборно-монолитные здания.
- Этапы развития монолитного домостроения и перспективы его
развития в Республике Беларусь.
Внедрение монолитного домостроения началось во второй половине
20-х годов ХХ в.
Затем началось развитие сборного железобетона.
Новый этап развития монолитного бетона начался в 60-х годах ХХ в.
Из монолитного бетона начали возводить дома в г.г.Минск, Сочи, Тула, Кишинев, Алма-Ата, Баку, Москва и др. городах СССР.
В 60-х начале 70-х годов ХХ в. преобладал метод возведения в скользящей опалубке. Однако из-за трудоемкости устройства перекрытий больше, чем на возведение стен, возведение зданий с использованием этого метода снизилось в странах СНГ (Молдова, Туркменистан, Узбекистан и др.) и за рубежом (Болгария, Югославия, Венгрия).
Применение переставной опалубки в практике монолитного домостроения относится к началу 70-х годов ХХ в.
Первые здания по этому методу были возведены в г.Кишиневе (9-этажный жилой дом), в г.Санкт-Петербурге ( два 22-этажных жилых дома), в г.Вильнюсе. За рубежом во Франции, Германии, Венгрии.
При этом за рубежом использовались следующие виды опалубок:
- крупнощитовая стен и перекрытий;
- объемно-переставная (туннельная);
- блочная.
При этом в практике строительства получили применение четыре системы унифицированных переставных опалубок.
Например, опалубка «Гражданстрой» для возведения монолитных и сборно-монолитных зданий с модульной сеткой, кратной 3М (300 мм) следующих типоразмеров: 2,8; 3,0; 3,3; 3,6 ; 4,2 м. Шаг поперечных стен- 2,4-7,2 м, толщина сены 120-500 мм, толщина перекрытий - 120-220 мм.
Для усадебных домов в Республике Беларусь разработана система опалубки на деревянном каркасе с водостойкой фанерой.
В 80-е годы ХХ в. соотношение пропорций строительства зданий с применением сборного и монолитного бетона во многих зарубежных странах мира говорят в пользу последнего. В США это соотношение составляет соответственно: 37% и 63%. В Великобритании - 32% и 68%, во Франции - 14% и 86%. Причем в этот период прослеживается тенденция к дальнейшему росту удельных объемов использования монолитного бетона.
В Республике Беларусь также возрастают темпы монолитного домостроения наряду со строительством других типов домов.
В 2006-2010 годах Министерство архитектуры и строительства Белоруссии планирует направить на научно- исследовательские и проектные работы в строительстве Вг25 млрд.
При этом одним из приоритетных направлений исследований станет разработка схем модернизации конструктивно-технологических систем жилых зданий. В частности, предполагается модернизировать технологии возведения крупнопанельного, монолитного и сборно-монолитного строительства, что позволит на 10- 30% снизить материалоемкость возводимых зданий и улучшить потребительские качества этих типов жилья.
Кроме того, по словам специалистов, в ближайшие годы планируется
создать новые технологии возведения энергоэффективных жилых зданий.
Специалисты рассчитывают, что в таких конструкциях можно будет
использовать возобновляемые источники энергии и утилизировать
тепловую энергию, выделяемую в процессе жизнедеятельности человека. Проектные работы также будут направлены на усовершенствование применяющихся в строительстве систем энергообеспечения жилых зданий и инженерных коммуникаций, что позволит сократить потребление энергии в 3 раза.
В 2006-2010 годах также планируется расширить спектр теоретических исследований и практических работ по созданию и внедрению в производство новых композиционных, кровельных и теплоизоляционных материалов, модернизировать технологии производства цемента, железобетонных конструкций с применением современных химических добавок, позволяющих на 20% снизить энергозатраты при производстве и придать изделиям повышенные потребительские качества.
Помимо этого, в 2006-2010 годах архитекторы продолжат изыскания по разработке теоретических и практических решений устойчивого развития городов и создания перспективных генеральных планов населенных пунктов.
Белоруссия в 2006-2010 годах планирует направить на реализацию государственной программы развития строительного комплекса республики около $1,5 млрд. Финансирование мероприятий программы будет осуществляться, в основном, за счет собственных средств предприятий и организаций отрасли, а также с привлечением заемных средств и средств инновационного фонда министерства. Программа предусматривает увеличение мощностей производственных предприятий отрасли в 1,5 раза, что потребует проведения коренных изменений в технологической структуре строительной отрасли, модернизации и технического перевооружения предприятий.
Интенсивное развитие предприятий строительного комплекса Белоруссии будет способствовать активизации жилищного строительства в республике в соответствии с заданиями правительства. Так, в 2006-2010 годах в республике планируется возвести более 26 млн.кв.м жилья, в том числе I 2006 году - 6,2 млн.кв.м.
Возведение жилья будет вестись с применением методов полносборного, объемно-блочного и крупнопанельного домостроения с внедрением современных наукоемких ресурсосберегающих технологий и переоснащением их комплектами нового оборудования оснастки (1,55 млн.кв.м жилья). С применением методов монолитного и сборно-монолитного домостроения в 2006-2010 годах будет возведено 1,1 млн.кв.м жилья.
2. Конструктивные решения монолитных зданий.
Монолитные здания выполняют в различных вариантах конструктивных систем в зависимости от решений основных несущих конструкций:
- стеновая система с малым шагом несущих внутренних стен (вариант 1);
- стеновая система с широким шагом несущих внутренних стен (вариант 2):
- каркасная безригельная система;
- конструктивная безригельная система с несущими пилонами;
- конструктивная ригельная система с несущими пилонами;
- каркасная система с плоским перекрытием коробчатого типа.
Стеновая система с малым (широким) шагом несущих стен (варианты I и 2).
При этих конструктивных схемах несущими конструкциями являются поперечные сплошные стены из монолитного бетона, расположенные с малым (3,0 -3,6 м) или с широким шагом (до 9,0 м) (рис.1).
Расположение стен с малым шагом усложняет свободу планировки, особенно в случаях перепланировки квартир.
Несущие внутренние стены - это бетонные пластины, работающие на внецент-ренное сжатие. Их армируют двумя сетками, соединенными между собой специальными арматурными шпильками. Возможен вариант армирования вертикальными каркасами, к которым крепят арматурные сетки (рис.2).

Стеновая система с широким шагом несущих стен
(Вариант 2)
План стен

Рис.1. Стеновая конструктивная система монолита.
По краям стен и проемов устанавливают вертикальные каркасы или гнутые стержни, приваренные к вертикальным сеткам. Гнутые стержни располагают и в местах пересечений стен. При процессе возведения стен соблюдают непрерывность армирования.
В наружные стенки приставных лоджий прокладывают теплоизоляционные вкладыши.
Вариант армирования проема во внутренней стене


Рис.2. Узлы армирования внутренних стен.
Монолитные перекрытия в конструктивной стеновой системе работают как неразрезные балочные системы или как плиты, защемленные по трем или четырем сторонам (рис. 3.). Армирование плит перекрытий производят арматурными (сварными или вязанными) сетками. Сетки укладывают в нижнем сечении плиты, а в местах опирания на вертикальные стены - в верхнем сечении. В местах опирания плит на наружные стены прокладывают теплоизоляционные пакеты. Теплоизоляцию плиты перекрытия соблюдают при устройстве лоджий и балконов. В конструкциях монолитных зданий допускается устройство перекрытий из сборных панелей.

Рис.3. Планы перекрытий монолитного здания стеновой конструктивной системы.
Каркасная конструктивная система монолита представляет свободу в планировке жилых помещений, а также возможность устройства нежилых объемов (магазины, кафе, рестораны) в нижних этажах зданий (рис.4). Также как и в стеновой системе соблюдают принцип непрерывного

Рис.4. Каркасная безригельная система.
армирования при возведении несущих конструкций. Колонны армируют вертикальными стержнями с замкнутыми хомутами или вертикальными каркасами. Монолитные перекрытия армируют меж колоннами сетками и под колоннами, рассчитанными на усилия от продавливания. Вариантами каркасной системы служат конструктивные системы с плоскими пилонами (плоские колонны) (рис.5 и 6). Они могут быть решены как с

Рис.5. Конструктивная безригельная система с несущими пилонами.
устройством ригелей в плоскости перекрытия, так и без них. Так же, как и каркасные системы, они обладают свободой планировочных решений, но имеют некоторые недостатки по сравнению с каркасной системой:
- колонны заменены плоскими участками стен, более развитыми по сравнению с сечением колонн;
- при ригельной системе появляются балки в интерьере помещений.

Рис.6. Конструктивная система монолита с несущими пилонами.
Следует отметить, что с точки зрения конструктивного решения ригельная система имеет преимущества перед безбалочной в связи с упрощением армирования перекрытий, не требующих усиления его надколонной части.
Габариты пилонов колеблются 200-250x1200-1500 мм. Армирование пилонов назначают по расчету.
Каркасная система с плоским перекрытием коробчатого типа (рис. 7) применяют при большом шаге расстановки колонн - 7,2x7,2 м или
9х9 м.

Рис.7. Каркасная система с плоским перекрытием коробчатого сечения.
Плоская плита перекрытия высотой в 400 мм представляет собой систему перекрестных балок (ребер) с уложенными между ними вкладышами из теплоизоляционных материалов (пенополистирол, минераловатные плиты и пр.). Верхняя (толщиной 60 мм) и нижняя (толщиной 50 мм) плоскости плиты связаны между собой ребрами. Верхняя и нижняя плоскость плиты армируется конструктивными сетками, а ребра - сварными или вязаными каркасами. По осям колонн располагают основные балки шириной порядка 400 мм и армируют рабочей арматурой. Второстепенные (дополнительные) балки, идущие с шагом 600 мм, имеют ширину 120-150 мм, их армирование конструктивное.
Каркасная система с плоским коробчатым перекрытием имеет большую несущую способность, хорошие звукоизоляционные свойства и достаточно проста в изготовлении.
3. Наружные стены монолитных зданий
Наружные стены монолитных зданий могут иметь многовариантные решения:
- стены полностью монолитные;
- стены слоистые с монолитным железобетонным слоем;
- стены, выполненные из не бетонных материалов (кирпич, ячеистобетонные и керамзитобетонные блоки).
Полностью монолитные стены возводят из бетона плотностью 1000-1400 кг/м3 . Современные требования строительной теплотехники ограничивают их применение южными районами страны.
Монолитные слоистые наружные стены имеют внутренний несущий железобетонный слой, а для выполнения наружного слоя существует ряд модификаций: -
А - наружный монолитный слой;
Б - наружный слой из кирпичной кладки;
В - с наружной облицовкой железобетонными скорлупами.
А - Монолитные слоистые наружные стены (рис. 8) возводят непосредственно на строительной площадке с предварительной установкой в опалубку термопакетов. После чего производят одновременное бетонирование наружного (не менее 70 мм) и внутреннего слоев. В уровне перекрытия бетонные слои стены соединяют бетонными шпонками. Между шпонками укладывают несгораемый утеплитель, играющий роль поэтажного разделителя.
Б - Монолитная наружная несущая стена с наружным слоем из кирпичной кладки (рис. 9)
В первую очередь возводят внутренний монолитный слой, к которому при помощи анкеров крепят утеплитель. Для соединения внутреннего 
Рис.8. Монолитная слоистая наружная стена.
монолитного слоя и кирпичной кладки закладывают металлические связи, на которые накалывают утеплитель.
Монолитная плита перекрытия заходит за несущий внутренний бетонный слой наружной стены в виде решетки с гнездами утеплителя. При перекрытиях, выполненных из сборных железобетонных плит, в теле стены устраивают монолитный пояс, связанный арматурой со сборными элементами перекрытия.
По высоте стены в уровне перекрытия устанавливают по наружной поверхности облицовочную плитку под кирпич.

Рис.9. Монолитная слоистая наружная стена с облицовкой кирпичом.
В - Трехслойная монолитная наружная стена с наружной облщовкой железобетонными скорлупами (рис. 10). Скорлупа может иметь любую конфигурацию сечения.
Монолитная плита перекрытия, как и в описанном выше варианте, заходит за внутренний железобетонный слой стены в виде решетчатой конструкции с гнездами утеплителя.
Технология производства такой конструкции предусматривает в первую очередь установку и крепление к перекрытию и внутренним поперечным монолитным стенам железобетонных скорлуп. Затем на скорлупу с внутренней стороны наклеивают утеплитель. После чего приступают к армированию и бетонированию в щитовой опалубке внутреннего несущего

Рис.10. Монолитная слоистая наружная стена с облицовкой железобетонными
скорлупами.
слоя стены. Перекрытие, как и в варианте Б - может быть решено с применением сборных плит.
4. Конструкции внутренних стен и перекрытий.
Конструкции внутренних несущих стен, как правило, маловариантны (рис.11). Это бетонные пластины (из тяжелого или легкого конструктивного бетона), тонкие пластины сплошного сечения, работающие на внецентренное сжатие. Стены имеют обычно конструктивное армирование, рабочее армирование предусматривают в перемычках и тонких простенках. Основное разнообразие вносят принятые решения узлов сопряжений с перекрытиями (монолитными, сборно-монолитными или сборными).
Монолитные перекрытия проектируют по классической схеме многопролетных неразрезанных плит, опертых на несущие стены по контуру или по трем сторонам. Плиты имеют сплошное сечение, толщину не менее 160 мм (рис.12).
Сборно-монолитные с перекрытия состоят из двух элементов - нижней сборной плиты толщиной 40-60 мм, выполняющей функции несъемной опалубки, и верхнего монолитного бетонного слоя толщиной 100-120 мм (рис.13).
Сборные перекрытия монтируют из типовых изделий, применяемых в массовом строительстве, - панелей сплошного сечения или многопустотных настилов со специальной модификацией торцов. Она заключается в увеличении скосов торцов, большем раскрытии торцов настилов в зонах пустот и в дополнительных арматурных выпусках для устройства сварных или петлевых связей между элементами (рис.14).
В соответствии с принятой конструкцией перекрытия выбирается вариант перекрытия лоджий: с консольным выпуском монолитной плиты перекрытия, либо из сборных настилов. В обоих случаях зона пересечения перекрытием наружной стены лоджии утепляется.
Остальные конструкции монолитных и сборно-монолитных зданий лестницы, перегородки, лифтовые шахты и пр. выполняют из унифицированных изделий также как и в зданиях прочих строительных систем.

Рис.11. Сопряжения внутренних монолитных стен с перекрытиями; А - контактные узлы: а - при монолитных перекрытиях; б - при сборно-монолитных перекрытиях со сборными скорлупами, выполняющими функции оставляемой опалубки; в - при сборных сплошных плитах перекрытия и связях посредством сварки выпусков; г-то же, при петлевых связях; л - при сборных многопустотных плитах перекрытия и связях посредством сварки выпусков; г - то же, при петлевых связях. Б - комбинированные узлы: а - при плитах со вскрытыми пустотами и связями посредством сварки монтажных петель или скруток; б-то же. при сочетании в узле торца со вскрытыми пустотами и "усиленного" торца; в - то же, при связях в виде каркасов замоноличиваемых в пустотах; г-то же, при вертикальном армирования узлов; д-то же. при связях посредством выпусков; е - то же, при сочетании торца со вскрытыми пустотами и "усиленного" торца: ж - при сборно-монолитных перекрытиях со с скорлупами, выполняющими функции оставляемой опалубки; : - то же, при вертикальном армировании узла. В - платформенные узлы: а - при сборных сплошных перекрытиях н связях посредством сварки закладных деталей; б - то же, при связях посредством сварки выпусков; в - при сборных многопустотных плитах перекрытия с заделкой пустот бетонными пробками и связях посредством сварки монтажных петель или скруток; г-то же, с "усиленными" торцами плит перекрытия; д - при сборно - монолитных перекрытиях со сборными скорлупами, выполняющими функции оставляемой опалубки; 1 - монолитная стена; 2 - монолитное перекрытие; 3 - технологический шов; 4 - арматура плиты; 5 - сборная скорлупа, выполняющая функции оставляемой опалубки); 6 - опорная арматура сборно-монолитной плиты; 7 - сборная сплошная плита; 8 - сварные связи плит: 9 - горизонтальная арматура и вил отдельных стержней; 10 - петлевые связи; 11- сборная многопустотная плита; 12 - заглушка; 13 -растворный шов; 14 -бетонная пробка; 15 -связи многопустотных плит перекрытий из отдельных стержней; (6 -монтажные легли; 17 - связи многопустотных плит в виде плоских каркасов, замоноличенных в пустотах; 18 - плоский горизонтальный арматурный каркас.

Рис.12. Монолитные неразрезные перекрытия, защемленные в наружных и внутренних стенах при контактных сопряжениях: 1 - наружная стена; 2 • внутренняя стена; 3 - монолитная плита перекрытия; 4 -нижнее армирование; 5 - верхнее армирование (на опорах)

Рис.13. Сборно-монолитное перекрытие: Л - установка сборных тонких железобетонных "скорлуп", выполняющих роль несъемной опалубки; Б - замоноличивание плиты; В - схема раскладки "скорлуп" и верхних арматурных сеток; I - монолитная стена; 2 - "скорлупа"- 3 - монолитная часть; 4 - телескопическая стойка; 5 -опорный брус; 6 - нижняя арматурная сетка; 7 - верхняин арматурная сетка; 8 - каркас "скорлупы"; 9 - арматурная сетка па стыке "скорлуп"


Рис.14. Сборное перекрытие из железобетонных плит:
А - монтажный план перекрытий; Б - деталь опирания многопустотного настила перекрытия на монолитную наружную стену, В - то же, на внутреннюю стену; Г - деталь опирания плит перекрытия сплошного сечения со сварными связями на внутреннюю монолитную стену; Д - то же, с замоноличиваемыми петлевыми связями; 1-П - плита перекрытия; ПЛ - плит, лоджии; ЛП - плита лестничной площадки; ЛМ -лестничный марш; I -монолитный слой наружной стены; 2 -утепляющая сборная скорлупа; 3 - плита перекрытия; 4 - анкер; 5 - анкерный стержень; 6 -монолитная внутренняя стена; 7- арматурный каркас; 8 - цементный раствор; 9 - уровень бетонирования;10 сварная связь; 11 петлевой выпуск; 12 арматурный каркас.
- Узлы сопряжения плит перекрытий с монолитными стенами.
Узлы сопряжения плит перекрытий с монолитными стенами в зависимости от способа передачи сжимающих усилий и типа плит перекрытий рекомендуется проектировать контактными, платформенными или комбинированными (рис. 15-20).
В контактном узле сжимающие усилия передаются только через монолитный бетон несущей стены (рис. 15, 16). В контактном узле можно применять монолитные, сборные и сборно-монолитные перекрытия, включающие сборные плиты-скорлупы, которые выполняют функции опалубки. Сборные плиты перекрытий заводятся за грань стены на величину 90 мм.
-
Рис. 15. Контактные узлы наружных монолитных стен.
а при монолитных плитах перекрытия; б при сборно-монолитных плитах перекрытия; в при сборных сплошных плитах перекрытия и связях со стенами посредством отдельных стержней; г то оке, при петлевых связях; д - при сборных многопустотных плитах перекрытия и связях со стенами посредством отдельных стержней; е то же, при петлевых связях.

Рис.16. Контактные узлы внутренних монолитных стен
а ~ при монолитных перекрытиях; 6 - при сборно-монолитных перекрытиях; в - при сборных сплошных плитах перекрытий и связях посредством сварки выпусков арматуры; г-то же, при петлевых связях; д - при сборных многопустотных плитах перекрытия и связях посредством сварки выпусков арматуры; е - то же, при петлевых связях; I - монолитная стена; 2 - монолитное перекрытие; 3 - технологический шов; 4 - арматура плиты; 5 - сборная скорлупа; б - опорная арматура; 7 - сборная сплошная плита; 8 - сварные связи плит; 9 - горизонтальная арматура в виде отдельных стержней; 10 - петлевые связи;11 - сборная многопустотная плита; 12-заглушка
При платформенном стыке сжимающие усилия передаются через опорные участки плит перекрытий, При устройстве платформенного стыка применяются сборные и сборно-монолитные перекрытия, включающие сборные плиты-скорлупы.
Комбинированные стыки образуются сочетанием контактного и платформенного стыков.
Для повышения несущей способности несущей способности контактных и комбинированных стыков железобетонных стен предусматривается установка в стыках вертикальной арматуры.

Рис. 17. Платформенные стыки внутренних монолитных стен
а - при сборных сплошных перекрытиях и связях посредством сварки закладных деталей; б- то же, при связях посредством сварки выпусков арматуры; в - при сборных многопустотных плитах перекрытиях; г - при сборно-монолитных перекрытиях; цифровые обозначения 1-12 см. на рис. 16:13-растворный шов; 14 - бетонная пробка; 15 - связи многопустотных плит; 16-монтажная петля

Рис. 18. Комбинированные узлы наружных монолитных стен со
сборными многопустотными и сборно-монолитными
перекрытиями
а - при многопустотных плитах перекрытия и связями в виде отдельных стержней; б - то же, со связями в виде каркасов; в - при сборно-монолитном перекрытии; цифровые обозначения 1-16 см. рис. 16: 17 - связи междуэтажных плит в виде металлических каркасов; 18- плоский каркас

Рис. 19. Комбинированные узлы монолитных стен со сборными сплошными плитами перекрытий
а при прерывистом опирании и связях посредством сварки выпусков арматуры; б-то же, при петлевых связях; цифровые обозначения см. на рис. 16, 18.


Рис. 20. Комбинированные узлы внутренних монолитных стен
а при плитах с пустотами и связями посредством сварки монтажных петель или скруток; б-то же, при связях в виде металлических каркасов; в - то же, при связях посредством выпусков; г - при сборно-монолитных перекрытиях и вертикальном армировании узла; цифровые обозначения см. на рис. 16,18.
- Достоинства и недостатки монолитного домостроения.
Прежде всего, это возможность создания свободных планировок с большими пролетами за счет перехода к неразрезным пространственным системам.
Другим преимуществом данной технологии является возможность создания практически любых криволинейных форм, что также расширяет спектр решений при создании уникальных архитектурных образов зданий (рис.21).

Рис. 21. 16-этажный монолитный жилой дом в г. Минске.
Конструкции, выполненные по монолитной технологии, практически не имеют швов, следствием чего является отсутствие проблем со стыками и с их герметизацией, а также повышение теплотехнических и изоляционных свойств.
Расход стали снижается на 7-20%, а бетона - до 15% по сравнению с конструкциями из сборного железобетона.
При всех достоинствах монолитного домостроения данная технология (впрочем, как и всякая другая) не лишена и некоторых недостатков.
Недостатки монолитного домостроения заключаются в следующем.
Производственный цикл в данном случае переносится на строительную площадку под открытым небом, а это значит, что дождь, снег, ветер, жара и холод будут создавать дополнительные трудности производству монолитных конструктивных элементов.
Особые сложности возникают при бетонировании в зимних условиях.
Главная проблема состоит в замерзании несвязанной воды затворения в начальный период структурообразования бетона.
Основной задачей производства бетонных работ в зимних условиях является обеспечение надлежащих температурных условий выдерживания бетона и сокращение сроков набора им необходимой прочности.
Проведение строительных работ при отрицательных температурах требует применения специальных способов приготовления, подачи, укладки и выдерживания бетона:
- применение бетонных смесей с водоцементным отношением до 0,5;
- приготовление бетона на быстротвердеющих и высокоактивных
цементах;
- в отдельных случаях повышение марки цемента или увеличение
расхода цемента;
- подогрев компонентов бетонной смеси и воды;
- подготовка основания, на которое будет укладываться бетон;
- очистка арматуры и опалубки от снега и наледи;
- выдерживание необходимой температуры до набора бетоном
критической прочности;
- распалубливание при температуре контактирующего слоя не ниже
+5°С.
Сответствующее технико-экономическое обоснование позволяет определить возможность применения какого-либо из существующих методов зимнего бетонирования, а чаще их комплекса:
- метод "Термоса"- предварительно подогреваются заполнители и вода либо готовая бетонная смесь. Бетон, медленно остывая, а также используя теплоту, выделяющуюся при реакции твердения цемента без искусственного подогрева в утепленной опалубке, набирает заданную прочность. Это наиболее экономичный способ, он хорошо сочетается с добавками-ускорителями и подходит для массивных конструкций;
- бетонирование с применением противоморозных добавок-
в бетонную смесь на стадии ее приготовления вводятся добавки, понижающие температуру замерзания воды. Затраты труда при этом методе минимальны, однако период набора критической прочности -самый продолжительный;
- электропрогрев бетона- температура свежеуложенного бетона повышается до максимально допустимой и поддерживается до приобретения необходимой прочности посредством электричества (провода в теле конструкции, электроды). Необходимая прочность достигается в короткие сроки. Один из наиболее распространенных методов;
- конвективный прогрев бетона - передача теплоты свежеуложенному бетону осуществляется через воздушную среду при помощи, например, электрокалориферов или тепловых пушек. Этот метод может быть реализован в замкнутом пространстве. Отличается низкой трудоемкостью;
- греющая опалубка- передача тепловой энергии обеспечивается благодаря непосредственному контакту с опалубкой, оснащенной нагревателями в виде греющих проводов, лент и т.п. В греющую опалубку может быть переоборудована любая инвентарная опалубка.
7. Особенности возведения сборно-монолитного каркаса
Новая конструктивно - планировочная система (сборно-монолитный каркас) открывает широкие возможности для решения всех задач.
Появилась возможность при достаточно свободно расположенной сетке колонн от 1,5 до 12 метров при одной и той же конструктивной системе создавать несколько планировочных вариантов квартир, различных по набору помещений и планировке. Более того, к моменту завершения монтажа здания, ведутся работы с заказчиком - т.е. с жильцами этого здания по удовлетворению их желаний по планировке квартир.
Наружные стены могут быть различной конструкции от трехслойных панелей до мелкоштучного заполнения. Возможна передача веса стен на каркас (при навесных стенах). Стены могут быть и самонесущими, передающими нагрузку на фундаменты, минуя каркас. Свобода в выборе конструкции стен позволяет применять сборно-монолитную технологию в различных климатических условиях.
Меняется основное - качество и скорость. Изготовление несъемной опалубки перекрытий, колонн и ригелей в заводских условиях позволяет вести контроль за качеством продукции, не терять время в условиях стройки на исправление дефектов, а планомерное поступление строительных изделий на стройку делает возможным за 1 месяц на здании монтировать до 3000 м2 площади.
Сборно-монолитный каркас здания (сооружения), работающий как рамно-связевая система, воплотил в себе положительные свойства, как полносборного каркаса, так и ряд преимуществ монолитных конструкций.
Жесткое сопряжение ригеля с колонной (уменьшение пролетного изгибающего момента за счет перераспределения его на опорный), а также включение в работу сборно-монолитного ригеля примыкающих участков перекрытия (расчетное тавровое сечение) позволило значительно сэкономить расход железобетона на 1 м2 общей площади здания по сравнению с другими расчетными схемами несущих каркасов. Расход сборного железобетона в сборно-монолитном каркасе составляет 0,11 - 0,15 кв.м на 1 кв.м общей площади. Высота этажа ограничений не имеет и зависит только от прочностных характеристик колонн, поэтому применение каркаса возможно для зданий различного назначения: жилых, общественных, производственных, административно бытовых.
Колонны могут быть сечением от 250x250 мм до 400x600 мм и изготавливаются в форме длиной до 24 м. Материал колонн - тяжелый бетон класса В15-ВЗ0. Для сопряжения колонн с ригелями, в них в уровне перекрытий предусматриваются участки с открытой арматурой, усиленной крестовыми арматурными связями. Стыковка между колоннами осуществляется за счет пропуска продольных арматурных стержней одной колонны в тело другой, что позволяет соединить колонны одного размера сечения с другим. Высота этажа допускается любая. Это обусловлено гибкостью технологии и универсальностью оборудования.
Стыковка колонн осуществляется без сварки - при помощи «штепсельного» стыка. Сборные предварительно напряженные ригели сечением от 250x200 мм и более, служат ребрами монолитного перекрытия, с которым сопрягаются выпусками арматуры. Расчетным сечением ригеля является тавр, полкой которого служит перекрытие.
Материал ригелей - тяжелый бетон класс ВЗ0, продольное армирование предварительно напрягаемыми канатами диаметром 12 К7.
Сопряжение ригеля с колонной жесткое. Здания высотой до 6 этажей включительно не имеют стен жесткости. Все усилия воспринимаются жесткими (рамными) узлами каркаса. Здания высотой более 6 этажей имеют стены жесткости, которые совместно со сборно-монолитным каркасом воспринимают расчетные усилия.
Для придания жесткости узлу соединения ригеля с колонной, через тело колонны пропускаются дополнительные арматурные стержни.
Замоноличивание узла сопряжения производится бетоном класса ВЗ0.
Универсальность оборудования позволяет изменять сечение и длину выпускаемых ригелей.
Перекрытие состоит из предварительно напряженных ж/б плит толщиной 60 мм, служащих несъемной опалубкой и монолитного армированного слоя толщиной от 80 мм до 140 мм укладываемого сверху. Сцепление монолитного слоя со сборной плитой осуществляется за счет шероховатой верхней поверхности плиты, выполняемой в заводских условиях путем обнажения крупного заполнителя. Материал плит - тяжелый бетон класса В35. Продольное армирование предварительно напрягаемой проволокой диаметром 5 ВрП.
При бетонировании монолитного слоя плита - опалубка, включая и ригели, подпирается системой инвентарных опор. Жесткость диска перекрытия достигается за счет укладки арматурных сеток на стыках плит и над ригелями. Монолитный слой перекрытия выполняется из тяжелого бетона кл. В15 - В25. Узел соединения «колонна - ригель - плита» является монолитным. Весь каркас собирается без применения сварки.
В качестве перекрытия возможно применение пустотных плит (рис. 21)
Преимущества сборно-монолитного здания по отношению к другим технологиям домостроения:
- снижение стоимости строительства несущих конструкций здания до 22% с учетом возврата затрат от увеличения площади;
- возможность размещения подземной автостоянки под зданием;
- уменьшение веса несущих конструкций до 40%.;
- возможность использования не конструкционных материалов с низкими показателями прочности в качестве наружных стен;
- большие возможности перепланировки помещений в период проектирования, строительства и эксплуатации;
- более экономичный расход арматуры, количество применяемой арматуры снижается в 1- 5 раз;
- возможность постоянного контроля в заводских условиях за качеством выпускаемой продукции;
- быстрая переналадка технологического оборудования под запросы рынка;
- небольшой вес конструкций и, как следствие, отсутствие тяжелых башенных кранов;
- универсальность элементов, что позволяет их использование при любых архитектурных решениях;
- расход сборного железобетона на возведение 1 м2 общей площади сборно-монолитного каркаса 0,11 - 0,15 м2 в зависимости от архитектурных решений;
- отсутствие сварных соединений упрощает сборку каркаса, не требует высокой квалификации рабочих.
Лекция 6
ВЕНТИЛИРУЕМЫЕ ФАСАДЫ
1 .Введение
2. Преимущества и функции применения вентилируемых фасадов
3. Принцип работы. Основные конструктивные элементы
4. Виды вентилируемых фасадов
5. Применение
1. Введение.
Навесные вентилируемые фасады, иначе rain screen walls (стены -экраны для/от дождя) или curtain walls (занавешивающие стены, стены-занавес) - одна из наиболее современных и популярных технологий внешней облицовки вентилируемых фасадов. Представляет собой различного вида и сложности конструкции, закрепляемые в основную (несущую) стену, на которые монтируют элементы облицовки (плиты натурального камня или керамогранита, стекло, различные полимеры и композитные материалы). Между несущей стеной и облицовкой укладывают слой теплоизолятора с таким расчётом, чтобы между ним и облицовкой оставалась прослойка воздуха, свободно сообщающегося с внешней атмосферой. Именно из-за этой особенности данная конструкция и получила свое второе название -вентилируемые фасады. Название менее точное, но прочно прижившееся и ставшее синонимом основного.
Вентилируемые фасады фасады с вентилируемым воздушным зазором, предназначены для защиты от внешних климатических воздействий и улучшения внешнего вида зданий.
Принцип вентилируемой системы состоит в том, что технологический зазор, оставляемый между теплоизоляцией и облицовкой, обеспечивает свободное движение воздушным потокам. Таким образом, естественное движение воздуха в зазоре при монтаже позволяет стене постоянно находиться в сухом состоянии, не позволяя собраться конденсату и влаге. Летом тепловая защита при помощи вентиляции предохраняет стены от термической нагрузки и обеспечивает комфорт внутри помещения, а зимой стена не остывает благодаря теплоизоляции. Также следует отметить, что воздушный промежуток снижает теплопотери, является своего рода температурным буфером: температура воздуха в нем примерно на 3-4 градуса выше, чем снаружи здания.
Вентилируемый фасад имеет принципиальное конструктивное отличие которое, дает возможность воздушному потоку циркулировать между стеной и облицовкой. Это дает огромные преимущества вентилируемым фасадам, по сравнению с другими типами фасадов, так как воздушный поток действует по принципу "вытяжной трубы". В результате из конструкции в окружающую среду удаляется атмосферная и внутренняя влага, а так же снижаются теплопотери, летом фасад служит теплоизолирующим слоем. Навесная облицовка фасадов полностью преображает внешний вид здания и делает его современным архитектурным сооружением с неповторимым обликом. Существует несколько видов облицовки вентилируемых фасадов: фиброцементные плиты, керамогранит, натуральный камень, алюминиевые панели, панели из композитных материалов.


Интерес к вентилируемым фасадам зародился в Скандинавии еще в середине 1940-х годов. Идея состояла в защите наружных стен водоотталкивающим экраном, который одновременно будет улучшать внешний вид здания. Экран предполагался таким, что влага, попадающая в промежуток между экраном и стеной, удалялась бы благодаря естественной вентиляции. С середины 1950-х годов вентилируемые фасады активно внедряют в сыром и ветреном климате Канады.
Подобные технологии пришли в Россию около 10 лет назад.
2. Преимущества и функции применения вентилируемых фасадов.
Основные функции:
Первая функция: защитная (rain screen walls) и эстетическая. Эту функцию выполняет облицовочный материал, который защищает стены от осадков и механических воздействий и дает полную свободу архитекторам, при создании внешнего облика здания.
Вторая функция: теплоизоляционная. Благодаря слою теплоизоляции, теплопроводность конструкции становится существенно ниже. В зимний период времени благодаря этому можно существенно сократить затраты на отопление здания, а летом на кондиционирование.
Третья функция: звукоизоляционная. Вентилируемые фасады обладают повышенной звукоизоляцией, за счет эффекта двойного звукопоглощения, который создают защитный экран и слой плотного утеплителя. Благодаря этому, звукоизолирующие показатели выше в 1,5-2 раза, по сравнению с обычными фасадами. Это особенно актуально в больших городах и является с точки зрения строительной физики высокоэффективной системой.
Немаловажную роль играет навесная облицовка и в поддержании баланса водяных паров, циркулирующих сквозь стены здания. Воздушная прослойка под облицовкой по правилам должна быть сплошной, без перемычек. При соблюдении этих правил в ней возникает вертикальная тяга воздуха, подобно тяге в каминной трубе. Диффузия водяного пара сквозь стены здания происходит в направлении «точки росы»: от высокой температуры к низкой. То есть, если температура внутри здания ниже, нежели снаружи, то пар стремится внутрь, если наоборот - наружу. Наибольший вред стенам эта диффузия наносит в зимний период. Зимой
температура в помещениях составляет не менее +20° С, а снаружи зачастую опускается ниже -30°. Даже в том случае, если внутри помещений работают сплит-системы, удаляющие лишнюю влагу из воздуха, всё равно разница температур заставляет остаточные водяные пары просачиваться наружу. Однако там они быстро остывают, выпадают в виде росы, и в итоге замерзают. Если замерзание происходит под утеплителем или в его толще, то в первом случае происходит ускоренное разрушение стен, а во втором - самого утеплителя. Тяга воздуха под облицовкой навесного фасада уводит большую часть пара от внешней поверхности капитальных стен. Результат -ощутимое продление их срока службы без ремонта. Однако стоит помнить, что толщину воздушной прослойки рассчитывают для каждого здания отдельно, с учётом свойств материала капитальных стен, теплоизоляции, облицовочных элементов и многих других факторов. Только тогда и стены, и облицовка прослужат гарантированный срок.
Большой плюс навесных фасадных систем - их нетребовательность в отношении предварительной подготовки капитальных стен к отделке. Если для покраски, или для облицовки камнем либо керамогранитом «на раствор» требуется достаточно тщательная подготовка внешней поверхности стен (зачистка, выравнивание и пр.), то навесные конструкции в этом не нуждаются. Даже наоборот - они скрывают дефекты стены, и зачастую являются более эффективным и дешёвым методом отделки, чем покраска, что позволяет реконструировать стены.
Ещё одна полезная и выгодная сторона навесных фасадов касается использования керамогранита и натурального камня в отделке стен зданий. Дело в том, что при «мокрой» облицовке, «на раствор» существует критическая высота облицованной поверхности (зависит от величины плит, породы камня, целого ряда параметров капитальной стены), выше которой укладка становится в силу ряда причин попросту небезопасной. Крепление «на раствор» представляет собой единую систему, в которой каждый нижний элемент испытывает суммарное давление находящихся над ним элементов.
При достаточно большой высоте облицовки нижние ряды могут начать «съезжать» под этим давлением, и в итоге плиты не выдержат напряжения, и либо оторвутся, либо полопаются. Частичным выходом из такой ситуации можно считать комбинированное анкерно-клеевое крепление. Но именно частичным: при этом приходится обязательно предусматривать пароизоляцию капитальных стен, и проблемы совместимости различных материалов (если используется разный камень, или дополнительные материалы).
Навесные фасадные системы позволяют избавиться от практически всех этих проблем разом. В них каждый облицовочный элемент представляет собой автономную единицу, которая почти не влияет на элементы, расположенные ниже. По этому, можно вполне безопасно использовать крупные плиты, причём на любой высоте, и почти в любых сочетаниях.
Отсутствие «мокрых» процессов делает обустройство навесных фасадов независимым не просто от погоды, но и от сезона вообще.
Их монтаж можно производить в любое время года. И почти в любую погоду, кроме совсем уж неблагоприятной, когда работы становятся просто опасными.
И еще одна немаловажная сторона - эстетическая. Широчайший выбор отделочных материалов и возможность практически неограниченно их комбинировать открывают простор для дизайнерских решений. Любой проект можно сделать буквально уникальным с эстетической точки зрения.
И, наконец, ещё одно достоинство навесных систем - долгий срок службы. При соблюдении правил установки, при точном расчете монтажа элементов и их сочетания, при правильной укладке утеплителя rain screen walls прослужат не менее 25 лет. Верхний предел зависит только от долговечности материала облицовки. Для керамического гранита, например, срок эксплуатации может составить не одну сотню лет.
3. Принцип работы. Основные конструктивные элементы.
Основным элементом вентилируемого фасада является воздушный зазор между защитным экраном и стеной (или утеплителем). Благодаря перепаду, давления воздуха, этот зазор работает по принципу действия «вытяжной трубы». В результате этого, из конструкции в окружающую среду удаляется влага, попавшая туда или образовавшаяся за счет конденсации в утеплителе. Воздушный промежуток снижает теплопотери, выполняя роль температурного буфера.

Для нормальной работы системы толщина воздушного зазора должна быть не менее 20мм. Снизу и сверху фасада необходимо обеспечить свободный доступ наружного воздуха для отвода влаги из конструкции.
Вентилируемый фасад, состоит из защитного экрана, подоблицовочной конструкции и утеплителя.

Подоблицовочная конструкция вентилируемого фасада состоит из кронштейнов, которые крепятся непосредственно на стену, и несущих профилей, устанавливаемых на кронштейны. На несущих профилях, образующих каркасную систему, крепежными элементами монтируются плиты или листы облицовки. Теплоизоляционный слой фиксируется на наружной поверхности стены дюбелями и профилями.
В настоящее время насчитывается более 40 типов материалов, применяемых в качестве защитного экрана (облицовки) вентилируемого фасада. Наиболее распространенными из них являются:
- профилированный лист, который, в основном, применяется в промышленном строительстве;
- фасадные панели из оцинкованной стали или алюминия, покрашенные в любой цвет;
- цементно-волокнистые или фибробетонные панели, покрытые защитно-декоративным слоем или покрашенные;
- панели из натурального камня или керамогранита;
- панели из различных полимерных материалов;
- многослойные композитные панели; и другие.
В качестве теплоизоляции используются специализированные маты из минеральной ваты жесткостью не менее 35 кг/мЗ, которые крепятся непосредственно к стене. Благодаря свойству этих утеплителей пропускать воздух они удаляют влагу, образующуюся за счет диффузии водяного пара, изнутри здания.
4. Виды вентилируемых фасадов.
В настоящее время имеется большое разнообразие видов вентилируемых фасадов в соответствии с требования: местом применения и необходимого дизайна. Различают следующие виды:
- Сайдинг.
Сайдинг - это не только материал, но и технология обшивки фасада панелями. И, соответственно, термин "сайдинг" определяет панели сайдинга для наружной отделки зданий и процесс обшивки фасада этими панелями сайдинга.
Наборные панели сайдинга (так же называется "вагонка" (пластиковая вагонка, виниловая вагонка, вагонка ПВХ и т.д.)) изготовляются из металла (стальная вагонка) или винилополимерных материалов (пластиковая вагонка). Сайдинг - относительно молодой строительный материал. Впервые сайдинг был использован в США в конце 50-ых годов. С тех пор сайдинг стал очень популярен на строительных рынках Америки и Канады, откуда прибыл в Европу. В России сайдинг появился в 90-х годах и популярность его постоянно растет.
Достоинства сайдинга:
• Сайдинг нетоксичен и негорюч, стоек к различным атмосферным явлениям и химикатам.
• Сайдинг не меняет цвета, не поддается коррозии и не лопается под влиянием низкой температуры.
• Сайдинг прост в эксплуатации. Сайдинг не требует какой-либо покраски или обновления в течение всего срока службы. Загрязненные панели сайдинга достаточно промыть водой из шланга, и дом будет выглядеть как новый.
Широкая цветовая гамма сайдинга, многовариантность сочетания профилей и отделочных элементов, наличие разнообразных аксессуаров сайдинга, - все это дает возможность радикального обновления фасадов любых зданий с соблюдением единого стиля, создания современных архитектурных проектов.
• Сайдинг не закрывает наглухо стены дома и позволяет фасаду "дышать". В нижних кромках панелей сайдинга находятся отверстия для вентиляции и отвода конденсата.
Экономичность сайдинга
• Благодаря простоте монтажа, небольшому весу, удобной транспортировке можно установить сайдинг в любое время года самостоятельно.
• Сайдинг значительно дешевле, чем другие отделочные материалы для фасадов зданий.
• Высокая надежность и долговечность сайдинга позволяет избежать дорогих и хлопотливых ремонтов.
• Сайдинг позволяет также значительно снизить затраты на обогрев дома. Между рейками каркаса может прокладываться теплоизоляционный материал.
Применение сайдинга
Сайдинг можно использовать во всех типах строительства: коттеджном, многоэтажном, промышленных и торговых объектов.
Сайдинг монтируется на всех типах поверхностей и конструкций зданий. Благодаря этому можно просто и эффективно обновить старые и разрушенные здания.
- Медный сайдинг.
Медь - это один из первых металлов, которые человек стал применять для технических целей. Открыта она была раньше всех прочих металлов за исключением золота.
В современной строительной индустрии существует много различных покрытий для устройства кровли, но общепризнанно, что медь является лучшим из них. Европейские архитектурные и строительные компании давно уже поняли преимущества использования медных покрытий в связи с их долговечностью, естественно-природной красотой и удобством применения. Причем в европейской архитектуре медь используется не только для покрытия крыш, реставрации зданий, имеющих историческое значение, но и для устройства фасадов зданий. Фасады из меди - это новый для российского потребителя материал. В основном для них используют импортный крашеный алюминий или оцинкованный материал. Ни одно из металлических покрытий не имеет столько интересных натуральных оттенков, как медь, и при небольшой разнице в цене преимущество натурального оттенка меди, который останется навсегда, не требуя в будущем никаких дополнительных расходов, неоспоримо.
Применение медных панелей в фасадном строительстве позволяет создавать привлекательные, запоминающиеся и практичные фасады зданий административного, офисного и культурного назначения, автоцентров, ресторанов, супермаркетов. При этом возможно воплощение сложных архитектурных замыслов.
Сегодня системы вентилируемых фасадов из меди активно применяются в строительстве практически всех типов зданий и сооружений во всех европейских странах. Достоинства этих систем позволяют использовать их в регионах с большими годовыми и суточными перепадами температур, в регионах с высокой влажностью, в таких условиях, где традиционные фасадные материалы имеют короткий срок службы. Поэтому особенно актуально применение медных вентилируемых фасадов в нашей стране, большую территорию которой занимают континентальные, резкоконтинентальные климатические зоны и области с морским климатом.
- Виниловый сайдинг.
Виниловый сайдинг (виниловая вагонка) является прекрасным фасадным материалом, которым можно не только облицевать новое здание, но и обновить и утеплить старое, придав ему элегантный европейский внешний вид.
Декоративные функции винилового сайдинга
Панели винилового сайдинга изготовлены из поливинилхлорида различных цветов толщиной 1,0 - 1,15 мм. Виниловый сайдинг комплектуется всеми необходимыми элементами отделки оконных и дверных проемов и сопряжений различных плоскостей фасада. Широкая цветовая гамма, .тонкая текстура дерева, разнообразный профиль панелей винилового сайдинга, возможность их горизонтальной и вертикальной установки позволяют придать дому неповторимый привлекательный вид.
Защитные функции винилового сайдинга
Виниловая облицовка | виниловый сайдинг после установки на фасаде образует эластичную оболочку, устойчивую к ударам и мало чувствительную к напряжениям, возникающим иногда вследствие перекосов отдельных элементов конструкции дома. Виниловый сайдинг защищает стены от атмосферных осадков и ветра. Виниловый сайдинг устойчив к погодным перепадам температур от -30 С до +55 С. Виниловый сайдинг проницаем для пара и воздуха со стороны стен дома, что дает возможность уберечь их от конденсата. В отличие от дерева виниловый сайдинг не подвержен рассыханию, растрескиванию, гниению и вредному воздействию насекомых. При воздействии огня виниловый сайдинг плавится и не поддерживает активного горения.
Уход за виниловым сайдингом
Уход за виниловым сайдингом ограничивается мытьем водой из садового шланга. Сильную грязь можно удалить с помощью любого средства. Этот уход можно проводить 1 раз в год.
Технология установки винилового сайдинга
Технология установки винилового сайдинга доступна для индивидуального потребителя. С виниловым сайдингом можно работать при любой погоде, даже зимой. Важно только это делать правильно, обеспечивая возможность свободного перемещения всех деталей, вызываемого тепловым расширением или сжатием материала при погодных перепадах температур.
Область применения винилового сайдинга
Виниловый сайдинг можно использовать как для отделки нового дома, так и для облицовки старых домов, при необходимости совмещая облицовку с утеплением (утеплитель размещается в обрешеточном пространстве).
- Алюминивый сайдинг.
В последнее время алюминиевый сайдинг все шире применяется российскими строителями как недорогой, но высокотехнологичный материал с широкими декоративными возможностями. Алюминиевый сайдинг подходит как для частных домов, так и для промышленных зданий. Незначительный вес панелей (1,7кг/кв. м) делает возможным применение алюминиевого сайдинга и для облицовки многоэтажных зданий. Все больше новых объектов, строятся с применением алюминиевого сайдинга в качестве внешней отделки. И вовсе незаменимым становится алюминиевый сайдинг, если необходимо быстро и недорого, не прибегая к сложному, дорогостоящему ремонту, изменить внешний облик здания, скрывая дефекты, придать ему аккуратный и современный внешний вид.
Алюминиевый сайдинг обладает всеми преимуществами того металла, из которого он изготовлен: не горит, не ржавеет, легок, прочен и очень долговечен. Изготовленные из алюминиевого листа панели сайдинга покрываются либо полимерным покрытием, имитирующим дерево, либо окрашивается. В первом случае панели алюминиевого сайдинга получаются более дорогими, но зато они лучше защищены. Кроме того, если в первом случае поверхность панелей алюминиевого сайдинга может быть рельефной, а спектр расцветок не уже, чем у традиционного винилового сайдинга, то во втором случае поверхность панелей алюминиевого сайдинга может быть только гладкой, а выбор цвета становится весьма специфичным. Прочностные характеристики (и в том числе ударная прочность) у алюминиевого сайдинга значительно выше, чем у винилового, но меньше чем у стального. И в монтаже алюминиевый сайдинг несколько сложнее винилового (сложнее, уже потому что прочнее), но проще стального и еще позволяет (в отличие от стального) выполнять сложные архитектурные элементы. Кроме того, алюминиевый сайдинг имеет более высокую коррозионную стойкость, чем стальной.
5.Металический сайдинг (металлосайдинг).
Металлический сайдинг (металлосайдинг) - это длинные легкие панели шириной 120-300 мм. Металлический сайдинг (металлосайдинг) изготавливается из оцинкованной стали, стали с полимерными покрытиями и алюминия различной цветовой гаммы (рис. 1). В качестве полимерного покрытия металлического сайдинга (металлосайдинга) ведущие производители рекомендуют полиэстер, РVF и ПУРАЛ. Металлический сайдинг (металлосайдинг) может быть с гладкой или профилированной поверхностью.
Основные характеристики металлического сайдинга (металлосайдинга):
• Металлический сайдинг (металлосайдинг) устойчив к природным факторам старения.
• Металлический сайдинг (металлосайдинг) легко переносит такие воздействия, как высокая влажность, умеренно кислая или щелочная среда, перепады температур.
• Металлический сайдинг (металлосайдинг) не впитывает влагу, не коробится под воздействием солнечных лучей и не гниет.
• Металлический сайдинг (металлосайдинг) обладает сроком службы без изменения своих свойств - 50 лет
• Металлический сайдинг (металлосайдинг) можно применять в диапазоне температур от -50 до +5ОС.
• Металлический сайдинг (металлосайдинг) экологически чист и биологически инертен.
Все панели алюминиевого и стального металлического сайдинга (металлосайдинга) имеют удлиненные отверстия в кромке панелей для компенсации воздействия теплового расширения. На торцах панелей металлического сайдинга (металлосайдинга) расположены выемки для совмещения соседних панелей металлического сайдинга (металлосайдинга) внахлест. На нижних замках панелей металлического сайдинга (металлосайдинга)- отверстия для отвода конденсата.
Монтируется металлический сайдинг (металлосайдинг) на деревянную или металлическую подконструкцию. Монтаж металлического сайдинга (металлосайдинг)а лучше всего вести внахлест. Можно использовать специальные соединительные элементы, но это приводит к удорожанию и появлению лишних линий на фасаде.
Особых требований к монтажу алюминиевого и стального металлического сайдинга (металлосайдинга) нет, т.к. эти материалы не реагируют столь значительно на температурные колебания воздуха, как виниловый сайдинг. Но, в то же время, они не имеют такой гибкости, как пластик. Например, если алюминиевую панель сайдинга согнуть, то она уже не сможет восстановить свою прежнюю форму и ее придется менять.
Металлический сайдинг (металлосайдинг) широко используется для облицовки фасадов зданий общественного назначения (кафе, торговых павильонов, и т.д.), а также зданий промышленного назначения (корпуса заводов, складские комплексы, терминалы, и пр.). Применяют стальной или металлический сайдинг (металлосайдинг) и для специального строительства, где предъявляются повышенные требования по пожаробезопасности, коррозионной стойкости, устойчивости к агрессивным средам, и др.
(например, АЗС, станции техобслуживания а/м, автомойки, покрасочные камеры, и т.д.).
Цокольный сайдинг.
Цокольный сайдинг не требует периодической реставрации и к тому же гораздо надежнее защищает конструктивный материал стен от воздействия внешних факторов, вызывающих разрушение и старение. Любые штукатурные и малярные покрытия необходимо обновлять хотя бы раз в два-три года.
Панели цокольного сайдинга изготавливаются из самых современных полимеров, надежно защищающих фасад от воздействия ветра, дождей, плесени, даже в любых самых тяжелых климатических условиях. Уникальное акриловое покрытие делает поверхность панелей устойчивой к воздействию ультрафиолетовых лучей, обеспечивая невыгарание цвета.
Разнообразие цветов и моделей цокольного сайдинга позволяет использовать эти панели, как для покрытия всего фасада, так и для отделки архитектурных элементов, как для небольших частных домов, так и для крупных коммерческих или промышленных построек. Сфера применения панелей значительно шире, чем у обычного сайдинга потому, что, во-первых, панели цокольного сайдинга имитируют материалы гораздо более широкого спектра, нежели традиционный сайдинг, и, во-вторых, они прочнее. Их можно использовать для внутренних работ - для отделки прихожих, кухонь, лоджий и балконов. Ими можно отделать практически любое здание, весь фасад или его часть, цоколь здания или его фронтоны, отдельный архитектурный элемент или даже ящик для растений.
.Медный софит.
Софиты (от итал. Soffitto - потолок) - специальные панели для подшивки обращенных вниз поверхностей. Медные софиты широко используются для декоративной отделки зданий (подшивка фронтонных, карнизных свесов; потолочная, стеновая панель).
Медные софитные панели могут быть как перфорированными, так и не перфорированными. Перфорированный софит на карнизных свесах обеспечивает необходимую вентиляцию подкровельного пространства. Софиты изготавливаются из кровельной меди на новейшем импортном оборудовании.
Основные достоинства софитов:
• софиты обеспечивают безупречный законченный внешний вид кровли;
• не подвержены гниению, как дерево, не требуют окраски;
• стойкость к коррозии, атмосферным воздействиям;
• простота, удобство монтажа софитов из меди;
• экологическая безопасность;
• пожарная безопасность софитов;
• могут быть как перфорированными, так и не перфорированными;
• софиты обеспечиваю вентиляцию подкровельного пространства.
Применение.
Применение в отделке фасадов зданий алюминиевых композитных панелей позволяет создавать привлекательные, запоминающиеся и практичные архитектурные фасады административного и офисного назначения: аэропортов, железнодорожных вокзалов, автовокзалов, корпоративных зданий и бизнес-центров, автотехцентров и АЗС, ресторанов, кафе, баров, магазинов и супермаркетов, торговых молов и комплексов. При этом возможно выполнение вентилируемых фасадов в соответствии с корпоративными цветами Заказчика, а также воплощение сложных архитектурных замыслов в оформлении фасадов зданий.
Сегодня системы вентилируемых фасадов активно применяются в строительстве практически всех типов зданий и сооружений. Одним из достоинств навесных вентилируемых фасадных систем является их использование в регионах с большими годовыми и суточными перепадами температур, в регионах с высокой влажностью, в таких условиях, где традиционные фасадные материалы имеют короткий срок службы..
На сегодняшний день актуально для многих компаний приобретение в собственность или аренда уже существующих зданий старой постройки. Вопрос обновления композитным материалом фасада здания с целью создания фирменного стиля, образа компании, приобретает неоспоримо важное значение в наш век высоких технологий.
При этом очень часто ограждающие конструкции зданий не удовлетворяют новым теплотехническим требованиям, а оконные и дверные проемы расположены хаотично.
Весь этот комплекс проблем легко решается применением технологии навесных вентилируемых фасадов. С помощью многообразия форм алюминиевых композитных панелей можно полностью изменить архитектурный облик здания, придать ему индивидуальность. Система крепления подконструкции вентилируемого фасада позволяет при необходимости произвести дополнительно теплоизоляцию здания.





Лекция 7
Покрытия крупнопролетных общественных зданий
1. Жесткие оболочки и складки
1.1. Классификация конструкций.
Пространственные тонкостенные конструкции из жестких тонкостенных оболочек и складок изобретены в 1920-х г.г. За прошедшие десятилетия создано исключительное разнообразие тонкостенных конструкций по материалу (сталь, железобетон, дерево), геометрической форме и схеме статической работы. Уникальным был отечественный опыт исследования, разработки и применения в строительстве длинных тонкостенных деревянных цилиндрических сводов-оболочек. Начиная с 1931 г,, они применялись в одно- и много вол новых покрытиях производственных зданий пролетом до 45 м, уступив с 1934г. место более технологичным ребристым с водам-оболочкам покрытий промышленных зданий пролетом до 100м.
К сожалению, в послевоенные годы этот опыт не был востребован.
В настоящее время наибольшее распространение имеют тонкостенные конструкции из железобетона: в зарубежной практике - монолитные, в отечественной - сборные и сборно-монолитные.
При всем разнообразии конструкций наиболее приемлемой является их классификация по типу статической работы - безраспорной или распорной (рис.11.1.) Такая классификация представляется убедительной, так как совпадает с классификацией геометрических форм оболочек. Естественно, как и любая другая, классификация, данная на рис. 11.1. обобщает и упрощает явление, не учитывает возможных вариантов конструирования. Например, применив в здании безраспорные складчатые покрытия и стены и жестко объединив их друг с другом, мы получаем пространственную рамную, а следовательно, распорную конструкцию.
К безраспорным относятся складки и оболочки нулевой гауссовой кривизны - цилиндрические, коноидальные; к распорным - своды (гладкие, волнистые, складчатые, сомкнутые и крестовые), купола (с различной геометрией поверхности) на круглом или эллиптическом плане, пологие оболочки на многоугольном плане (положительной и отрицательной кривизны), комбинированные (составные) из фрагментов оболочек одинаковой или разной кривизны.
При всем разнообразии пространственных конструкций из тонкостенных оболочек и складок их особенностью является, по образному выражению П.-Л.Нерви то обстоятельство, что их "несущая способность является функцией их геометрической формы". Изменение кривизны оболочки и ее стрелы подъема меняет ее жесткость без увеличения расхода материала. Правильный выбор геометрической формы обеспечивает работу большей части сечения конструкции на осевые усилия (сжатие), оставляя работу на растяжение и сдвиг специальным фрагментам конструкции - диафрагмам жесткости, опорным кольцам и бортовым элементам. Все это определяет, помимо

оригинальной формы пространственных конструкций, их экономичность, возрастающую с увеличением перекрываемых пролетов.
1.2. Покрытие складками и оболочками нулевой гауссовой кривизны. 11.2.1. Конструкции
Покрытия складками и оболочками нулевой гауссовой кривизны применяют для перекрытия пролетов от 12 до 60м. Наиболее распространены конструкции пролетами от 12 до 36 м. (в сборном варианте - до 24-30 м). При пролетах 24 м и более такие конструкции для повышения жесткости и трещи но сто и кости проектируют предварительно напряженными, размещая напряженную арматуру в бортовых элементах оболочек или ендовах складчатого покрытия.
Конструкция оболочки или складки содержит собственно оболочку (тонкостенную, ломаную или изогнутую плиту), работа которой под нагрузкой аналогична работе балки с криволинейным {треугольным, трапецеидальным) сечением, бортовые продольные элементы и диафрагмы. Бортовые элементы работают па восприятие основных растягивающих усилий в пролете. В железобетонных пространственных конструкциях именно в бортовых элементах размещена основная арматура. Назначение диафрагм -обеспечить неизменяемость поперечного сечения конструкции - избежать ее "распрямления" под нагрузкой (поперечного распора). Различают длинные (цилиндрические, коноидальные) оболочки и короткие. Короткие - изогнуты в направлении свободного пролета, работают как свод, в связи с чем ее форма соответствует кривой давления в своде.
Геометрические параметры и их соотношения в конструкциях длинных оболочек и складок детально исследованы, установлены также границы изменения расхода материалов на конструкцию при изменении пролета (табл. 11.1).
Архитектурно-строительные задачи - устройство верхнего света, выбор разрезки конструкции на сборные элементы, а также архитектурно-функциональные задачи -увязка формы покрытия с формой плана - решают в покрытиях оболочками и складками различно, что требует их индивидуального рассмотрения.
Складчатые конструкции (рис.П.2) применяют чаще, чем оболочки в связи с большей технологичностью формы. Применяют треугольную, трапецеидальную и ше-довую форму складок в монолитном и сборном вариантах. Сборные складки монтируют из плоских, 2, У-образных или трапецеидальных элементов. Последний тип сечения сборных элементов наиболее предпочтителен, так как при одинаковой высоте обладает большим моментом инерции.
Преимуществом У-образных и трапецеидальных изделий является также возможность устройства вдоль стыка верхних плит складки вставок из плоских плит, расширяющих покрытие, либо продольных фонарей. Применение таких вставок обеспечивает сокращение расхода материалов и труда на устройство кровли, возможность скрытого размещения инженерных систем (воздуховоды, электропроводка и пр.), уменьшение образования снежных мешков на покрытии, но сопровождается увеличением расхода конструкционных материалов.
Неизменяемость формы складчатой конструкции обеспечивают различно: плоскими поперечными стенками - диафрагмами, фермами, арками, рамами, затяжками, Г-, Т- или У-образными колоннами.
Наряду с основным типом покрытия, состоящего из параллельных складок единого очертания, применяют покрытия веерными или встречными складками. Параллельные и встречные складки применяют в покрытиях залов с прямоугольным планом, веерные - с трапецеидальным или криволинейным.
Многоскладчатые покрытия часто выполняют с консольным свесом за грань наружных стен. Консольный свес формирует активный профиль венчания здания и служит стационарным солнцезащитным средством, как, например, в здании Курского вокзала в Москве.
Конструкцию складок применяют не только для покрытий, но и для стен общественных зданий, главным образом - для высоких стен в целях обеспечения их жесткости и устойчивости.
Совместное применение складчатых конструкций для стен и покрытий может осуществляться с шарнирным или жестким сопряжением между ними. В последнем случае образуется пространственная распорная рамная конструкция. Наиболее известным примером применения такой конструкции является здание залов заседаний комплекса ЮНЕСКО в Париже (архитекторы М.Брейер и Б.Зерфюсс, инженер П.-Л. Нер-ви), перекрытое двухпролетной складчатой рамой.
Покрытия длинными цилиндрическими оболочками проектируют одно- и многоволновыми, одно- и многопролетными, сборными и монолитными (рис.11.3.).
В много пролетных оболочках на опорах применяются единые для смежных пролетов диафрагмы жесткости, в многоволновых - единые бортовые элементы.
Таблица 1Ы. Основные характеристики железобетонных конструкций складок и длинных цилиндрических оболочек.


Температурно-деформационные швы в многоволновых или много складчатых многопролетных покрытиях устраивают по длине покрытия на парных колоннах между парными диафрагмами жесткости, по ширине покрытия между парными бортовыми элементами.
В покрытиях многоволновыми оболочками могут быть применены диафрагмы жесткости различного типа, из балок-стенок постоянной или переменной высоты, арок с затяжками или сегментных ферм. Последние наиболее экономичны, в связи с чем их широко применяют в многоволновых покрытиях промышленных зданий. В общественных зданиях при отсутствии подвесных потолков по архитектурным требованиям чаще используют диафрагмы рамного или балочного типа. Фонари верхнего света устраивают вдоль шелыги свода, усиливая контур фонарного проема в оболочке ребрами и дополнительным армированием. Систему многоволнового покрытия залов с прямоугольной формой плана выполняют из цилиндрических оболочек. При трапецеидальной форме прибегают к веерной системе многоволнового свода-оболочки с формой поверхности покрытия из длинных усеченных коноидов.
Форму покрытия часто выявляют на фасаде здания, как и при складчатых конструкциях, консолируя часть оболочки за грань наружных стен. Вместо глухой диафрагмы в плоскости наружных стен в этих случаях размещают

затяжку, устраивая между ней и оболочкой светопроемы для верхнебокового освещения, а консоль используют в качестве солнцезащитного козырька над светопроемами в наружной стене.
В сборных конструкциях оболочек применяют разрезку на криволинейные или плоские элементы (рис.11. 3).
11.2.2. Ком поз иции
Как любая новая конструкция, тонкостенные складчатые и оболочковые конструкции сначала отпугивают зодчего, а затем начинают достаточно широко, но не всегда осмысленно применяться. Находки и ошибки в этой области легко проследить, сопоставив два примера - вышеупомянутое здание залов заседаний ЮНЕСКО в Париже (архитекторы М.Брейер, Б.Зерфюсс, инженер П.-Л.Нерви) и концертный зал префектуры Гумма в г.Таказаки в Японии (архитектор А.Рейнольде). Оба здания перекрыты складчатыми пространственными рамами: первое - двухпролетной со складками, расположенными осями вдоль залов, во втором - однопролетной, с расположением осей складок поперек зала (рис. 11.4. и П.5.).


В композиции здания конференц-залов ЮНЕСКО решающая роль принадлежит двухпролетной складчатой железобетонной раме, пространственной конструкции, которая образует несущие наружные стены и покрытие залов. Таким образом, складчатая рама совмещает функции несушей и ограждающей конструкции здания, формирует его фасады и интерьеры. Хотя ко времени строительства комплекса ЮНЕСКО складчатые конструкции были хорошо изучены и применялись не один десяток лет, они оставались несвободны от ряда архитектурно-ком позиционных недостатков: форма складок сугубо жестка и геометрична, а их масштаб, обычно совпадающий с масштабом объемной формы здания в целом, в интерьере оказывается излишне крупным. Нерви преодолел эти недостатки, применив несущую конструкцию в виде двухпролетной рамы с монолитной диафрагмой жесткости. Диафрагма жесткости, располагающаяся со стороны сжатого сечения складок, меняет свое расположение зеркально по отношению к эпюре моментов в раме. Благодаря этому, Нерви получил предусмотренный композиционный эффект. Диафрагма, в связи с ее переменным положением, позволила в большом конференц-зале уменьшать и менять глубину складок, что очень оживляет форму, лишая ее сухой геометричности.
В малом зале, размещенном во внешней зоне меньшего пролета рамы, сжатая зона конструкции покрытия полностью проходит по низу. Соответственно в интерьере- малого зала, масштабу которого размеры складок не соответствуют, они не выявлены, но криволинейная поверхность диафрагмы, образующей потолок зала, придает индивидуальный характер его интерьеру.
Принципиально иначе решил концертный зал А.Рейнольде. Однопролетная складчатая рама придает внешнему облику здания (особенно его боковым фасадам) крупный масштаб и монументальность. Однако, в интерьере зала они выглядят излишне громоздкими, грубыми, немасштабными. Одновременно они существенно ухудшили акустические качества зала, приводя к неравномерной интенсивности звуковой энергии в пространстве зала.
В отличие от рассмотренных примеров совместного применения складок для стен и покрытий, гораздо чаще их применяют только либо для покрытий, либо для стен. Примеры складчатых покрытий с параллельными, веерными и встречными складками для общественных зданий даны на рис.П.6. Часто складчатую конструкцию выносят за грань наружных стен, создавая выразительное завершение здания (здание Курского вокзала в Москве). Но если в последнем случае за грань несущих стен продолжены кон-сольно те же параллельные складки, которыми перекрыт интерьер, то в общественной пристройке к телевизионной башне в Берлине складчатое покрытие из параллельных складок выходит за грань наружных стен четырьмя треугольными в плане, веерными приподнятыми вверх или опущенными вниз консолями, что придает динамизм композиции в целом.
Складчатые стены применяют в композициях высоких объектов, чтобы наиболее экономично обеспечить устойчивость высоких, не раскрепленных перекрытиями стен, и одновременно придать зданию выразительную объемную форму. Наиболее известными в связи с этим стали храмы с высокими складчатыми железобетонными стенами в гг. Алжире и Руайане (инженер Р.Саржер).
Применение стальных складчатых конструкций в крупных общественных зданиях началось с 1970гг., и здесь ведущая роль принадлежит архитектуре советскою павильона на всемирной выставке Эксло-70 в Осаке - рис. 11.7. В основу композиции был положен символ развернутого знамени. Здание имело криволинейную форму плана и переменную высоту - от 20 до 100 м (вершина древка знамени). В плоскости главного сада была применена каркасно-связевая система, облицованная красными металли кими панелями, устойчивость которой из плоскости поддерживалась складчатым крытием, переходящим в противоположную стену из стальных складок переменной бины (инженер А.Кондратьев).

Дальнейшее применение стальных складчатых конструкций в крупных общественных зданиях падает на 1980-1990гг. и связано с развитием архитектуры стиля хай-тек, ориентированного на выявление эстетических качеств металлических конструкций. Наиболее известным примером применения стальной складчатой конструкции в архитектуре крупного общественного здания стиля хай-тек стал Конгресс-холл в Берлине. Архитектурная композиция здания - крупномасштабна, фермы - диафрагмы жесткости складчатого покрытия выполнены с присущим хай-теку нарочитым преувеличением габаритов (рис. 11.7.).
Длинные цилиндрические железобетонные ободочки системы "Цейс-Дивидаг" изобретены инженерами Бауерсфельдом и Дишингером в 1920гг. и впервые применены для покрытия здания рынка в Будапеште в 1927г. Однако их архитектурно-композиционные особенности не выявлены на фасаде здания. Более успешным в архитектурно-композиционном отношении стало применение многоволновых длинных и коротких оболочек в консольных козырьках стадионов в Мадриде, Картахене, Боготе (рис. 11 .§., а-в), а в зданиях - при консолировании выноса покрытия за грань наружного ограждения -. 118 г чЛ



Достаточно широко многоволновые покрытия длинными цилиндрическими ше-довыми и коноидальными оболочками применялись в строительстве одноэтажных промышленных зданий. Однако, несмотря на более пластичную форму, чем у складчатых конструкций, их весьма редко применяют в проектировании крупных общественных зданий. Во всяком случае, современная архитектурно-строительная практика еще не дала с их применением примеров таких значительных архитектурных решений, которые возникли на основе эстетических возможностей складчатых конструкций. В то же время их эстетический потенциал не менее значителен, что можно видеть по разнообразным нереализованным проектным решениям (рис.11.9., 11.10).
П. 3. Распорные конструкции
Среди распорных конструкций покрытий жесткими оболочками двоякой кривизны наибольшее распространение получили своды, купола, пологие оболочки положительной и отрицательной гауссовой кривизны и различные сочетания названных форм в комбинированную конструкцию. При этом только своды и купола имеют многовековую историю. Остальные созданы в 20в.
II.3.1. Своды
II.3.1.1. Конструкция
•
Своды применяют преимущественно для покрытий прямоугольных в плане помещений. Эти конструкции представляют собой современную интерпретацию классических каменных сводов (рис. 11.11.). С переходом к железобетону, армоцементу, металлу - материалам, прочность которых существенно выше, чем у каменной кладки, оказа-
лось возможным значительно увеличить величины перекрываемых пролетов при тонкостенной несущей конструкции. Однако при больших пролетах и нагрузках в работающей преимущественно на сжатие тонкостенной

конструкции свода, возможна местная потеря устойчивости. Поэтому тонкостенные своды редко проектируют гладкими. Для повышения устойчивости своду придают специальную профилировку (волнистую, складчатую) в направлении, перпендикулярном пролету.
Впервые волнистый железобетонный свод, как это часто бывает, был применен для производственного здания-ангара в Орли в 1916г. Автор - инженер Фрейсинэ применил высокую параболическую форму свода с трапецеидальным сечением его волн-арок, перекрыв пролет в 80 м, а между отдельными волнами разместил светопроемы. В гражданских зданиях применение волнистых сводов и с характерной для них малой стрелой подъема началось в 1940 гг..
Уникальным остался отечественный опыт возведения тонкостенных кирпичных сводов (в 1/4 кирпича) двоякой кривизны, применявшихся в 1940-1945гг. для перекрытия пролетов свыше 20 м в зданиях различного назначения (конструкции инженера А.И.Рабиновича).
Во второй половине 20 в. сформировались современные геометрические параметры тонкостенных сводов из бетона, армоцемента, деревянных или металлических конструкций. Ширина волны (складки) составляет менее 1/4 пролета свода. Волнистый (складчатый, бочарный) свод имеет аналогичные аркам условия статической работы и одинаковые расчетно-конструктивные схемы. Очертание свода проектируют по дуге окружности, цепной линии или параболе. Последняя является предпочтительной, особенно при больших пролетах. Стрела подъема свода - 1/5 - 1/10 пролета.Это обстоятельство отличает современные конструкции сводов от традиционных каменных, стрела подъема которых близка к 1/2. Сечение волн железобетонных сводов - криволинейное • по окружности (бочарный евод), по параболе, складчатое с треугольными или трапецеидальными складками. При очень больших пролетах свода - 150 м и более - для повышения его устойчивости применяют двойные волнистые оболочки, раскрепленные диафрагмами (рис.II.12.)
Распор от сводов так же, как и в арочных покрытиях, передают на фундаменты, затяжки, контрфорсы, несущие конструкции смежных помещений, обстраивающие зал, перекрытый сводом (рис.П.13.).

Повторяемость элементов волнистого свода способствует индустриальное™ его возведения с использованием сборных элементов, как для конструкции свода, так и для инвентарной опалубки. Разработаны типовые конструкции сборно-монолитных волнистых и складчатых сводов для пролегав 18-36 м.
Сборные конструкции волнистых сводов монтируют из отдельных плоских или криволинейных плит 3x6 м с укрупнительной сборкой на месте строительства в волну свода либо из укрупненных фрагментов волн - панелей оболочек (панелей-складок). В уникальных зданиях сборно-монолитные своды применены для пролетов до 95 м.
Сборные волны-оболочки соединяют друг с другом сваркой по закладным деталям или арматурными выпусками, расположенными с шагом, равным ширине волны и замоноличиванием швов.
Передача нагрузки от сборного волнистого свода на опорные конструкции осуществляется через специальные опорные балки, тип сечения которых назначают в зависимости от величины пролета - сплошное при пролетах до 24 м, сквозное или коробчатое - при пролетах большей величины.
Грань опорного элемента, примыкающую к своду, располагают в плоскости, перпендикулярной касательной к поверхности свода у опоры. Волнистые сборные своды выполняют по возможности с максимальной заводской готовностью, включая заводское утепление и гидроизоляцию сборных элементов.
Деформационные швы по длине свода устраивают через 40-50 м и заполняют их упругими прокладками. Примыкающие к шву волны усиливают поперечными диафрагмами, а край волны - продольным ребром. Для исключения протечек кровли по шву стыки волн поднимают над кровлей специальными стенками, перекрывают стальным нашел ьником-компенсатором.
В сводах пролетом более 40м свободу температурно-влажностных деформаций обеспечивают за счет свободных горизонтальных перемещений одной из опор свода.
В местах примыкания свода к торцовым стенам здания или пересечения этих стен с устройством карнизного свеса между сводом и стеной предусматривают зазор в 50 мм, заполненный упругими прокладками (рис.11.14.).
Геометрическая форма волнистого свода обеспечивает естественную организацию наружного водоотвода. Однако при сборной конструкции свода опорный элемент может создавать преграду водостоку. Во избежание застоя воды и протечек по стыку свода с опорным элементом устраивают забутку между волнами.

Рис. 11.14. Волнистые своды из сборных элементов:
А - варианты конструкций сборных панелей-оболочек; Б - детали покрытия; а - примыкание к парапету; б -
к карнизу; в - к торцовой стене; г, д - деформационные швы; 1 - бортовой элемент; 2 - связи: 3 - затяжка; 4 -
шов скольжения; 5 - нащелышк - компенсатор.и
Естественное освещение залов проектируют верхним или верхнебоковым. Устройства верхнего света могут быть запроектированы с применением продольных или поперечных фонарей или отдельных светопроемов.
При устройстве в сборно-монолитном (складчатом) своде продольных фонарей панели-оболочки, расположенные в его зоне, заменяют горизонтальными железобетонными опорными рамами фонаря или стекложелезобетонными панелями.
Поперечные фонари монтируют между установленными с разрывом на ширину фонаря смежными волнами свода. При этом примыкающие к фонарю волны должны быть усилены на восприятие кручения от краевой нагрузки фонарем и связаны между Собой распорками или раскосами. В складчатых сводах светопроемы устраивают в боковых наклонных стенках.
При устройстве световых проемов в монолитных волнистых сводах ослабление сечения компенсируют контурными и промежуточными (при длинных фонарях) армированными ребрами. Ширину проема назначают не более 0,4 ширины волны.
Отдельные мелкие проемы (с наибольшим размером до ! 5 толшин оболочки свода) могут свободно располагаться по поверхности свода. Форму проема следует назначать круглой или равносторонней многоугольной.
Боковое освещение наиболее удачно решается при опирании свода на отдельные опоры с устройством между ними витражей. В случаях, когда свод опирается непосредственно на фундамент, для бокового освещения в своде устраивают распалубки.
Волнистые и складчатые своды чаще всего применяют в архитектурной композиции прямоугольных в плане зданий: выставок, плавательных бассейнов, теннисных кортов, а также крытых рынков и производственных зданий.
П.3.1.2. Композиция
Классическим примером удачного композиционного решения общественного здания с покрытием волнистым сводом в течение десятилетий служит выставочный павильон в Турине, построенный в 1948-1949гг. по проекту П.-Л.Нерви (рис. 11.15.).
Зал перекрыт очень пологим (стрела подъема меньше 1/5) сборно-монолитным сводом. Оставляемой опалубкой свода и основным средством архитектурных членений в интерьере зала служат армоцементные У-образные элементы (ширина • 2,5м, длина -4,5м, высота - 1,45м, толщина - 5см), снабженные поперечными ребрами жесткости. Расположенные в боковых стенках волн светопроемы свода дают равномерное естественное освещение по всей ширине (95,1м.) зала. Широко используя однотипные сборные элементы, П.-Л.Нерви никогда не допускает монотонности. Так и в Туринском зале он прибегает к двойному масштабу архитектурных членений. Большая часть поверхности свода имеет мелкие членения, но в нижней зоне ребра свода собраны в пучки по три ребра, переходящие в общую наклонную (проходящую по касательной к кривой свода) опору. Использован и контраст освещенности между пронизанной светом центральной зоной и малой освещенностью зоны наклонных опор. Композиция зала решена очень удачно в архитектурном и конструктивном отношении. Зал поднят над землей - установлен на перекрытии высокого (5 м) первого этажа. Это дает возможность залу главенствовать в объемной композиции здания и скрыть затяжки свода в перекрытии. Боковая обстройка зала двумя этажами вспомогательных помещений позволила частично разгрузить свод и исключить из интерьера зала наименее выгодные участки возле опор сво-

Наряду с большепролетными сооружениями, покрытия которых в новейших тонкостенных конструкциях повторяют историческую форму цилиндрических сводов, второе рождение в новых конструкциях и материалах переживают более сложные формы классических сводов - крестовые и сомкнутые.
Событиями стали архитектурные решения двух объектов различных олимпиад -ледового стадиона в Гренобле арх. А. Гюшар и спортивно-концертного комплекса в Ереване (рис.И.16). Оба сооружения имеют квадратный план и покрыты тонкостенными стрельчатыми крестовыми железобетонными сводами. Но на этом сходство объектов кончается. Крытый каток в Гренобле имеет в плане размеры 100x100 м и пролет покрытия - 91 м. Для повышения жесткости конструкции лотки свода выполнены из двойных волнистых оболочек толщиной по 6 см каждая. Вся конструкция оперта на четыре точки, причем на каждую из них оперты по две двухслойных оболочки. Распор покрытия воспринимает связывающая фундаменты опор затяжка. В зданиях такого большого пролета остро стоит проблема устройства верхнего света. В Гренобле она решена совсем не тривиально. В конструкции крестового свода здесь не предусмотрены общие жесткие ребра по линии сопряжения лотков, обеспечивающих их совместную работу. Напротив, каждый из лотков работает самостоятельно, по линии их возможного сопряжения предусмотрен разрыв, заполненный свегопрозрачными конструкциями верхнего света. В Ереванском здании верхний свет обеспечивают зенитные фонари; гладкие одинарные оболочки лотков объединены по линиям пересечения жесткими ребрами.
Систему тонкостенных крестовых сводов применяют как в виде одиночной, так и в комплексной форме. Характерный пример - комплекс из трех тонкостенных крестовых железобетонных сводов покрытия прямоугольного в плане здания аэровокзала в Сан-Луисе архитекторов Ямасаки и Лейнвебера.


Уникальным, как по форме сооружения, так и по его габаритам, является здание Центра науки и техники, построенное в Париже в 1959г. по проекту инженера Н.Эскил-лана. Оно имеет план равностороннего треугольника и перекрыто трехлотковым сомкнутым волнистым сводом, опертым на три точки. Распор свода воспринимают предна-пряженные затяжки, связывающие его три пяты и размещенные под полом, а вертикальные нагрузки - скальное основание (рис.11.18.). Конструкция волнистого свода - двойная, состоит из двух тонкостенных железобетонных оболочек, раскрепленных диафрагмами. Приведенная толщина этой грандиозной конструкции - всего 13см на 1 кв.м площади пола. К недостаткам композиции можно отнести отсутствие верхнего света. Грандиозные витражи по трем сторонам здания дают крайне неравномерное естественное освещение интерьера. В композиционном отношении известным недостатком является отсутствие масштабности - в грандиозных витражах и своде отсутствуют сомасштаб-ные человеку членения. К сожалению, после постройки на искусственных платформах нового многофункционального района Дефанс, расположенное на его территории здание Центра частично ушло под верхнюю платформу и его объем визуально полностью не воспринимается (рис.11.18.).
II.3.2. Купола 11.3.2,1, Конструкция
Купола, наряду со сводами, являются второй древней конструкцией, переживши второе рождение в 20в.
Замена каменных конструкций куполов тонкостенными железобетонными или стальными радикально изменила все геометрические параметры купола: предельны пролет, стрелу подъема, отношение толщины купола к пролету.
Со 2 в. нашей эры до 20 в. предельной величиной пролета купола оставална 42 м (Пантеон в Риме). Но уже на первом этапе внедрения железобетонных конструкций был построен купол пролетом 65 м (1913 г. - Зал столетия во Вроцлаве), а в серед» не века - 100 м (1959 г. - Большой олимпийский дворец спорта в Риме), разработаны проекты железобетонных куполов пролетом 150 м, осуществлены стальные купола с пролетом около 200 м, например, покрытие стадиона в Хьюстоне диаметром 193 м (1964 г.) Наконец, с применением пленочно-тентовых конструкций удалось возвести купол диаметром 400 м (Зал Миллениум в Лондоне - 2000 г.).
Резко изменилось отношение толщины оболочки купола к его диаметру благодаря высокой прочности новых материалов. Если в каменных куполах это соотношение колебалось в пределах 1/10 • 1/12, то в пространственных тонкостенных железобетонных оболочках с пролетом до 150 м оно составляет 1/600- 1/800, и вес современных купольных
конструкций составляет 3-4% от веса исторических каменных куполов. Малая массивность новых купольных конструкций сильно сказалась на их внешнем облике. Каменные купола проектировались с очень большой стрелой подъема, чтобы уменьшить величину распора и обеспечить устойчивость каменной кладки. В современных конструкциях в связи с их малой массой величина распора пропорционально существенно меньше, а монолитность бетона (как и "сплошность" стальных стержней) практически исключает случайное обрушение конструкции при возведении. Соответственно отличительной особенностью современных куполов является их весьма пологая форма. Это не только представляет собой новое эстетическое явление, но и меняет экономичность перекрываемых зданий. Благодаря пологости купола резко сокращается размер подкупольного пространства, соответственно уменьшается стоимость объекта, приведенный расход материалов покрытия на 1 кв.м. пола перекрываемого зала и эксплуатационные расходы. В то же время и сейчас в соответствии с композиционными и функциональными требованиями (например, для здания планетария) купол может быть запроектирован с высокой стрелой подъема.

Современные формы купольных оболочек весьма разнообразны. Помимо традиционных форм гладких куполов с поверхностями тела вращения - фрагменты сферы, эллипсоида, параболоида или коноида в практику вошли купона со своеобразной формой поверхности (волнистой или складчатой, иногда называемой зонтичной). Так же как и в волнистых сводах, такое усложнение поверхности купола может быть продиктовано конструктивными, функциональными или композиционными требованиями. Л именно - требованиями повышения устойчивости тонкой, сжатой оболочки, лучшей организации естественного освещения подкупольного пространств или необходимостью придать зданию индивидуальный выразительный облик. Традиционно верхний свет в под-купольном пространстве дает фонарная надстройка над его верхним кольцом. Но возможно предусмотреть устройство верхнего света через венок распалубок над нижним кольцом (рис.11.19.)
Купола проектируют из железобетона, металла, дерева или пластмасс. При этом наибольшее распространение получили стальные и железобетонные купола.
Уникальные конструкции тонкостенных гладких и ребристых пологих (с отношением стрелы к диаметру 1/7) деревянных куполов пролетом 28 и 33 м были возведены в СССР в начале 30-х гг. К сожалению, они применялись в промышленных сооружениях: для покрытия газгольдеров, вращающихся печей и пр., мало привлекающих внимание архитектурной общественности. Поэтому этот опыт не был в должной мере оценен и воспринят последующим поколением специалистов. Основная конструктивная форма современных куполов - тонкостенные оболочки (гладкие или Граненые), ребристые, ребристо-кольцевые с решетчатыми связями и сетчатые. Последние три формы характерны для стальных конструкций. Железобетонные купола проектируют монолитными или сборными. Купола-оболочки содержат собственно оболочку, опорное растянутое кольцо и (при устройстве верхнего света) верхнее сжатое.
Купола-оболочки чаще всего проектируют гладкими монолитными. В случае необходимости применить сборно-монолитную конструкцию купол собирают из плоских или цилиндрических плит. Ребристые крупноразмерные цилиндрические плиты имеют длину на половину пролета и трапецеидальную форму в плане. Опорные кольца таких куполов - из сборных железобетонных или стальных прокатных замоноличиваемых профилей.
Сборные конструкции купола из плоских плит получают членением поверхности по меридианам и параллелям с образованием по высоте купола нескольких ярусов трапециевидных плит. Поскольку купол при этом членится на значительное число небольших плит, их проектируют плоскими, при этом поверхность купола после сборки представляет собой многогранник, вписанный в проектную криволинейную поверхность.
Для безопалубочного монтажа применяют конструкции сборных куполов так называемой навесной сборки. Купол членен на кольцевые и меридиональные ярусы. Плиты имеют плоскую форму и ребристую
конструкцию. Каждая из плит располагается в двух ярусах, что позволяет вести навесной монтаж (рис. 11.20.) за счет защемления плит.
Ребристые купола содержат установленные по радиусам криволинейные или прямолинейные ребра, нижнее и верхнее кольца. При прямолинейных ребрах образуется купол конической формы, при криволинейных - в виде полуарок - сферических или па-раболоидных (рис.11.21.6). Оригинально решение ребристого купола собора в г.Брази-лиа (архитектор О.Нимейер, инженер Ж.Кардозу), ребра которого имеют вогнутую форму (рис. 11.21.а). При этом сжатое кольцо размещено в месте максимального выгиба ребер. Поверхность купола между ребрами заполнена тонированным армированным стеклом, а нижнее опорное кольцо лежит практически на земле. При этом пол храма расположен ниже уровня земли. Таким образом, над уровнем поверхности земли возвышается только купол
Собора.

Ребристо-кольцевые сборные купола применяют при пролетах до 70 м, они состоят из ребер-пол у арок, горизонтальных кольцевых балок, криволинейных плит и опорных колец (нижнего и верхнего). Сборные элементы заполнения ячеек ребристо-кольцевых куполов могут быть выполнены со сплошной плитой, плитой со световым отверстием, или бет плиты - со светопрозрачным заполнением между ребрами. В последнем случае для обеспечения устойчивости конструкции ребра через шаг объединяют связями.

Сборные элементы соединяют с опорным кольцом и между собой сваркой закладных деталей (арматурных выпусков) и замоноличиванием швов.
Металлические купола проектируют ребристыми, ребристо-кольцевыми или сетчатыми. При этом в ребристых куполах (в отличие от железобетонных) не менее, чем в двух секторах устанавливают связи жесткости по наружным поясам ребер, а для устройства кровли по ребрам устанавливают прогоны.
Ребристо-кольцевые купола содержат помимо радиальных ребер горизонтальные кольца, работающие не только на изгиб от кровли, но и на продольные усилия, как элемент пространственной фермы. Еще большую жесткость несущей системе придает установка диагональных стержней в каждой трапецеидальной ячейке купола (купол Шведлера).
Сетчатые купола имеют каркас из пространственной стержневой системы с треугольными ячейками.
Разновидности сетчатых куполов определяются схемой построения сеток на сферической поверхности купола (рис.11.22.).


Широкую известность получили металлические конструкции так называемого геодезического купола Б.Фуллера. По геометрии они представляют собой сборную конструкцию из серии однотипных стержневых или плоскостных многогранников. Название геодезической эта конструкция получила в связи с тем, что в ней узлы сопряжения сборных элементов располагаются на горизонталях сферической поверхности, в то время как сам купол представляет собой многогранник, вписанный в сферу.
Наименее трудоемкой является конструкция сетчатых пластинчато-стержневых (панельных) куполов. Их собирают из отдельных алюминиевых изогнутых панелей из листов толщиной 2-4 мм. Отбортованные ребра панелей совместно с дополнительными стержневыми элементами образуют каркас купола. Панели объединяют на болтах. Самостоятельный вариант пластинчато-сетчатой конструкции купола разработан МАрхИ (проф.Туполев М.С.). При всей легкости сетчатых купольных конструкций им присущ общий недостаток - большая стрела подъема, приблизительно равная половине диаметра купола. Помимо экономических недостатков большая стрела подъема способствует ухудшению пространственной акустики в перекрываемом зале из-за фокусировки отраженных звуковых волн. В этом отношении акустические преимущества пологих железобетонных куполов, поверхность которых имеет очень большой радиус кривизны, превышающий в 2-3 раза высоту зала, бесспорна.
Волнистые и складчатые купола. Волнистые железобетонные и складчатые купола проектируют монолитными или сборно-монолитными ич сопряженных сегментов оболочек-волн (коноидальпых, синусоидальных, параболоидных). Пролеты таких куполов - 60-80м. Элементы складчатых куполов из складки прямолинейной, выпуклой или вогнутой формы выполняют в стальных или железобетонных конструкциях.
При большем, чем в гладких куполах, расходе материалов, волнистая (складчатая) конструкция обладает рядом преимуществ: благодаря открытым наружным торцам волн обеспечивается полноценное естественное верхнебоковое освещение внутренних пространств, а выразительная объемная форма конструкции обогащает композицию фасадов и интерьера здания. Торцы волн-оболочек могут выходить за пределы опорного кольца, иметь вертикальную или наклонную плоскость среза. Консольный вынос волн часто служит стационарным солнцезащитным устройством для проемов или витражей в наружных стенах.
Характерный пример сборно-монолитной складчатой железобетонной конструкции купола с распалубками - покрытие Даниловского рынка в Москве, складчатой металлической конструкции купола - покрытие здания цирка на ул. Вернадского там же.
Естественное освещение залов, перекрытых куполами, в соответствии с назначением зала, проектируют верхним или верхнебоковым. В сборных ребристых куполах проемы устраивают в центральной части сборных элементов заполнения. Боковое освещение предусматривают через витражи, вмонтированные между колоннами, поддерживающими опорное кольцо, через проемы в торцах волн или складок волнистых куполов, либо в распалубках.
11.3.2.2. Композиция
Внедрение конструкций нового типа как элемента интерьерной конструкции началось в 1880 г.г.,. В этот период начинается строительство новых типов крупных отечественных зданий - банков, почтамтов, универмагов, и возникает необходимость перекрывать без промежуточных опор внутренние атриумные пространства светпрозрачными покрытиями. В качестве несущих конструкций таких покрытий применяют своды (цилиндрические и сомкнутые) и ребристые купола из стальных полуарок. В разработке таких конструкций принимают участие выдающиеся инженеры того времени: Г.Эйфель (универмаг "О бон Марше" в Париже), В.Шухов (Верхние торговые ряды - ГУМ в Москве). Характерно, что Шухов первым отказывается от дополнительных украшающих наслоений на несущие конструкции, считая эстетически самодостаточной выразительность стекло-металлических покрытий. Это становится очевидным при сопоставлении сомкнутого металлического свода ГУМа с украшенным золочением, цветными эмалевыми накладками и металлическими завитками ребристого купола покрытия атриума универмага "Лафайет" в Париже (рис. 11.23.).
Однако уже в первой четверти 20в. стальные и железобетонные купола определяют не только решение интерьера, но и архитектуру сооружений в целом. В первую очередь купола возводят над сооружениями, для которых круглая форма плана и купольное покрытие функционально необходимы (цирки, планетарии), а также для тех, которым круглая форма плана и купол экономически и образно предпочтительны представительные залы

общественных собраний, крытые рынки, выставочные и спортивные залы
и т.п.
При этом первые крупные купольные сооружения возводят из монолитного железобетона. Таким стал Зал столетия во Вроцлаве, возведенный в 1914г. по проекту М.Берга в честь столетия победы над Наполеоном. Это грандиозное сооружение с ребристо-кольцевым железобетонным куполом пролетом 65м. и ступенчатой фонарной обстройкой состоит из двух фрагментов - собственно купола и воспринимающей его распор структуры. Именно в этой части сила исторических реминисценций восторжествовала. Для восприятия распора М.Берг прибег к весьма архаичной конструктивной системе - передаче его на четыре полукупола, окружающих основной (см.Минерву Медику 4 в. Н.э в Риме или собор Св.Виталия в Равенне - 4 в.). Поэтому при выразительном интерьере внешний объем Зала столетия излишне приземист и приземлен.
По окончании Первой мировой войны строительство железобетонных купольных сооружений возникает уже на новой конструктивно-композиционной основе - это, как правило, тонкостенные гладкие купола, распор которых воспринимает растянутое нижнее кольцо, уложенное на стены или каркас субструктуры. Однако эти купола пролетом 25-30 м проектируют еще с высокой стрелой подъема по функциональным соображени-ям (планетарии Москвы, Йены, Берлина и других городов), либо из градостроительных соображений (крытый рынок в Лейпциге). Последнее сооружение является самым значительным в архитектурном отношении среди купольных сооружений, построенных между двумя мировыми войнами, наряду с гладким монолитным куполом покрытия Новосибирского оперного театра.
Архитектурное решение здания Лейпцигского рынка - прямоугольный зал размером 75x225 м с покрытием из трех одинаковых восьмигранных тонкостенных куполов на квадратных фрагментах плана.
Конструкции куполов Лейпцигского рынка, разработаны одним из ведущих конструкторов в области железобетона Ф.Дишингером и представляют собой новый шаг в проектировании тонкостенных пространственных конструкций. Лейпцигские купола -тонкостенные (толщина оболочки 9 см) высокие (30 м) граненые конструкции из восьми сопряженных эллипсоидных оболочек, усиленных ребрами по линиям сопряжений и дополнительными продольными ребрами жесткости по оси каждой из составляющих оболочек. Нижнее кольцо купола опирается на наклонные пологие железобетонные арки, распор которых в свою очередь воспринимают конструкции перекрытия подвала. Естественное освещение рыночного зала верхнее - через зенитные фонари над верхними кольцами купола, и боковые - через ленточные проемы по периметру стен.
Купол Новосибирского оперного театра - монолитный, гладкий, с поверхностью вращения, пролетом 55,5 м и толщиной оболочки - 8 см, возведен в 1934 г. по проекту архитектора Т.Барта, инженеров П.Пастернака и В.Матерна. Купол вошел необходимым композиционным элементом в симметричное неоклассическое решение фасада здания театра и в панораму центра города.
После Второй мировой войны с конца 1950 гг. в процессе оживления строительства крупных общественных зданий расширяется применение жестких тонкостенных оболочек и их разнообразие, особенно купольных. Здесь ведущая роль принадлежит творчеству выдающихся инженеров - П.-Л.Нерви и Р.Саржеру.
П.-Л.Нерви совместно с архитектором А.Вителлоцци запроектировали Большой и Малый Олимпийские дворцы спорта в Риме (рис. 11.26 и 11.27). В обоих зданиях применены покрытия зрелищно-спортивных залов диаметром 60 и 100 м железобетонными сборно-монолитными ребристыми тонкостенными куполами, возведенными по оставляемой опалубке из армоцементных пространственных элементов (армоцементные элементы послужили оставляемой опалубкой в рассмотренных выше конструкциях покрытий зданий в Ости выставочного зала в Турине того же автора). Точность формования армоцементных изделий позволила создать чистую диагонально-кессонированную внутреннюю поверхность куполов, составляющую одну из самых привлекательных черт интерьера залов. Купол членен ромбовидными и треугольными кессонами, размеры которых нарастают к внешнему контуру, у которого ребра кессонов по три объединяются в своеобразную веерную опору. В результате "веера" опирают по внешнему контуру на "точку", освобождая пространство между ними для многочисленных проемов бокового естественного освещения. Таким образом, создается иллюзия "парящего в воздухе" легкого купола. В то же время веерное объединение ребер позволяет уменьшить количество ниже расположенных опор. В Малом дворце - это У-образные наклонные опоры, наклон которых совпадает с касательной к поверхности купола. Опоры расположены снаружи и придают тектоническую выразительность композиции здания в целом. Распор купола они передают расположенному ниже уровня земли преднапряженному железобетонному кольцу фундамента.

В Большом дворце наклонные опоры купола расположены внутри кольцевого фойе, охватывающего круглый зал. Они играют ведущую роль в композиции фойе, наряду с кессонированной криволинейной поверхностью его покрытия. Она представляет собой нижнюю поверхность несущей конструкции трибун - оболочки, отформованной также в оставляемой опалубке из армоцементных элементов.
Учитывая большую роль наклонных опор в композиции интерьер.!, Нереи придал им индивидуальную изыскан но-граненую форму.
К сожалению, внешний облик Большого дворца менее выразите/.'-•«. чем Малого из-за выполнения его наружных стен в виде тривиального витража.
Р. Саржеру во Франции и ее бывших колониях - Алжире и Тунисе - принадлежит авторство многочисленных уникальных сооружений. Их композиции основаны па выразительности разнообразных пространственных конструкций - складчатых, купольных, из оболочек отрицательной кривизны, висячих систем.
Одним из первых он применил волнистый купол диаметром 50 м для покрытия здания рынка к Руайане (рис. 11.28). Круглое в плане здание рынка покрыто пологим монолитным волнистым куполом из 13 сопряженных железобетонных оболочек парабо-лоидноготипа, опертых по внешнему контуру на 12 низких опор, связанных под землей опорным фундаментным кольцом. Наружные края волн оболочек образуют большой консольный свес над витражом фасада, создавая активный силуэт здания, красивую светотень и солнце защиту фасадов. Как и в римских дворцах спорта в вершине купола устроен фонарь верхнего света. Дополнительное естественное освещение дают устроенные вдоль осей каждой из 13 составляющих оболочек купола длинные щелевидные све-топроемы. Боковое естественное освещение обеспечивают витражные наружные стены.
Как и Малому дворцу (Палаццетто) в Риме, зданию рынка в Руайане присуща исключительная композиционная целостность внешнего объема и интерьера, достигнутые творческим подходом к конструктивному структурированию архитектурного решения.
Однако не всегда использование новых конструкций приводит к композиционным находкам. Выше это обстоятельство было проанализировано на примерах применения складчатых рам в покрытиях залов ЮНЕСКО в Париже и концертного зала префектуры Гумма в Японии. Но такая неудача может встретиться и в рамках творчества одного автора, что доказывает проект здания рынка в Нантерре Р. Саржера. Саржера увлекла техническая идея скомпоновать из параболоидкых оболочек двоякой кривизны (аналогичных примененным в Руайане) не купольное, а кольцевое сооружение с открытым круглым атриумом. Это позволило увеличить диаметр сооружения до 80 м, расположить опоры 16 составляющих покрытия оболочек по периметру внутреннего двора, соединив их фундаментным кольцом, консолировать оболочки (вынос консоли 25 м) и подвесить к их фасадному краю каркас витража наружных стеклянных стен. В связи с переменной кривизной оболочек к фасадной поверхности они подходят плоским краем. Поэтому внешний облик здания рынка получил банальную форму стеклянного цилиндра с плоским железобетонным карнизом. Богатая пластическая форма покрытия раскрыта только в интерьере и внутреннем дворе рынка. Таким образом, решая, несомненно, интересную техническую задачу, авторы проекта проиграли в композиции (рис. 11.29).
Композиционные темы волнистых кольцевых, купольных и зонтичных конструкций привлекли заинтересованное внимание архитекторов разных стран мира. Они применяются в объектах разного назначения и крупности от покрытия ресторана в Баку до крытого рынка на 1000 мест в г. Сумы.
Кольцевое отапливаемое пространство рынка в Сумах имеет покрытие из конои-дальных сборных железобетонных оболочек, сильно консолированных за поверхность фасада. Атриумное неотапливаемое пространство покрыто неутепленной висящей конструкцией из радиальных вантовых ферм, несущих пригружающую железобетонную воронкообразную оболочку. Опорный контур покрытии атриума лежит на часто расставленных колоннах.
Наиболее яркой творческой интерпретацией идеи волнистого железобетонного купола в 1980е г.г. стал проект складчатого сборного купола пролетом 72 м с распалубками для покрытия Даниловского рынка в Москве. Он представляет собой один из многочисленных вариантов сборных пространственных тонкостенных комбинированных оболочек, разработанных, исследованных и внедренных учеными МНИИТЭП под руководством д.т.н. Э.З. Жуковского (рис. 11.28).
Для композиции купольных круглых зданий существенную роль играет место расположения его растянутого нижнего кольца. При его расположении па или ниже уровня 1смли (собор и Бразилиа, Палаццето в Риме, рынок в Руайане) композиция принимает целостность и тектоничность, при этом решающую роль играет форма купола.








к











