ПРОЕКТИРОВАНИЕ МОЛНИЕЗАЩИТЫ
Министерство образования Российской Федерации
Ростовский государственный строительный университет
Утверждено на заседании кафедры
Пожарная и производственная
безопасность
«25», ноября 1999 г.
МЕТОДИЧЕСКИЕ УКАЗАНИЯ
к практической работе № П-2
«ПРОЕКТИРОВАНИЕ МОЛНИЕЗАЩИТЫ»
Ростов-на-Дону
2000 г.
УДК 69.05:658 382
Методические указания к практической работе № П-2 "Проектирование молниезащиты" - Ростов н/Д: Рост. гос. строит. ун-т, 2000. - 20 с.
В методических указаниях содержатся общие вопросы молниезащиты зданий и сооружений, справочные сведения и порядок проектирования молниеотводов.
Предназначены для студентов всех специальностей и форм обучения, изучающих дисциплину «БЖД в производственной среде» в дисциплине «БЖД», а также для раздела «БЖД» в дипломных проектов.
СОСТАВИЛИ. проф., д-р техн. наук Е.И Богуславский,
доц.., канд. техн. наук С.Л. Пушенко,
ассист. Е.С. Филь
Редактор Н.Е. Гладких
Темплан 2002г., поз. 32
ЛР №020818 от 13.01.1999г. Подписано в печать 25.01.2000. Формат 60 x 84/16.
Бумага писчая. Ризограф. Уч. - изд. л. 1,0.
Тираж 50 экз. Заказ 325
Редакционно-издательский центр
Ростовского государственного строительного университета
344022, Ростов-на-Дону, ул. Социалистическая, 162
© Ростовский государственный
строительный университет, 2000 г
1. ЦЕЛЬ РАБОТЫ
Изучение устройства и методики проектирования молниезащиты зданий и сооружений.
2. ОБЩИЕ ПОЛОЖЕНИЯ
2.1. Основные термины и определения
Молния - электрический разряд длиной в несколько километров, развивающийся между грозовым облаком и землей или наземным сооружением.
Прямой удар молнии (поражение молнией) - непосредственный контакт канала молнии с объектом, сопровождающийся протеканием по нему тока молнии.
Вторичное проявление молнии - наведение высокого потенциала на изолированных от земли металлических конструкциях, вызванное разрядами молнии.
Занос высоких потенциалов - перенесение в здание или сооружение по подземным, наземным и надземным металлическим коммуникациям электрических потенциалов, возникающих при прямых и близких ударах молнии.
Молниезащита - комплекс мероприятий, направленных на предотвращение прямого удара молнии в объект и устранение опасных последствий, связанных с прямым ударом и вторичным воздействием молнии.
Молниеотвод - устройство, воспринимающее удар молнии и отводящее ее ток в землю.
Зона защиты молниеотвода - пространство, внутри которого объект защищен от прямых ударов молнии с надежностью не ниже определенного значения.
Заземлитель молннезащиты - заглубленные в землю проводники, предназначенные для отвода в землю токов молнии
Естественный заземлитель - заглубленные в землю железобетонные конструкции зданий и сооружений.
Искусственный зазсмлитель - специально проложенные в земле контуры, состоящие из вертикальных и горизонтальных проводников.
2.2. Теоретические сведения
Одной из особенностей земной атмосферы является, непрерывное взаимное перемещение разноименно заряженных ионов между земной поверхностью иионосферой. В ясную погоду ноны достигают поверхности Земли или ионосферы, взаимодействуют с ионами противоположного знака и нейтрализуются. В пасмурную погоду свободному дрейфу препятствуют облака, состоящие из кристаллов льда с высоким электрическим сопротивлением. Ионы оседают на обоих поверхностях облака, при этом нижняя сторона облака и земная поверхность приобретают разноименные электрические заряды, в результате чего образуется конденсатор, обкладками которого являются облако и Земля, а диэлектриком -воздух. Поскольку дрейф иоиов происходит постоянно, то величина электрического потенциала между обкладками конденсатора непрерывно возрастает и может составлять более 1 млрд. В.
При грозе толщина диэлектрического слоя в конденсаторе относительно мала, поскольку грозовые облака расположены значительно ниже облаков других типов, а сопротивление диэлектрика снижено, т.к. воздух насыщен водяными парами и каплями. В результате может произойти электрический пробой воздушного промежутка между облаком и землей - молния. Пробой наиболее вероятен там, где величина промежутка минимальна, поэтому чаще всего разряд молнии попадает в наиболее высокие объекты, имеющие контакт с землей.
Разряд молнии начинается с развития лидера - слабо светящегося канала с током в несколько сот ампер. По мере продвижения его к земле с наземных объектов могут возбуждаться встречные лидеры. После установления сквозного лидерного канала следует главная стадия разряда - быстрая нейтрализация зарядов лидера, сопровождающаяся ярким свечением, нарастанием тока до сотен тысяч ампер, разогревом канала молнии до десятков тысяч градусов и ударным расширением, воспринимаемым как раскат грома. Кроме того, при быстром перемещении заряженных частиц возникает сильное электромагнитное поле, стягивающее диаметр канала до 1-2 см, чем объясняется высокая плотность тока в молнии. Суммарное время вспышки молнии составляет в среднем 0,2 с, в редких случаях может доходить до 1,5 с.
По направлению движения лидера молнии делятся на восходящие и нисходящие. Более 90% молний являются нисходящими. Восходящие молнии на равнинной местности поражают обьекты высотой более 150 м, в горных районах - сооружения меньшей высоты и наблюдаются чаще. Нисходящие молнии переносят больший заряд (до 100 Кл) и характеризуются большими значениями токов, поэтому требования к конструкции и размерам молниезащиты [1] составлены с учетом параметров, соответствующих не менее 99% нисходящих молний.
2.3. Опасные воздействия молнии
Опасность воздействия молнии на объекты, людей и животных определяется, с одной стороны, параметрами разряда молнии, а с друюн - технологическими и конструктивными характеристиками объекта (наличием взрыво- и пожароопасных зон, огнестойкостью конструкций и пр.).
Воздействия молнии принято подразделять на 2 группы: первичные, вызванные прямым ударом молнии, и вторичные, вызванные близкими ее разрядами.
Прямой удар молнии вызываег следующие воздействия:
- электрические, связанные с поражением людей и животных электрическим током (прямое поражение, появление опасных напряжений шага и прикосновения при растекании тока молнии в земле), а также с появлением электрических перенапряжений в электросетях, что может привести к выводу из строя электрической части электроустановок;
- термические, связанные с выделением теплоты при прямом контакте канала молнии с объектом или при протекании через объект тока молнии;
- механические, обусловленные ударной волной, распространяющейся от канала молнии, электродинамическими силами, действующими на проводники с токами молнии, а также резким паро- и газообразованием в материалах и последующим их механическим разрушением (растрескивание бетона, расщепление древесины).
К вторичным проявлениям молнии относятся:
- электростатическая индукция возникает в результате перемещения зарядов в канале молнии и проявляется в виде возникновения опасного напряжения на незаземленных металлических конструкциях, величина которого зависит от тока молнии, расстояния до места удара и может достигать несколько сотен киловольт;
- электромагнитная индукция возникает в результате изменения тока молнии во времени и проявляется в виде наведения ЭДС в металлических контурах (электрически связанные трубопроводы, коммуникации и пр.), что приводит к появлению высокого напряжения в них и искрению в местах сближения и разрывах контуров;
- занос высоких потенциалов по вводимым в объект коммуникациям при близких ударах молнии.
2.4. Характеристики грозовой деятельности
Согласно [1], необходимость выполнения молниезащиты и ее надежность определяются по ожидаемому количеству N поражений молнией объекта. Используется следующее положение: объект принимает на себя разряды, которые в его отсутствие поразили бы поверхность Земли определенной площади S (так называемая поверхность стягивания). Эта площадь имеет форму круга для сосредоточенных объектов и форму прямоугольника для протяженных. Тогда
,
где n - среднегодовое число ударов молнии в 1 км2 земной поверхности в месте расположения объекта, 1/(км2 год). На основании многолетних наблюдений установлено, что S пропорциональна высоте объекта h.
Для сосредоточенных объектов (дымовых труб, башен) применяется формула:

(1)
Для зданий и сооружений прямоугольной формы:
, (2)
где Нз - наибольшая высота здания или сооружения, м; Sз и Lз - соотвегственно ширина и длина здания или сооружения, м. Для зданий и сооружений сложной конфигурации в качестве Sз и Lз рассматриваются ширина и длина наименьшего прямоугольника, в который может быть вписан объект в плане.
Удельная плотность, ударов молнии в землю n в иастоящее время определяется на основе среднегодовой продолжительности грозовой деятельности, которая регистрируется сетью метеорологических станций. Данные о продолжительности гроз усреднены за период с 1936 по 1978 г. и в виде линий, характеризующихся постоянным числом грозовых часов в год, нанесены на географическую карту (см. прил. 1). На основании многолетних наблюдений выявлена связь между плотностью разрядов в землю и продолжительностью гроз (табл.1).
2.5. Классификация защищаемых объектов
Характер и тяжесть последствий удара молнии зависит, прежде всего, от взрыво- и пожароопасности объекта. Так, в производствах, связанных с процессами открытого горения, удар молнии представляет меньшую опасность, чем на объектах, содержащих взрыво- и пожароопасную среду.
Таблица 1. Характеристики грозовой деятельности.
|
Среднегодовая продолжительность гроз, ч |
Удельная плотность ударов молнии в землю n, 1/(км2 год) |
|
10-20 |
1 |
|
20 -40 |
2 |
|
40-60 |
4 |
|
60-80 |
5,5 |
|
80-100 |
7 |
|
100 и более |
8,5 |
Согласно [1], здания и сооружения разделены на 3 категории, отличающиеся по тяжести возможных последствий поражений молнией.
К 1 категории отнесены производственные помещения, в которых взрывоопасные концентрации газов, паров, пылей, волокон могут образовываться в нормальных технологических процессах. Поражение молнией вызывает взрыв на объекте и создаст повышенную опасность для близрасположенных объектов.
Ко II категории отнесены производственные здания и сооружения, в которых появление взрывоопасных концентраций газов, паров, пылей, волокон происходит при аварийных ситуациях, а также наружные установки, содержащие взрывоопасные жидкости и газы. Для этих объектов удар молнии создает опасность взрыва только при совпадении с технологической аварией.
К III категории относится объекты, в которых прямое или вторичное воздействие молнии не вызывает взрыва, но может вызвать пожар. Кроме того, к этой категории относятся объекты, поражение которых представляет опасность для людей и животных (общественные здания, высотные сооружения, животноводческие комплексы), а также небольшие строения в сельской местности, выполненные из сгораемых кокггрукцнй.
2.6. Средства и способы молннезашнты
Наиболее надежным средством защиты от прямого удара молнии является молниеотвод - устройство, предназначенное для непосредственного контакта с каналом молнии и отвода ее тока в землю. Молниеотводы делятся па отдельно стоящие, т.е. установленные на некотором расстоянии от защищаемого объекта и обеспечивающие растекание тока в земле мимо объекга, и установленные на самом объекте, обеспечивающие растекание тока по контролируемым путям так, что обеспечивается безопасность людей, низкая вероятность взрыва или пожара.
Отдельно стоящие молниеотводы исключают возможность термического воздействия молнии на объект, обеспечивают наибольшую безопасность и применяются для объектов I категории. Для объектов II и III категории в равной мере допустимо использование как отдельно стоящих, так и установленных на объекте молниеотводов.
Молниеотвод (рис. I и 2) состоит из молниеприемника 1, опоры 2, токоотвода 3 и заземлителя 4. На практике, функции молннеприемника, опоры и токоотвода может выполнять, например, металлическая мачта или ферма здания.
Защитное действие молниеотвода основано на свойстве молнии с большей вероятностью поражать высокие и хорошо заземленные объекты по сравнению с расположенными рядом объектами меньшей высоты.

Рис.1. Конструкция стержневого молниеотвода I - молниеприемник, 2 - опора, 3- токоотвод, 4 заземлитель

Рис.2. Конструкция тросового молниеотвода 1 - молниеприемник, 2 - опора, 3- токоотвод, 4 - заземлитель
Количественно зашитное действие молниеотвода определяется через отношение вероятности попадания молнии в защищаемый объект к общему числу ударов в молниеотвод и объект (вероятность прорыва). Отсюда вытекает понятие зоны защиты молниеотвода - это внешняя граница пространства с постоянным значением вероятности прорыва. В [1] принято две зоны зашиты: зона А обеспечивает защиту от 99,5% попаданий молнии, зона Б - от 95%.
По типу молниеприемннка молниеотводы делятся на стержневые (вертикальные), тросовые (горизонтальные протяженные) и молниеприемные сетки. Зона, защиты стержневого молниеотвода представляет собой круговой конус, зона защиты тросового - двускатную поверхность (рис. 3 и 4). Основное требование к размерам зоны защиты и расположению молниеотводов относительно защищаемого объекта заключается в том, что объект должен полностью, включая все выступающие части и детали, размещаться внутри зоны защиты.
Молниеприемные сетки выполняются из стальной проволоки диаметром не менее 6 мм с шагом ячеек не более 6 х 6 м с соединением узлов сваркой и размещаются на кровле здания, при этом кровля должна быть горизонтальной (уклон не более 1:8) из расчета равновероятности поражения молнией любого ее участка. При больших уклонах кровли удары молнии наиболее вероятны вблизи конька, и в этих случаях более экономична установка стержневых или тросовых молниеприемников.
Для обеспечения безопасности людей и защиты от вторичных проявлений молнии, токоотводы прокладываются в малодоступных местах по кратчайшему расстоянию к заземлителям, а искусственные заземлители размещаются равномерно по территории объекта на глубине не менее 0,5 м.
Заземлители молниезащиты могут быть естественными или искусственными, при этом для всех категорий молниезащиты предпочтение отдается естественным заземлителям.
В прил. 2 приведены характеристики некоторых объектов и соответствующие им категории молниезащиты и зоны защиты молниеотводов.

Рис. 3. Зона защиты одиночного стержневого молниеотвода

Геометрические размеры зон защиты определяются по формулам, приведенным в табл. 2.
Таблица 2 Размеры зон защиты одиночных молниеотводов высотой менее 150 м
|
Зона |
Высота зоны защиты h0, м |
Радиус зоны на уровне земли r0, м |
Радиус зоны на высоте крыши защищаемого объекта rх, м |
|
Стержневой (рис. 3) |
|||
|
А |
0,85h |
||
|
Б |
0,92h |
r0 =1,5 h |
|
|
Тросовый (рис. 4) |
|||
|
А |
0,85h |
||
|
Б |
0,92h |
r0 =1,7 h |
Примечания:
а) во всех случаях для зоны А высота молниеотвода h определяется методом последовательных приближений.
b) для зоны Б при известных значениях rx и hх:
h = (rx + 1,63hx)/1,5 -для стержневого молниеотвода;
h = (rx + 1,85hx)/1,7 -для тросового молниеотвода;
с) для тросового молниеотвода h - высота троса в середине пролета с учетом стрелы провеса троса. При известной длине пролета L высота опор молниеотвода:
при L < 120 м;
при 120 < L < 150 м. (3)

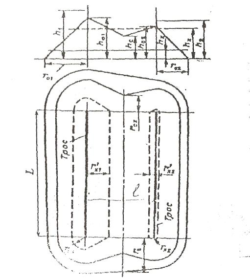
Рис. 5. Двойной стержневой молниеотвод

Для расширения горизонтальных размеров зон защиты используются несколько стержневых или тросовых молниеотводов с перекрывающимися зонами защиты. Чаще всего используются двойные стержневые (рис. 5) или двойные тросовые (рис. 6) молниеотводы.
Для двойных стержневых и тросовых молниеотводов высотой менее 150 м (рис. 5 и 6) габаритные размеры наружных областей зоны защиты h01, h02, r01, r02, rх1, rх2 определяются по формулам табл.2 для соответствующего типа одиночного молниеотвода. Внутренние области имеют следующие размеры:
(4)
rcx = rx при L < h (5)
rcx = rc(hc hx)/hc при L > h
Значения hc1 и hc2 определяются по табл. 3.
Таблица 3. Наименьшая высота внутренней области зоны защиты двойного молниеотвода
|
Зона защиты |
L < h |
h<L<4h |
4h <L<6h |
|
А |
hci = h0 |
- |
|
|
Б |
3. ЗАДАНИЕ ПО РАБОТЕ
Рассчитать двойной тросовый молниеотвод (рис. 5) с одинаковой высотой опор (h1 = h2).
Задание выполняется согласно варианту, указанному преподавателем. Номер варианта состоит из двух цифр. Первая определяет тип защищаемого объекта из табл. 4, вторая - размеры объекта из табл. 5
Таблица 4. Исходные данные. Тип объекта
|
№ п/п |
Тип здания или сооружения |
Среднегодовая продолжительность гроз, ч |
|
0 |
Здание, содержащее помещения класса В-I |
40 |
|
1 |
Наружная электроустановка класса В-Iг |
60 |
|
2 |
Наружная электроустановка класса П-III |
80 |
|
3 |
Здание IV степени огнестойкости класса П-II |
100 |
|
4 |
Здание вычислительного центра |
40 |
|
5 |
Здание, содержащее помещения класса В-Iа |
60 |
|
6 |
Здание III степени огнестойкости без взрывопожароопасных зон |
80 |
|
7 |
Здание IVа степени огнестойкости без взрывопожароопасных зон |
100 |
|
8 |
Отдельно стоящее здание |
40 |
|
9 |
Здание, содержащее помещения класса В-I |
60 |
Таблица 5. Исходные данные. Размеры здания или сооружения
|
№ п/п |
0 |
1 |
2 |
3 |
4 |
5 |
6 |
7 |
8 |
9 |
|
Длина Lз, м |
50 |
40 |
30 |
20 |
15 |
60 |
90 |
25 |
45 |
70 |
|
Ширина Sз, м |
40 |
35 |
20 |
15 |
15 |
30 |
60 |
45 |
55 |
70 |
|
Высота Hз , м |
39 |
15 |
32 |
20 |
25 |
22 |
38 |
15 |
31 |
25 |
4. ПОРЯДОК ОПРЕДЕЛЕНИЯ РАБОТЫ
4.1. Найти ожидаемое количество N поражений молнией объекта. Для сосредоточенных зданий и сооружений (Lз Sз) используют формулу (1), для зданий и сооружений прямоугольной формы - формулу (2). Удельная плотностъ ударов молнии n определяется по табл. 1, размеры объекта берутся из исходных данных. Результаты расчетов по п. 4.1 - 4.7 последовательно заносить в табл. 6.
Таблица 6. Размеры зоны защиты двойного тросового молниеотвода
|
n |
N |
L |
h |
hоп |
l |
h0 |
hx = Hз |
r0 |
rx |
rc |
hc |
rx |
rcx |
4.2. Пользуясь полученным значением N и прил. 2, определить требуемую категорию молниезащиты и тип зоны защиты молниеотвода
4.3. Определить длину пролега L. Принимаем L = Lз + (8 ... 10), м
4.4. Определить высоту провеса троса h. Принимаем h = H3 + (3...5), м
4.5. По формуле (3) определить высоту опор hоп.
4.6. Определить в первом приближении расстояние l между опорами соседних молниеотводов. Для этого принимаем l = 0,8Sз, м.
4.7. По формулам табл. 2 для выбранной зоны защиты определить размеры внешних границ зоны защиты молниеотвода; по формулам (4), (5) и табл. 3 определить размеры внутренних границ зоны защиты молниеотвода.
4.8. Проверить соответствие размеров зоны защиты габаритам здания. Условия проверки: hс > Нз и 2rх + 2rх > Sз
4.9. Если хотя бы одно из условий проверки не выполнено, следует повторить расчет с п.4.3, изменив одно или несколько из следующих условий расчета:
а) высоту молниеотводов h,
b) расстояние между опорами соседних молниеотводов l
4.10. Начертить в масштабе объект, молниеотвод и зону его защиты в трех проекциях аналогично рис. 4-5.
5. ОФОРМЛЕНИЕ РАБОТЫ
Отчет следует выполнять в отдельной тетради на отдельном двойном тетрадном листе.
Отчет должен содержать следующие части: шифр зачетной книжки, номер группы, фамилия и инициалы студента, дата выполнения работы.
С начала страницы отчет оформляют по образцу:
26.10.99., ТВ-510, Иванов В.В., з.к.63071
Лабораторная работа № 6, вариант №10
" Проектирование молниезащиты ".
Затем выделяют нумерацией и подчеркиванием 6 разделов.
1. Цель работы.
2. Общие сведения (теория вопроса и применяемые приборы).
3. Нормативные требования (нормативный документ для проектирования молниезащиты).
4. Расчетная часть (расчетные формулы в виде: формула в символьной записи, формула с численными значениями параметров, значение вычисленной величины с указанием размерностей).
5. Графическая часть (рисунок объекта и молниеотвода).
6. Выводы по работе (сопоставление полученных данных и нормативных требований).
Работу целесообразно защищать на следующем занятии. На отчете по работе преподаватель делает отметку. Отчет с отметкой передается преподавателю на экзамене (зачете).
6. ВОПРОСЫ И ЗАДАНИЯ ДЛЯ САМОПРОВЕРКИ
1. Что называется молнией и как она образуется?
2. Какие опасные воздействия производит молния?
3. Какими параметрами характеризуется грозовая деятельность?
4. Что называется молниезащитой?
5. На чем основана классификация защищаемых обьектов по категории молниезащиты?
6. Опишите конструкцию и принцип действия молниеотвода.
7. Что называется зоной защиты молниеотвода. Какие виды молниеотводов Вы знаете?
8. Каково должно быть взаимное расположение молниеотводов и защищаемого ими объекта?
ЛИТЕРАТУРА
1. Инструкция по устройству молниезашиты зданий и сооружений. РД 34.21.122-87/Минэнерго СССР.- М.: Энергоатомиздат, 1989. 56с.
2. Пчелинцев В.А., Коптев Д.В., Орлов Г.Г. Охрана труда в строительстве. - М.: Высшая школа, 1991. - 270 с.
3. Прокофьев Ф.И. Охрана труда в геодезии и картографии. - .М.: Недра, 1987. - 292 с.

Приложение 1
Карта среднегодовой продолжительности гроз в часах для территории РФ
Приложение 2
Категории молниезащиты и типы зон защиты молниеотводов
|
№ |
Здания и сооружения |
Продолжительность гроз |
Тип зоны защиты для стержневых и тросовых молниеотводов |
Категория молниезащиты |
|
1 |
Здания и сооружения, помещения которых относятся к зонам классов В-1 и В-2 |
Любая |
Зона А |
1 |
|
2 |
То же, классов В-1а, В-1б и В-2а |
10 ч и более |
При N>1-зона А; При N<1-зона Б |
2 |
|
3 |
Наружные установки, создающие зону класса В-1г |
Любая |
Зона Б |
2 |
|
4 |
Здания и сооружения, помещения которых относятся к зонам классов П-1, П-2, П-2а |
20 ч и более |
Для 1 и 2 степеней огнестойкости при 0,1<N<2 и для 3-5 степеней огнестойкости при 0,02<N<2-зона Б; при N>2-зона А |
3 |
|
5 |
Наружные установки и открытые склады, создающие зону классов П-3 |
20 ч и более |
При 0,1<N<2-зона Б; при N>2-зона А |
3 |
|
6 |
Здания и сооружения 3-5 степеней огнестойкости, в которых отсутствуют зоны взрыво- и пожароопасных классов |
20 ч и более |
При 0,1<N<2-зона Б; при N>2-зона А |
3 |
|
7 |
Здания и сооружения из легких металлических конструкций со сгораемым утеплителем (4а степени огнестойкости), в которых отсутствуют зоны взрыво- и пожароопасных классов |
10 ч и более |
при 0,02<N<2-зона Б; при N>2-зона А |
3 |
|
8 |
Здания вычислительных центров |
20 ч и более |
Зона Б |
2 |
|
9 |
Дымовые и прочие трубы предприятий и котельных, башни и вышки всех назначений высотой 15 м и более |
10 ч и более |
Зона Б |
3 |
|
10 |
Жилые и общественные здания, высота которых более чем на 25 м превышает среднюю высоту зданий в радиусе 400 м, а также отдельно стоящие здания высотой более 30 м, удаленные от других зданий более чем на 400 м |
20 ч и более |
Зона Б |
3 |