ОЦЕНКА СОСТОЯНИЯ И РАСЧЕТ ЗАЗЕМЛЕНИЯ ЭЛЕКТРООСТАНОВОК
Министерство образования Российской Федерации
Ростовский государственный строительный университет
Утверждено на заседании кафедры
Пожарная и производственная
безопасность
«25», ноября 1999 г.
МЕТОДИЧЕСКИЕ УКАЗАНИЯ
к лабораторно-практической работе № П-1
«ОЦЕНКА СОСТОЯНИЯ И РАСЧЕТ ЗАЗЕМЛЕНИЯ ЭЛЕКТРООСТАНОВОК»
Ростов-на-Дону
2000 г.
УДК 69.05:658 382
Методические указания к лабораторной работе №П-1 "Оценка состояния и расчет заземления электроустановок" - Ростов н/Д: Рост. гос. строит. ун-т, 2000. 20 с.
В методических указаниях содержатся основные сведения о заземлении промышленных и бытовых электроустановок, справочные сведения, порядкпроектирования и расчета защитного заземления электроустановок напряжением ниже 1 кВ.
Предназначены для студентов всех специальностей и форм обучения, изучающих дисциплину «БЖД в производственной среде» в дисциплине «БЖД», а также для раздела «БЖД» дипломных проектов.
СОСТАВИЛИ. проф., д-р техн. наук Е.И Богуславский,
ассист. Е.С. Филь
Редактор Н.Е. Гладких
Темплан 2000г., поз. 33
ЛР №020818 от 13.01.1999г. Подписано в печать 25.01.2000. Формат 60 x 84/16.
Бумага писчая. Ризограф. Уч. - изд. л. 1,0.
Тираж 50 экз. Заказ 226
Редакционно-издательский центр
Ростовского государственного строительного университета
344022, Ростов-на-Дону, ул. Социалистическая, 162
© Ростовский государственный
строительный университет, 2002 г
1. ЦЕЛЬ РАБОТЫ
Изучение устройства методики проектирования и расчета, а также натурного испытания защитного заземления электроустановок.
2. ГЕОМЕТРИЧЕСКИЕ СВЕДЕНИЯ
2.1. ОСНОВНЫЕ ТЕРМИНЫ И ОПРЕДЕЛЕНИЯ
Заземление - преднамеренное электрическое соединение с землей или ее эквивалентном металлических частей электроустановок.
Защитное заземление - заземление нетоковедущих частей электроустановок, которые могут оказаться под напряжением вследствие каких-либо аварийных ситуаций. Используется для обеспечения электробезопасности.
Рабочее заземление - заземление токоведущих частей электроустановок. Необходимо для обеспечения нормальной работы.
Заземление молниезащиты - заземление молниеприемников и разрядников с целью отвода в землю токов молнии.
Заземляющее устройство (ЗУ) - совокупность заземлителя и заземляющих проводников.
Заземлитель - один или несколько соединенных между собой проводннков, в соприкосновении с землей.
Заземляющий проводик - проводник, соединяющий заземляемые части электроустановки с заземлителем.
2.2. ОБЩИЕ ПОЛОЖЕНИЯ
Согласно [1], и РФ разрешены следующие виды электрических сетей: переменного тока - трехфазные трехпроводные и однофазные двухпроводные с изолированной нейтралью, трехфазные четырехпроводные и однофазные двухпроводные с заземленной нейтралью; постоянного тока - с изолированной от земли или с заземленной средней точкой трансформатора. В нормальном режиме работы более безопасными являются сети с изолированной нейтралью или средней точкой, в авварийном - сети с заземленной нейтралью или средней точкой. Бытовые электросети выполняются только с заземленной нейтралью.
По величине рабочего напряжения электрические сети и установки разделяются на 2 группы - высоковольтные с рабочим напряжением выше 1кВ (1000 В) и низковольтные (1кБ и ниже). В низковольтных сетях в основном используются следующие значения напряжений: 380, 220, 36 и 12 В переменного тока; 550, 440, 110, 36 и 12 В постоянного тока. Напряжения 36 н 120 являются безопасными для человека, поэтому используются в помещениях с повышенной опасностью, особо опасных и вне помещений.
К работе на высоковольтных электроустановках допускается только специально подготовлсенный персонал, поэтому количество поражений людей электрическим током в них очень невелико. Низковольтные электроустановки широко распространены в промышленности и быту, и именно на них приходится большинство несчастных случаев (н.с.), в том числе до 50% от общего числа н.с. со смертельным исходом.
Одной из эффективных мер защиты человека от поражения электрическим током является защитное заземление.
Защитное заземление предназначено для устранения опасности поражения человека электрическим током в случае прикосновения к корпусу или другим электропроводящим (металлическим) нетоковедущим в нормальном режиме работы частям электроустановки, которые могут в результате аварии оказаться под опасным напряжением. Следует отличать защитное заземление от рабочего заземления и заземления молниезащиты.
2.3. ПРИНЦИП ДЕЙСТВИЯЗАЩИТНОГО ЗАЗЕМЛЕНИЯ. НОРМИРОВАНИЕ СОПРОТИВЛЕНИЙ ЗАЗЕМЛЯЮЩИХ УСТРОЙСТВ.
При аварийных ситуациях на корпусе электроустановки может оказаться полное напряжение сети Uф (обычно 220 В), а ток, возникающий при касании человеком незаземленной электроустановки и проходящий через его тело, может привышать пороговый фибрилляционный ток (0,1 А).
При наличии защитного заземления ток распределяется по двум ветвям через заземлитель и через тело человека. В этом случае величина тока, проходящего через человека, определяется сопротивлениями защитного заземлителя Rз и человека Rч (для расчетов Rч принимается равным 1000 Ом). Для обеспечения безопастности необходимо, чтобы большая часть тока прошла через заземлитель, для чего необходимо обеспечить соотношение Rз<< Rч. Исходя из этого, в [I] для низковольтных электроустановок рекомендованы наибольшие допустимые сопротивления ЗУ в зависимости от суммарной мощности питающих электроустановку:
-при мощности более 100 кВА сопротивление ЗУ должно составлять не бо-
лее 4 Ом;
-при мощности 100 кВА и менее - 10 Ом..
2.4. ЗАЗЕМЛИТЕЛИ.
Заземлители могут быть естественными и искусственными. Искусственные предназначены исключительно для целее заземления. В качестве естественных могут использоваться любые находящиеся в земле металлическиепредметы (водопроводные трубы, опоры, железобетонные фундаменты и пр.). Правилами [I] рекомендуется использовать естественные заземлители.
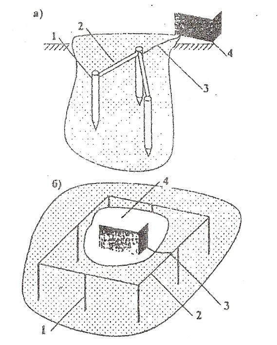
Искусственное ЗУ (рис.1) включает вертикальные заземлители (стержни) I, соединенные между собой горизонтальной заземляющей магистралью (соединительной полосой) 2. Кроме того, в состав ЗУ входят заземляющие проводники 3, соединяющие заземлитель с заземляемой электроустановкой 4.
В зависимости от места размещения различают выносные заземлители, сосредоточенные в некоторой зоне площадки под оборудование (см.рис.1, а), и контурные (распределенные), электроды которого размещаются по периметру площадки с оборудованием или внутри нее (см. рис.1, б). Выносные заземлители используют для заземления временно устанавливаемого оборудования, контурные для стационарного.
При контурном размещении заземлителей обеспечивается выравнивание потенциала на всей площадке,поэтому они обеспечивают лучшую защитучеловека от поражения электрическим током. Соединительные полосы могут быть размещены в один или несколько рядов (см.рис, 1,а),либо по периметрузамкнутого контура (см.рис. 1,6).

Рис. 1. Искусственное заземляющее устройство: выносное (а) и контурное (б)
1- заземлители; 2 - соединительная полоса; 3 - заземляюший проводник,
4 - заземляемое оборудование
Для вертикальных стержней искусственных заземлителей применяют стальные трубы с толщиной стенки не менее 3 мм, прутковую сталь диаметром не менее 12 мм, либо уголки столщиной полок не менее 4 мм. В качестве горизонтальных заземлителей используют полосовую сталь сечением не менее 4x12 мм или стальной пруток диаметром не менее 6 мм. Все соединения вертикальных стержней с полосой выполняются сваркой, а заземлителя с электроустановкой - сваркой или болтовыми соединениями.
Сопротивленне контура заземления складывается из сопротивления вертикальных стержней и горизонтальной полосы, общее сопротивленне ЗУ включает сопротивление контура заземления и заземляющего проводника.
Сопротивление контура заземлителя растеканию тока определяется сопротивлением контура заземления и удельным сопротивления грунта, которое зависит от типа и влажности грунта, содержания солей, температуры и др.
2.5. ОБЛАСТЬ ПРИМЕНЕНИЯ ЗАЗЕМЛЕНИЯ.
1. При напряжении выше 1 кВ во всех случаях, независимо от рода тока и вида электрической сети.
2. При напряжении 1 кВ и ниже - в следующих видах электрических сетей:
- трехфазные трехпроводниковые переменного тока с изолированной нейтралью;
- однофазные двухпроводные переменного тока, изолированные от земли;
- постоянноготока с изолированной средней точкой источника тока.
Для этих сетей предусмотрено выполнять защитное заземление в следующих случаях:
- при напряжении 380 В и выше переменного тока или 440 В и выше посто-
янного тока - во всех случаях:
- при напряжени от 42 ло 380 В переменного тока или от 110 до 440 В постоянного тока - только а помещениях с повышенной опасностью и особо опасных, а также в наружных установках;
- при слабых напряжениях постоянного и переменного тока - во взрывоопасных помещениях.
Защитному заземлению подлежат корпуса электрических машин, аппаратов, светильников и т. п., металлические конструкции, предназначенные для размещения электрическихкабелей и электропроводки (ободочки, трубы); металлические конструкции, на которых устанавливается электрооборудование; металлические корпуса передвижных и переносных электроустановок; электрооборудование, размещенное на движущихся частях машин и механизмов.
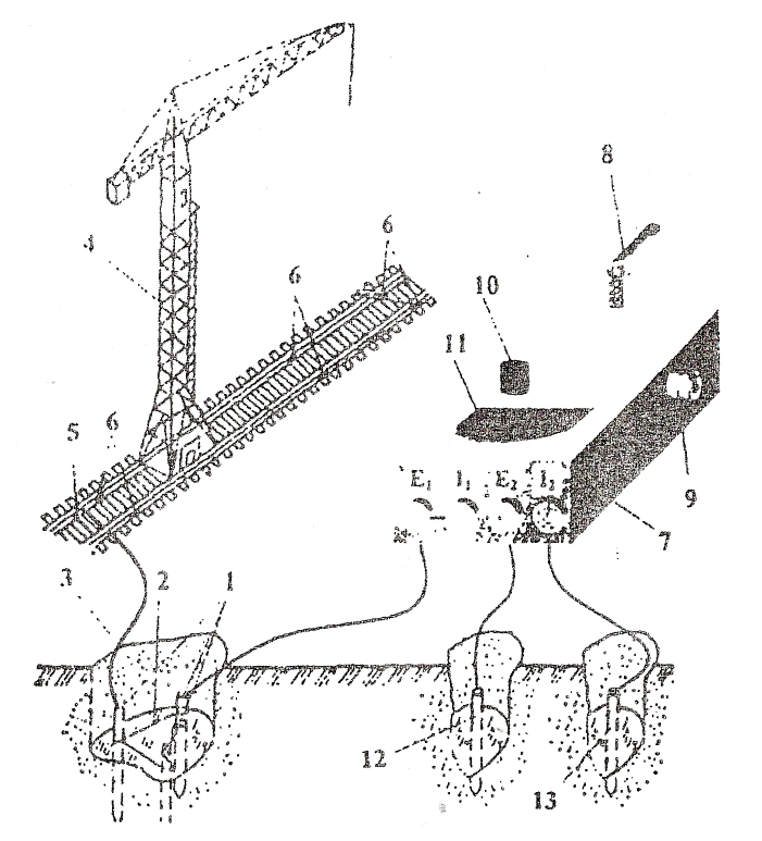
В строительстве наиболее часто защитное заземление применяется для обеспечения электробезопасности башенных кранов (рис.2). В этом случае заземляется не размещенное на подвижной части крана электрооборудование, а подкрановые пуги, поскольку металлические част крана через колеса имеют с путями хороший электрический контакт, при этом все части крана, требующие заземления, надежно соединяются с остовом. Рельсы подкрановых путей для создания непрерывной электрической цепи надежно (сваркой) соединяются на стыках перемычками 6 и между собой (междурельсовыми перемычками 5} и заземляютсяся не менее чем в двух точках, сосредоточеннымм заземлителями.
Заземление может применяться и в сетях с заземленной нейтралью, однако в этом случае оно не является защитной мерой, а служит для обеспечения работоспособности другах способов зашиты, например, защитного отключения.
Энергоснабжение жилых и общественных зданий, согласно [I], должно, обеспечиваться только от сети с заземленной нейтралью, поэтому защитное заземление здесь не применяется. Основной мерой защиты данной категории потребителей является зануление - злектрическое соединение металлических нетоковедущих частей с нулевым проводом сети. Занулению подлежат: металлические корпуса электроприборов мощностью более 1,3 кВт во всех случаях, мощностью 1,3 кВт и менее - только при возможности одновременного касания корпуса электроприбора и открытых радиаторов системы отопления, водопроводных труб и других заземленных конструкций. Занулсние таких электроприборов выполняется с помощью третьего провода шнура питания и соответствующей ей входной резетки.

Рис.2. Заэемление башенного крана:
1 заземлители; 2 - соединительная полоса; 3 - заземляющий проводник; 4 - заземляемое оборудование (кран); 5 - междурельсовые перемычки; 6 - перемычки между стыками рельс; 1 - прибор МС-08; 8 - рукоятка привода генератора; 9 - ручка «Установка нуля»; 10 - переключатель диапазонов; 11-шкала прибора; 12 - потенциальный зонд; 13 - токовый зонд.
2.6. РАСЧЕТ ЗАЗЕМЛЯЮЩИХ УСТРОЙСТВ.
Для расчета ЗУ необходимо иметь: электрические характеристики установки, план размещения электрооборудования; допустимые значения напряжений прикосновения и шага; расчетный ток замыкания на землю.
Кроме того, необходимо знать:
- форму, размеры, материал и предполагаемое заглубление вертикальных стержней заземлителя;
- измеренное удельное сопротивление грунта на участке размещения ЗУ. При отсутствии таких данных сопротивление грунта принимается по табл.1;
- климатические условия региона (приведены в табл. 2) по которым выбираются соответствующие коэффициенты Кмв и Кмг (табл.2)
Таблица 1
Средние значения удельного сопротивления грунта, Ом*м.
|
Тип грунта |
Удельное сопротивление грунта , Ом*м |
|
Песок |
700 |
|
Супесь |
300 |
|
Чернозем |
200 |
|
Суглинок |
100 |
|
Глина |
40 |
Таблица 2
Коэффициенты климатических условий для вертикальных и горизонтальных заземлителей.
|
Климатическая зона |
Для вертикального заземлителя (стержня) Кмв |
Для горизонтального заземлителя (соединительной полосы) Кмг |
||||
|
Влажность грунта |
Влажность грунта |
|||||
|
повышенная |
нормальная |
малая |
повышенная |
нормальная |
малая |
|
|
I |
2,0 |
1,9 |
1,8 |
7,0 |
5,7 |
4,5 |
|
II |
1,8 |
1,65 |
1,5 |
4,5 |
4,0 |
3,5 |
|
III |
1,6 |
1,5 |
1,4 |
2,5 |
2,2 |
2,0 |
|
IV |
1,4 |
1,3 |
1,2 |
2,0 |
1,7 |
1,5 |
Расчет ЗУ выполняеся по характеристикам электроустановки (рабочему напряжению, мощности трансформатора н пр.) в следующем порядке:
1. Вначале выбирают допустимое сопротивление ЗУ RД, Ом {см. п.2.3.).
2. Затем по формуле (1) рассчитывают сопротивление одиночного стержневого заземлителя:
Rос=0,366Кмв/lc(lg+lg4hc+lc/4hc-lc),Ом (1)
где hс=tо+0,5lс, м (2)
Здесь Кмв - коэффициент климатических условий, определяется по табл. 2 для стержней в зависимости от климатической зоны и влажности грунта; lс и dс соответственно длина и наружный диаметр стержня, м; hс глубина заложения стержня, м, равная расстоянию от поверхности земли до середины стержня, определяется по формуле (2). Для заземлителей из уголковой стали эквивалентный диаметр стержня принимают по формуле:
dс =0,95b, м, (3)
где b ширина полок уголка, м.
3. Определяют ориентировочное количество стержней:
nх= Rос/ Rз. (4)
4. Находят требуемое количество вертикальных заземлителей
n= Rос/(в Rз), (5)
где в коэффициент использования вертикальных заземлителей, выбирается из табл. 3 с учетом отношения a/lс (расстояния а между стержнями к их длине lс), предполагаемого размещения соединительных полос и ориентировочного количества стержней nх. Полученное значение n округляется до ближайшего целого числа. Если n отличается от nх, то следует выбрать из табл. 3 по значению n новое значение в и пересчитать n по формуле (5).
Таблица 3
Коэффициенты использования вертикальных заземлителей в
|
Количество заземлителей n(nх) |
Соединительные полосы размещены в ряд |
Соединительные полосы размещены по периметру замкнутого контура |
||||
|
Отношение расстояния а между стержнями к их длине lс |
||||||
|
1 |
2 |
3 |
1 |
2 |
3 |
|
|
2 4 6 10 20 40 |
0,85 |
0,91 |
0,94 |
- |
- |
- |
|
0,73 |
0,83 |
0,89 |
0,69 |
0,78 |
0,85 |
|
|
0,65 |
0,77 |
0,85 |
0,61 |
0,73 |
0,80 |
|
|
0,59 |
0,74 |
0,81 |
0,56 |
0,68 |
0,76 |
|
|
0,48 |
0,67 |
0,76 |
0,47 |
0,63 |
0,71 |
|
|
- |
- |
- |
0,41 |
0,58 |
0,66 |
Таблица 4
Коэффициенты использования горизонтальных заземлителей (полос) г
|
Количество заземлителей n(nх) |
Соединительные полосы размещены в ряд |
Соединительные полосы размещены по периметру замкнутого контура |
||||
|
Отношение расстояния а между стержнями к их длине lс |
||||||
|
1 |
2 |
3 |
1 |
2 |
3 |
|
|
2 4 6 10 20 40 |
0,85 |
0,94 |
0,96 |
- |
- |
- |
|
0,77 |
0,80 |
0,92 |
0,45 |
0,55 |
0,70 |
|
|
0,72 |
0,84 |
0,88 |
0,40 |
0,48 |
0,64 |
|
|
0,62 |
0,75 |
0,82 |
0,34 |
0,40 |
0,56 |
|
|
0,42 |
0,56 |
0,68 |
0,27 |
0,32 |
0,45 |
|
|
- |
- |
- |
0,22 |
0,29 |
0,33 |
5. Суммарное сопротивление стержней:
Rс=, Ом (6)
6. Сопротивление соединительной полосы:
Rn=, Ом (7)
Здесь г коэффициент использования горизонтального заземлителя, выбирается из табл. 4 аналогично в;
ln длина полосы, м. определяется по формуле (8) при рядном расположении заземлителей или (9) при контурном:
ln=1,05аn, м; (8)
ln=1,05а( n-1), м (9)
bn ширина полосы, м; tо глубира заложения полосы, м.
7. Общее сопротивление контура заземления:
R=Rс Rn/ Rс+ Rn, Ом (10)
8. Сравнивают расчетные значения общего сопротивления R с допустимым значением RД. В случае, если R > RД увеличивают количество стержней n или их длину lс, либо уменьшают расстояние а между ними и производят перерасчет, начиная с п.4.
2.7. ЭКСПЛУАТАЦИЯ И НАТУРНОЕ ИСПЫТАНИЕ
ЗАЗЕМЛЯЮЩИХ УСТРОЙСТВ. ИЗМЕРИТЕЛЬНАЯ АППАРАТУРА.
При сдаче в эксплуатацию строительных объектов на каждое отдельное ЗУ составпяется паспорт с его схемой, основными техническими характеристиками, сведениями о ремонтах и внесенных изменениях в конструкцию.
В процессе эксплуатации ЗУ возможно повышение сопротивления растеканию тока сверх расчетного значения, при этом ЗУ теряет способность обеспечить безопасность людей при замыкании на корпус, поскольку возрастает потенциал эаземлнтеля, а следователыю, и величины напряжений прикосновения и шага. Повышение сопротивления растеканию тока может быть следствием колебаний сопротивления грунта, высушивания почвы под воздействием близко расположенных горячих поверхностей (трубопроводов пара, гогячей воды и пр.), ухудшения электрического контакта между элементами ЗУ в результате случайных механических воздействий, при прохождении аварийных токов, коррозии болтовых и сварных соединений.
Чтобы своевременно обнаружить неисправность и восстановитъ защитные функции ЗУ, Правилами [1,2] предусматриваются периодические проверки состояния ЗУ, включающие внешний осмотр видимых частей ЗУ с проверкой цепи между заземлителем и электроустановки, измерение сопротивления ЗУ, выборочное вскрытие грунта для осмотра подземных элементов ЗУ.
Внешний осмотр ЗУ осуществляется при всех видах проверки электроуста-новки. Измерение сопротивления ЗУ производится в сроки, устанавливаемые системой планово-предупредителных ремонтов для данного заземляемой установки(обычно 1 раз в год) в наиболее неблагоприятныхдля работы ЗУ условиях, т.е. в периоды наибольшего удельного сопротивления грунта: летом - при максимальном просыхании почвы и зимой - при наибольшем промерзании. Вскрытие грунта производитсяся при каждом измерении сопротивления.

Рис. 3. Измерение сопротивления растеканию тока методом вольтметра-амперметра:
1 заземлитель; 2-потенциальный зонд; 3- токовый зонд; А амперметр; V-вольтметр; Б источник питания.
Для измерения чаще всего используется метод вольтметра-амперметра. сущность метода заключается в том, что производится одновременное измерение амперметром тока Iх, пропускаемого через заземлитель в землю, вольтметром - потенциала х заземлителя относительно земли (рис. 3). Сопротивление растеканию тока от заземлителя:
Rизм= х/ Iх. (11)
Для измерения необходимо два вспомогательных зонда - токовый 3, служащий для создания токовой цепи, и потенциальный 2, служащий для подключения вольтметра к точке с нулевым потенциалом.
В промышленности для измерения сопротивления ЗУ применяются комбинированные приборы - измерители сопротивления. Отличительная особенность их в том, что конструктивно в приборе совмещены функции амперметра и вольтметра, вычисления по формуле 11 производятся автоматически, и на стрелку выводится готовое значение сопротивления. Приборы, измеряющие несколько различных величин, производящие над ними арифметические действия и выдающие результат этих действий называются догометрами.
В лабораторной работе используется логометрический измеритель сопротивления МС-08 (рис. 2). Прибор содержит две рамки - токовую, включаемую как амперметр между заземлителем и токовым зондом, и рамку напряжения, включаемую как вольтметр между заземлителем и потенциальным зондом. Источником электроэнергии является встроенный генератор постоянного тока.
3. ЗАДАНИЕ ПО РАБОТЕ.
а) рассчитать параметры искусственного ЗУ башенном крала согласно п.4.
b) пользуясь прибором МС-08 и лабораторным стендом, провести натурное имерение сопротивления запроектированного ЗУ согласно п. 5.
Задание выполняется согласно варианту, указанному преподавателем. Номер варианта состоит из двух цифр. Первая определяет тип объекта (табл.5), вторая размеры объекта.
Таблица 5
Тип и характеристики объекта.
|
№ п/п |
Тип грунта |
Влажность грунта |
Климатическая зона |
Мощность трансформатора |
|
0 |
Песок |
Малая |
I |
90 |
|
1 |
Песок |
Нормальная |
II |
120 |
|
2 |
Супесь |
Повышенная |
II |
150 |
|
3 |
Супесь |
Малая |
IV |
200 |
|
4 |
Чернозем |
Нормальная |
I |
80 |
|
5 |
Чернозем |
Повышенная |
II |
50 |
|
6 |
Суглинок |
Малая |
III |
400 |
|
7 |
Суглинок |
Нормальная |
IV |
110 |
|
8 |
Глина |
Повышенная |
I |
100 |
|
9 |
Глина |
Малая |
II |
180 |
Таблица 6
Размеры заземлителей
|
№ п/п |
0 |
1 |
2 |
3 |
4 |
5 |
6 |
7 |
8 |
9 |
|
Длина стержня lс, м |
2,0 |
2,2 |
2,5 |
2,7 |
3,0 |
2,0 |
2,2 |
2,5 |
2,7 |
3,0 |
|
Диаметр стержня dс, м |
0,02 |
- |
0,03 |
- |
0,02 |
- |
0,04 |
- |
0,03 |
- |
|
Ширина полки уголка b,м |
- |
0,04 |
- |
0,05 |
- |
0,03 |
- |
0,05 |
- |
0,04 |
|
Расстояние между стержнями , м |
6,0 |
4,4 |
5 |
2,7 |
6,0 |
6,0 |
2,2 |
7,5 |
5,4 |
3,0 |
|
Ширина соединительной полосы bn, м |
0,03 |
0,05 |
0,04 |
0,03 |
0,07 |
0,05 |
0,04 |
0,03 |
0,05 |
0,07 |
|
Глубина заложения соединительной полосы tо, м |
0,5 |
0,4 |
0,3 |
0,4 |
0,6 |
0,4 |
0,3 |
0,5 |
0,6 |
0,6 |
|
Размещение соединительных полос |
ряд |
контур |
ряд |
контур |
ряд |
контур |
ряд |
контур |
ряд |
контур |
4. ПОРЯДОК ВЫПОЛНЕНИЯ РАБОТЫ ПО РАСЧЕТУ СОПРОТИВЛЕНИЯ КОНТУРА ЗАЗЕМЛЕНИЯ.
1. По заданной мощности трансформатора (табл. 5} определить допустимое сопротивление ЗУ Rз (см. рекомендации п.2.3.).
2. Определить расчетное сопротивление одиночного заэемлителя по формуле (1). Длину lс и диаметр dс стержня выбрать из исходных данных (табл.6); если в качестве вертикального заземлителя используется уголок, рассчитать dс по формуле (3). Удельное сопротивление грунта принимается из табл.1 по типу грунта (табл.5); коэффициент климатических условий для вертикальных заземлителей Кмв -из табл.2 по климатической зоне и влажности грунта (табл.5).
3. Определить ориентировочное количество стержней nх по формуле (4). Результат округлить до целого числа.
4. Определить требуемое количество вертикальных заземлителей n и по формуле (5). Для этого:
- найти отношение расстояния между электродами к их длине L=. Расстояние между стержнями берется из табл. 6.
- выбрать из табл.3 коэффициент использования вертикальных эаземлителей в, пользуясьпо L, полученным в п.5 расчета, количеством стержней nх (п.4) и видом размещения соединительных полос (таблица 6).
Полученное значение n округлить до ближайшего целого числа. Если n отличается от nх, то следует выбрать из табл.3 по значению n новое значение в, и вновь пересчитать n по формуле (5).
Определить суммарное сопротивление стержней Rс по формуле (6).
6. Вычислить сопротивление соединительной полосы Rn по формуле (7).
Для этого:
- выбрать из табл.4 коэффициент использования горизонтального заземлителя г. Выбор производится аналогично выбору в.
- выбрать из табл.2 коэффициент климатических условий для горизонтальных заземлителей Кмг. Выбор производится аналогично выбору Кмв.
- определить (по формуле (8) при рядном расположении заземлителей или формуле (9) - при контурном) длину соединительной полосы 1n.
7. Рассчитать сопротивление контура заземления R по формуле (10).
8. Проверить соответствие полученного сопротивления контура заземления R допустимому сопротивлению ЗУ Rз. В случае несоответствия увеличить количество заземлителей и повторить расчет с п.4 по п.8.
5. ПОРЯДОК ВЫПОЛНЕНИЯ НАТУРНЫХ ЗАМЕРОВ.
1. Установить соответствующими переключателями на стенде заданный в варианте тип грунта, полученное количество вертикальных заземлителей мощность трансформатора.
2. Подключить прибор МС-08 к стенду в соответствии со схемой (рис. 2). Клеммы Е1 и I1 прибора соединяются перемычкой и подключаются к выводу ЗУ, клемма I2 - выводу токового зонда, клемма Е2 - к выводу потенциального зонда.
3. Перед измерением сопротивления ЗУ переключатель диапазонов 10 установить в положение «Регулировка», затем вращая ручку 8 привода генератора (см. Рис. ) со скоростью 90 - 150 об/мин одновременно ручкой 9 «Установка нуля» добиться совмещения стрелки с красной риской на шкале II прибора.
4. Для измерения сопротивления ЗУ растеканию тока установить переключатель диапазонов 10 в положение «х 1,0» и вращая ручку 8 генератора одновременно снять отсчет по шкале II. Если измеренное сопротивление менее 100 Ом, необходимо установить переключатель диапазонов 10 в положение «х 0,1» и снять более точный отсчет; если измеренное сопротивление менее 10 Ом, необходимо повторить измерение в диапазоне «х 0,01».
5. сравнить замеренное сопротивление контура заземления растеканию тока с допустимым значением Rд для задонного варианта.
5. ОФОРМЛЕНИЕ РАБОТЫ
Отчет следует выполнять в отдельной тетради на отдельном двойном тетрадном листе.
Отчет должен содержать следующие части: шифр зачетной книжки, номер группы, фамилия и инициалы студента, дата выполнения работы.
С начала страницы отчет оформляют по образцу:
26.10.99., ТВ-510, Иванов В.В., з.к.63071
Лабораторная работа № П-2, вариант №10
" Оценка состояния и расчет заземления электроустановок ".
Затем выделяют нумерацией и подчеркиванием 6 разделов.
1. Цель работы.
2. Общие сведения (теория вопроса и применяемые приборы).
3. Нормативные требования (нормативный документ для выбора и расчета заземляющих устройств).
4. Расчетная часть (расчетные формулы в виде: формула в символьной записи, формула с численными значениями параметров, значение вычисленной величины с указанием размерностей).
5. Результаты натуральных замеров (результаты замеров сопротивления ЗУ растеканию тока).
6. Выводы по работе (сопоставление данных, полученных в результате расчета и натуральных замеров и нормативных требований).
7. Рекомендация (общие и индивидуальные мероприятия по защите персонала)
Работу целесообразно защищать на следующем занятии. На отчете по работе преподаватель делает отметку. Отчет с отметкой передается преподавателю на экзамене (зачете).
7. ВОПРОСЫ И ЗАДАНИЯ ДЛЯ САМОПРОВЕРКИ
1. Что называется защитным заземлением? Опишите принцип его действия?
2. При каких значениях напряжений, и в каких помещениях используется защитное заземление?
3. Опишите виды и конструкцию заземлителей.
4. Какие меры электробезпасности используются в жилых помещениях?
5. Каким образом нормируется защитное заземление?
6. Как и какими приборами измеряется сопротивление контура заземления растеканию тока?
7. От каких параметров зависит расчетная величина ЗУ?
8. От чего зависит сопротивление ЗУ растеканию тока?
9. В чем особенности эксплуатации ЗУ?
10. Назовите известные Вам способы защиты человека от воздействия электрического тока.
ЛИТЕРАТУРА
1. Правила устройства элекироустановок / Минэнерго СССР. - 6-е изд., перераб. и доп. - М.: Энергоатомиздат, 1986. - 648 с.
2. Правила технической эксплуатации электроустановок потребителей и правила техники безопасности при эксплуатации электроустановок потребителей. 4-е изд., перераб. доп. М.: Энергоатомиздат, 1986. - 424 с.
3. Долин П.А. Основы техники безопасности в электроустановках: Учеб. пособие для ВУЗов. - М.: Энергия, 1979.- 408 с.
4. Папаев С.Т. Охрана труда: Учебное пособие. - М.: Издательство стандартов, 1988.- 240с.
5. Охрана труда в строительстве. Инженерные решения: Спрпночник / В.И.Русин, Г.Г.Орлов, Н.М.Неделько и др. - Киев: 1990. - 208 с.
6. ГОСТ Р 50571.10 - 96. Электробезопасность. Общие требования.
ОЦЕНКА СОСТОЯНИЯ И РАСЧЕТ ЗАЗЕМЛЕНИЯ ЭЛЕКТРООСТАНОВОК