Проект строительства электросталеплавильного цеха мощностью 155 406 т в год
Курс: «Организация производства на предприятиях черной металлургии»
КУРСОВАЯ РАБОТА
по теме «Проект строительства электросталеплавильного цеха мощностью 155 406 т в год»
Содержание
Введение…………………………………………………………………………………………5
Исходные данные для выполнения работы…………………………………………………..11
- Расчет производственной программы проектируемого цеха……………….………12
- Определение количества основного технологического оборудования………..12
- Определение структуры ремонтного цикла, расчет количества ремонтов и их продолжительности………………………………………………………………..13
- Определение капитальных затрат на строительство объекта и стоимости его основных фондов…………………………………………………………………..14
- Расчёт численности и заработной платы …………………………………………….18
- Основные положения организации оплаты труда и начисления заработной платы………………………………………………………………………………..18
- Организация оплаты труда………………………………………………...18
- Начисление заработной платы…………………………………………….20
- Выплаты за работу в условиях, отклоняющихся от нормальных. Доплаты за сверхурочную работу……………………………………………………22
- Основные положения расчета численности и фонда оплаты труда работников…………………………………………………………………………24
- Расчет численности и фонда оплаты труда рабочих……………………………25
- Расчет численности и фонда оплаты труда цехового персонала……………….33
- Основные положения организации оплаты труда и начисления заработной платы………………………………………………………………………………..18
- Калькулирование себестоимости продукции …………………………………….….35
- Основные положения калькулирования себестоимости продукции. Принципы учета затрат………………………………………………………………………...35
- Состав затрат, включаемых в калькуляционные статьи………………………...35
- Особенности планирования, учета и калькулирования себестоимости продукции по отдельным статьям затрат……………………………………...…37
- Сырье, материалы, отходы производства, топливо и энергия на технологические цели……………………………………………………..37
- Оплата труда производственного персонала, страховые взносы……………………………………………….……………………...39
- Расчет амортизационных отчислений по группам основных фондов.…39
- Общепроизводственные расходы…………………………………………41
- Расходы на подготовку и освоение производства……………………….44
- Потери от брака…………………………………………………………….45
- Попутная (побочная) продукция………………………………………….45
- Изменение остатков незавершенного производства на начало и конец периода………………………………………………………………….…45
- Общехозяйственные расходы…………………………………………….45
- Расходы на продажу………………………………………………………46
- Плановая калькуляция себестоимости продукции……………………………. 47
- Расчет сметной стоимости строительства электросталеплавильного цеха…….….49
- Расчет потребности в оборотных средствах…………………………………….49
- Расчет сметной стоимости строительства ……………………………………....50
- Расчёт прибыли и показателей рентабельности ………………………………........52
- Формирование и использование прибыли……………………………………....52
- Расчет прибыли от реализации продукции……………………………....52
- Расчет чистой прибыли………………………………………………...….53
- Расчет показателей рентабельности……………………………………………...53
- Формирование и использование прибыли……………………………………....52
- Оценка эффективности проекта и срока возврата кредита методом «поток наличности»…………………………………………………………………………....56
6.1.Экономические показатели, используемые для оценки эффективности инвестиционных проектов………………………………………………………….....56
6.2. Методика оценки эффективности проекта ……………………………………...57
- Определение минимально возможного объема сбыта продукции и оценка финансовой устойчивости проекта…………………………………………………...60
- Расчет точки безубыточности………………………………………………...…..60
- Показатели финансовой устойчивости………………………………………......61
- Основные технико-экономические показатели проектируемого цеха……………..64
Заключение…………………………………………………………………………………..….68
Литература……………………………………………………………………………………..69
Введение
Металлургическое предприятие представляет собой комплекс производственных цехов, связанных между собой для последовательной переработки сырья, материалов и полуфабрикатов в готовую продукцию. Производственная структура металлургического предприятия при некоторой доле условности выглядит следующим образом:
Рис. 1. Производственная структура металлургического предприятия
Цех представляет собой крупное металлургическое подразделение, имеющее свое управление (начальник цеха). Объект управления производственный участок.
ЭСПЦ состоит из двух отделений: электропечного и отделения непрерывной разливки стали. Электропечное отделение состоит из трех основных пролетов: шихтового, электропечного и разливочного.
В электропечном пролете установлены печи ДСП. Печи оборудованы водоохлаждаемыми панелями и сводом. В данном пролете имеются мостовые краны разной грузоподъемности. В разливочном пролете производится разливка части выплавляемой в цехе стали в изложницы.
Все шлакообразующие материалы и ферросплавы доставляются в бункерный пролет в контейнерах автотранспортом и с помощью автоматической системы дозирования и подачи сыпучих материалов распределяются по точкам загрузки. Ферросплавы загружаются в мульды, просушиваются в сушильных печах и с помощью мульдозавалочной машины присаживаются в электропечь. Заправочные материалы выдаются в бункера заправочных машин. Кроме того, известь и кокс подаются в заправочные корзины. Металлический лом доставляется в шихтовый пролет железнодорожным транспортом в коробах и с помощью крана перегружается в заправочные корзины. Затем тележка с загрузочной корзиной взвешивается на платформенных весах и передается в печной пролет для загрузки электропечей. В шихтовом пролете имеются мостовые электрокраны.
Отделение непрерывной разливки стали состоит из 4 основных пролетов: раздаточного, непрерывной разливки стали, замедленного охлаждения заготовок и отгрузочного. В раздаточном пролете установлены установки для продувки стали аргоном. В торце пролета размещается машина для набивки футеровки сталеразливочных ковшей. В пролете имеются литейные краны. В пролете непрерывной разливки стали установлены машины непрерывного литья заготовок.
В отгрузочном пролете проводится резка заготовок на мерные длины на машинах газовой резки, маркировка заготовок и их отгрузка на автослябовозах на склад слитков ЦПС или в сортопрокатный цех. Пролет оборудован мостовыми кранами.
Преимущества электроплавки по сравнению с другими способами сталеплавильного производства связаны с использованием для нагрева металла электрической энергии. Выделение тепла в электропечах происходит либо в нагреваемом металле, либо в непосредственной близи от его поверхности. Это позволяет в сравнительно небольшом объеме сконцентрировать значительную мощность и нагревать металл с большой скоростью до высоких температур, вводить в печь большие количества легирующих добавок; иметь в печи восстановительную атмосферу и безокислительные шлаки, что предполагает малый угар легирующих элементов; плавно и точно регулировать температуру металла; более полно, чем других печах, раскислять металл, получая его с низким содержанием неметаллических включений; получать сталь с низким содержанием серы. Расход тепла и изменение температуры металла при электроплавке относительно легко поддаются контролю и регулированию, что очень важно при автоматизации производства.
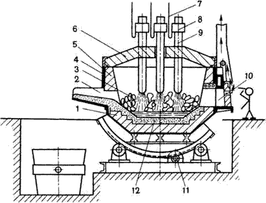
Дуговая сталеплавильная печь (ДСП) состоит из рабочего пространства (собственно печи) с электродами и токоподводами, механизмов, обеспечивающих наклон печи, удержание и перемещение электродов, а также отвод свода для загрузки шихты. Как правило, ДСП имеет индивидуальное электроснабжение через печной трансформатор, подключенный к высоковольтной линии. Мощность трансформатора на больших печах достигает 180 МВА, первичное напряжение 6-35 кВ, на высоко мощных печах до 110 кВ, вторичное 50-300В, а в современных печах до 1200 В.
Плавку стали ведут в рабочем пространстве, ограниченном сверху куполообразным сводом 6, снизу сферическим подом 12 и с боков стенками 5. Огнеупорная кладка пода и стен снаружи заключена в металлический кожух 4. Съёмный свод может быть набран из огнеупорных кирпичей 1, опирающихся на опорное кольцо, а может быть из водоохлаждаемых панелей, как и стенки. Через три симметрично расположенных в своде отверстия в рабочее пространство введены токопроводящие электроды 9, закреплённые в электрододержателях 8, к которым подводится электрический ток по кабелям 7. Между электродом и металлической шихтой 3 возникает электрическая дуга. В стенке корпуса рабочее окно 10 (для слива шлака, загрузки ферросплавов, взятия проб) закрыто при плавке заслонкой. Готовую сталь выпускают через сливное отверстие со сливным желобом 2. Печь опирается на секторы и имеет привод 11 для наклона в сторону рабочего окна или желоба. Печь загружают при снятом своде.
В обозначении дуговой сталеплавильной печи как правило присутствует её ёмкость в тоннах (например, ДСП-12). Диапазон печей варьируется от 1 до 400 тонн. Температура в ДСП может достигать 1800 °С.

В дуговых печах выплавляют высококачественные углеродистые стали конструкционные, инструментальные, жаростойкие и жаропрочные.
После выпуска плавки осуществляется обязательная предварительная 2-3-х минутная продувка стали на установках продувки стали азотом (УПСА) через верхнюю погружаемую футерованную фурму либо через донную пористую фурму, после чего отбираются две ковшевые пробы стали и проба шлака.
Обработка металла азотом производится с расходом газа 45-60 м3/ч и давлением 6-8 атм., обеспечивающим интенсивное перемешивание металла по всему объему ковша. Длительность продувки составляет не менее 5 минут.
При разливке металла в изложницы выдержка металла в ковше от окончания выпуска до начала разливки не превышает 40 минут.
Краткая характеристика МНЛЗ: четырехручьевая УНРС радиального типа, сечение отливаемых слитков 300*330 мм, радиус МНЛЗ 12 м, емкость промежуточного ковша (промковш) 25,5 т, максимальная скорость вытягивания 1,5 м/мин, частота качания кристаллизатора 20-150 колебаний/мин, мерные длины заготовок при порезке на МНЛЗ в потоке 3,4-6 м.
Разливка металла на МНЛЗ может производится одиночными плавками или сериями из двух и более плавок.
Температура металла в новом промковше перед установкой его на ППС МНЛЗ должна быть на 10-15С выше верхнего предела для разливаемой марки стали.
Перед началом разливки производится проверка фактической готовности МНЛЗ к работе, наличия аварийных емкостей и шлаковен, наличие инструментов и материалов. За 15 мин до начала разливки проверяется наличие обслуживающего персонала на рабочих местах и дается команда на сборку гидро- и электросхемы, проверку давления воды, природного газа, кислорода и азота (аргона), работы ножниц, охлаждения оборудования, установку механизмов в исходное положение. Операторами проверяется отсутствие в опасных зонах УНРС людей, производится открытие заслонок контейнеров изотопных излучателей системы автоматического поддержания уровня металла в кристаллизаторе.
При окончании разливки плавки закрывается шиберное устройство сталеразливочного ковша. Поворотом подъемно-поворотного стенда ковш переедается в раздаточный пролет для кантовки шлака и дальнейшей обработки. Скорость разливки плавно снижается до 0.3-0.4 м/мин. и заканчивается разливка из промковша.
Раскрой непрерывного слитка производится в соответствии с заказами в зависимости от того, на каком стане будет проходить дальнейшая обработка заготовки. Длины заготовок установлены следующие: 1820 мм; 1900мм; 1950 мм. Порезанные на МНЛЗ заготовки маркируются и передаются в термообрубное отделение. В термообрубном отделении заготовки охлаждаются до температуры окружающей среды; производится отбраковка заготовок. В случае поступления заготовок нестандартной длины производится их резка на заготовки требуемой длины.
Исходные данные для выполнения работы
Производительность цеха определяется по формуле:

Для варианта №2 и группы №1 производительность будет следующая:
т
Таблица 1. Исходные данные
|
Наименование показателя |
Значение показателя |
|
1. Режим работы проектируемого объекта |
непрерывный |
|
2. Количество смен, шт. - для основных рабочих - для вспомогательных рабочих |
3 2 |
|
3. Продолжительность смены, час. - для основных рабочих - для вспомогательных рабочих |
8 12 |
|
4. Удельная производительность электросталеплавильной печи, т/час |
10 |
|
5. Горячие простои в сталеплавильных цехах, в процентах от номинального фонда времени |
8 |
|
6. Цена электродуговой сталеплавильной печи, млн. руб./шт. |
20 |
Таблица 2. Периодичность проведения и продолжительность ремонтов
|
Время работы между ремонтами (периодичность проведения ремонта), сутки |
Время простоя в ремонте (продолжительность ремонта), часы |
||||
|
Т1 |
Т2 |
К |
Т1 |
Т2 |
К |
|
54 |
108 |
1080 |
26 |
100 |
400 |
Таблица 3. Время нахождения оборотных средств на различных стадиях кругооборота
(в среднем за год)
|
Время нахождения оборотных средств, дни |
Время оборота кредиторской задолженности, дни |
|||
|
В производственных запасах, полуфабрикатах собственного изготовления и готовой продукции на складе |
В незавершенном производстве и расходах будущих периодов |
В дебиторской задолженности |
В денежных средствах в кассе предприятия и на расчетном счете в банке |
|
|
72 |
18 |
48 |
5 |
42 |
Основная часть
- Расчет производственной программы проектируемого цеха
1.1. Определение основного технологического оборудования
Количество основного технологического оборудования электросталеплавильного цеха рассчитывается, исходя из заданной производственной мощности (производственной программы) предприятия (цеха, участка) и фактического времени работы оборудования по следующей формуле (в качестве примера основного технологического оборудования приняты электрические дуговые печи):
где N количество электросталеплавильных печей, шт.;
Руд. удельная производительность электросталеплавильной печи, Руд = 10 т/ч
-часовая производительность электросталеплавильного цеха, т/ч
Для расчета количества основного технологического оборудования необходимо определить фактический фонд времени работы оборудования:
Тфакт = Тном - Тпростоев
где Тфакт - фактическое время, ч/год;
Тном - номинальное время, ч/год;
Тпростоев - время технологических остановок (слив шлака, выпуск штейна и др.), осуществляемых в рабочее время, ч/год.
Горячие простои в сталеплавильных цехах при нормальных условиях эксплуатации оборудования составляют 6…9 % от номинального времени. В расчетах, время технических остановок (простоев) задается согласно нормативам.
Тном = Ткал - Тремонтов
Тремонтов - время остановок на планово-предупредительные ремонты, ч/год;
Ткал - годовой календарный фонд времени1,ч/год.
Время остановок на планово-предупредительные ремонты рассчитывается по графику планово-предупредительных ремонтов.
Время остановок на планово-предупредительные ремонты рассчитывается по графику планово-предупредительных ремонтов.
1.2. Определение структуры ремонтного цикла, расчет количества ремонтов и их продолжительности
Среднегодовые простои в ремонтах рассчитываются по следующей формуле:
|
(1.4) |
где , , время простоя в ремонтах Т1, Т2, Т3, соответственно, час.;
Т1, Т2, Т3, К количество текущих (Т1, Т2, Т3) и капитальных (К) ремонтов за ремонтный цикл, шт.;
ремонтный цикл (время между двумя очередными капитальными ремонтами), лет.
Структура ремонтного цикла это фактическое количество ремонтов всех видов за ремонтный цикл. В расширенном виде она показывает не только количество, но и последовательность ремонтов.
|
Или в развернутом виде: |
К - Т1 - Т1 - Т2 - Т1 - Т1 К Ремонтный цикл |
(1.5) |
Количество капитальных и текущих ремонтов в течении ремонтного цикла рассчитывается по формулам:
|
(1.6) |
|
|
(1.7) |
|
|
(1.8) |
где и время работы, оборудования между текущими ремонтами Т2 и Т1, час.
При расчете ремонтов год принимается равным 360 дням.
Определим структуру ремонтного цикла и среднегодовые простои в ремонтах, если продолжительность ремонтного цикла составляет 3 года, ремонт Т1 производится через 54 суток, Т2 через 108 суток, К через 1080 суток, а длительности ремонтов следующие: t1 - 26 часов; t2 100 часов; К 400 часов.
Решение:
Определим теоретическое количество ремонтов за 3 года:
L1 = 360 · 3 / 54 = 20,
L2 = 360 · 3 / 108 = 10,
К = 360 · 3 / 1080 = 1.
Получаем следующую структуру ремонтного цикла:
(20 9 1) Т1 + (10 1) Т2 + К или 10 Т1 + 9 Т2 + К
Среднегодовые простои в Тпр = (10 · 26 + 9· 100 + 1 · 400) / 3 года = 520 ч.
Теперь мы можем рассчитать Тном. и Тфакт.:
Тном. = 8760 520 = 8240 ч.
Тфакт. = 8240 (0,08 · 8240) = 7581 ч.
Удельная производительность электросталеплавильной печи:
Т.о, необходимое количество технологического оборудования электросталеплавильного цеха равно:
Степень использования производственной мощности предприятия характеризуется коэффициентом использования мощности :

среднегодовая производственная мощность, т/год. Это мощность, которой будет располагать предприятие, цех, участок в среднем за год. В расчетах примем среднегодовую производственную мощность, равной мощности на начало года:

Тогда:
Таблица 1.2.1.Характеристика основного технологического оборудования
|
Вид оборудования |
Удельная часовая производительность, т |
Годовой фактический фонд рабочего времени, ч |
Оптовая цена, млн. руб. |
Количество электрических дуговых печей, шт |
|
Электрическая дуговая печь |
10 |
7581 |
20 |
2 |
1.3. Определение капитальных затрат на строительство объекта и стоимости его основных фондов
При определении общей сметной стоимости проектируемого объекта общий объем капитальных вложений складывается из следующих затрат:
,
где прямые капитальные вложения на создание основных промышленных фондов;
затраты на образование оборотных средств;
дополнительные капитальные вложения в цеха обслуживающие основное производство;
прочие капитальные затраты.
Величина капитальных вложений на создание основных фондов () определяется по следующей формуле:
где капитальные вложения в здания (цеха, склады, служебные помещения, котельные, депо, гаражи и др.);
капитальные вложения в сооружения (шахтные стволы, бункера, эстакады, канатные, транспортные, железные и шоссейные дороги, дамбы, мосты, водохранилища и др.);
капитальные вложения в передаточные устройства (линии электропередач, паро-, воздухо- и газопроводы вне зданий, трубопроводы и т.д.).
капитальные вложения в рабочие машины и оборудование (скреперы, экскаваторы, драги, подъемные машины, дробилки, агломерационные машины и флотационные машины, шахтные, отражательные и электропечи, конвертеры, прокатные станы, краны, лебедки, резервуары и т.д.);
капитальные вложения в силовые машины и оборудование (турбины, генераторы, электромоторы и т.д.);
капитальные вложения в измерительные и регулирующие приборы и устройства (различные приборы для измерения температуры, массы, давления, регулирующие и контролирующие устройства, лабораторные приборы и т.д.);
капитальные вложения в вычислительную технику (компьютеры и т.п. оборудование);
капитальные вложения в транспортные средства (вагонетки, электровозы, автомобили, вагоны, электрокары, шлаковозы и т.п.);
капитальные вложения в инструмент, производственный (тросы, контейнеры, ковши и др.) и хозяйственный (предметы конторского и хозяйственного обзаведения, предметы пожарного назначения и др.) инвентарь и принадлежности;
- капитальные вложения в прочие основные средства (оборудование телефонных станций, пожарные машины и лестницы, кондиционеры воздуха, медицинское оборудование, насосы и другие основные средства (в том числе непроизводственного назначения).
Стоимость технологических машин и оборудования рассчитывается по формуле
=20*2=40 млн. руб.
где стоимость i-го вида технологического оборудования, руб.;
цена единицы оборудования, руб.;
- количество i-го оборудования в цехе, шт.
Дополнительно в стоимость оборудования включаются:
а) затраты на прочие машины и оборудование, не учтенные в составе основного технологического оборудования, составляющие обычно 2-5 %. В расчетах принимается 5%;
б) транспортные и заготовительно-складские расходы, связанные с приобретением оборудованием, составляющие 20-30 % от стоимости оборудования. В расчетах принимается 24 %;
в) строительно-монтажные работы, составляющие в среднем 70-80 % от общего объема капвложений, из которых 70-80 % приходится на строительные и 20-30 % на монтажные работы. В расчетах принимается соответственно 76, 75 и 25 %.
Результаты расчетов представлены в Таблице 1.3.1.
Таблица 1.3.1 Сметная стоимость рабочих машин и оборудования
|
Наименование оборудования и его краткая характеристика |
Количество |
Стоимость оборудования (млн. руб.) |
|
|
единицы |
общая |
||
|
1.Электрическая дуговая печь |
2 |
20 |
40 |
|
Итого |
40*1,1=44 |
||
|
Прочее оборудование (5% от стоимости) |
44*0,05=2,2 |
||
|
Итого стоимость основного технологического оборудования |
44+2,2=46,2 |
||
|
Транспортные, заготовительные складские расходы (24% от стоимости основного технологического оборудования) |
46,2*0,24=11,088 |
||
|
Итого |
46,2+11,088=57,288 |
||
|
Строительно-монтажные работы (76% от стоимости основного технологического оборудования) |
46,2*0,76=35,112 |
||
|
в том числе: |
|||
|
строительные работы (75%) |
35,112*0,75=26,334 |
||
|
монтажные работы (25%) |
35,112*0,25=8,778 |
||
|
Итого стоимость основного технологического оборудования (Кр.м.о.) |
57,288+35,112=92,4 |
Аналогичным образом определяем затраты на “Силовые машины и оборудование”, “Подъемнотранспортные средства” и другие виды оборудования.
Суммируя рассчитанные затраты, определяют общий объем прямых капитальных вложений в создание основных фондов ().
В расчетном примере объем прямых капиталовложений рассчитывается, исходя из заданной структуры основных фондов рассматриваемого производства (Таблица 1.3.2).
Таблица 1.3.2.Структура основных производственных фондов проектируемого объекта
|
Группы основных фондов |
Структура ОФ электросталеплавильного цеха, % |
Примечание |
|
1.Здания |
32,1 |
|
|
2.Сооружения |
5,2 |
|
|
3.Передаточные устройства |
7,9 |
|
|
4.Рабочие машины и оборудование |
46,2 |
|
|
5.Силовые машины и оборудование |
1,8 |
|
|
6.Измерительные и регулирующие приборы и устройства |
1,3 |
К и. р.п. |
|
7.Вычислительная техника |
2,1 |
|
|
8.Транспортные средства |
2,2 |
|
|
9.Инструмент, производственный и хозяйственный инвентарь и принадлежности |
0,9 |
|
|
10.Прочие основные средства |
0,3 |
|
|
Всего |
100 |
Определение размера капиталовложений в различные группы основных фондов с использованием данных Таблицы 6.3 производится по формуле
где стоимость определенной i-ой группы основных фондов, млн. руб.;
стоимость “Рабочих машин и оборудования” (по результатам расчета);
удельный вес “Рабочих машин и оборудования” в структуре фондов, %;
удельный вес i-ой группы фондов в структуре основных фондов, %.
Результаты расчета сметной стоимости ОПФ представлены в Таблице 1.3.3.
Таблица 1.3.3. Сметная стоимость ОПФ электросталеплавильного цеха
|
Группы основных фондов |
Стоимость основных фондов, млн. руб. |
Структура основных фондов, % |
|
1.Здания |
64,2 |
32,1 |
|
2.Сооружения |
10,4 |
5,2 |
|
3.Передаточные устройства |
15,8 |
7,9 |
|
Итого: пассивная часть ОФ |
90,4 |
45,2 |
|
4. Рабочие машины и оборудование |
92,4 |
46,2 |
|
5.Силовые машины и оборудование |
3,6 |
1,8 |
|
6.Измерительные и регулирующие приборы и устройства |
2,6 |
1,3 |
|
7.Вычислительная техника |
4,2 |
2,1 |
|
8.Транспортные средства |
4,4 |
2,2 |
|
9.Инструменты, производственный и хозяйственный инвентарь и принадлежности |
1,8 |
0,9 |
|
10.Прочие основные средства |
0,6 |
0,3 |
|
Итого: активная часть ОФ |
109,6 |
54,8 |
|
Всего: стоимость ОФ |
200 |
100 |
Величина капитальных вложений на создание ОПФ =200 млн.руб.
2. Расчет численности и заработной платы
2.1. Основные положения организации оплаты труда и начисления заработной платы
Заработная плата вознаграждение за труд в зависимости от квалификации работника, сложности, количества, качества и условий выполняемой работы, а также выплаты компенсационного и стимулирующего характера (Ст.129 Трудового кодекса РФ).
Оплата труда система отношений, связанных с обеспечением установления и осуществления работодателем выплат работникам за их труд в соответствии с законами, иными нормативными правовыми актами, коллективными договорами, соглашениями, локальными нормативными актами и трудовыми договорами (Ст. 129 ТК РФ).
2.1.1. Организация оплаты труда
Рабочим называется время, в течение которого работник в соответствии с правилами внутреннего распорядка и условиями трудового договора должен исполнять трудовые обязанности, а также иные периоды времени (Ст. 91 ТК РФ).
В рабочее время включаются периоды выполнения основных и подготовительно заключительных мероприятий: подготовка рабочего места, получение нарядов, получение и подготовка материалов, инструментов, уборка рабочего места по окончании работы и т.п.
Действующим законодательством определена нормальная продолжительность рабочего времени. Оно не может превышать 40 часов в неделю (а для вредных производств 36 ч в неделю).
Режим рабочего времени порядок распределения установленной продолжительности рабочего времени и времени отдыха в течение учетного периода (Ст. 100 ТК РФ). Учетный период может быть равен неделе, месяцу, кварталу или любому другому периоду, но не должен быть больше одного года.
На каждом предприятии режим рабочего времени зависит от характера производства, нормы рабочего времени, условий деятельности организации и т.п.
Статьей 100 ТК РФ определены два основных режима рабочего времени. Это или пятидневная рабочая неделя с двумя выходными или шестидневная рабочая неделя с одним выходным.
В случаях, когда длительность производственного процесса превышает допустимую продолжительность ежедневной работы, а также в целях более эффективного использования оборудования, увеличения объема выпускаемой продукции или оказываемых услуг, вводится сменная работа. Согласно статье 103 ТК РФ, сменная работа это работа в две, три или четыре смены.
При работе предприятия в несколько смен составляются сменные графики выходов. В качестве примера рассмотрен типовой график выходов для непрерывного производства при работе в три восьмичасовые смены с длительностью цикла2 16 дней.
Таблица 2.1.1.1 Типовой четырехбригадный график выходов3 при работе в три восьмичасовые смены (цикл графика 16 дней)
|
Смены, (час.) |
Даты месяца |
||||||||||||||||||||||||||||||
|
1 |
2 |
3 |
4 |
5 |
6 |
7 |
8 |
9 |
10 |
11 |
12 |
13 |
14 |
15 |
16 |
17 |
18 |
19 |
20 |
21 |
22 |
23 |
24 |
25 |
26 |
27 |
28 |
29 |
30 |
31 |
|
|
I (0-8) |
А |
А |
А |
А |
Б |
Б |
Б |
Б |
В |
В |
В |
В |
Г |
Г |
Г |
Г |
А |
А |
А |
А |
Б |
Б |
Б |
Б |
В |
В |
В |
В |
Г |
Г |
Г |
|
II (8-16) |
В |
Г |
Г |
Г |
Г |
А |
А |
А |
А |
Б |
Б |
Б |
Б |
В |
В |
В |
В |
Г |
Г |
Г |
Г |
А |
А |
А |
А |
Б |
Б |
Б |
Б |
В |
В |
|
III (16-0) |
Б |
Б |
В |
В |
В |
В |
Г |
Г |
Г |
Г |
А |
А |
А |
А |
Б |
Б |
Б |
Б |
В |
В |
В |
В |
Г |
Г |
Г |
Г |
А |
А |
А |
А |
Б |
|
Отдых |
Г |
В |
Б |
Б |
А |
Г |
В |
В |
Б |
А |
Г |
Г |
В |
Б |
А |
А |
Г |
В |
Б |
Б |
А |
Г |
В |
В |
Б |
А |
Г |
Г |
В |
Б |
А |
Таблица 2.1.1.2. Четырехбригадный график выходов при работе в две двенадцатичасовые смены (цикл графика 4 дня)
|
Смены, (час.) |
Даты месяца |
||||||||||||||||||||||||||||||
|
1 |
2 |
3 |
4 |
5 |
6 |
7 |
8 |
9 |
10 |
11 |
12 |
13 |
14 |
15 |
16 |
17 |
18 |
19 |
20 |
21 |
22 |
23 |
24 |
25 |
26 |
27 |
28 |
29 |
30 |
31 |
|
|
I (8-20) |
А |
Б |
В |
Г |
А |
Б |
В |
Г |
А |
Б |
В |
Г |
А |
Б |
В |
Г |
А |
Б |
В |
Г |
А |
Б |
В |
Г |
А |
Б |
В |
Г |
А |
Б |
В |
|
II (20-8) |
Г |
А |
Б |
В |
Г |
А |
Б |
В |
Г |
А |
Б |
В |
Г |
А |
Б |
В |
Г |
А |
Б |
В |
Г |
А |
Б |
В |
Г |
А |
Б |
В |
Г |
А |
Б |
|
Отдых |
Б, В |
В, Г |
А, Г |
А, Б |
Б, В |
В, Г |
А, Г |
А, Б |
Б, В |
В, Г |
А, Г |
А, Б |
Б, В |
В, Г |
А, Г |
А, Б |
Б, В |
В, Г |
А, Г |
А, Б |
Б, В |
В, Г |
А, Г |
А, Б |
Б, В |
В, Г |
А, Г |
А, Б |
Б, В |
В, Г |
А, Г |
На предприятиях (металлургии) графики выходов также используются и для определения отработанного времени и расчета заработной платы работников.
2.1.2. Начисление заработной платы
В настоящее время широкое применение в хозяйственной деятельности организаций нашли повременная, сдельная системы оплаты труда и оплата труда на основе должностных окладов.
Системы оплаты труда фирмы устанавливают самостоятельно. Помимо указанных выше, могут быть предусмотрены и иные системы оплаты труда (например, безтарифные).
При повременной (тарифной) оплате труда заработок работника определяется исходя из фактически отработанного им времени и тарифной ставки (оклада). Под тарифной ставкой понимается размер вознаграждения за труд определенной сложности, произведенный в единицы времени (час, день, месяц):
,
где заработная плата по тарифу, руб.
часовая (дневная) тарифная ставка, руб./час (руб./день);
отработанное время, час (дни).
Согласно статье 129 ТК РФ, тарифная система оплаты труда это совокупность нормативов, позволяющих дифференцировать заработную плату работников различных категорий.
Тарифная сетка совокупность тарифных разрядов (профессий, должностей) определенных в зависимости от сложности работ и квалификационных характеристик работников с помощью тарифных коэффициентов.
При сдельной оплате труда заработок начисляется работнику по конечным результатам его труда, что стимулирует работников к повышению производительности труда. Кроме того, при такой системе оплаты труда отпадает необходимость контроля целесообразности использования работниками рабочего времени, поскольку каждый работник, как и работодатель, заинтересован в производстве большего количества продукции.
В основу расчета при сдельной оплате труда берется сдельная расценка, которая представляет собой размер вознаграждения, подлежащего выплате работнику за изготовление им единицы продукции или выполнение определенной операции.
,
где сдельный заработок, руб.
сдельная расценка, руб./шт.
фактический выпуск, шт.
Оплата труда руководителей, специалистов и служащих производится на основе должностных окладов, которые устанавливаются администрацией предприятия (организации) в соответствии с должностью и квалификацией работника.
Численность цехового персонала определяется на основе штатного расписания, отражающего профессионально-квалификационную структуру служащих предприятия. Штатное расписание это документ, ежегодно утверждаемый руководителем предприятия и представляющий собой перечень сгруппированных по отделам и службам должностей служащих с указанием разряда и должностного оклада.
2.1.3. Выплаты за работу в условиях, отклоняющихся от нормальных. Доплаты за сверхурочную работу
Статьей 97 ТК РФ установлено, что работа за пределами нормальной продолжительности рабочего времени может производиться как по инициативе работника (совместительство), так и по инициативе работодателя (сверхурочная работа).
В любом случае считается, что сотрудник работает сверхурочно, если продолжительность его работы выше нормальной продолжительности рабочего времени, то есть, как правило, более 40 часов в неделю (а для вредных более 36 часов в неделю).
Сверхурочные работы не должны превышать для каждого работника четырех часов в течение двух дней подряд и 120 часов в год.
Сверхурочная работа подлежит оплате в повышенном размере (статья 152 ТК РФ):
- сдельщикам первые два часа не менее, чем по полуторным сдельным расценкам, последующие часы не менее чем по двойным сдельным расценкам;
- работникам, труд которых оплачивается по дневным и часовым тарифным ставкам, - в размере полуторной часовой ставки за первые два часа и двойной часовой ставки за последующие часы (если более высокие размеры оплаты не установлены трудовым или коллективным договором, соглашением, локальными нормативными актами работодателя);
- работникам, получающим месячный оклад, - в размере полуторной часовой ставки сверх оклада за первые два часа и двойной часовой ставки за последующие часы (если более высокие размеры оплаты не установлены трудовым или коллективным договором, соглашением, локальными нормативными актами работодателя).
При оплате сверхурочных работ работникам, труд которых оплачивается по дневным (сменным) тарифным ставкам или которые получают месячный оклад, необходимо рассчитать часовую тарифную ставку.
Часовая ставка работника, труд которого оплачивается по дневным тарифным ставкам, определяется путем деления дневной тарифной ставки на количество часов ежедневной работы (смены).
Плата за работу в ночное время. Статьей 96 Трудового кодекса РФ ночным определено время с 22 до 6 часов.
Каждый час работы в ночное время оплачивается в повышенном размере по сравнению с работой в нормальных условиях (в курсовой работе за работу в ночное время рабочий получает доплату в размере 40 % за каждый час работы ночью).
Оплата труда в выходные и праздники. Труд в выходные и нерабочие праздничные дни оплачивается в повышенном размере.
В соответствии со статьей 153 ТК РФ работа в выходной и нерабочий праздничный день оплачивается не менее, чем в двойном размере:
- сдельщикам не менее чем по двойным сдельным расценкам;
- работникам, труд которых оплачивается по дневным или часовым ставкам, - в размере не менее двойной дневной или часовой ставки;
- работникам, получающим месячный оклад, - в размере не менее одинарной дневной или часовой ставки сверх оклада, если работа в выходной и нерабочий праздничный день производилась в пределах месячной нормы рабочего времени, и в размере не менее двойной часовой или дневной ставки сверх оклада, если работа производилась сверх месячной нормы.
В курсовой работе за работу в праздничные дни рабочий получает доплату в размере 100 % за каждый час работы.
Оплата брака и простоев. Производственным браком считается продукция, изготовленная работником с нарушением или отклонением от условий ее изготовления, установленных (определенных) работодателем.
Полный брак по вине работника оплате не подлежит, частичный брак по вине работника оплачивается по пониженным расценкам в зависимости от степени годности продукции (Ст. 156 ТК РФ).
В том случае, если бракованная продукция была изготовлена по вине работодателя, брак подлежит оплате наравне с годными изделиями.
Простой является частным случаем производственной необходимости, который дает работодателю право временно переводить работников на не обусловленную трудовым договором работу.
Если на время простоя работодатель перевел работника на другую работу, то оплата труда последнего производится по выполненной работе, но не ниже среднего заработка по прежней работе.
Размер оплаты времени простоя зависит от наличия или отсутствия вины сторон трудового договора.
Время простоя по вине работника не оплачивается.
Время простоя по вине работодателя оплачивается в размере не менее 2/3 среднего заработка работника, а время простоя по причинам, не зависящим от работника и работодателя, оплачивается в размере 2/3 тарифной ставки (оклада).
2.2. Основные положения расчета численности и фонда заработной платы работников
Расчет численности и фонда заработной платы производится отдельно по следующим группам трудящихся:
1. основные производственные рабочие это рабочие основных производственных цехов (электролизных) непосредственно участвующие в технологическом процессе. К ним относятся рабочие, исполняющие технологические и связанные с ними транспортные операции, как-то: погрузку и доставку сырья, материалов и топлива к агрегатам, загрузку их в агрегаты, управление агрегатами и контроль их работы, выпуск и транспортировку продукции от агрегатов внутри цеха;
2. вспомогательные рабочие, обеспечивающие нормальную работу основных рабочих. К ним относятся:
а) рабочие по обслуживанию оборудования и транспортных средств (наладчики, смазчики, дежурные слесари, дежурные электрослесари и др.);
б) рабочие занятые текущим ремонтом оборудования и транспортных средств (слесари, газосварщики, электрики, токари и др.);
3. цеховой персонал, занятый управлением и обслуживанием производства. К нему относятся инженерно-технические работники (ИТР), служащие, младший обслуживающий персонал (МОП), некоторые группы вспомогательных рабочих (кладовщики, рабочие складов, контролеры и т.п.) занятые обслуживанием объектов общецехового назначения.
Затраты на оплату труда финансируются из различных фондов:
- оплата по тарифу, различные виды доплат, премии, отпуска финансируются из средств предприятия (фирмы);
- оплата невыходов по болезни оплачивается из фондов обязательного медицинского страхования (ОМС);
- оплата невыходов, предусмотренных законодательством (времени выполнения государственных и общественных обязанностей)4 производится работнику государственным органом или общественным объединением, которые привлекли работника к исполнению государственных или общественных обязанностей, в размере, определенном законом, иным нормативным правовым актом либо решением соответствующего общественного объединения (ст. 170 ТК РФ).
При калькулировании себестоимости продукции затраты на оплату труда работников учитываются следующим образом: заработная плата основных производственных рабочих включается в Калькуляцию себестоимости самостоятельной статьей “Расходы на оплату труда производственного персонала подразделения”, заработная плата вспомогательных рабочих, цехового и другого персонала предприятия включается в другие статьи Калькуляции себестоимости, поэтому расчет численности и фонда заработной платы следует вести отдельно по каждой из перечисленных групп работников.
2.3. Расчет численности и фонда заработной платы рабочих
Сменный штат рассчитывается либо через показатель трудоемкости выполнения работ, либо по нормам обслуживания, установленным для различных видов оборудования. В данной курсовой работе сменный штат для основных и вспомогательных рабочих рассчитывается, исходя из нормативов численности (Нч), представляющих собой численность рабочих в смену, необходимую для выполнения всего объема работ, связанного с обслуживанием одного агрегата:
где Шсм - сменный штат (количество рабочих в смену), чел.
N количество оборудования, шт.
Штатная численность в сутки рассчитывается по формуле:
где С количество бригад;
Шсут.- штатная численность в сутки, чел.
Списочная численность определяется по формуле:
где Чсп списочная численность рабочих, чел.;
Крез коэффициент резерва;
Шсут- штатная численность в сутки, чел.
Коэффициент резерва (Крез) рассчитывается на основании данных баланса рабочего времени одного среднесписочного рабочего и определяется по формуле:
где Тном номинальный фонд времени одного среднесписочного рабочего, дни;
Тфакт фактическое время работы одного среднесписочного рабочего, дни.
Используя исходные данные рассчитывается плановый годовой баланс рабочего времени одного среднесписочного рабочего. Результаты расчетов приведены в Таблице 2.3.1.
Таблица 2.3.1. Годовой плановый баланс рабочего времени одного среднесписочного рабочего, дни
|
Наименование |
Непрерывный режим работы |
Прерывный режим работы |
|
|
8 часовая смена |
12 часовая смена |
8 часовая смена |
|
|
Продолжительность рабочей недели |
4 дня |
2 дня |
5 дней |
|
1. Календарное время, дни |
365 |
365 |
365 |
|
2. Выходные дни по графику выходов |
91 |
183 |
104 |
|
3. Праздничные дни |
- |
- |
12 |
|
4. Номинальный фонд времени работы ((1)-(2)-(3)), дни |
274 |
182 |
249 |
|
5. Невыходы на работу, дни |
38 |
36 |
36 |
|
в том числе по причине: |
|||
|
- отпуск (очередной) |
28 |
28 |
28 |
|
- отпуска учащимся |
1 |
1 |
1 |
|
- отпуск по беременности и родам |
2 |
1 |
1 |
|
- временная нетрудоспособность (болезни) |
5 |
4 |
4 |
|
- неявки предусмотренные законом |
1 |
1 |
1 |
|
- неявки с разрешением администрации |
1 |
1 |
1 |
|
6. Фактическое время одного рабочего ((4)-(5)), дни |
236 |
146 |
213 |
|
7. Время работы одного рабочего, час |
236*8=1888 |
146*12=1752 |
213*8=1704 |
|
8.Коэффициент резерва |
274/236=1,161 |
182/146=1,247 |
249/213=1,169 |
Восьмичасовая смена при непрерывном графике работы для основных рабочих, двенадцатичасовая смена при непрерывном графике работы для вспомогательных рабочих, восьмичасовой рабочий день с прерывным графиком работы для цехового персонала.
Исходя из фактического времени работы рабочего, а также нормативов численности рабочих, рассчитывается списочное число рабочих. Результаты определения численности рабочих с разбивкой по профессиям и группам приведены в Таблице 2.3.2.
Таблица 2.3.2. Нормативы численности рабочих, занятых в металлургическом производстве
|
№ пп |
Наименование профессии |
Показатель, на который устанавливается норматив численности |
Норматив численности, чел |
Примечание |
||
|
в расчетах принять |
Разряд и система оплаты5 |
Ставка руб./ час |
||||
|
1. |
Основные рабочие |
|||||
|
1.1 |
Сталевар электродуговой печи |
1 электродуговая печь |
2 |
1 чел.-6 разр. |
6 СП |
100 |
|
1 чел.-5 разр. |
5 СП |
90 |
||||
|
1.2 |
Подручный сталевара электродуговой печи |
1 электродуговая печь |
2 |
1 чел.-5 разр. |
5 СП |
90 |
|
1 чел.-4 разр. |
4 СП |
80 |
||||
|
1.3 |
Разливщик стали |
1 электродуговая печь |
1 |
все 5 разр. |
5 СП |
90 |
|
1.4. |
Подготовитель сталеразливочных канав |
1 электродуговая печь |
2 |
все 4 разр. |
4 СП |
80 |
|
1.5. |
Огнеупорщик |
1 электродуговая печь |
1 |
все 4 разр. |
4 ПС |
80 |
|
1.3 |
Крановщик (машинист крана) |
1 электродуговая печь |
1 |
все 4 разр. |
4 ПС |
80 |
|
2. |
Вспомогательные рабочие |
|||||
|
2.1 |
Слесарь по ремонту оборудования (дежурный) |
2 электродуговые печи |
1 |
все 5 разр. |
5 ПП |
90 |
|
2.2 |
Слесарь по ремонту оборудования (ремонтный) |
1 электродуговая печь |
3 |
1 чел.-6 разр. |
6 ПП |
100 |
|
2 чел.-5 разр. |
5 ПП |
90 |
Методика расчета планового фонда заработной платы.
- Графы 3, 4. Данные берутся из Таблицы 2.3.2.
- Графа 5. Рассчитывается по нормативам численности.
- Графа 7. Принимается по результатам расчета Таблицы 2.3.1.
- Графа 8. Списочная численность представляет собой количество рабочих, необходимое предприятию для выполнения производственной программы с учетом режима работы предприятия и планируемых выходов на работу. Рассчитывается умножением штатной (суточной) численности на коэффициент резерва (Крез.).
- Графа 9. Данные берутся из Таблицы 2.3.1.
- Графы 10,11. Затраты рабочего времени на программу определяют умножением времени работы одного среднесписочного рабочего на списочное число рабочих:
или с учетом продолжительности смены (Тсм):
- Графа 12. Данные берутся из исходных данных (Таблица 5).
- Графа 13. Тарифный фонд определяют умножением тарифной ставки на планируемое число человеко-часов (гр.11 х гр.12).
- Графа 14. Приработок сдельщика определяет умножением тарифного фонда на планируемый процент перевыполнения норм выработки. В расчетах принимается 2 % (гр. 13 х 0,02).
Тарифный фонд и приработок в сумме составляют сдельный заработок рабочего.
- Графа 15. Плановый фонд заработной платы подразумевает стопроцентное выполнение плановых показателей. В расчетах процент премии за стопроцентное выполнение плана принимается 15 % от сдельного заработка ((гр.13 + гр.14)0,15).
- Графа 16. Доплата за работу в праздники при планировании составляет от сдельного заработка для сдельщиков и от тарифного заработка для повременщиков (гр. 13 0,0329). Где 12 число дней праздников в году, 100 % - доплата за каждый час работы в праздничные дни.
- Графа 17. При планировании, доплату за работу в ночное время определяют в процентах от тарифного фонда: 1/3 · 0,4 · 100% = 13,33% (гр. 13 0,1333); Где: 1/3 часть ночных часов при круглосуточной работе, 40 % - доплата за каждый час работы ночью.
- Графа 18. Определяют суммированием значений граф 13, 14, 15, 16, 17.
14. Графа 19. Определяют умножением графы 18 на значение районного коэффициента, принимаемого в расчетах равным 1,15 (гр.181,15).
15. Графа.20. Определяют делением планового годового фонда заработанной платы (гр. 19) на 12 (число месяцев в году) и на списочную численность рабочих (гр. 8).
Таблица 2.3.3.
Расчет планового фонда оплаты труда
|
№ п/п |
Наименование профессии |
Система оплаты труда |
Плановое число рабочих |
Время работы одного среднесписочного рабочего, час. |
Затраты времени на программу |
Тарифная ставка, руб. |
Тарифный фонд, руб. |
Приработок сдельщика, руб. |
Премии, руб. |
Доплата за работу в праздничные дни, руб. |
Доплата за работу в ночь, руб. |
Всего годовой фонд заработной платы, руб. |
Годовой фонд заработной платы с учетом районного коэффициента, руб. |
Среднемесячная заработная плата одного рабочего, руб. |
|||||
|
Разряд |
Сменный штат (в смену), чел. |
штатная численность (в сутки), чел. |
Коэффициент резерва |
Списочная численность рабочих, чел. |
чел.-см, чел*см |
чел.-час,чел*час |
|||||||||||||
|
1 |
2 |
3 |
4 |
5 |
6 |
7 |
8 |
9 |
10 |
11 |
12 |
13 |
14 |
15 |
16 |
17 |
18 |
19 |
20 |
|
1 |
Основные рабочие |
||||||||||||||||||
|
1.1 |
Сталевар электродуговой печи |
сп |
6 |
2 |
8 |
1,161 |
9 |
1888 |
2124 |
16992 |
100 |
1699200 |
33984 |
259977,6 |
55903,7 |
226503,4 |
2275568,7 |
2616904 |
24 230,59 |
|
1.1 |
Сталевар электродуговой печи |
сп |
5 |
2 |
8 |
1,161 |
9 |
1888 |
2124 |
16992 |
90 |
1529280 |
30585,6 |
233979,8 |
50313,3 |
203853 |
2048011,7 |
2355213,5 |
21 807,53 |
|
1.2 |
Подручный сталевара электродуговой печи |
сп |
5 |
2 |
8 |
1,161 |
9 |
1888 |
2124 |
16992 |
90 |
1529280 |
30585,6 |
233979,8 |
50313,3 |
203853 |
2048011,7 |
2355213,5 |
21 807,53 |
|
1.2 |
Подручный сталевара электродуговой печи |
сп |
4 |
2 |
8 |
1,161 |
9 |
1888 |
2124 |
16992 |
80 |
1359360 |
27187,2 |
207982,1 |
44722,9 |
181202,7 |
1820454,9 |
2093523,1 |
19 384,47 |
|
1.3 |
Разливщик стали |
сп |
5 |
2 |
8 |
1,161 |
9 |
1888 |
2124 |
16992 |
90 |
1529280 |
30585,6 |
233979,8 |
50313,3 |
203853 |
2048011,7 |
2355213,5 |
21 807,53 |
|
1.4 |
Подготовитель сталеразливочных канав |
сп |
4 |
4 |
16 |
1,161 |
19 |
1888 |
4484 |
35872 |
80 |
2869760 |
57395,2 |
439073,3 |
94415,1 |
382539 |
3843182,6 |
4419659,9 |
19 384,47 |
|
1.5 |
Огнеупорщик |
пс |
4 |
2 |
8 |
1,161 |
9 |
1888 |
2124 |
16992 |
80 |
1359360 |
27187,2 |
44722,9 |
181202,7 |
1612472,8 |
1854343,7 |
17 169,85 |
|
|
1.6 |
Крановщик (машинист крана) |
пс |
4 |
2 |
8 |
1,161 |
9 |
1888 |
2124 |
16992 |
80 |
1359360 |
27187,2 |
44722,9 |
181202,7 |
1612472,8 |
1854343,7 |
17 169,85 |
|
|
Итого основных рабочих |
82 |
13 234 880 |
264 697,6 |
1 608 972,4 |
435 427,4 |
1 764 209,5 |
17 308 186,9 |
19 904 414,9 |
|||||||||||
|
2. |
Вспомогательные рабочие |
||||||||||||||||||
|
2.1 |
Слесарь (дежурный) |
пп |
5 |
2 |
8 |
1,247 |
10 |
1 752 |
1 460 |
17 520 |
90 |
1 576 800 |
51876,72 |
210187,44 |
1838864,16 |
2 114 693,78 |
17 622,45 |
||
|
Итого по обслуживанию оборудования |
10 |
|
1 576 800 |
51 876,72 |
210 187,44 |
1838864,16 |
2 114 693,78 |
||||||||||||
|
2.2 |
Слесарь (ремонтный) |
пп |
6 |
2 |
8 |
1,247 |
10 |
1 752 |
1460 |
17520 |
100 |
1752000 |
57640,8 |
233541,6 |
2043182,4 |
2349659,8 |
19 580,5 |
||
|
2.2 |
Слесарь (ремонтный) |
пп |
5 |
4 |
16 |
1,247 |
20 |
1 752 |
2920 |
35040 |
90 |
3153600 |
103753,4 |
420374,9 |
3677728,3 |
4229387,5 |
17 622,45 |
||
|
Итого по текущему ремонту оборудования |
30 |
4 905 600 |
161 394,2 |
653 916,5 |
5 720 910,7 |
6 579 047,3 |
|||||||||||||
|
Итого вспомогательных рабочих |
40 |
6 482 400 |
213 270,92 |
864 103,94 |
7 559 774, 86 |
8 693 741,08 |
|||||||||||||
|
Всего |
122 |
19 717 280 |
264 697,6 |
1 608 972,4 |
648 698,32 |
2 628 313,44 |
2 4867 961,8 |
28 598 155,98 |
2.4. Расчет численности и фонда заработной платы цехового персонала
Оплата труда руководителей, специалистов и служащих (РСС) осуществляется на основе месячных должностных окладов и персональных надбавок или надбавок за вредность. Премирование ИТР и служащих осуществляется из фонда материального поощрения (ФМП). В связи с этим премии из фонда материального поощрения в общий фонд заработанной платы не включают, но учитывают при определении средней заработной платы.
Используя данные штатного расписания, рассчитывается фонд заработной платы цехового персонала. Результаты расчетов приведены в Таблице 2.4.1.
Таблица 2.4.1 Расчет численности и фонда заработной платы цехового персонала
|
Наименование должностей |
Категория работника |
Кол-во |
Должност-ной оклад, тыс.руб. |
Годовой фонд заработной платы, тыс.руб. |
Премия из ФМП, тыс.руб. |
Фонд заработной платы с премий из ФМП, тыс.руб. |
|
1 |
2 |
3 |
4 |
5 |
6 |
7 |
|
Управленческий персонал |
||||||
|
1.Начальник цеха |
Руководитель |
1 |
12,5 |
150 |
60 |
210 |
|
2.Заместитель начальника цеха |
Руководитель |
1 |
12 |
144 |
57,6 |
201,6 |
|
3.Заместитель начальника цеха по оборудованию и подготовке производства |
Руководитель |
1 |
12 |
144 |
57,6 |
201,6 |
|
4.Старший механик |
Руководитель |
1 |
11 |
132 |
52,8 |
184,8 |
|
5.Старший электрик |
Руководитель |
1 |
11 |
132 |
52,8 |
184,8 |
|
Итого управленческого персонала: |
5 |
702 |
280,8 |
982,8 |
||
|
Планово-технологическое бюро |
||||||
|
6.Экономист |
Специалист |
1 |
6 |
72 |
28,8 |
100,8 |
|
7.Старший технолог по электросталепл. пр-ву |
Специалист |
1 |
8,5 |
102 |
40,8 |
142,8 |
|
Итого ПТБ: |
|
2 |
174 |
69,6 |
243,6 |
|
|
Бюро охраны труда |
||||||
|
8. Инструктор по кадрам |
Служащий |
1 |
5 |
60 |
24 |
84 |
|
Итого бюро охраны труда: |
|
1 |
60 |
24 |
84 |
|
1 |
2 |
3 |
4 |
5 |
6 |
7 |
|
Основные производственные участки |
||||||
|
9.Старший мастер основного производственного участка |
Руководитель |
4 |
10,5 |
504 |
302,4 |
806,4 |
|
10.Мастер основного производственного участка по электродному хозяйству |
Руководитель |
4 |
9,5 |
456 |
273,6 |
729,6 |
|
11. Мастер основного производственного участка по электросталеплавильному производству |
Руководитель |
20 |
9,5 |
2280 |
1368 |
3648 |
|
12.Механик |
Специалист |
1 |
8,5 |
102 |
61,2 |
163,2 |
|
Итого ОПУ: |
29 |
3342 |
2005,2 |
5347,2 |
||
|
Участок подготовки производства |
||||||
|
13.Уборщик санузлов и производственных помещений |
Рабочий |
2 |
4 |
96 |
19,2 |
115,2 |
|
14.Кладовщик |
Рабочий |
1 |
4 |
48 |
9,6 |
57,6 |
|
15.Подсобные рабочие |
Рабочий |
1 |
4 |
48 |
9,6 |
57,6 |
|
Итого УПП: |
4 |
192 |
38,4 |
230,4 |
||
|
Всего цеховой персонал: |
41 |
4470 |
2418 |
6888 |
Таким образом, фонд заработной платы цехового персонала равен 6 888 тыс. руб.
3. Калькулирование себестоимости продукции
Расчет себестоимости продукции выполняется по статьям затрат с учетом влияющих на них факторов.
3.1. Основные положения калькулирования себестоимости продукции. Принципы учета затрат
Себестоимость продукции стоимостная оценка используемых в процессе производства природных ресурсов, сырья, материалов, топлива, энергии, основных средств и трудовых ресурсов, а также других затрат на производство и реализацию продукции.
Калькулирование исчисление себестоимости конкретных видов или групп продукции.
Калькулирование является заключительным этапом планирования себестоимости продукции и определения фактической себестоимости.
Калькулирование служит базой установления цен, инструментом управления затратами, а также средством планирования и анализа финансовых результатов.
Себестоимость продукции на алюминиевых предприятиях планируется, учитывается и калькулируется отдельно по каждому виду продукции и цеху, в котором вырабатывается данная продукция.
Калькулирование включает определение себестоимости всего выпуска отдельных видов продукции и в расчете на учетную единицу отдельного вида продукции. Для учета затрат на производство продукции и составления плановых и отчетных калькуляций по основному производству рекомендуется следующая номенклатура статей расходов.
3.2. Состав затрат , включаемых в калькуляционные статьи
Для составления плановых калькуляций себестоимости рекомендуется следующая номенклатура статей расходов.
I. Заданное:
- сырье, основные материалы и полуфабрикаты собственного производства;
- покупные полуфабрикаты, комплектующие изделия и услуги производственного характера сторонних предприятий, организаций;
- отходы (включая угар) (-);
- брак (по цене использования) (-);
ИТОГО: задано за вычетом отходов и брака.
II. Расходы по переделу:
- вспомогательные материалы;
- топливо на технологические цели;
- энергия (всех видов) на технологические цели;
- расходы на оплату труда производственного персонала подразделения;
- страховые взносы;
- общепроизводственные расходы, в том числе:
а) амортизация основных средств;
б) расходы на ремонт и содержание основных средств;
в) расходы по внутризаводскому перемещению грузов;
г) прочие расходы подразделения;
ИТОГО: расходы по переделу
Расходы на подготовку и освоение производства
Потери от брака
Попутная продукция (-)
ИТОГО себестоимость по подразделению (цеховая) (I + II + III + IV + V)
VI . Изменение остатков незавершенного производства
на начало учетного периода (+)
на конец учетного периода (-);
VII. Общехозяйственные расходы
ИТОГО: Производственная себестоимость готовой продукции
в том числе все потери от брака
VIII. Готовая продукция, отпущенная на собственные производственные
цели (-);
IX. Изменение остатков готовой продукции
на начало учетного периода (+)
на конец учетного периода (-);
ИТОГО: производственная себестоимость товарной продукции, отгруженной (реализуемой) в учетном периоде.
X. Расходы на продажу товарной продукции, реализуемой в учетном периоде.
ИТОГО: полная себестоимость товарной продукции, отгруженной (реализуемой) в учетном периоде.
Различают цеховую, производственную и полную себестоимость продукции.
Цеховая себестоимость (или себестоимость по подразделению) отражает все затраты цеха на производство продукции.
Производственная себестоимость отражает затраты предприятия на производство продукции.
Полная себестоимость отражает затраты предприятия на производство и реализацию продукции.
3.3 Особенности планирования, учета и калькулирования себестоимости продукции по отдельным статьям затрат
3.3.1. Сырье, материалы, отходы производства, топливо и энергия на технологические цели
Статья «Затраты на сырье, основные материалы и полуфабрикаты собственного производства», отражает стоимость материалов, которые входят в состав вырабатываемой продукции, образуя её основу, или являются необходимым компонентом при изготовлении продукции ( чугун, ферросплавы и т.п.).
Статья «Покупные полуфабрикаты, комплектующие изделия и услуги производственного характера сторонних организаций» включает стоимость комплектующих изделий и полуфабрикатов, подвергающихся в дальнейшем монтажу или дополнительной обработке на данном предприятии, а также стоимость соответствующих работ и услуг, выполняемых сторонними организациями.
К работам и услугам производственного характера может относятся: выполнение отдельных операций по производству (изготовлению) продукции, выполнение работ, оказание услуг по обработке сырья и материалов, контроль за соблюдением установленных технологических процессов, техническое обслуживание основных средств и другие подобные работы, которые могут быть прямо отнесены в затраты на производство отдельных видов продукции. В остальной части работы и услуги производственного характера, выполняемые сторонними организациями, относятся на другие статьи затрат в зависимости от характера работ и услуг.
По статье «Вспомогательные материалы на технологические цели» учитывается стоимость материалов, используемых для обеспечения технологического процесса и для упаковки продукции (если упаковка продукции производится до ее отправки на склад готовой продукции, либо минуя его).
Статьи: «Топливо на технологические цели» и «Энергия на технологические цели» учитывают стоимость топлива, покупной и вырабатываемой самим предприятием энергии всех видов (электрической, тепловой, сжатого воздуха, холода, прочей), расходуемых на производственные нужды. При этом учитываются также затраты на трансформацию и передачу покупной энергии до мест ее потребления.
Топливо и энергия, расходуемые на отопление и другие хозяйственные нужды предприятия, отражаются в статье «Прочие расходы подразделения».
Стоимость материальных ресурсов формируется, исходя из цен их приобретения (без учета налога на добавленную стоимость, налога с продаж), наценок (надбавок), комиссионных вознаграждений, уплачиваемых посредническим организациям, ввозных таможенных пошлин и сборов, расходов по транспортировке, хранению и иных затрат, связанных с их приобретением.
По статье «Отходы» учитывается стоимость возвратных (оборотных) отходов.
Возвратными (оборотными) отходами являются остатки сырья (материалов), полуфабрикатов, теплоносителей и других видов материальных ресурсов, образовавшиеся в процессе производства продукции, частично утратившие потребительские качества исходных ресурсов и используемые или не используемые по прямому назначению.
Стоимость возвратных отходов в калькуляции цеха (передела) изготовителя обращается в уменьшение затрат на сырье и материалы, в калькуляции цеха-потребителя возвратных отходов - их стоимость учитывается как стоимость сырья или материалов.
К оборотным относятся отходы, получаемые и потребляемые внутри цеха (передела, производства).
Оборотные отходы подлежат отражению в калькуляции лишь в части изменения их остатков в производстве на начало и конец отчетного периода, при этом потребленные отходы в количествах, равных полученным, как внутренний оборот, исключаются. Увеличение остатка отходов на конец отчетного периода относительно остатка на его начало показывается в калькуляции по статье «Отходы» (со знаком минус), уменьшение остатка отходов на конец отчетного периода относительно остатка на его начало показывается в калькуляции по статье «Сырье, основные материалы и полуфабрикаты» (со знаком плюс).
Угаром считаются потери железа или других элементов, входящих вы перерабатываемый материал, вследствие выноса мелких их частиц отходящими газами, ухода в шлак и т.п.
В отчетных калькуляциях величина угара определяется как разность между весом заданного сырья, основных материалов, полуфабрикатов и весом продукции, брака, отходов.
По статье «Брак (по цене использования)» учитывается стоимость забракованной продукции по цене ее возможного использования. В плановых калькуляциях эта позиция не планируется (не заполняется).
Расчеты затрат на сырье, материалы, топливо и энергию представлены в Таблице 3.3.1.1.
Таблица 3.1.1.1. Расчёт затрат на сырьё, материалы, топливо и энергию в производстве электростали
|
Статьи затрат |
Единица измер. |
Цена руб./ед. |
Затраты на годовой выпуск продукции |
Затраты на 1 т электростали |
||
|
Кол-во |
Сумма, тыс. руб. |
Кол-во |
Сумма, руб./т |
|||
|
1 |
2 |
3 |
4 |
5 |
6 |
7 |
|
1.Сырьё, основные материалы и полуфабрикаты: |
||||||
|
лом |
т |
1 888 |
152 111 |
287 185,5 |
0,9788 |
1 847,97 |
|
чугун |
т |
3 146 |
28 299 |
89 028,7 |
0,1821 |
572,9 |
|
ферросплавы |
т |
5 631 |
8 189,9 |
46 112,3 |
0,0527 |
296,8 |
|
Итого сырья, основных материалов и полуфабрикатов |
322 326,5 |
1,2136 |
2 717,67 |
|||
|
2.Отходы |
||||||
|
обрезь технологическая |
т |
647 |
4 056 |
2 624,3 |
0,0261 |
16,9 |
|
скрап |
т |
323 |
1 399 |
451,8 |
0,009 |
2,9 |
|
угар |
т |
|
20 513 |
0,132 |
||
|
брак |
т |
717 |
7 226 |
5 181,3 |
0,0465 |
33,3 |
|
Итого отходов |
8 257,4 |
0,2136 |
53,1 |
|||
|
Итого задано за вычетом отходов и брака |
312 068,6 |
1 |
2664,57 |
|||
|
3.Добавочные материалы |
т |
|
|
8 386,80 |
48,2 |
|
|
Расходы по переделу |
||||||
|
4.Топливо: |
||||||
|
природный газ |
тыс. м3 |
786 |
3 885 |
3 053,7 |
0,025 |
19,7 |
|
доменный газ |
тыс. м3 |
42 |
8 936 |
375,31 |
0,0575 |
2,4 |
|
Итого топлива |
3 429 |
0,0825 |
22,1 |
|||
|
5. Электроды |
т |
98 345 |
1 010 |
99 342 |
0,0065 |
639,2 |
|
6. Энергетические затраты: |
||||||
|
электроэнергия |
тыс. кВт·ч |
2 |
75 371 |
150,7 |
0,485 |
0,97 |
|
пар |
Гкал |
47 |
2 486 |
116,9 |
0,016 |
0,8 |
|
вода оборотная |
тыс. м3 |
262 |
6 372 |
1 669,4 |
0,041 |
10,7 |
|
сжатый воздух |
тыс. м3 |
131 |
23 404 |
3 065,9 |
0,1506 |
19,7 |
|
аргон |
м3 |
2,5 |
153 930 |
384,8 |
0,9905 |
2,5 |
|
кислород |
тыс. м3 |
576 |
10 148 |
5 845,2 |
0,0653 |
37,6 |
|
Итого энергетических затрат |
11 233 |
|
72,27 |
|||
|
Всего затрат |
326 731 |
3398,14 |
3.3.2.Оплата труда производственного персонала, страховые взносы
В статье «Расходы на оплату труда производственного персонала» отражаются затраты на оплату труда производственного персонала подразделения. Затраты на оплату труда персонала, занятого организацией производства и управлением предприятием в целом, учитываются в составе общехозяйственных расходов.
В состав затрат на оплату труда включаются любые начисления работникам в денежной и (или) натуральной формах, стимулирующие доплаты и надбавки, компенсационные начисления, связанные с режимом работы или условиями труда, премии и единовременные поощрительные начисления (выплаты), а также расходы, связанные с содержанием этих работников, предусмотренные трудовыми договорами (контрактами).
В курсовом проекте расходы на оплату труда производственного персонала принимаются по результатам расчета Таблицы 2.3.3, п.1
По статье "Страховые взносы" отражаются налоговые платежи, зачисляемый в Федеральный бюджет (Пенсионные Фонд РФ) и государственные внебюджетные фонды - Фонд социального страхования РФ и фонды обязательного медицинского страхования РФ. Ставки платежа и порядок расчёта его сумм установлены Налоговым кодексом в процентах от затрат на оплату работникам.
Расходы на оплату труда работников, обслуживающих производство (цеховой ремонтный персонал и т.п.) и управленческого персонала цеха, а также соответствующие налоги (отчисления, платежи) от сумм оплаты труда учитываются по статье «Общепроизводственные расходы».
3.3.3. Расчет амортизационных отчислений по группам основных фондов
Годовые амортизационные отчисления рассчитываются по формуле:
где СОФ стоимость ОФ, млрд. руб.,
На норма амортизации, %.
Таблица 3.3.3.1. Годовые амортизационные отчисления
|
Группы основных фондов |
Ст-ть ОФ, млн.руб. |
Норма амортизации,% |
Годовые аморт. отчисления, млн. руб. |
|
1.Здания |
64,2 |
2 |
1,284 |
|
2.Сооружения |
10,4 |
2,5 |
0,26 |
|
3.Передаточный устройства |
15,8 |
3,5 |
0,553 |
|
4.Рабочие машины и оборудование |
92,4 |
6,3 |
5,8212 |
|
5.Силовые машины и оборудование |
3,6 |
10 |
0,36 |
|
6.Измерительные и регулирующие приборы и устройства |
2,6 |
8,2 |
0,2132 |
|
7.Вычислительная техника |
4,2 |
10 |
0,42 |
|
8.Транспортные средства |
4,4 |
5 |
0,22 |
|
9.Инструмент, производственный и хозяйственный инвентарь и принадлежности |
1,8 |
7,4 |
0,1332 |
|
10.Прочие ОС |
0,6 |
4 |
0,024 |
|
Итого |
200 |
9,2886 |
3.3.4. Общепроизводственные расходы
Статья «Общепроизводственные расходы» учитывает затраты по обслуживанию основных и вспомогательных производств предприятия. Она отражает затраты на содержание и эксплуатацию машин и оборудования; амортизационные отчисления и затраты на ремонт основных средств и иного имущества, используемого в производстве; расходы по страхованию имущества; затраты на отопление, освещение и содержание цеховых помещений; арендную плату (лизинговые платежи) за помещения, машины, оборудование и др., используемые в производстве; расходы на оплату труда и страховые взносы на работников, занятых обслуживанием производства, и управленческого персонала; другие аналогичные по назначению затраты.
В этой статье отдельно выделяются позиции «Амортизация основных средств», «Расходы на ремонт и содержание основных средств», «Расходы по внутризаводскому перемещению грузов» и «Прочие расходы подразделения».
По позиции «Амортизация основных средств» отражается сумма амортизационных отчислений, исчисляемая исходя из стоимости используемого в производстве имущества, принадлежности к амортизационным группам и установленных предприятием сроков полезного использования.
Позиция «Расходы на ремонт и содержание основных средств» обобщает затраты на все виды ремонтов машин, оборудования, транспортных средств и иных основных фондов (текущий, капитальный), а также расходы на содержание основных средств, поддержание (техническое обслуживание) производственного оборудования и других производственных фондов в работоспособном состоянии в период между ремонтами.
К текущим ремонтам относятся работы по исправлению или замене износившихся деталей и узлов оборудования, а также элементов конструкций печей и других агрегатов, производимые во время остановки агрегата или оборудования (в нерабочие дни и смены, в специальные дни, согласно плану, во время остановок между производственными циклами или из-за повреждений), и осуществляемые с периодичностью до одного года. Ремонты, осуществляемые с периодичностью свыше года, считаются капитальными.
Сумма расходов на ремонт формируется с учетом группировки всех осуществленных расходов, включая стоимость запасных частей и расходных материалов, используемых для ремонта, расходов на оплату труда работников, осуществляющих ремонт и прочих расходов, связанных с выполнением ремонта собственными силами, а также с учетом затрат по оплате работ, выполненных привлеченными сторонними организациями.
Позиция «Расходы по внутризаводскому перемещению грузов» включает расходы по перевозке продукции и отходов по внутризаводским путям, а также расходы по другим перевозкам, производимым для цехов предприятия железнодорожным, автомобильным и другими видами транспорта.
По позиции «Прочие расходы подразделения» учитываются затраты по обслуживанию производства, неучтенные ни в одной из вышеуказанных статей затрат, в частности по охране труда и технике безопасности в цехах, другим производственным расходам подразделения.
Таблица 3.3.4.1. Общепроизводственные расходы
|
Статьи расходов |
Сумма расходов за год млн.руб. |
Методика расчёта |
|
1.Амортизация основных средств |
9,2886 |
Принимается по результатам расчёта Таблицы 3.3.3.1, как сумма годовых амортизационных отчислений по всем группам основных фондов |
|
2.Содержание и эксплуатация производственного оборудования, машин, агрегатов |
||
|
а)затраты по смазке и обтирке машин, станков ит.п. |
0,3288 |
Принимается в размере 0,3% от суммарной стоимости активной части основных фондов (Таблица 1.3.3) |
|
б)стоимость услуг цеха контрольно-измерительных приборов и автоматики по снятию показаний измерительных приборов и первичной обработке этих показателей |
0,4384 |
Принимается в размере 0,4% от суммарной стоимости активной части основных фондов (Таблица 1.3.3) |
|
в)затраты на оплату труда рабочих, обслуживающих производственное оборудование, машин, агрегаты; |
28,598 |
Принимаются по результатам расчёта Таблицы 2.3.3(графа 19) |
|
г)страховые взносы; |
9,12 |
Рассчитывается как процент от статьи 2в. (31,9%) |
|
д) стоимость услуг сторонних организаций, а также собственных подразделений, связанных с содержанием и эксплуатацией оборудования; |
0,3288 |
Принимается в размере 0,3% от суммарной стоимости активной части основных фондов (Таблица 1.3.3) |
|
е)затраты на работы по повышению надежности и возможности дальнейшей эксплуатации металлоконструкций, кранов и другого оборудования |
0,2192 |
Принимается в размере 0,2% от суммарной стоимости активной части основных фондов (Таблица 1.3.3) |
|
3.Содержание зданий, сооружений и инвентаря: |
||
|
а)затраты на электроэнергию для освещения цехов и относящихся к нему площадей |
0,452 |
Принимается в размере 0,5% от суммарной стоимости пассивной части основных фондов (Таблица 1.3.3) |
|
б)стоимость топлива, пара и воды, израсходованных для отопления зданий цехов и относящихся к нему помещений |
0,6328 |
Принимается в размере 0,7% от суммарной стоимости пассивной части основных фондов (Таблица 1.3.3) |
|
в)затраты по содержанию электросети, отопительной сети, систем водоснабжения канализации; |
0,2712 |
Принимается в размере 0,3% от суммарной стоимости пассивной части основных фондов (Таблица 1.3.3) |
|
г)затраты по содержанию помещений и прилегающих территорий в чистоте; |
0,1808 |
Принимается в размере 0,2% от суммарной стоимости пассивной части основных фондов (Таблица 1.3.3) |
|
д)затраты на оплату труда и страховые взносы на рабочих, занятых на различных хозяйственных работах. |
11,32 |
Принимается в размере 30% от затрат на оплату труда рабочих (с учётом страховых взносов), обслуживающих производственное оборудование, машины, агрегаты (сумма п. 2в, 2г) |
|
4.Ремонт имущества производственного назначения: |
||
|
а)стоимость запасных частей, деталей и узлов, материалов и т.п., расходуемых в ходе проведения ремонтов; |
10,22 |
10% от стоимости силовых и рабочих машин и оборудования, транспортных средств, инструмента, производственного и хозяйственного инвентаря и принадлежностей (Таблица 1.3.3) |
|
б)затраты на оплату труда ремонтных рабочих; |
6,579 |
Принимаются по результатам расчёта Таблицы 2.3.3(п 2.2 графа 19) |
|
в) соц. отчисления; |
2,0987 |
Рассчитывается как процент от статьи 4б. (31,9%) |
|
г)стоимость услуг ремонтных цехов и других вспомогательных производств, а также стоимость работ, выполненных сторонними организациями по капитальному и текущему ремонту производственного оборудования, инструментов, транспортных средств и прочего имущества. |
0,7895 |
Принимается в размере 12% от затрат на оплату труда ремонтного персонала (п.4б) |
|
5.Внутризаводское перемещение грузов |
1,7727 |
5% от суммы статей 1-4 |
|
6.Прочие расходы по цеху: |
||
|
а)затраты на оплату труда цехового персонала |
6,888 |
Принимается по результатам расчёта Таблица 2.4.1 |
|
б) соц. отчисления |
2,1973 |
Рассчитывается как процент от статьи 6а. (31,9%) |
|
в)аренда и страхование имущества производственного назначения; |
1 |
Принимаются в размере 0,5% от суммарной стоимости основных фондов (Таблица 1.3.3) |
|
г)затраты на охрану труда и технику безопасности в цехах; |
7,0972 |
Принимается в размере 20% от затрат на оплату труда рабочих и РСС |
|
д)затраты по испытаниям, опытам, исследованиям, рационализации и изобретательству в цехах; |
2,2337 |
15% от суммы предыдущих статей (п.6а-6г) |
|
е)прочие общепроизводственные затраты |
0,58 |
В расчётах принимаются в размере 3% от суммы предыдущих п.6а-6д |
|
Итого: общепроизводственные расходы |
102,63 |
Сумма статей 1-6 |
3.3.5. Расходы на подготовку и освоение производства
По статье "Расходы на подготовку и освоение производства" учитываются
- расходы на освоение новых предприятий, производств, цехов и агрегатов (пусковые расходы);
- повышенные затраты на производство новых видов продукции в период их освоения, а также при подготовке и освоении выпуска продукции, не предназначенной для серийного или массового производства;
- расходы на горно-подготовительные работы на горных предприятиях.
В курсовой работе принимаются в размере 8 % от суммы расходов на оплату труда производственного персонала подразделения (0,08*30,6005801=2,4480464 млн. руб.).
3.3.6. «Потери от брака»
Статья «Потери от брака» включается в состав фактической себестоимости продукции. В плановых калькуляциях брак не планируется. В курсовой работе затраты по данной статье принимаются равными нулю.
3.3.7. Попутная (побочная) продукция
По статье «Попутная (побочная) продукция» исключается стоимость попутной (побочной) продукции, образовавшейся в ходе технологического процесса.
В курсовой работе затраты по данной статье принимаются равными нулю.
3.3.8 Изменение остатков НЗП на начало и конец периода
По данной статье показывается общее изменение затрат на незаконченную производством продукцию за учетный период.
В курсовой работе затраты по данной статье принимаются равными 0.
3.3.9. Общехозяйственные расходы
В статье "Общехозяйственные расходы" отражаются затраты, связанные с управлением предприятием и организацией производства в целом: оплата труда аппарата управления с о страховыми отчислениями, расходы на командировки, канцелярские, почтово-телеграфные, типографические и телефонные расходы, амортизация, содержание и затраты на ремонт зданий, сооружений и инвентаря общехозяйственного назначения, расходы на подготовку кадров, налоги, сборы и отчисления, расходы на охрану предприятия и другие расходы общехозяйственного назначения.
Расчет затрат по статье «Общехозяйственные расходы» представлен в Таблице 3.3.9.
Таблица 3.3.9 Общехозяйственные расходы
|
Наименование статей затрат |
Сумма, млн. руб./год |
Методика расчёта |
|
1.Оплата труда аппарата управления |
2,7866 |
Принимается в размере 14% от планового годового фонда оплаты труда производственных рабочих (Таблица 2.3.3) |
|
2. Страховые взносы |
0,8889 |
Рассчитывается как процент от статьи 1 (31,9%) |
|
3.Затраты на командировки |
0,1838 |
Принимается в размере 5% от фонда оплаты труда аппарата управления (сумма статей 1,2) |
|
4.Представительские затраты (затраты на официальные приёмы и обслуживание представителей других организаций) |
0,0551 |
Принимается в размере 30% от затрат на командировки (статья 3) |
|
5.Услуги управленческого характера сторонних организаций(аудиторские, юридические, информационные, консультационные и т.п.услуги) |
0,1103 |
Принимается в размере 3% от ФОТ аппарата управления (сумма статей 1,2) |
|
6.Программное обеспечение |
1,26 |
Принимается в размере 20% от стоимости вычислительной техники |
|
7.Услуги связи, почты, телекоммуникации |
0,2642 |
Принимается в размере 5% от суммы статей 1-6 |
|
8.Прочие управленческие затраты |
0,4439 |
Принимается в размере 8% от суммы статей 1-7 |
|
9.Прочие общехозяйственные затраты |
0,5993 |
принимается в размере 10% от суммы статей 1-8 |
|
Итого: общехозяйственные расходы |
6,5921 |
Сумма статей |
3.3.10. Расходы на продажу
Статья «Расходы на продажу» включает затраты, связанные с реализацией продукции и представляет собой их сумму за учетный период. Затраты по статье «Расходы на продажу» представлены в Таблице 3.3.10.1.
Таблица 3.3.10.1. Расходы на продажу
|
Наименование статей затрат |
Сумма, тыс. руб./год |
Примечание |
|
1.Затраты на тару и упаковку |
0 |
В расчетах применятся равным нулю |
|
2.Затраты на погрузку и транспортировку продукции |
1 633,66 |
Принимается 0,5% от производственной себестоимости |
|
3.Затраты по организации сбыта |
980,193 |
Принимается 0,3% от производственной себестоимости |
|
4.Затраты на рекламу |
1 960,386 |
Принимается 0,6% от производственной себестоимости |
|
5.Затраты на сертификацию продукции |
1 306, 924 |
Принимается 0,4% от производственной себестоимости |
|
6.Затраты по гарантийному ремонту и гарантийному обслуживанию |
0 |
В расчетах применятся равным нулю |
|
5.Прочие затраты на продажу (сборы за таможенное оформление, экспертные пошлины и т.п.) |
705,7 |
Принимаются в размере 12% от суммы статей 1-6 |
|
Итого: расходы на продажу |
6 586,863 |
Сумма статей 1-7 |
3.4. Плановая калькуляция себестоимости продукции
Плановая калькуляция себестоимости продукции рассчитывается на основе проектируемого годового объема производства, норм расхода сырья, материалов, топлива и энергии, плановых цен, фонда заработной платы работающих, смет общепроизводственных, общехозяйственных и внепроизводственных расходов.
Калькуляция себестоимости представлена в Таблице 3.4.1.
Таблица 3.4.1.
Плановая калькуляция себестоимости производства 1 тонны электростали
|
№ п/п |
Наименование статей затрат |
На единицу продукции |
На годовой выпуск (174 358 т) |
||
|
Кол-во, т (м3 для топлива) |
Сумма, руб |
Кол-во, т (м3 для топлива) |
Сумма, тыс. руб. |
||
|
Заданное: |
|||||
|
1. |
Сырье, основные материалы и полуфабрикаты собственного производства |
1,2136 |
2 717,615 |
211 600,9 |
473 837,9 |
|
2. |
Отходы (-) |
0,2136 |
53,134 |
37 242,9 |
9 264,3 |
|
Итого задано за вычетом отходов |
1 |
2 664,481 |
174 358 |
464 573,6 |
|
|
3. |
Добавочные материалы |
48,20 |
8 404,1 |
||
|
Расходы по переделу: |
|||||
|
4. |
Вспомогательные материалы |
0,0065 |
639,243 |
1 133,3 |
111 457,1 |
|
5. |
Топливо на технологические цели |
0,0825 |
22,065 |
14 384,5 |
3 847,2 |
|
7. |
Энергия (всех видов) на технологические цели |
72,282 |
12 602,9 |
||
|
8. |
Расходы на оплату труда производственного персонала предприятия |
175,87 |
30 664,3 |
||
|
9. |
Страховые взносы (31,9%) |
56,103 |
9 782,01 |
||
|
10. |
Общепроизводственные расходы |
447,055 |
77 947,6 |
||
|
11. |
Итого расходы по переделу |
1460,818 |
|
254 705,21 |
|
|
12. |
Расходы на подготовку и освоение производства |
14,069 |
2 453,04 |
||
|
13. |
Попутная продукция (-) |
0,00 |
0,00 |
||
|
14. |
Себестоимость по подразделению (цеховая) |
1474,887 |
721 731,9 |
||
|
15. |
Изменение остатков незавершенного производства |
0,00 |
0,00 |
||
|
16. |
Общехозяйственные расходы |
52,753 |
9 197,9 |
||
|
17. |
Итого производственная себестоимость готовой продукции |
4192,121 |
730 929,8 |
||
|
18. |
Расходы на продажу |
69,477 |
12 113,9 |
||
|
19. |
Итого полная себестоимость продукции |
4261,598 |
743 043,7 |
4.Расчет сметной стоимости строительства электросталеплавильного цеха
4.1. Расчет потребности в оборотных средствах
Потребность в оборотных средствах определяется на основе данных о времени оборота оборотных средств на различных стадиях кругооборота.
Коэффициент оборачиваемости определяется по следующей формуле:
где - коэффициент оборачиваемости i ой группы оборотных средств, об./год;
- время нахождения оборотных средств на i ой стадии кругооборота, дни.
- продолжительность рассматриваемого периода, дни (360 дней).
Далее определяется сумма оборотных средств:
где РП годовой объем реализованной продукции (выручки), руб.
ОСі сумма оборотных средств на i ой стадии кругооборота, руб.
Годовой объем выручки от реализации продукции определяется по следующий формуле:
где Ц- оптовая цена единицы продукции, руб.;
В годовой объем производства в натуральном выражении.
Оптовая цена единицы продукции определяется исходя из базовой себестоимости единицы продукции и целевой рентабельности продукции, принятой равной 28%.
Ц = 4 261,6 1,28 = 5 454,85 руб./т.
РП=5 454,85 155 406 = 847 685 338 руб.
Общая потребность в оборотных средствах определяется суммированием оборотных средств, находящихся на всех стадиях кругооборота:
Результаты расчета представлены в Таблице 4.1.1.
Таблица 4.1.1 Структура оборотных средств электросталеплавильного цеха
|
Классификация ОС |
Группы ОС (стадии кругооборота) |
Время оборота ОС, дни |
Коэффициент оборачиваемости, об/год |
Сумма ОС на данной стадии кругооборота, руб. (РП/Коб) |
|
Нормируемые ОС |
Производственные запасы |
60 |
6 |
158 516 122,7 |
|
Незавершенное производство |
12 |
30 |
31 703 224,5 |
|
|
Ненормируемые ОС |
Дебиторская задолженность |
50 |
7,2 |
132 096 768,9 |
|
Денежные средства на расчётном счёте и в кассе предприятия |
8 |
45 |
21 135 483,03 |
|
|
Итого: общая потребность в оборотных средствах |
343 451 599,1 |
4.2. Расчет сметной стоимости строительства
Для определения общего объема капитальных вложений в строительство электролизного цеха необходимо просуммировать капитальные вложения:
- в основные производственные фонды электролизного цеха;
- во вспомогательные цеха и цеха обслуживающие основное производство
- для формирования оборотных средств;
- прочие (стоимость проектных и изыскательных работ, выполненных за счет капитальных вложений; расходы на содержании дирекции строящихся предприятий и технического надзора, оплату авторского надзора проектных организаций и др.).
Далее, пользуясь данными таблицы, рассчитываем общий объем КВ в строительство проектируемого объекта.
Таблица 4.2.1 Сметная стоимость строительства электросталеплавильного цеха
|
Вид затрат |
Объём КВ |
Методика расчёта |
|
|
млн. руб. |
% к итогу |
||
|
1.Капитальные вложения на создание основных производственных фондов (Ко.ф) |
200 |
28,44 |
По результатам Таблицы 1.3.3 |
|
2.Капитальное вложение во вспомогательные цехи и в цеха обслуживающие основное производство (Кобсл) |
120 |
17,06 |
Принимаются 60% от Ко.ф |
|
3.Затраты на образование оборотных средств (Ко.с) |
343,452 |
48,84 |
Принимается по результатам Таблицы 4.1.1 |
|
4.Прочие капитальные затраты и работы (Кпроч) |
39,81 |
5,66 |
6% от суммы п.1+п.2+п.3 |
|
Общий объём капитальных вложений (К) |
703,262 |
100 |
Сумма статей 1-4 |
5. Расчет прибыли и показателей рентабельности
5.1. Формирование и использование прибыли
В хозяйственной практике различают следующие виды прибыли:
- от реализации товарной продукции;
- балансовую (валовую);
- остающуюся в распоряжении предприятия (чистую).
Прибыль от реализации товарной продукции (Пр) является финансовым результатом реализации продукции и определяется как разность между стоимостью реализуемой продукции и её полной себестоимостью
где - оптовая цена единицы i-го вида продукции, руб.;
- полная себестоимость единицы i-го вида продукции, руб.;
- объем производства i-го вида продукции в натуральном выражении;
n количество видов продукции
Балансовая (валовая) прибыль помимо прибыли от реализации товарной продукции включает в себя результаты (доходы или убытки) о прочей деятельности предприятий (прочей реализации и внереализационных операций).
Чистая прибыль это часть прибыли, которая остаётся у предприятия. Она рассчитывается на основе балансовой (валовой) прибыли за вычетом всех налогов и обязательных платежей.
5.1.1. Расчёт прибыли от реализации продукции
В курсовой работе прибыль от реализации продукции (П) рассчитывается по следующей формуле:
где Ц оптовая цена продукции, руб./т;
С себестоимость единицы продукции, руб./т;
Вгод. годовой объем производства продукции в натуральном выражении.
Оптовая цена единицы продукции определяется исходя из базовой себестоимости единицы продукции и целевой рентабельности продукции, принятой равной 28%.
П=(5 454,85- 4 261,6)*174 358=208,053 млн.руб.
5.1.2. Расчёт чистой прибыли
Поскольку в курсовой работе внереализационные доходы и убытки не учитываются, чистая прибыль может быть определена как разность между прибылью от реализации продукции и величиной налогов.
Следует учесть два налога:
- налог на имущество;
- налог на прибыль (по основной ставке).
Расчет налога на имущество. Базой налогообложения является стоимость имущества (производственных фондов) предприятия.
Налог на имущество рассчитывается по следующей формуле:
где ПФ стоимость имущества (производственных фондов) предприятия, руб.
СНИ ставка налога на имущество (в долях единицы).
НИ=200*0,022=4,4млн.руб.
Расчет налога на прибыль. Объект налогообложения является прибыль. Основная ставка 20 %.
Налогооблагаемая прибыль определяется:
НП = П НИ
НП=208,053 4,4 = 203,653 млн. руб.
Таким образом, налог на прибыль будет равен:
Н = 0,2·НП
Н= 203,653 0,2= 40,731 млн. руб.
Чистая прибыль будет равна:
ЧП = П НИ Н
ЧП=208,053 4,4 40,731=162,922 млн.руб.
5.2. Расчёт показателей рентабельности
В курсовой работе рассчитаны следующие показатели:
1) рентабельность производства;
2) рентабельность продукции;
- рентабельность продаж;
1) Рентабельность производства:
где - годовая балансовая прибыль, руб.;
- годовая чистая прибыль, руб.;
ОФ стоимость основных производственных фондов, руб.;
- стоимость нормируемых оборотных средств, руб.;
2) Рентабельность продукции:
где - себестоимость годового выпуска, млн. руб.
3) Рентабельность продаж рассчитывается по следующим формулам:
Затраты на один рубль товарной продукции:
6. Оценка эффективности проекта и срока возврата кредита методом «поток наличности»
6.1. Показатели, используемые для оценки эффективности инвестиционных проектов
Оценка эффективности инвестиционных проектов производится с использованием следующих показателей:
- чистый дисконтированный доход или интегральный эффект;
- индекс доходности или индекс прибыльности;
- внутренняя норма доходности инвестиций;
- срок окупаемости инвестиций.
Чистый дисконтированный доход (ЧДД) представляет собой величину чистого дохода от реализации инвестиционного проекта за расчётный период.
ЧДД рассчитывается по формуле
где - результат (выручка), достигаемая на i-ом шаге расчёта;
- текущие затраты, осуществляемые на i-ом шаге расчёта;
- инвестиционные затраты, осуществляемые на i-ом шаге расчёта;
Т- временный период (горизонт) расчёта;
i- номер шага расчёта;
- коэффициент приведения по фактору времени
d-ставка дисконтирования6 (норматив приведения), доли ед.,
(разница лет платы за кредит);
t - год, для которого рассчитывается коэффициент приведения;
- расчётный год.
Срок окупаемости инвестиций это минимальный временной период от начала осуществления инвестиционного проекта, за пределами которого интегральный экономический эффект становится величиной положительной, т.е. период окупаемости это время от начала реализации инвестиционного проекта до момента, когда первоначальные инвестиционные владения и другие затраты, связанные с реализацией инвестиционного проекта, покрываются суммарными результатами от его осуществления.
Величина срока окупаемости определяется по формуле:
Методика расчёта коммерческой эффективности инвестиционного проекта
Определение коммерческой эффективности инвестиционного проекта состоит в определении и анализе потока и сальдо реальных денег на различные периоды его осуществления.
Приток реальных денег разность между притоком (поступлением) и оттоком (расходованием) средств от инвестиционной и операционной деятельности на рассматриваемый период осуществления инвестиционного проекта.
Сальдо реальных денег разность между притоком и оттоком денежных средств от всех трёх видов деятельности за рассматриваемый период осуществления инвестиционного проекта.
6.2 Методика оценки эффективности проекта (метод «поток наличности»)
Общая потребность в капитальных вложениях 703,262млн.руб.,
в т. ч:
- в первый год строительства 140,652 млн. руб.,
- во второй год строительства 386,794 млн. руб.,
- в третий год строительства 175,816 млн. руб.
Для финансирования капитальных вложений предполагается использовать собственные и заемные средства. Объем собственных средств 562,61 млн. руб., заемных 140,652 млн.руб.
Ставка процента по кредиту 25% годовых. Выпуск продукции начинается с 2015 года, объем производства составит 155 406 тыс. тонн в год.
Себестоимость продукции составляет 4 261,6 руб./т, цена продукции 5 454,85 руб./т, ставка рефинансирования 8,25%, все капитальные вложения осуществляются в ОПФ.
В Таблице 6.2.1 представлены коэффициенты приведения при ставке дисконтирования 8,25% (d=0,0825).
Таблица 6.2.1.
|
i |
0 |
1 |
2 |
3 |
4 |
5 |
6 |
7 |
8 |
9 |
10 |
11 |
12 |
|
i |
1,00 |
0,924 |
0,853 |
0,788 |
0,728 |
0,673 |
0,622 |
0,574 |
0,531 |
0,490 |
0,453 |
0,418 |
0,386 |
Распределим средства: определим потребность в заемных средствах (Таблица 6.2.2).
Таблица 6.2.2. Распределение капитальных вложений
|
Год |
КВ, млн. руб. |
в т. ч, млн. руб. |
Плата за кредит, млн. руб. |
|
|
собственные |
заемные |
|||
|
2012 |
140,652 |
140,652 |
- |
- |
|
2013 |
386,794 |
386,794 |
- |
- |
|
2014 |
175,816 |
35,163 |
140,652 |
140,652*0,25=35,163 |
|
Сумма |
703,262 |
562,609 |
140,652 |
- |
Годовые амортизационные отчисления по всем группам ОФ рассчитаны в Таблице 3.3.3.1 и составляют Агод =9,2886 млн. руб./год.
Исходя из величины себестоимости, цены и объема производства, рассчитаем прибыль отчетного периода (Таблица 6.2.3).
Таблица 6.2.3. Расчет балансовой прибыли
|
Показатели |
2015 год |
|
1.Годовой объём производства: |
|
|
- в натуральном выражении, млн.т. |
0,174358 |
|
- в стоимостном выражении, млрд. руб. |
0,951096736 |
|
2.Себестоимость единицы продукции, тыс. руб./т. |
4,261602 |
|
3.Полная себестоимость, млн. руб. |
760,878 |
|
4.Прибыль от реализации, млн. руб. |
208,053 |
|
5.Налог на имущество, млн. руб. |
4,4 |
|
6.Прибыль отчётного периода, млн. руб. |
203,653 |
Расчет потока наличности представлен в Таблице 6.2.4.
Таблица 6.2.4
Расчет потока наличности
|
Показатели |
2012 |
2013 |
2014 |
2015 |
2016 |
2017 |
2018 |
2019 |
2020 |
2021 |
2022 |
2023 |
2024 |
|
1.Собственные кап. вложения |
-140,652 |
-386,794 |
-35,163 |
0 |
0 |
0 |
0 |
0 |
0 |
0 |
0 |
0 |
0 |
|
2.Сумма кредита |
0 |
0 |
140,652 |
140,652 |
140,652 |
140,652 |
140,652 |
140,652 |
18,014 |
0 |
0 |
0 |
|
|
3.Прибыль отчётного периода |
0 |
0 |
0 |
203,653 |
203,653 |
203,653 |
203,653 |
203,653 |
203,653 |
203,653 |
203,653 |
203,653 |
203,653 |
|
4.Плата за кредит |
0 |
0 |
-35,163 |
-35,163 |
-35,163 |
-35,163 |
-35,163 |
-35,163 |
-9,134 |
0 |
0 |
0 |
0 |
|
5.Налогооблагаемая прибыль (п.3+п.4) |
0 |
0 |
-35,163 |
168,49 |
168,49 |
168,49 |
168,49 |
168,49 |
194,519 |
203,653 |
203,653 |
203,653 |
203,653 |
|
6.Налог на прибыль(п.5*0,2) |
0 |
0 |
0 |
-33,698 |
-33,698 |
-33,698 |
-33,698 |
-33,698 |
-38,90 |
-40,73 |
-40,73 |
-40,73 |
-40,73 |
|
7.Чистая прибыль (п.5+п.6) |
0 |
0 |
-35,163 |
134,792 |
134,792 |
134,792 |
134,792 |
134,792 |
155,619 |
162,923 |
162,923 |
162,923 |
162,923 |
|
8.Амортизационные отчисления |
0 |
0 |
0 |
9,29 |
9,29 |
9,29 |
9,29 |
9,29 |
9,29 |
9,29 |
9,29 |
9,29 |
9,29 |
|
9.Возврат кредита |
0 |
0 |
0 |
0 |
0 |
0 |
0 |
-122,638 |
-18,014 |
0 |
0 |
0 |
0 |
|
10.Текущий кассовый остаток (п.1+п.7+п.8+п.9) |
-140,652 |
-386,794 |
-70,326 |
144,082 |
144,082 |
144,082 |
144,082 |
21,444 |
146,895 |
172,213 |
172,213 |
172,213 |
172,213 |
|
11.Накопленный кассовый остаток |
-140,652 |
-527,446 |
-597,772 |
-453,69 |
-309,608 |
-165,526 |
-21,444 |
0,0000 |
146,895 |
319,108 |
491,321 |
663,534 |
835,747 |
|
12.Коэффициент приведения по фактору времени |
1,000 |
0,924 |
0,853 |
0,788 |
0,728 |
0,673 |
0,622 |
0,574 |
0,531 |
0,490 |
0,453 |
0,418 |
0,386 |
|
13.Текущий кассовый остаток с учётом коэффициента приведения по фактору времени |
-140,652 |
-357,398 |
-59,99 |
113,54 |
104,89 |
96,97 |
89,62 |
12,31 |
78,00 |
84,38 |
78,01 |
71,99 |
66,47 |
|
14.Накопленный кассовый остаток с учётом коэффициента приведения по фактору времени |
-140,652 |
-498,05 |
-558,04 |
-444,5 |
-339,61 |
-242,64 |
-153,02 |
-140,71 |
-62,71 |
21,67 |
99,68 |
171,67 |
238,14 |
Вывод (без учета фактора времени): возврат кредита, взятого в 2015 году под 25% годовых, следует начать возвращать в 2019 году. Выплата кредита произойдет за 2 года.
С учетом фактора времени, проект окупится к 2021 году.
7. Определение максимально-возможного объема сбыта продукции и оценка финансовой устойчивости проекта
7.1. Расчет точки безубыточности
Наличие постоянных затрат, не изменяющихся при изменении объема производства в данном периоде (арендная плата за площади и основные средства, коммунальные платежи, оплата услуг сторонних организаций, повременная часть заработной платы производственного персонала и т.п.), приводит к тому, что в некотором интервале изменения продаж от 0 до Вкр производство является убыточным, так как выручка от реализации меньше суммарных издержек.
Если за рассматриваемый период произведены и проданы изделия в количестве В = Вкр, то выручка от реализации равна суммарным издержкам и, следовательно, прибыль от реализации равна нулю.
Производство и продажа за рассматриваемый период изделий в количестве В > Вкор, позволяют получить прибыль, т.е. производство становится рентабельным.
Используя зависимость переменных и постоянных издержек от объема производства и приравнивая объемы выручки и суммарных затрат получим формулу для определения критического объема реализации (точки безубыточности):
где годовая сумма условно-постоянных расходов, руб.;
- цена единицы продукции, руб./т;
- переменные расходы на единицу продукции, руб./т.
Для нахождения точки безубыточности составим структуру условно-постоянных и переменных затрат (Таблица 7.1.1.).
Таблица 7.1.1. Структура условно-постоянных и переменных затрат
|
Калькуляционные статьи |
Доля затрат, % |
Сумма на ед. продукции, руб. |
Сумма на годовой выпуск (174 358 т), руб. |
|||
|
УПР |
ПР |
УПР |
ПР |
УПР |
ПР |
|
|
1. Технологическое топливо |
90 |
10 |
19,859 |
2,207 |
3 462 575,522 |
384 808 106 |
|
2. Энергетические затраты |
35 |
65 |
25,299 |
46,983 |
4 411 083,042 |
8 191 861,914 |
|
3. Материалы |
5 |
95 |
167,596 |
3 184,328 |
29 221 703,37 |
555 213 061,4 |
|
4. Оплата труда по подразделению и ЕСН |
55 |
45 |
127,585 |
104,388 |
22 454 165,43 |
18 200 882,9 |
|
5.Прочие расходы подразделения |
100 |
0 |
14,069 |
0,000 |
2 453 042,702 |
0,0 |
|
6.Общепроизводственные расходы |
95 |
5 |
424,702 |
22,353 |
74 050 191,32 |
3 897 424,374 |
|
7.Общехозяйственные расходы |
95 |
5 |
50,115 |
2,638 |
8 737 951,17 |
459 956,404 |
|
8.Расходы на продажу |
10 |
90 |
6,948 |
62,529 |
1 211 439,384 |
10 902 431,38 |
|
Итого |
836,173 |
3 425,426 |
146 002 151,9 |
981 673 724,4 |
||
|
4 261,599 |
1 127 675 876 |
График безубыточности
7.2 Показатели финансовой устойчивости
Маржинальная прибыль предприятия (маржинальный доход предприятия) это разница между выручкой и переменными издержками:
где - годовая выручка от реализации продукции, руб.;
- годовая сумма переменных расходов, руб.
Используя понятие маржинальной прибыли, определим коэффициент покрытия
Тогда критический объём продаж в стоимостном выражении (порог рентабельности) РПкор можно найти по формуле:
Зона безопасности (зона прибыли или запас финансовой прочности) это разность между фактическим количеством реализованной продукции и безубыточным объемом продаж. Чем больше зона безопасности, тем прочнее финансовое состояние предприятия.
Запас финансовой прочности в натуральном выражении показывает на сколько предприятие может снизить объём производства и реализации в натуральном выражении не выходя из зоны прибылей, и рассчитывается по формуле:
где Вгод. годовой объем производства в натуральном выражении.
Запас финансовой прочности в стоимостном выражении рассчитывается по формуле:
где РПкр. порог рентабельности, руб.
Запас финансовой прочности в процентном выражении рассчитывается по формуле:
Разная степень влияния переменных и постоянных затрат на величину прибыли при изменении объёмов производства обуславливает эффект операционного рычага. Он состоит в том, что любое изменение объёма продаж вызывает более сильное изменение прибыли. Сила воздействия операционного рычага определяется как
Таким образом, при изменении объёма продаж на 1% прибыль изменится на 1,717 %. Сила воздействия операционного рычага показывает степень предпринимательского риска: чем больше эффект рычага, тем выше риск.
Целевой уровень прибыли. Объем реализации продукции с целью получения определенной суммы прибыли рассчитывается следующим образом:
где - целевой годовой уровень прибыли, руб.
8. Основные технико-экономические показатели цеха по производству электростали
В Таблице 8.1 на основании выполненных в работе расчетов представлены основные технико-экономические показатели проектируемого цеха.
Таблица 8.1
Основные технико-экономические показатели цеха по производству электростали
|
Наименование показателей |
Единицы измерения |
Показатели проекта |
|
1 |
2 |
3 |
|
1. Показатели, характеризующие производственные фонды проектируемого объекта. |
|
|
|
1.1. Стоимость ОПФ |
млн.руб |
200 |
|
1.2. Оборотные средства |
млн.руб |
343,452 |
|
1.3. Суммарные КВ на строительство объекта |
млн.руб |
703,262 |
|
1.4. Удельные КВ (фондоемкость) |
тыс.руб/т |
4,03 |
|
2. Показатели по труду и заработной плате: |
||
|
2.1. Численность работающих |
чел. |
163 |
|
2.1.1. РСС |
чел. |
41 |
|
2.1.2. Рабочие |
чел. |
122 |
|
2.2. Среднегодовая выработка на одного работающего |
руб/чел |
4 272 067,568 |
|
2.3. Среднегодовая выработка на одного рабочего |
руб/чел |
5 239 773,481 |
|
2.4. Годовой ФОТ основных и вспомогательных рабочих |
млн.руб |
42,583 |
|
2.5. Годовой ФОТ цехового персонала |
млн.руб |
6,888 |
|
3. Показатели операционной деятельности предприятия |
||
|
3.1. Годовой объем производства в натуральном выражении |
тыс.т |
174,358 |
|
3.2. Годовой объем производства в стоимостном выражении |
млн.руб |
951,097 |
|
3.3. Полная себестоимость единицы продукции |
тыс.руб/т. |
4,2612602 |
|
3.4. Полная себестоимость годового выпуска |
млн.руб/год |
742,985 |
|
3.5. Прибыль от реализации |
млн.руб/год |
208,053 |
|
3.6. Чистая прибыль |
млн.руб/год |
162,922 |
|
4. Показатели рентабельности и эффективности производства |
||
|
4.1. Рентабельность производства по балансовой прибыли |
% |
53,32 |
|
4.2. Рентабельность производства по чистой прибыли |
% |
41,75 |
|
4.3.Рентабельность продукции по балансовой прибыли |
% |
27,34 |
|
4.4. Рентабельность продукции по чистой прибыли |
% |
21,41 |
|
4.5. Рентабельность продаж по балансовой прибыли |
% |
21,88 |
|
4.6. Рентабельность продаж по чистой прибыли |
% |
17,13 |
|
4.7. Уровень затрат на 1 рубль товарной продукции, руб. |
руб/руб |
0,8 |
|
4.8. Срок окупаемости без учета фактора времени |
лет |
7 |
|
4.9. Срок окупаемости с учетом фактора времени |
лет |
9 |
|
5. Показатели финансовой устойчивости проекта |
||
|
5.1. Критический объём реализации (точка безубыточности проекта) |
т |
71972,13 |
|
5.2. Маржинальная прибыль |
млн.руб |
313,43 |
|
5.3. Коэффициент покрытия |
0,319 |
|
|
5.4. Порог рентабельности |
млн.руб |
392,43 |
|
5.5. Запас финансовой прочности: |
||
|
5.5.1. В натуральном выражении |
тыс.т |
102,415 |
|
5.5.2. В стоимостном выражении |
млн.руб |
589,243 |
|
5.5.3. В процентном выражении |
% |
60,02 |
|
5.6. Сила операционного рычага |
1,717 |
Заключение
В данной курсовой работе были произведены расчёты основных технико-экономических показателей, оценка экономической эффективности и финансовой устойчивости проекта
По результатам проведенных расчетов можно сделать вывод о том, что «Проект строительства электросталеплавильного цеха» является эффективным при годовом объеме производства в 174 358 тонны.
Литература
1 В расчетах для непрерывного производства принимается равным 365 · 24 = 8760 час.
2 Цикл графика это интервал времени, в течение которого каждая бригада проходит все 3 смены, включая отдых.
3 В условном примере принято прямое чередование смен; в первый день месяца бригада А выходит на работу в первую смену первый раз.
4 (участие в судебных заседаниях в качестве народных заседателей, общественных обвинителей, свидетелей, осуществление избирательного права и пр.).
5 ПС прямая сдельная, СП сдельно-переменная, СПР сдельно-прогрессивная, ПП простая повременная, ППР повременно-премиальная
6 В расчётах принимается равной ставке рефинансирования Центрального банка РФ (8,25%)
Проект строительства электросталеплавильного цеха мощностью 155 406 т в год