Характерные признаки класса «костные рыбы». Семейство тресковых
Вопрос 1. Характерные признаки класса «костные рыбы». Семейство тресковых. Представители. Морфологические и анатомические признаки. Характерные черты биологии, промысловое значение.
Ответ:
Костные рыбы - это первичноводные позвоночные животные с окостеневшим или полностью костным скелетом. Жабры прикрыты костной жаберной крышкой. В водах России обитают представители одного подкласса Лучеперые рыбы (Actinopterygii), на долю которого приходится более 99% ныне живущих видов (всего их по разным оценкам 22-23 тыс. видов).
Костные рыбы обладают более или менее веретеновидньм телом, покрытым чешуей разной формы и величины, с тремя или четырьмя непарными и четырьмя парными плавниками. Шейная часть отсутствует, поскольку голова прямо переходит в туловище. Эта основная форма имеет ряд отклонений - от змеевидной формы тела (угри) до совершенно фантастических форм (морские коньки и многие глубоководные рыбы).
Размеры тела рыб колеблются в очень широких пределах. Самые крупные представители некоторых видов достигают нескольких метров в длину и весят не одну тонну. Например, белуга может иметь длину до 9 м и весить 1,5-2 т; луна-рыба - длину 2,5 м и вес 1 т; сом вырастает до 5 м и может весить 300 кг. Самое маленькое из ныне живущих позвоночных - рыба Pandaka pygmaea во взрослом состоянии имеет длину 7-10 мм.
Рыбы являются самым большим по числу видов классом позвоночных; они насчитывают до 20-25 тысяч видов, которые объединены в 33 отряда.
Семейство Тресковые (Gadidae)
Тресковые имеют обычно два или три (только у менька один) спинных плавника и один или два анальных. Хвостовой плавник хорошо развит, отделен от спинного и анального или частично слит с ними. Брюшные плавники расположены примерно над грудными. Все плавники без колючих лучей. Жаберные отверстия большие. На подбородке обычно имеется усик, реже он слабо развит или совсем отсутствует. Тело покрыто мелкой циклоидной чешуей.
Тресковые распространены преимущественно в морях северного полушария, где их насчитывается 48 видов из известных 53; 4 вида живут в морях южного полушария, а 1 вид (налим) в пресных водах северных частей Европы, Азии и Америки. Особенно много тресковых в морях северной части Атлантического океана: здесь их 39 видов, тогда как в северных морях Тихого океана 5 и в арктических морях 5 видов.
Всего многочисленнее тресковые в восточных частях Атлантического океана. В Северном море и прилегающих районах Атлантического океана число видов достигает 20. К северу количество их быстро убывает, в Норвежском море их уже около 16, а в Баренцевом море всего 8. В Балтийском море постоянно обитает только треска и в западной его части мерланг. В Средиземном море указывают 16 видов, а в Черном море только 2 вида. У Северо-Западной Африки тресковых всего несколько видов и далее к югу их нет. В северо-западных водах Атлантического океана тресковых меньше, чем на востоке: здесь их около 10 видов. В экваториальных водах тресковых нет, и вновь появляются они в нотальной области у берегов Юго-Западной Африки, Южной Америки и Новой Зеландии. При этом в южном полушарии встречаются только представители 3 родов из известных 21 Micromesistius, Urophycis и Gaidropsarus.
Все тресковые, за исключением налима, морские стайные рыбы. Большинство видов придонные рыбы. Размножаются они обычно при океанической солености около 3335°/00 или несколько ниже. Но балтийская треска, например, размножается при солености от 11 до 18 %0, и единичные особи трески случайно заходят иногда даже в реки, а черноморские тресковые (мерланка, морской налим) размножаются при 1719°/00. Значительные опреснения переносят северные представители тресковых навага, сайка, арктическая треска, заходящие в низовья рек или держащиеся у нижней поверхности плавучих льдов.
Тресковые используют все виды морской пищи: планктон, бентос, нектон. В течение всей жизни планктоном питаются сайка, арктическая треска, путассу. Крупными ракообразными из евфаузиевых питаются в первые годы жизни минтай и треска. Бентосом питаются пикша, навага, часть морских налимов. Крупные тресковые сайда, треска хищники. Накапливаемый при откорме жир откладывается у тресковых рыб в печени, а не в мышцах и не на внутренностях.
Рост и размеры разных видов тресковых различны. Планктоноядные тресковые мельче бентосоядных и хищных. Самый мелкий вид тресковых глубоководный гадикул (Gadiculus argenteus), живущий в северной части Атлантического океана, в толще воды, обычно на глубине от 200 до 400 м и более; его размеры 11 13 см, редко до 15 см. Самых крупных размеров достигают хищные: атлантическая треска (Gadus morhua) и мольва (Molva molva), для которых известны экземпляры длиной до 180 см.
Мелкие тугорослые тресковые сайка, навага, путассу созревают в возрасте 35 лет. Треска становится половозрелой в 810 лет и старше.
Все тресковые по достижении половой зрелости участвуют в размножении в течение нескольких лет подряд.
Плодовитость тресковых колеблется в очень больших пределах от нескольких тысяч икринок у наваги до 9, 3 млн. у трески и 60 млн. икринок у мольвы.
В основном тресковые холодолюбивы; ряд видов живет и размножается при температуре, близкой к 0° С и даже ниже (например, навага и сайка), большинство видов, однако, предпочитает умеренно холодные воды. Нерест тресковых происходит преимущественно в холодное время года, главным образом зимой и в начале весны.
Икра почти у всех тресковых пелагическая, только у наваги и тихоокеанской трески донная. Личинки и мальки живут в толще воды и у многих видов течениями уносятся с нерестилищ, что способствует их широкому расселению в первые же месяцы жизни. Мальки многих видов, особенно пикши, мерланга, отчасти также трески, скрываются под колоколом медуз.
В жизненном цикле многих видов тресковых существенное значение имеют миграции, у некоторых весьма протяженные. Они теснейшим образом связаны с питанием и размножением и зависят от морских течений и сезонных изменений температуры.
Современное распространение тресковых, их биологические особенности, а также геологические данные убеждают, что происхождение их связано с умеренно холодными водами Атлантического океана. Проникновение их в Тихий океан происходило через Северный Ледовитый океан, вдоль берегов Азии и Америки. Этот путь могли преодолеть из умеренно холодновод-ных форм только самые холодолюбивые виды треска, навага и томкод, которые в атлантическом секторе их ареала заходят далеко в холодные воды Арктики.
Высокоарктическими ледовитоморскими видами являются сайка и два вида арктических тресочек.
Только один вид из тресковых налим перешел в пресные воды. Полагают, что это произошло в ледниковое время, когда его предок обитал в Полярном бассейне и перешел сначала в солоноватые, а затем и в пресные воды.
Проникновение тресковых в южное полушарие через тропики происходило, как надо думать, глубинными охлажденными слоями. Это определило их биполярное распространение. Современное распространение тресковых и формирование их миграций определилось, вероятно, уже в послеледниковую эпоху.
Тресковые рыбы имеют очень большое практическое значение. Мировой улов их достигает 68 млн. т (19651968 гг.); свыше 4/6 этого улова добывается в Атлантическом океане. Наибольший улов приходится на долю атлантической трески, затем следуют тихоокеанский минтай, пикша и сайда.
Большинство тресковых живет в придонных горизонтах, поэтому основным орудием их лова служит придонный трал. Собираясь с огромной площади на зимовку или нерест, тресковые образуют очень плотные скопления, которые позволяют облавливать их с большой эффективностью.
Тресковые, и в том числе треска, доставляются в охлажденном или замороженном виде, особенно ценится филе. Важное значение имеет при добыче тресковых печень, из которой изготавливается медицинский жир, богатый витаминами А и D, а также консервы.
Семейство тресковых подразделяется на подсемейства налимоподобных и трескоподобных.
Вопрос 2. Какие материалы применяются для постройки орудий лова. Дать им краткую характеристику.
Ответ:
Для удобства изучения, совершенствования, конструирования и эксплуатации орудия лова группируются по различным признакам в группы, подгруппы, виды и т.д. Эта группировка называется классификацией орудий лова. В зависимости от классификационных признаков существует много видов классификаций. Например, по роду материалов орудия лова делятся на сетные и несетные; по месту применения - на речные, озерные, морские или океанические. Кроме того, существуют донные и разноглубинные орудия лова, прибрежные и для лова вдали от берегов и т.д.
В соответствии с этой классификацией все орудия лова можно разделить на пять основных групп.
К ПЕРВОЙ ГРУППЕ относятся объячеивающие орудия, или сети. Принцип действия их основан на том, что орудия лова в виде сетной стены выставляют на пути хода рыбы, которая, пытаясь пройти сквозь эту преграду, застревает в ячеях сети, т.е. объячеивается.
Сетное полотно в объячеивающих орудиях лова изготовлено из тонкой нитки, врезающейся в тело рыбы или запутывающей ее в полотне сети.
ВТОРУЮ ГРУППУ орудий промышленного рыболовства составляют отцеживающие орудия. Часто они имеют вид сетной стены различной формы. Обметав часть водоема, орудие лова вытаскивают на берег или на борт судна. Вода проходит сквозь ячейки, а рыба задерживается в орудии лова, причем не опутывается и не объячеивается в нем, а остается на полотне или скатывается в специальный мешок (мотню, слив, притон). Объячеивание рыбы в этом случае нежелательно и даже вредно, так как тормозит работу и снижает производительность труда рыбаков, поэтому сетное полотно для таких орудий лова делают из толстых грубых ниток с более мелкой, чем у сетей, ячеей.
Орудия промышленного рыболовства в основном строят из сетей, рыболовных ниток, канатов, веревочных изделий и других вспомогательных материалов. Физико-механические свойства их зависят от качества сырья или полуфабриката, из которых изготовлены эти изделия.
Сырьем для изготовления изделий являются волокнистые материалы - естественные и искусственные. Естественные волокнистые материалы существуют в природе в готовом виде; их необходимо лишь обработать, отделить от примесей и посторонних частиц.
Искусственные волокнистые материалы получают путем химического синтеза, термической и механической обработки различных органических или неорганических соединений.
Естественные волокнистые материалы делятся на три группы: растительного, животного и минерального происхождения,
Волокнистые материалы растительного происхождения находятся в лубе, листьях, семенных коробочках и других частях некоторых растений (хлопчатник, лен, конопля и др.). Волокнистые материалы животного происхождения - это шерсть и волос животных, шелковичное волокно и т. п. Минеральным волокнистым материалом является асбест и т. п.
К искусственным волокнистым материалам относятся материалы из природных высокомолекулярных соединений (целлюлоза, белки), синтетические материалы, стеклянная и минеральная вата, металлические волокна и пр.
В добывающей рыбной промышленности в основном применяются волокнистые материалы растительного происхождения и синтетические. Волокнистые материалы характеризуются так называемыми техническими свойствами. Одним из них является прочность (крепость).
Чем прочнее волокно, тем прочнее изготовляемые из него изделия. Кроме того, для сопротивления одним и тем же усилиям из более прочного материала можно изготовлять канаты и нитки меньшей толщины, что делает их более легкими, а значит, и более удобными в эксплуатации.
Большое значение имеет легкость материала, характеризующаяся его объемным весом: с уменьшением объемного веса снижается вес плава, необходимого для поддержания орудия в воде, а следовательно, уменьшается общий вес орудия и его стоимость.
Одним из важных технических свойств волокнистых материалов является их эластичность-способность растягиваться и пружинить. Эластичные канаты легко амортизируют и гасят различные рывки. Однако излишняя эластичность сетематериалов, например капрона, приводит к плохой затяжке узлов и перекосу орудий лова.
Изделия из волокнистых материалов не должны сильно намокать в воде, так как при намокании материал становится тяжелым и жестким, а значит, утяжеляется и орудие лова.
Волокнистые материалы должны обладать большим сопротивлением износу. Орудие лова в процессе работы трется о борта судов, дно водоемов, канаты проходят через ролики, блоки, барабаны. Если волокнистый материал при этом ломается или истирается, то орудие лова быстро приходит в негодность.
Очень важна сопротивляемость волокнистого " материала гниению. В некоторых случаях прочным, но быстро гниющим в воде материалам в рыболовстве предпочитают материалы менее прочные, но лучше сопротивляющиеся гниению или хорошо впитывающие консервирующие вещества.
При выборе волокнистых материалов надо учитывать их стоимость.
Перечисленным техническим требованиям удовлетворяют многие волокнистые материалы, однако чаще всего в добывающей рыбной промышленности применяют хлопок, лен, пеньку (русская, манильская и сизальская). Реже применяют рами, кендырь, канатник, кенаф, джут, а также местные материалы: солому (особенно рисовую), крапиву, лыко различных деревьев и т. п. Из синтетических материалов наибольшее распространение в рыболовстве имеют капрон, нейлон и хлорин.
Сетное полотно из толстой нитки называется делью, из тонкой сетью. Сетное полотно крепят к окаймляющим орудие лова веревкам - подборам. Верхнюю часть орудия прикрепляют к верхней подборе, нижнюю - к нижней. Боковые кромки прикрепляют к веревкам - пожилинам. Пожилинами называют также веревки, проходящие вдоль или поперек полотна и предназначенные для увеличения прочности орудия лова.
Для увеличения прочности сетное полотно часто окаймляют полоской прочной дели из толстой нитки - бордюром, опушкой или бучей. Само прикрепление полотна к подборам называется посадкой.
Вопрос 3. Способы вязки сетного полотна. Способы начала вязки.
Ответ:
В настоящее время сетное полотно производится машинным способом на сетевязальных фабриках. Ручное вывязывание - вязка - применяется при ремонте сетных полотен и орудий лова, производстве специальных крупноячейных сетей, бордюров и опушек орудий лова, некоторых фигурных частей, боковых кромок и т.д.
Существует много способов ручной вязки, из которых наиболее распространены вязка прямым узлом, косым, или шкотовым, брамшкотовым и русским, или двойным.
Для ручной вязки необходим набор полок и челноков, называемых иглицами, или игличками (рис. 1). Полка представляет собой дощечку или пластмассовую пластинку, ширина которой на 5-10% меньше шага ячеи, а в объячеивающих орудиях лова равна ему.
Длина полки обычно невелика. При ремонтных работах выбирают полки длиной 12-15 см, при вязке широких пластин - 15-18 см. Более длинные полки неудобны в работе. С левой стороны полок делается выточка для удобства охватывания полки ладонью и пальцами левой руки. Кромки полки к краю сходят несколько на конус. При таком устройстве с нее легче сбрасывать ряды связанных ячей.
Игличка представляет собой узкий длинный и плоский челнок - деревянный, металлический или пластмассовый. В головной заостренной части внутри иглички имеется язычок для наматывания нитки, хвостовая часть оканчивается рожками, между которыми при намотке пропускается нитка. Ширина иглички должна быть такой, чтобы она с намотанной ниткой свободно проходила через полуячею при вязке шкотовым или через полную ячею при вязке прямым узлом, поэтому в первом случае игличка при прочих равных условиях должна быть уже, чем во втором. Длина игличек колеблется от 15 до 25 см.
Выбрав для работы необходимые по размеру инструменты, приступают к наматыванию на игличку нитки, из которой должно быть связано сетное полотно или выполнены другие работы. Намотка нитки на иглички может быть ручной и механической. Последняя применяется при массовом производстве. Ручная намотка выполняется следующим образом. Игличку берут в левую руку острием кверху. Коренной конец нитки из клубка или бобины накладывают на тело иглички и прижимают большим пальцем левой руки. Нитку проводят к язычку, заводят за него и возвращают назад, затем проводят вниз по телу иглички и пропускают между рожками на другую сторону иглички.
Игличку поворачивают на другую сторону.
Рис. 1. Иглицы и полки для вязки сетных полотен
Нитку по другой стороне иглички проводят кверху, доводят до язычка, огибают его, возвращают нитку к рожкам и переводят ее на первую сторону иглички. Игличку снова поворачивают в руке. Нитку вновь протягивают к язычку, огибают его и снова повторяют весь процесс. Так проводят нитку попеременно то с одной, то с другой стороны, наматывают ее на игличку до тех пор, пока шлаги не закроют весь язычок. Тогда нитку обрезают и кончик ее используют при вязке как коренной конец. В процессе работы нитка постепенно сматывается с иглички.
Технология ручной вязки сетных полотен зависит от типа узлов. Для удобства изложения предположим, что первые ряды уже вывязаны и необходимо продолжить вязку.
Рис. 2. Последовательность вязки сетного полотна
Как видно из рис. 2, ходовую нитку, намотанную на игличку, ведут из точки 1, делают петлю и привязывают к предыдущему ряду ячей в точке 2, в результате образуется ячея а. Из точки 2 нитку вяжут в точке 3, затем в точке 4 и так до конца ряда, в результате чего образуется ряд новых ячей b, n. Из точки 4 ходовую нитку вяжут снизу к только что вывязанной ячее n в точке 5, образуется новая ячея m. Далее переходят к точкам 6, 7 и т.д., делая еще один ряд ячей. Дойдя до его конца, приступают к вывязыванию третьего ряда и т.д. Таким образом, одной ниткой, сходящей с иглички, вывязывают все полотно необходимой длины. Если нитка закончится, на игличку наматывают из мотка следующий ее кусок, коренной конец связывают с кончиком первого куска и продолжают вязку либо берут новую игличку с заранее намотанной ниткой и, связав кончики израсходованной и новой ниток, продолжают вязку.
Ширина вывязываемого полотна задается числом ячей первоначальной кромки и без особых приемов изменена быть не может. Сетное полотно увеличивается лишь в длину.
Как видно из рис. 2, каждый новый ряд ячей сдвинут по отношению к предыдущему на пол-ячеи. Таким образом, в каждом ряду вывязывается как бы половина ряда ячей, поэтому, если нужно вывязать сетное полотно длиной, например, 10 ячей, то необходимо вывязать 20 рядов полуячей, т.е. вдвое больше.
Из названных узлов наибольшее применение имеет шкотовый (косой) узел. Он прочен, не растягивается и не выворачивается, прост для завязывания, расход нитки на него меньше, чем на другие узлы. Он применяется для любых полотен - делей и сетей. Наверх Техника вязки сетей шкотовым узлом изложена ниже. Полку берут за выточку левой рукой так, чтобы мизинец и безымянный пальцы удерживали ее за выточку сверху, средний палец должен лежать на верхней кромке самой полки, а большим пальцем полку поддерживают снизу. Указательным пальцем поддерживают нитку и узел. Поддерживая таким образом, полку подносят верхним ребром к нижнему ряду ячей начальной кромки. Взяв в правую руку игличку, приступают к вязке. Нитку пропускают сверху по полке, игличку заводят под полку, продевают в крайнюю ячею и, перехватив пальцами правой руки, протаскивают сквозь нее (рис. 3).
Рис. 3. Вязка сетного полотна шкотовым узлом
Натянув нитку, притягивают к верхнему ребру полки нижний край ячеи и прижимают нитку и ячею к полке указательным пальцем. Затем делают игличкой взмах влево вверх направо так, чтобы на ячею сверху легла образованная из ходовой нитки большая петля, пропускают игличку снизу справа под обе нитки ячеи и вытаскивают игличку вверх через образованную петлю. Образуется шкотовый узел. Натянув за игличку ходовой конец, узел затягивают, поправляя его при необходимости указательным пальцем. В результате получилась новая ячея, охватывающая полку.
Далее, не отнимая полки, проводят нитку снова поверх нее, продевают снизу игличку в следующую ячею и повторяют процесс завязывания узла. Получается новая ячея, надетая на полку рядом с первой. Таким же образом вывязывают третью, четвертую и все последующие ячеи до конца ряда. Все они оказываются нанизанными на полку. Если вывязывается широкое сетное полотно и длины полки не хватает, чтобы нанизать все ячеи вывязываемого ряда, то, заполнив ячеями полку, вытаскивают ее из них, подводят к очередной ячее и продолжают вязку, набирая на полку новые ячеи.
Закончив вязку одного ряда, вытаскивают полку (сбрасывают ячеи) и приступают к вывязыванию следующего ряда. При этом вязка должна происходить не слева направо, а справа налево. Однако это неудобно, и обычно сетное полотно переворачивают тыльной стороной и вяжут снова слева направо. Таким образом, в полотне ручной вязки узлы повернуты к наблюдателю в одном ряду лицевой, в другой - тыловой стороной.
В полотне машинной вязки все узлы повернуты к наблюдателю одной стороной.
Закончив вязку второго ряда, сбрасывают ячеи с полки, поворачивают сетное полотно лицевой стороной и вяжут третий, затем четвертый ряд и т.д. до тех пор, пока не будет достигнута требуемая длина полотна.
Практически вязка каждой ячеи шкотовым узлом происходит в два взмаха: первый взмах - продевание иглички в ячею и притягивание ее к краю полки с прижиманием нитки указательным пальцем левой руки; второй взмах - образование петли, продевание иглички под ячею и в петлю и затягивание узла.
При вязке капроновых и вообще синтетических сетей узлы приходится затягивать потуже. Однако и это не гарантирует от их ослабления вследствие скольжения ниток.
Чтобы избежать ослабления, иногда применяют брамшкотовый узел. Он отличается от шкотового тем, что на захватываемой ячее делается два шлага. Вязка происходит в три взмаха: первый - захват ячеи, притягивание к полке и прижим указательным пальцем; второй - охват ячеи первым шлагом; третий - охват ячеи вторым шлагом, продевание иглички под шлагом и в ячею и затягивание узла.
Еще более прочен русский, или двойной узел, применяемый при вязке сетных полотен для объячеивающих орудий лова. Он отличается от брамшкотового тем, что ходовой конец нитки после второго шлага проводится под нитку ячеи.
Вязка прямым узлом применяется реже, так как получающиеся узлы менее прочны и выворачиваются при тяге за нитку, поэтому для объячеивающих полотен она неприемлема. При вязке прямым узлом используют обычную полку с выточкой, но игличка может быть крупнее по размеру и с большим наполнением ниткой. Полку держат так же, как и при вязке шкотовым узлом, и подводят край ее к нижнему ряду ячей.
Нитка проходит по полке, огибает ее, игличкой подхватывают ячею, но не снизу, как при шкотовом узле, а сверху. Протаскивают нитку сквозь ячею и притягивают последнюю к краю полки, прижав указательным пальцем, а нитку выводят влево. Затем ниткой делают петлю слева вверх направо и игличку вновь продевают снизу в ячею. Затягивают узел, поправляя его указательным и большим пальцами. Весь процесс, как и при вязке шкотовым узлом, осуществляется в два взмаха: первый взмах - продевание иглички в ячею сверху и притягивание ее к полке; второй взмах - образование петли, продевание иглички сквозь ячею снизу и затягивание узла.
При ручном вывязывании сетного полотна существует несколько способов начала вязки. Наиболее просто начинать вязку с какой-либо существующей сетной кромки независимо от равенства или неравенства шага ячеи начальной кромки заданному шагу ячеи вывязываемого сетного полотна. В качестве начальной можно брать кромку от любого сетного полотна, лишь бы игличку можно было продеть через ее полуячею, а при вязке прямым узлом - через ячею. Ячеи сетной начальной кромки нанизывают на какой-либо штырь или крючок, расправляют и от них описанными выше способами начинают вязку.
Начальную кромку иногда заменяют рядом петель, навязанных на веревку, растянутую между двумя точками закрепления (рис.4). От этих петель, как от начальной кромки, начинают вязку сетного полотна. Иногда основой служит веревка не растянутая, а связанная в виде петли или кольца, и нитяные петли проходят по части ее окружности. Такую веревку легко надеть на штырь и начинать вязку от нитяных петель. Нитяные петли могут быть прикреплены к веревочному кольцу или веревке либо могут скользить по ним. Это не окажет влияния на вязку.
Основным способом начала вязки является вывязывание начальной полоски. Коренной конец нитки с иглички обертывают 2 раза вокруг полки, связывают с ходовой частью нитки и снимают с полки. Получается петля, по размерам равная ячее вывязываемого полотна. Петлю надевают на штырь так, чтобы нитка выходила из нее слева. К нижнему концу этой петли-ячеи подводят верхнее ребро полки и вяжут новую ячею. Получаются две ячеи, смещенные одна относительно другой на пол-ячеи. Полку вынимают из второй ячеи, подводят ребром к ее нижнему концу и вяжут третью ячею, затем четвертую и т.д. Таким образом, получается полоска сети из двух рядов ячей, смещенных один относительно другого. Число ячей в каждом из них одинаково. Снимают полоску со штыря и поворачивают ее на 90°. Приняв полученную полоску сети за начальную, продолжают вязку уже известным способом поперек полоски. Для этого первый ряд ячей набирают по порядку на штырь или крючок, подводят полку к ячеям нижнего ряда и вяжут очередной ряд. Общее число ячей в начальной полоске должно вдвое превышать число ячей по ширине вывязываемой полоски.
Рис. 4. Способы начала вязки
Существуют и другие способы начала вязки, но принципиально они ничем не отличаются от описанных выше.
Большое значение имеет ручная вязка при изготовлении сетных полотен фигурной формы. Сбавка ячей осуществляется двумя способами: недовязкой ячей и группировкой ячей в узел.
По первому способу (рис. 5, а) вязку выполняют обычным способом, но последнюю в ряду ячею не замыкают на последнюю ячею предыдущего ряда. Полку из ячей выдергивают, подставляют к крайней ячее вновь вывязанного ряда и начинают вывязывать новый ряд. В предыдущем ряду остается чистая, но как бы лишняя ячея. Вывязываемый ряд становится на ячею короче. Повторив это в следующем ряду, можно укоротить его еще на одну ячею и т.д. В результате получается чистая боковая кромка, удобная для посадки. Этот способ применяется, когда необходимо иметь чистые посадочные кромки. Наверх Чаще применяют второй способ - группировку ячей в узел (рис. 5, б). Он заключается в том, что во время обычной вязки игличкой захватывают не одну, а две ячеи (группируют) и завязывают на них узел. Тогда последующий ряд будет на одну ячею короче. Такие группировки можно делать в любом ряду и в любом количестве. Следовательно, кромке можно придать любой уклон. Однако при такой сбавке сетное полотно вокруг сгруппированных ячей деформируется, поэтому сбавку рекомендуется выполнять не у кромок сетного полотна, а несколько отступя от них. Кроме того, нельзя группировать несколько ячей рядом. Сбавку следует равномерно распределять по всему сетному полотну.
Рис. 5. Способы сбавки ячей:
а - недовязка ячей; б - захват двух ячей в один узел
Прибавка ячей осуществляется также двумя способами: вывязыванием дополнительной кромочной ячеи и вывязыванием дополнительных рядовых ячей.
Дополнительную кромочную ячею получают следующим образом. Вывязав очередной ряд, освобождают полку, устанавливают ее в положение, необходимое для вывязывания нового ряда, и делают вокруг нее 2,5 оборота нитки. Взяв нитку за то место, где заканчиваются последние пол-оборота, и, вытащив полку, связывают ходовой и коренной концы между собой на расстоянии шага ячеи от узла сетного полотна. Получается петля, по размерам соответствующая ячее данного сетного полотна и относящаяся не к новому, а к предыдущему ряду, в котором необходимо было прибавить ячею. Затем, поставив полку в рабочее положение, продолжают вязку обычным способом. После вывязывания полного ряда новая ячея будет органически вплетена в сетное полотно.
При этом способе получается неискаженная хорошая кромка, годная для посадки на подборы, но он неудобен, так как новую ячею в процессе вязки трудно расправить и требуется лишняя затрата времени. Чаще применяют второй способ. Он заключается в том, что во время вязки, завязав узел на ячее, игличку продевают не в последующую ячею, а снова в предыдущую и вяжут узел. Далее продолжают вязку обычным способом. В результате из одного узла выходят две ячеи: одна нормальная, вторая искаженная, вдвое меньшая по размеру нормальной ячеи. Общее число ячей в связанном ряду будет на одну больше. Следующий ряд вяжут обычным способом, считая искаженную ячею нормальной. Этот способ прост и удобен. Число таких рядовых дополнительных ячей неограниченно, т.е. боковой кромке можно придавать любой уклон. Однако для уменьшения искажения сетного полотна необходимо прибавку делать подальше от кромки, не прибавлять ячеи в одном месте, а делать это равномерно по всему сетному полотну.
Эти приемы применяются при так называемых обвязках кромок орудий лова, например тралов.
Чередуя сбавку и прибавку ячей, можно получить полотно любой формы. Однако при этом необходимо предварительно сделать некоторые расчеты. Удобнее сбавку и прибавку в вертикальном направлении рассчитывать по рядам, а в горизонтальном положении - по ячеям.
Пусть, например, необходимо вывязать полотно в виде правильной трапеции шириной по большому основанию n1 ячей, по меньшему - n2 ячей, высотой m рядов.
Поскольку при вязке фигурного полотна удобнее сбавлять ячеи, чем прибавлять, вязку начинают с большего основания трапеции.
На протяжении m рядов полотно шириной n1 ячей должно уменьшиться до n2 ячей, т.е. на каждый ряд приходится сбавленных ячей i = (n1 n2)/m Величина i называется циклом вязки. Если i >1 и выражается целым четным числом, то сбавку производят по равному числу ячей с каждой стороны полотна, отступя на две-три ячеи от кромок. Не рекомендуется сбавлять несколько ячей подряд в одном ряду. Лучше между сбавленными оставлять две-три нормальные ячеи, чтобы полотно не деформировалось.
Если i>1 и выражается целым нечетным числом, то часть ячей сбавляют вблизи кромок, а часть - посредине полотна. Для придания трапеции правильной формы ячеи следует сбавлять равномерно с обеих сторон. Однако сбавка более двух ячей в ряду встречается сравнительно редко.
В промысловой практике значительно чаще встречаются случаи, когда i<1. Если i=1, то в каждом ряду нужно сбавить по одной ячее.
Сбавляя ячею в каждом ряду всегда с одной стороны полотна, получают одну боковую кромку скошенной, а другую - вертикальной. Для получения правильной трапеции необходимо в одном ряду сбавлять ячею вблизи левой кромки, а в другом - вблизи правой, затем опять вблизи левой и т.д., тогда обе стороны будут скошены одинаково.
Если i<1, то одну ячею нужно сбавить на протяжении нескольких рядов. Так, при i=1/2 необходимо сбавлять по одной ячее в каждом втором ряду, при i=1/3 - по одной ячее в каждом третьем ряду и т.д.
Более сложны случаи, когда i представляет собой дробь, числитель которой больше единицы, например 2/3, 3/7 и т.д. При i=2/3 в двух рядах необходимо сбавить по одной ячее, а третий вывязывать нормально. При i=3/7 на протяжении семи рядов сбавляют три ячеи. Для получения равномерного уклона в этом случае необходимо сбавлять по одной ячее в каждом втором, четвертом, шестом рядах, а первый, третий, пятый и седьмой вязать нормально.
Таким же способом рассчитывают прибавку ячей.
В некоторых орудиях лова, например в крыльях тралов, одновременно с одной кромки убавляют ячеи, а с другой - прибавляют.
При вывязывании полотен существуют нормы выработки и расхода материалов в зависимости от ассортимента материалов, сложности и др. Эти нормы имеются на предприятиях, ФОЛах и в цехах по постройке орудий лова.
Вопрос 4. Оформление концевых частей донных и пелагических тралов
Ответ:
Трал представляет собой конусообразный мешок из сетного полотна, удерживаемый в раскрытом состоянии либо жесткими элементами, либо гидродинамическими силами, возникающими при движении трала (в современном рыболовстве применяются главным образом тралы 2го типа). При траловом лове рыба попадает в устье трала и увлекается в его куток (узкую концевую часть). После подъема трала на борт траулера куток развязывается, и рыба выгружается в трюм или на палубу.
Распорные донные тралы представляют собой сшитый из сетного полотна мешок.
Раскрытие мешка происходит на ходу судна под действием сопротивления воды движению мешка и специальной оснастки.
Донные тралы строят двухпластными и четырехиластными. Двухпластные тралы состоят из верхней и нижней пластин. Если верхняя и нижняя пластины одинаковы, то трал называют симметричным. Однако чаще применяют несимметричные тралы.
Верхняя пластина несимметричных тралов состоит из верхних крыльев, сквера, верхних пластей мотни, мешка и полукутка, а нижняя из нижних пластей мотни, мешка и полукутка (рис. 4). Благодаря скверу верхняя пластина трала несколько выдвинута вперед по сравнению с нижней и образует козырек.
Рис. 4. Сетные детали трала (а) и их сборка (б):
1,2 верхние крылья; 3 сквер; 4 верхняя пласть мотни;
5 верхняя пласть мешка;6, 7 нижние крылья; 8 нижняя пласть мотни;
9 нижняя пласть мешка; 10, 11 верхняя и нижняя пласти полукутка
Слишком большая подъемная сила плава может оторвать трал от грунта.
Некоторые донные и придонные тралы оснащают подъемными щитками в виде прямоугольной пластмассовой или деревянной пластины со стороной около 1,0 м. Щиток пускают на оттяжках впереди и несколько выше верхней подборы под углом к потоку (рис. 5). Щиток увеличивает вертикальное раскрытие трала и, главное, отпугивает рыбу вниз в зону облова трала.
Переднюю кромку нижней пластины трала сажают на нижнюю подбору, как и верхнюю, с помощью посадочного троса.
К нижней подборе крепят грунтроп, предназначенный в основном для удерживания нижней подборы у грунта и предотвращения задевов нижней подборы за неровности дна. Помимо этого, грунтроп препятствует износу нижних пластин трала и уменьшает попадание в трал камней, губки и т. п. Известны донные тралы без грунтропов; вместо них к нижней подборе подвязывают отрезки цепей, выполняющих роль грузил.
Грунтропы делят на мягкие и жесткие.
Основу мягкого грунтропа составляет стальной трос, обмотанный старой делью, а затем обвитый веревкой или канатом. На концах троса делают огоны. Полученную таким образом секцию грунтропа соединяют скобами с другими секциями. К нижней подборе грунтроп крепят специальными грунтропными цепочками или отрезком пряди стального троса с таким расчетом, чтобы грунтроп находился на расстоянии 0,50,6 м от нижней подборы (рис. 52). Мягкий грунтроп применяют на легких грунтах (песчаных, илистых и т. д.) без задевистых мест.
На легких грунтах используют также жесткий грунтроп из стального троса с надетыми на него грунтропными чугунными катушками и резиновыми цилиндрическими бобинцами (рис. 6).
Для работы на тяжелых каменистых грунтах применяют жесткие грунтропы с шаровыми бобинцами. Жесткий грунтроп представляет собой стальной трос, на который поочередно насажены большие металлические полые шаровые бобинцы диаметром 0,40,6 м, чугунные катушки и резиновые цилиндрические бобинцы (рис. 53).
Рис. 5. Мягкий грунтроп и его крепление к нижней подборе:
1 стальной канат; 2 старая дель; 3 растительный канат; 4 скоба
Для работы на больших глубинах применяют шаровые резиновые бобинцы.
Грунтроп набирают так, чтобы его потопляющая сила составила для средних и больших тралов 25 кН (меньшие значения соответствуют илистым грунтам).
Как и мягкий, жесткий грунтроп состоит из средней (центральной), боковых и крыловых секций. Средняя секция располагается в вершине кривой, образованной нижней подборой, и имеет более крупные бобинцы. Справа и слева к ней с помощью скоб крепят боковые секции с более мелкими бобинцами. От боковых секций идут крыловые секции. Часто крыловые секции не несут бобинцов, и тогда они представляют собой отрезок стального троса. Крыловые грунтропы идут под небольшим углом к направлению движения трала, и бобинцы плохо выполняют роль катков.
Общее количество секций грунтропа обычно не превышает 57 при длине каждой секции 510 м.
Рис. 6. Детали жесткого труитропа:
а цилиндрический резиновый бобинец;
б шаровой металлический бобинец;
в чугунная катушка с цепочкой
Рис. 7. Осиастка и остропка мешка дележным стропом
1, стяжными кольцами 2 и гайтяном 3
К топенанту кутка или к его боковому шву крепят 1020 кухтылей, приподнимающих нижнюю пластину над грунтом.
На задней кромке кутка вывязывают ряд ячей из веревки. К ним крепят стяжные кольца, сквозь которые пропускают гайтянтонкий металлический или синтетический канат (рис. 7).
Нижнюю подбору разноглубинных тралов оснащают грузом отрезками цепей или стальным канатом. При работе в придонном и донном вариантах нижнюю подбору иногда дополняют мягким грунтропом или фальшподборой. Фальшподбору изготовляют из стального каната и отрезков цепей. Длина фальшподборы примерно равна длине нижней подборы и крепится к ней отрезками каната длиной 1,01,5 м. Фальшподбора идет впереди и ниже основной подборы и предохраняет переднюю часть трала от порывов. При работе на хороших грунтах и в пелагическом варианте фальшподбора крепится к нижней подборе вплотную.
Вместо загрузки (или наряду с загрузкой) возможно применение различного рода гидродинамических углубителей. Наиболее совершенные из них представляют собой крыло, ориентированное под углом к потоку и создающее гидродинамическую заглубляющую силу.
Вопрос 5. Элементы строения донных и пелагических тралов. Вооружение.
Ответ:
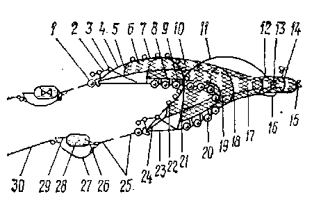
Донные тралы
Донные тралы представляют собой сетной мешок, несимметричный относительно горизонтальной плоскости. Сшивается обычно из двух пластей, причем верхняя состоит из большего числа частей, создающих навес над грунтом. Рыба, вспугнутая центральной частью нижней подборы трала, оказывается в сетном мешке и не может уйти через верхнюю кромку сетей.
Основой трала (рис. 5) является его сетная часть, состоящая из верхних крыльев 6, сквера 10, нижних крыльев 8, верхней 17 и нижней 18 пластей мотни, верхней и нижней пластей кутка 13.
Верхние и нижние крылья, а также сквер трала образуют его устье, служащее для направления и удержания рыбы в передней части трала. Крылья, кроме того, обеспечивают плавный переход элементов каркаса трала (подбор) от одной сетной части к другой. В зависимости от длины крыльев тралы бывают полнокрылыми и с укороченными крыльями. На рис. 6.4 показан трал с укороченными нижними крыльями.
Мотня трала 17 и 18 служит для направления рыбы в двухрядный мешок или куток. Она обычно состоит из нескольких плах, разных по шагу ячеи. Шаг ячеи уменьшается от устья к кутку.
Куток 13 служит для аккумуляции улова. Для увеличения его прочности в нижней части на длине примерно 2,5 м от его задней кромки нашивается вторая сетная пластина с таким же размером ячеи, как и в кутке. Называется она полукутком. Кроме того, куток снизу и сверху может покрываться дополнительным сетным покрытием с размером ячеи, в два раза большим, чем ячеи в мешке. Это увеличивает прочность мешка и одновременно обеспечивает выход из него маломерной рыбы.
Для того чтобы сетная часть трала приняла в воде определенную форму, сети трала сажаются (крепятся) на тросы. Посадочные кромки верхних крыльев и часть сквера (гуж) садятся на верхнюю подбору хотлайн 7, По длине верхней подборы (главной линии) по сетям и периметру сечения трала производится обмер трала. Например, донный трал с длиной верхней подборы 25 м и периметром сечения в районе гужа 35,4 м имеет обозначение «Трал донный 25/35,4». Верхняя подбора трала обычно имеет голые концы 4 большей или меньшей длины и оснащается плавом 22.
Соответственно посадочные кромки нижних крыльев и кромка нижней пласти мотни (нижний гуж) садятся на нижнюю подбору футроп 9. Нижняя подбора может не иметь голых концов. Верхняя и нижняя подборы изготовляются из оклетневанных стальных тросов или каната «сталь пенька».
Передние кромки верхних крыльев садятся на тросы, называемые верхними сборочными 5, кромки нижних крыльев на нижние сборочные 21. Они также изготавливаются из каната «сталь пенька» или стальных тросов. Сборочные тросы могут быть прямолинейными или криволинейными (в постройке) в зависимости от формы сборочной кромки крыльев.
В месте соединения верхней и нижней пластей трала на шворочный шов может быть поставлен трос топенант 19 с голым концом 24. Он ставится даже при отсутствии топенанта по шву трала.
Концевая часть трала стягивается тросом-гайтяном 15.
Для предохранения нижней части трала от порывов и облегчения его перехода через препятствия грунта к нижней подборе 9 трала крепится грунтляйн 20, состоящий из грунтропов. Грунтроп представляет собой стальной трос с надетыми на него бобинцами шаровой формы и чугунными катушками для погашения плавучести бобинцев. Такие грунтропы называются жесткими или набитыми. Последние оканчиваются голыми концами 23.
Мешок с рыбой предохраняется от истирания о грунт постановкой фартуков и шкур 16. Голые концы трала крепятся к клячовке /. Кля-човки бывают фигурными и простыми (штоковыми, трубчатыми). Они обеспечивают тралу начальное вертикальное раскрытие. К клячовке посредством кабеля 25 и лапок 26 крепятся распорные доски 28. С помощью шкентеля включения доски 29 они крепятся к ваеру 30. На ваерах происходит буксировка трала.
Ваер с кабелем соединяется через переходной конец 27.
Для спуска за борт и поднятия на борт тяжелого грунтропа на трале имеются вытяжные тросы 2. Один конец вытяжного троса крепится к набитому грунтропу, другой пропускается через кольцо 3 на голом конце верхней подборы и крепится к клячовке.
Кольца на верхней подборе для пропуска вытяжного трала ставятся гак, чтобы поднимать и опускать верхнюю подбору одновременно с нижней. Для подтягивания мешка с уловом к борту судна в начале кутка ставится удавный строп 12, который удавным линем // крепится к верхней подборе трала.
Если рыбы в трале много, то ее делят за бортом с помощью дележно-го стропа 14 с линем и кухтылями. После подтягивания мешка из-за борта линь дележного стропа ловят багром и начинают выливку рыбы.

Рис. 5. Донный трал: / фигурная клячевка с бобинцом; 2 вытяжной конец; 3 кольцо на верхней подборе для проводки вытяжного конца; 4 голый конец верхней подборы; 5 верхний сборочный; 6 верхнее крыло; 7 верхняя подбора; 8 нижнее крыло; 9 нижняя подбора; 10 сквер; 11 линь удавного стропа; 12 удавный строп; 13 куток; 14 дележный строп с линем; 15 гаитян; 16 фартуки и шкуры; 17 верхняя пласть мотни; 18 нижняя пласть мотни; 19 топенант; 20 грунтляйн; 21 нижний сборочный; 22 кухтыль; 23 голый конец грунтропа; 24 голый конец топенанта; 25 кабель; 26 лапки доски; 27 переходной конец доски; 28 распорная доска; 29 шкентель включения доски; 30 ваер
Дележный и удавные стропы пропущены через специальные кольца, поставленные на продольном шве трала.
Недостатком донных тралов для РТ является малое их вертикальное раскрытие (не превышающее обычно 3 м), связанное с малой мощностью главного двигателя траулера.
При работе на БМРТ, имеющем значительно большую мощность машины, донные тралы имеют раскрытие от 4 до Юм и более, что обеспечивается не столько размерами трала, сколько кройкой его передней части и способом соединения сетей с досками.
Для увеличения вертикального раскрытия донных тралов применяются двух- и трехкабельные схемы оснастки крыльев. Особенностью таких схем является то, что кабели являются продолжением подбор, за счет чего трал может раскрываться по вертикали тем больше, чем больше длина кабелей, т. е. чем меньше вертикальные составляющие натяжения кабелей, закрывающих трал.
Для достижения еще большего вертикального раскрытия трала его можно оснастить так, чтобы верхний кабель не закрывал, а раскрывал трал. Для этого верхний кабель удлиняют на определенную величину и крепят непосредственно к ваеру впереди распорной доски.
Увеличение интенсивности шлейфообразования у крыльев трала и предотвращение тем самым выхода рыбы в пространство между шлейфом и крылом, а также увеличение горизонтального раскрытия трала по сетям достигаются постановкой второй пары распорных досок малой площади непосредственно у крыльев трала. Такие доски носят название досок-пони.
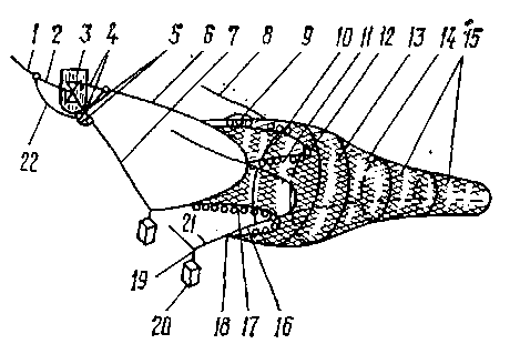
Пелагические тралы
Разноглубинный трал представляет собой сетной мешок, обычно сшитый из четырех пластин. Чаще всего верхняя и нижняя пласти несколько шире боковых, что обеспечивает тралу эллиптичную форму устья. Но существуют конструкции, имеющие все одинаковые пласти (рис. 5.1).
Сетная часть трала состоит из крыльев 10 (по два крыла на каждой пласти), мотни 14 и кутка 15. Передние части трала (устье 1.3 и часть мотни) выполняются из крупноячейнон дели (400...1200 мл и более). Ячея концевой части мотни и кутка выбирается н зависимости от объекта лова.
При лове сельди, мойвы и других видов рыб внутрь мешка вставляется мслкоячейная рубашка.
Посадочные кромки сетей трала сажают на подборы верхнюю //, нижнюю 18 и боковые 16. Все подборы имеют голые концы, которыми они соединяются с кабелями 6, 7.
Нижний кабель 7 комплектуется удлинительной лапкой 21. Удлинительная, или регулировочная, лапка (звено) служит для обеспечения тралу правильной формы при его движении в толще воды. Длина ее зависит от конструкции трала, его вертикального раскрытия, горизонта хода относительно траловых досок, массы углубителя и скорости траления. Представленный на рис. 6.5 вариант крепления кабелей к доске обеспечивает тралу большое вертикальное раскрытие (зависящее, кроме всего прочего, и от длины кабелей) и применяется при работе на глубинах, исключающих посадку трала на грунт. Данный вариант может также применяться в придонном режиме траления над участками с хорошим, ровным грунтом.
Кабели трала с помощью лапок 4 крепятся к распорным доскам 3, а с помощью дополнительных переходных концов 5 к основному, переходному концу 22 и через него к ваеру 1.
В качестве распорных досок используются цилиндрические доски Ф. Зю-беркрюба площадью от 4 до 8 м2 в зависимости от размера трала и мощности траулера. Доска крепится к ваеру по обычной схеме через шкентель включения доски 2.
Верхняя подбора трала оснащается стальными кухтылямп 9, которые группируются в блоки по 8... 10 шт. и помещаются в оплетку из двухрядной мелкоячейной дели. Это делается для того, чтобы крупноячейная дель трала не накидывалась на кухтыли и не рвалась при спуске. С этой же целью вибратор прибора контроля 12 зашивается в мелкоячейную дель.
Для вертикального раскрытия разноглубинных тралов применяются также гидродинамические подъемные устройства типа «Гиплан» и устройства из парусины. Трал, вооруженный гидродинамическими подъемными устройствами, легко управляется за счет изменения как скорости, так и длины ваеров. Это качество позволяет оперативно менять тактику промысла при изменении промысловой обстановки и уменьшает опасность посадки трала на грунт при работе в пригрунтовом варианте. Кроме того, при установке досок на всплытие трал легко выходит к поверхности воды.
Гидродинамическое подъемное устройство из парусины предназначено для обеспечения вертикального раскрытия разноглубинных и донных тралов. Оно представляет собой полотнище размером около 2000X400 мм из сложенной вдвое и прошитой парусины. На гуже верхней подборы ставятся 4...8 полотнищ. Для постановки на трал на полотнища пришиваются проушины, с помощью которых полотнища бензелями крепятся к подборе и фальшподборе. Короткими кромками полотнища обычно сшиваются между собой, образуя сплошную ленту.
По рекомендации промысловиков выпускаются сплошные полотнища длиной 6,7;, 8,7 и 10,7 м, что соответствует постановке трех, четырех и пяти щитков стандартной длиной 2 м.
Если прибор контроля имеет кабельный канал связи, то кабель свят 8 крепится к вибратору таким образом, чтобы он не был выдернут из вибратора во время траления и не нарушил положения вибратора. Правильным считается горизонтальное положение вибратора. Если положение его наклонное, то запись нижней подборы трала будет нечеткой и может появиться большая ошибка в отсчете расстояния от трала до грунта, что может привести к посадке трала на грунт.
Нижняя подбора загружается отрезками цепей 17 равномерно по подборе или стальным тросом, идущим по всей длине подборы. В последнем случае он крепится к подборе привязками через 0,5...1 м вплотную.
При работе вблизи грунта может быть использована фальшподбо-ра. Собирается она из отрезков такелажной цепи длиной по 5...8 м, соединенных между собой стальным тросом. С помощью гужиков длиной
1...1,5 м фальшподбора крепится к нижней подборе. По длине она равна длине нижней подборы и весит 250...300 кг.
Для повышения четкости регистрации нижней подборы трала прибором контроля на ее центр ставятся 2...3 «худых» кухтыля в оплетке или экранирующая сетка.
В месте соединения нижней подборы с регулировочным звеном 21 на лапках 19 длиной 1... 1,5 м ставятся грузы-углубители 20 массой 450...1350 кг на каждое крыло. Их масса зависит от размера трала и глубины места лова и влияет на величину вертикального раскрытия трала. Часто грузы-углубители ставятся в месте соединения нижних кабелей с регулировочным звеном.
Швы, соединяющие пласти трала друг с другом, укрепляются топенантами. Мешок разноглубинных четырехпластных тралов может быть двух- и четырехпластным. По пластям тралов для увеличения их прочности ставятся пожилины.

Рис. 5.1. Пелагический трал:
/ наер; 2 шкентель включения доски; 3 распорная доска; 4 лапки доски; 5 дополнительные лапки; 6 верхний кабель; 7 нижний кабель; 8 кабель связи сетного зонда; 9 плав; 10 крылья: // верхняя подбора; 12 щиток вибратора прибора контроля; 13 устье трала; 14 мотня; 15 куток; 16 боковая подбора; 17 груз нижней подборы; 18 нижняя подбора; 19 лапка; 20 груз-углубитель; 21регулировочное звено; 22 переходной конец
В зависимости от конструкции канатные пелагические тралы можно условно разделить на три типа: с канатными крыльями;
сетными крыльями и канатной передней частью мотни; канатными крыльями и передней частью мотни.
Канатную часть тралов выполняют как из продольных канатов длиной 10...20 м с расстоянием между ними 1...3 м, так и в виде ромбических или шестиугольных (сотовых) ячей со стороной 6... 12 м, а также комбинированными. В качестве канатов используют капроновые канаты размерами 30... 60 мм или шнуры диаметром 6...12 мм.
Незначительная аварийность канатных разноглубинных тралов позволяет вести лов рыбы не только в придонных слоях, но и по грунту. В этом случае нижнюю подбору оснащают как фальшподборой, так зачастую и обычным грунтропом.
На судах бортового и кормового траления разноглубинные тралы могут применяться в варианте близнецового траления.
По устройству близнецовые тралы в принципе не отличаются от рассмотренного выше пелагического трала для работы с одного судна. Разница заключается в его оснастке и технике работы, так как траление одним тралом ведут одновременно два судна. Трал может работать по двух-, трех- и четы-рехваерной схеме.
Четырехваерная схема оснастки трала обеспечивает ему большое раскрытие (обычно больше половины длины подбор). Поэтому трал оснащается плавом и грузом незначительно, что облегчает работу с ним. При работе по двух- и трехваерной схеме груз п плав ставятся в том же количестве, как и при работе с одного судна.
Верхняя и нижняя подборы для предотвращения разрыва трала судами подкрепляются стальными тросами, которые бензелями с равными интервалами подвязываются к основным,подборам.
Для облегчения процесса передачи и подключения ваеров в них на рас стоянии 2...3 м от огона вращиваются короткие (1...1.5 м) гужики из стального троса. Гужики вращиваются также на марке 100 м. С их помощью вае-ра «близнеца» могут стопориться в глаголь-гаках на одном из рым-болтов переходного мостика или фальшборта вблизи подвесного тралового блока на ведущем судне, или флагмане.
Передача ваеров с судна на судно производится вручную на дистанции между судами 30...40 м. Этот процесс можно существенно упростить, применяя линометательную установку.
Вопрос 6. Тара и упаковочный материал. Прием и хранение и транспортировка рыбы и рыбной продукции.
Ответ:
Охлаждение рыбы-сырца на промысловых судах и перерабатывающих плавбазах осуществляется для вынужденного хранения в случае поступления значительных уловов во избежание порчи, а также с целью снижения начальной температуры рыбы, поступающей на замораживание. Охлаждающей средой служит морская вода, предварительно охлажденная до температуры 0...1 °С при помощи чешуйчатого льда или имеющимися в охладительных емкостях батареями с циркулирующим хладоносителем.
Предварительное охлаждение рыбы до 0...2 °С позволяет не только сохранить высокое качество сырья, но и увеличить производительность морозильных аппаратов на 10...12°/о. В то же время в рыбцехе во время транспортирования, мойки, сортирования, разделывания происходит отепление рыбы на 5...10 оС, в связи с чем необходимо сократить до минимума проведение этих операций.
При длительных сроках хранения сырья в морской охлажденной воде происходят набухание тканей н частичное выделение азотистых экстрактивных веществ, поэтому сроки хранения для мелких видов рыб должны составлять не более 4 ч, а для крупных не более 8...12 ч.
Разделывание рыбы на судах выполняют вручную, а также с помощью машин и специальных приспособлений. Разделывание обеспечивает отделение съедобной части от несъедобной и рациональное использованиие всех отходов для выработки кормовой муки и жира, увеличение стойкости рыбы при хранении, а также снижение затрат при холодильной обработке.
Вручную рыбу разделывают на столах, которые необходимо периодически смывать водой, не допуская накапливания на них крови, слизи, чешуи и внутренностей. Отделяемые при разделывании части тела рыбы собирают, сортируют по видам отходов с учетом возможного их использования для получения пищевых, кормовых и технических продуктов. При разделывании с помощью машин целесообразно производить предварительное сортирование рыбы по размерам для обеспечения эффективной и экономичной работы рыборазделочных машин.
При наличии на поверхности рыбы крови, слизи и механических загрязнений перед разделыванием ее тщательно промывают.
Замораживание рыбы процесс, при котором температура рыбы понижается от начальной температуры до минус 18 °С и ниже, при этом большая часть воды, содержащейся в тканях рыбы, превращается в лед, вследствие чего создаются неблагоприятные условия для развития гнилостных микроорганизмов и действия ферментов и обеспечивается тем самым длительное хранение рыбы.
В процессе замораживания рыба претерпевает частичную потерю массы (0,5..2%), увеличение объема на 6...8%, перераспределение тканевой влаги, а также незначительную денатурацию белковых веществ. Для получения мороженой рыбы высокого качества рекомендуется применять быстрое замораживание в зоне температур от минус 1 до минус 5 °С, когда в тканях протекают наибольшие изменения. При быстром замораживании, которое достигается интенсивным теплообменом при возможно низкой температуре окружающей рыбу среды, образуются мелкие кристаллы льда, менее деформирующие ткани рыбы, чем крупные кристаллы, формирующиеся при медленном замораживании.
Глазирование, упаковывание и хранение мороженой продукции.
Перед хранением мороженую продукцию глазируют и упаковывают. Глазированием называется покрытие поверхности рыбы ледяной корочкой, которая предохраняет рыбу от усушки и окисления жира.
Обычно глазируют рыбу погружением в холодную воду на несколько секунд или орошением водой. Погружной способ предпочтителен, так как приводит к образованию равномерной глазури. Масса глазури должна составлять не менее 2...4% в зависимости от жирности рыбы. Для глазирования применяют пресную воду, температура которой должна быть не выше 2 °С. В последнее время при глазировании в морскую воду добавляют антисептик. Поскольку ледяная глазурь при хранении мороженой рыбы сублимирует, рекомендуется вводить в воду перед глазированием (предварительно подогретую) поливиниловый спирт в количестве 3...4% массы воды, вследствие чего на поверхности мороженой рыбы образуется защитная полимерная пленка, предохраняющая мороженую рыбу от усушки и окисления жира в течение длительного срока хранения (до 10 мес).
Мороженую рыбу на судах упаковывают по три блока в картонные коробки вместимостью не более 40 кг, а крупную рыбу в мешки вместимостью до 60 кг. При упаковывании в коробки блоки перекладывают пергаментом или другими влагонепроницаемыми материалами во избежание слипания. Для сохранения глазури дно ящика и верхние блоки выстилают бумагой. Между блоками с боков вставляют картонные прокладки для создания теплоизоляции и на коробку надевают заранее замаркированный чехол (обечайку). Коробки обтягивают проволокой или оклеивают гуммированной лентой.
При складировании мороженой рыбы в трюмах должны быть обеспечены устойчивость судна, сохранность качества продукции, рациональное использование вместимости трюмов и удобство выгрузки продукции.
Устойчивость судна зависит от организации загрузки трюмов, Необхо димо добиваться четкого ассортиментного разделения продукции. К заполнению твиндеков можно приступать тогда, когда наполовину загружен трюм.
Складировать груз следует рядами от борта до борта, образующиеся пустоты заполнять коробками. Необходимо следить за качеством штабелирования во избежание разваливания штабеля при качке судна. Различный ассортимент мороженой продукции следует сепарировать бумагой или старой делыо.
Хранение мороженой рыбы осуществляется при температуре не выше минус 18°С. Температурный режим должен быть постоянным, колебания не превышать ±0,5 оС. Температуру воздуха в трюмах измеряют через каждые 2 ч и фиксируют в журнале. Относительная влажность воздуха в трюмах должна быть 94...98%. При загрузке трюмов до 50% их вместимости допускается повышение температуры воздуха на 3 °С, а свыше. 50%.....на 4 °С
Упаковка
Упаковка должна производиться в условиях, не допускающих загрязнение рыбной продукции.
Упаковочные материалы и тара должны:
- не нарушать органолептические характеристики рыбной
продукции;
- изготовляться из материалов, разрешенных для контакта с
пищевыми продуктами Госкомсанэпиднадзором России;
- быть достаточно прочными.
Тара для упаковки пищевой продукции должна отвечать требованиям НД, пройти санитарную обработку (механическая очистка, мойка горячей водой с моющими средствами, дезинфекция, ополаскивание и сушка). Использование загрязненной и пораженной плесенью тары запрещается.
Тара не должна использоваться повторно. Исключение составляет
тара, легко поддающаяся очистке и дезинфекции.
Тара, используемая для хранения охлажденной льдом
продукции, должна обеспечивать хороший сток талой воды.
Неиспользованные упаковочные материалы должны храниться на территории вне участков производства и быть защищены от пыли и загрязнений.
Литература:
1. Е.Д. Ширяев, «Справочник капитана промыслового судна», М., Агропромиздат, 1990
2. В.Н. Булырев, «Морское и рыбопромысловое дело», М., Агропромиздат, 1985
3. Я.М. Копылов «Рыбопромысловое дело», М., Агропромиздат, 1985
4. ПРОИЗВОДСТВО И РЕАЛИЗАЦИЯ РЫБНОЙ ПРОДУКЦИИ. САНИТАРНЫЕ ПРАВИЛА И НОРМЫ. САНПИН 2.3.4.050-96 (УТВ. ПОСТАНОВЛЕНИЕМ ГОСКОМСАНЭПИДНАДЗОРА РФ от 11.03.96 N 6)
Характерные признаки класса «костные рыбы». Семейство тресковых