Исследование искусственного освещения в производственных помещениях
12
Лабораторная работа № 2
"Исследование искусственного освещения
в производственных помещениях"
ОБЩИЕ СВЕДЕНИЯ И ЦЕЛИ РАБОТЫ
Свет оказывает непосредственное влияние на зрительные условия работы, на работоспособность и самочувствие человека. Работа при недостаточном освещении снижает производительность труда, приводит к ослаблению зрения и является в ряде случаев причинной производственного травматизма, аварий, и брака.
Одним из важнейших требований предъявляемых к производственному освещению, является требование обеспечения достаточной освещенности, т. е. освещенность на рабочих местах не должна быть меньше предусмотренной нормами.
Цели лабораторной работы: экспериментальное определение и оценка производственного искусственного освещения рабочих мест.
ТЕОРЕТИЧЕСКАЯ ЧАСТЬ
Производственное искусственное освещение оценивается количественными (световой поток, сила света, яркость, освещенность) и качественными (фон, контраст объекта с фоном, видимость, показатель ослепленности, коэффициент пульсации светового потока) показателями.
Световой поток есть мощность лучистой энергии. За единицу светового потока условно принят люмен (лм).
Сила света есть пространственная плотность светового потока:
,
где F световой поток, лм; телесный угол стерадиан.
Сила света измеряется в кандэлах (кд).
Яркость поверхности в данном направлении это отношение силы света, излучаемого поверхностью в этом направлении, к проекции светящейся поверхности на плоскость, перпендикулярную данному направлению:
.
Освещенностью называют отношение светового потока к освещаемой поверхности:
За единицу освещенности принят люкс (лк).
Фон поверхность, прилегающая непосредственно к объекту различения, на которой он рассматривается, и может быть светлым, средним и темным в зависимости от отражения поверхности.
Контраст объекта различения с фоном определяется отношением абсолютной величины разности между яркостью объекта и фона к яркости фона. Контраст объекта различения с фоном может быть большим (объект и фон резко различаются по яркости), средним (объект и фон заметно различаются по яркости), малым (объект и фон мало различаются по яркости).
Коэффициент пульсации освещенности критерии оценки относительной глубины колебаний освещенности в результате изменения во времени светового потока газоразрядных ламп при питании их переменным током. Рассчитывают коэффициент пульсации по формуле:
,
где Еmax и Emin максимальное и минимальное значения освещенности за период ее колебания, лк; Еср среднее значение освещенности за этот же период, лк. Пульсация рабочих поверхностей во времени, возникающая при освещении газоразрядными источниками света вызывает зрительное утомление и снижает производительность труда.
Основной документ, регламентирующий проектирование освещения СНиП 23-0595 "Естественное и искусственное освещение".
Нормируемым количественным параметром является освещенность, которую нормы устанавливают для определенных условий: разряда зрительной работы (табл. 2.1), подразряда, типа источника света (газоразрядные лампы или лампы накаливания), системы освещения (комбинированная или общая).
Таблица 2.1
|
Характеристика зрительной работы |
Наименьший размер объекта различения, мм |
Разряд зрительной работы |
|
Наивысшей точности |
Менее 0,15 |
I |
|
Очень высокой точности |
0,150,3 |
II |
|
Высокой точности |
0,30,5 |
III |
|
Средней точности |
0,51,0 |
IV |
|
Малой точности |
1,05,0 |
V |
|
Грубой точности |
Более 5,0 |
VI |
|
Работа с самосветящимися ма-териалами и изделиями горячих цехов |
VII |
|
|
Обще наблюдение за ходом производственного процесса |
VIII |
|
|
Работа на механизированных и немеханизированных складах |
IX |
Значения нормируемой освещенности приведены в табл. 2.2.
Таблица 2.2
Нормы освещенности рабочих мест по характеру зрительных работ
|
Характеристи-ка зрительной работы |
Наименьший размер объек-та различения, мм |
Разряд зритель-ной работы |
Подраз-ряд зри-тельной работы |
Контраст объекта с фоном |
Характе-ристика фона |
Норма освещенности лк, при искусственном освещении |
||
|
Комби-нирован-ном |
в т. ч. от общего ос-вещения |
при систе-ме общего освещения |
||||||
|
1 |
2 |
3 |
4 |
5 |
6 |
7 |
8 |
9 |
|
Наивысшей точности |
Менее 0,15 |
I |
а |
Малый |
Темный |
5000 4500 |
500 500 |
|
|
б |
Малый Средний |
Средний Темный |
4000 3500 |
400 400 |
1000 |
|||
|
в |
Малый Средний Большой |
Светлый Средний Темный |
2500 2000 1500 |
300 200 200 |
750 600 400 |
|||
|
г |
Средний Большой Большой |
Светлый Светлый Средний |
1250 |
200 |
300 |
|||
|
Очень высокой точности |
От 0,15 до 0,3 |
II |
а |
Малый |
Темный |
4000 3500 |
400 400 |
|
|
б |
Малый Средний |
Средний Темный |
3000 2500 |
300 300 |
750 650 |
|||
|
в |
Малый Средний Большой |
Светлый Средний Темный |
2000 1500 1000 |
200 200 200 |
500 400 300 |
|||
|
г |
Средний Большой Большой |
Светлый Светлый Средний |
750 |
200 |
200 |
Продолжение табл. 2.2
|
1 |
2 |
3 |
4 |
5 |
6 |
7 |
8 |
9 |
|
Высокой точности |
От 0,3 до 0,5 |
III |
а |
Малый |
Темный |
2000 1500 |
200 200 |
500 400 |
|
б |
Малый Средний |
Средний Темный |
1000 750 |
200 200 |
300 200 |
|||
|
в |
Малый Средний Большой |
Светлый Средний Темный |
750 600 |
200 200 |
300 |
|||
|
г |
Средний Большой Большой |
Светлый Светлый Средний |
200 |
|||||
|
Средней точности |
Свыше 0,5 до 1,0 |
IV |
а |
Малый |
Темный |
750 |
200 |
300 |
|
б |
Малый Средний |
Средний Темный |
500 |
200 |
200 |
|||
|
в |
Малый Средний Большой |
Светлый Средний Темный |
400 |
200 |
200 |
|||
|
г |
Средний Большой Большой |
Светлый Светлый Средний |
200 |
Окончание табл. 2.2
|
1 |
2 |
3 |
4 |
5 |
6 |
7 |
8 |
9 |
|
Малой точности |
От 1,0 до 5,0 |
V |
а |
Малый |
Темный |
400 |
200 |
300 |
|
б |
Малый Средний |
Средний Темный |
200 |
|||||
|
в |
Малый Средний Большой |
Светлый Средний Темный |
200 |
|||||
|
г |
Средний Большой Большой |
Светлый Светлый Средний |
200 |
|||||
|
Грубая (очень малой точности) |
Более 5 |
VI |
Независимо от характеристик фона и контраста объекта с фоном |
200 |
||||
|
Работа со светящимися материалами и изделиями (в горячих цехах) |
Более 0,5 |
VII |
То же |
200 |
Примечания: 1. Наименьшие размеры объекта различения и соответствующие им разряды зрительных работ установлены при расположении объектов различения на расстоянии не более 0,5 м от глаз работающего.
2. Освещенность при использовании ламп накаливания следует снижать по шкале освещенности: на одну ступень при системе комбинированного освещения, если нормируемая освещенность составляет 750 лк и более; на одну ступень при системе общего освещения для разрядов IV, VI; на две ступени при системе общего освещения для разрядов VI и VII.
Допустимый коэффициент пульсации зависит от системы освещения и разряда зрительной работы (табл. 2.3).
Таблица 2.3
|
Система освещения по конструктивному оформлению |
Коэффициент пульсации при разрядах зрительной работы, % |
||
|
I и II |
III |
IVVIII |
|
|
Общее |
10 |
15 |
20 |
|
Комбинированное: |
|||
|
общее |
20 |
20 |
20 |
|
местное |
10 |
15 |
20 |
ЭКСПЕРИМЕНТАЛЬНОЕ ИССЛЕДОВАНИЕ
ИСКУССТВЕННОГО ОСВЕЩЕНИЯ
Применяемое оборудование
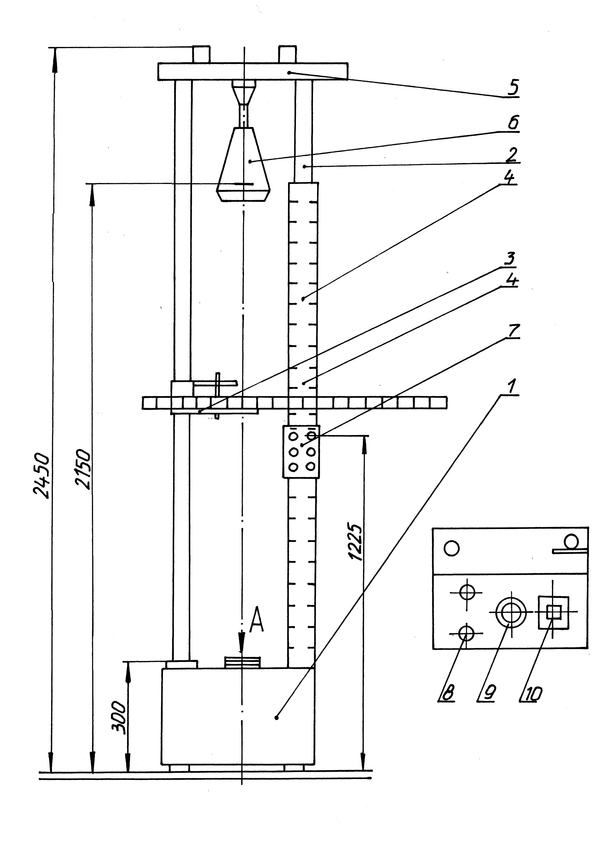
Установка по изучению освещения состоит из двух частей: осветительной стойки и люксметра Ю116.
Осветительная стойка (рис. 2.1) состоит из основания 1, двух вертикальных стоек 2, передвижного штатива 3, горизонтальной и вертикальной линеек 4, траверсы 5, на которой подвешены четыре светильника 6 (на схеме показан только один).
Лампы включаются тумблерами, размещенными на пульте управления 7, а питание установки тумблером 8 "Сеть", расположенным на основании 1.
Напряжение питания осветительных ламп изменяют маховиком 9 "Напряжение питания", при этом напряжение измеряют вольтметром 10.
Для перемещения подвижного штатива 3 следует нажать на тормозную собачку и двигать его в нужном направлении.
Фотоэлектрическим люксметром типа Ю116 измеряют освещенность. Прибор состоит из измерителя люксметра и отдельного фотоэлемента с насадками. На передней панели измерителя имеются кнопки переключателя и табличка со схемой связи между кнопками и используемыми насадками.
Прибор имеет две шкалы: 0100 и 030. На боковой стенке корпуса измерителя расположена вилка для присоединения фотоэлемента, заключенного в пластмассовый корпус, который присоединяется шнуром с розеткой к измерителю.
Косинусную погрешность уменьшает насадка на фотоэлемент, состоящая из полусферы, выполненной из белой светорассеивающей пластмассы и непрозрачного пластмассового кольца, имеющего сложный профиль. Насадка обозначена буквой К, нанесенной на ее внутреннюю сторону. Эта насадка совместно с одним из трех фильтров, имеющих обозначение М, Р, Т, образует три поглотителя с коэффициентами ослабления 10, 100, 1000.

Рис. 2.1. Общий вид осветительной стойки
При отсчете значений измеряемой освещенности нужно знать следующее. Если нажата правая кнопка, то для отсчета показаний пользуются шкалой 0100, если левая шкалой 030. Значения снятых с прибора показаний умножают на коэффициент пересчета шкалы (табл. 2.4), зависящей от применяемых насадок.
Таблица 2.4
|
Диапазон измерений, лк |
Условное обозначение одновременно применяемых двух насадок на фотоэлементе |
Общий номинальный коэффициент ослабления применяемых двух насадок коэффициент пересчета шкалы |
|
530 |
Без насадок, с открытым фотоэлементом |
1 |
|
17100 |
Без насадок, с открытым фотоэлементом |
10 |
|
50300 |
К, М |
100 |
|
1701000 |
К, М |
100 |
|
5003000 |
К, Р |
100 |
|
170010000 |
К, Р |
100 |
|
500030000 |
К, Т |
1000 |
|
17000100000 |
К, Т |
1000 |
Например, на фотоэлементе установлены насадки К, Р, нажата левая кнопка, стрелка показывает 10 делений по шкале 030. Измеряемая освещенность равна 10100 = 1000 лк.
Во избежание неточных показаний люксметра следует обеспечить фотоэлемент от излишней освещенности, не соответствующей выбранным насадкам. Поэтому, если величина измеряемой освещенности неизвестна, измерения начинают с установки на фотоэлемент насадок К, Т.
Если при насадках К, М и нажатой левой кнопке стрелка не доходит до деления 5 по шкале 030, измерения производят без насадок, т. е. открытым фотоэлементом.
По окончании измерений фотоэлемент отсоединяют от измерителя люксметра, надевают на фотоэлемент насадку Т и фотоэлемент помещают в крышку футляра.
Порядок проведения эксперимента следующий:
1) фотоэлемент люксметра помещают на площадку передвижного штатива 3;
2) передвижной штатив 3 устанавливают на расстоянии 170 см от светильника;
3) регулятором "Напряжение питания" устанавливают напряжение в сети Umax и Umin при колебаниях напряжения U = 0 %, 1 %, 2 %, 4 %, 5 %, 10 %. Устанавливаемые значения Umax и Umin при соответствующих значениях U указаны в таблице отчета.
При соответствующих значениях измеряют освещенность Еmax и Еmin. Результаты измерений заносят в таблицу отчета;
4) выключают установку;
5) рассчитывают коэффициент пульсации по формуле:
,
где Еср = Е при U = 0.
Результаты расчета заносят в таблицу 2.6 отчета.
СОДЕРЖАНИЕ ОТЧЕТА
1. Табл. 2.5 экспериментальных и расчетных данных.
2. Графическая зависимость Кп= f(U).

Рис.2.2. Зависимость коэффициента пульсации от колебаний напряжения в сети по экспериментальным данным
3. Допустимый коэффициент [Кп]доп в соответствии с третьим разрядом зрительных работ для общего освещения в системе комбинированного освещения (см. табл. 2.5).
Таблица 2.5
|
Система освещения |
Коэффициент пульсации освещённости, Кп, % |
||
|
Разряд зрительной работы |
|||
|
I и II |
III |
IV - VIIа |
|
|
Общее |
10 |
15 |
20 |
|
Комбинированное: |
|||
|
общее |
20 |
20 |
20 |
|
местное |
10 |
15 |
20 |
4. Допустимая величина колебаний напряжения сети в % и В (определяют пересечением абсциссы [Кп]доп с экспериментальной кривой Кп= f(U).
5. Вывод и рекомендации.
ЛИТЕРАТУРА
I. Айзенберг Ю.Б. Световые приборы. - М.: Энергия, 1980.-464с
2. Волоцкой Н.В. Светотехника,-М.: Стройиздат, 1979,- 142 с.
3. Строительные нормы и правила СНиП 23-05-95. Естественное и искусственное освещение, - М.: Минстрой России, I995.
4. Клюев С.А. Освещение производственных помещений. -М.: Энергия, - 152 с.
5. Справочная книга для проектирования электрического освещения/ Под ред. Г.Н.Кнорринга, - М: Энергия. 1976.- 383 с.
Таблица 2.6
Допустимые колебания напряжения сети
|
№ п/п |
U, % |
Umin, В |
Umax, В |
Еmin, лк |
Еmax, лк |
Еср, лк |
Кп, % |
Допустимый коэффициент пульсации [Кп]доп , % |
Допустимые колебания напряжения [U]доп , % |
[Umax]доп , В [Umin]доп , В |
|
1 |
0 |
220 |
220 |
|||||||
|
2 |
1 |
217,8 |
222,2 |
|||||||
|
3 |
2 |
215,6 |
224,4 |
|||||||
|
4 |
4 |
211,2 |
228,8 |
|||||||
|
5 |
5 |
209 |
231 |
|||||||
|
6 |
10 |
198 |
242 |
|||||||
|
7 |
13 |
189,2 |
248,6 |
Выполнили студенты гр. ______________________
1. Фамилия, инициалы подпись 3. Фамилия, инициалы подпись_
2. Фамилия, инициалы подпись 4. Фамилия, инициалы подпись_
Проверил преподаватель ___________подпись
Исследование искусственного освещения в производственных помещениях