ЕСТЕСТВЕННОЕ ПОЛЕ НАПРЯЖЕНИЙ МАССИВА ГОРНЫХ ПОРОД
19
Лекция 4
2 часа.
ЕСТЕСТВЕННОЕ ПОЛЕ НАПРЯЖЕНИЙ МАССИВА
ГОРНЫХ ПОРОД
Породные массивы как объекты исследования в геомеханике имеют одну очень существенную особенность по сравнению с объектами, рассматриваемыми в механике вообще или в механике твёрдых деформируемых тел, в частности. До производства работ, т.е. ещё в своём изначальном состоянии они уже находятся в напряжённом состоянии, которое обычно называют естественным или начальным напряжённым состоянием.
Кроме того, ранее уже говорилось, что глубинные разломы и разрывы земной коры являются теми естественными швами, по которым на протяжении всей геологической истории Земли непрерывно происходили тектонические движения. Вполне очевидно, что если есть движения, то должны быть и силы, их вызывающие. Силы, обусловливающие тектонические движения, называют тектоническими.
Исходя из этих положений рассмотрим детальнее напряженное состояние земной коры в целом и верхней ее части, непосредственно являющейся объектом рассмотрения геомеханики.
При этом, в качестве исходного положения примем, что напряженное состояние земной коры в общем случае определяется действием в земной коре двух независимых силовых полей. Одно из них - гравитационное поле - в соответствии с законом всемирного тяготения Ньютона, другое - тектоническое поле - обусловлено неравномерным распределением в пространстве скоростей тектонических движений и скоростей деформаций земной коры, т. е. наличием градиента тектонических движений.
4.1. Напряжённо-деформированное состояние
верхней части земной коры.
Гравитационное поле согласно закону всемирного тяготения обладает той особенностью, что оно не может быть отделено от материальных тел, его порождающих. Гравитационное поле Земли характеризуется ускорением свободного падения g, которое в общем случае является функцией расстояния r от центра Земли и плотности пород . Однако в пределах не только верхней части, но и всей толщи земной коры и верхней мантии изменения параметра g столь незначительны, что во многих практических расчетах можно принимать g = 981 см/с 1000 см/с.
Тектоническое силовое поле отличается от гравитационного значительно большей сложностью. Оно связано с неравномерными распределениями в пространстве скоростей тектонических движений и деформаций земной коры.
Современные движения земной коры по виду и темпу подразделяют на несколько типов:
- медленные или вековые движения отдельных участков земной коры, развивающиеся на протяжении, по крайней мере нескольких столетий;
- сейсмические колебания - толчки различной силы и длительности, особенно интенсивные и частые в орогенических областях, но охватывающие и области платформ;
- периодические колебания, связанные с гравитационным воздействием окружающих Землю космических тел, прежде всего Луны и Солнца (Лунно-Солнечные приливы);
- сложные колебания поверхности Земли, связанные с сезонными изменениями метеорологических условий.
Поля тектонических напряжений в настоящее время связывают с первым из указанных типов движений.
Современные медленные движения земной коры имеют вертикальные и горизонтальные составляющие, скорости которых различны и зависят, главным образом, от тектонического типа региона, строения и местоположения участка земной коры.
Данные непосредственных измерений и наблюдений в нашей стране и за рубежом свидетельствуют о приуроченности высоких горизонтальных напряжений к зонам тектонических поднятий земной коры, причём уровень горизонтальных напряжений тем выше, чем выше скорость поднятий.
Поскольку районам поднимающихся блоков литосферы свойственна повышенная сейсмичность, между степенью тектонической напряжённости и сейсмичностью существует тесная связь.
Вместе с тем, длительные поднятия участков земной коры связаны с процессами горообразования на дневной поверхности, поэтому в подавляющем большинстве случаев районы, где фиксируются высокие горизонтальные напряжения, характеризуются гористым рельефом.
Характерными признаками тектонически - напряжённых массивов являются специфические проявления горного давления в подземных выработках, дискование керна и азимутальные искривления стволов буровых скважин, а также аномально высокие величины напряжений по данным прямых натурных определений.
По данным экспериментальных исследований в породах кристаллического и складчатого фундамента горизонтальные напряжения превышают вертикальные в 60% случаев, в осадочных породах - в 15-20%. Причём это превышение может достигать до 5-10 раз и тогда именно горизонтальные напряжения определяют особенности проявлений горного давления и устойчивость конструкций и сооружений. Более, чем в 60% горизонтальные напряжения ориентированы в пределах 30 к горизонту.
Экспериментально обоснованные данные о действии в массивах наряду с гравитационным тектонического силового поля появились в 50-60-х годах. К этому времени в практике горных разработок стали сталкиваться с необычным поведением горных пород вокруг выработок, которые невозможно было совместить с имевшимися представлениями о формировании поля напряжений только под действием веса налегающих толщ пород. Так, на апатито-нефелиновых рудниках Хибинского массива на глубинах 100-150м в выработках, пройденных в весьма прочных породах ([сж] = 1800 кгс/см), стали наблюдаться интенсивные динамические явления - стреляния горных пород, представляющие собой внезапные, с сильным звуковым эффектом, отскоки от контура выработки тонких пластин породы массой от нескольких сотен граммов до десятков килограммов. При этом максимально возможные напряжения, обусловленные действием только веса налегающих пород на таких глубинах, не превышают 150-170 кгс/см, т. е. многократно ниже прочности пород. Подобные явления стали отмечать и в других районах - в Горной Шории, на Урале, а затем и в зарубежных странах.
Для выяснения причин наблюдаемых явлений, в рудниках начали выполнять прямые измерения действующих напряжений и изучать пространственные закономерности их распределения в массивах горных пород.
К настоящему времени измерения проведены на многих рудниках и в подземных сооружениях мира, в частности, на рудниках и в тоннелях Кольского полуострова, Горной Шории, Донбасса, Саян, Казахстана, Урала, Алтая, КМА, в палеозойских складчатых поясах Норвегии, Шпицбергена, Ирландии, в пределах Канадского кристаллического щита, в Африке, Юго-Восточной Австралии, Исландии, Альпах, Португалии, Малайзии, в восточной части территории США. В результате почти повсеместно было зафиксировано наличие в массивах горизонтальных сжимающих напряжений, в несколько раз превышающих возможные напряжения под действием гравитационных сил.
Весьма характерными примерами тектонически напряжённых массивов являются Хибинский и Ловозерский массивы на Кольском полуострове. Поэтому рассмотрим детально результаты исследований напряженного состояния этих массивов, проводившихся с 1960 г. лабораторией геомеханики Горного института КНЦ РАН.
Кольский полуостров, являющийся частью Скандинавского полуострова, относится к регионам, представленным раннедокембрийской материковой земной корой, т.е. он сложен наиболее древними горными породами и его становление охватывает огромный период времени - 1700-3590 млн. лет.
Геологическая история Кольского полуострова распадается на два крупных этапа:
- Протогеосинклинальный и геосинклинальный;
- Платформенный.
На первом этапе пластичная верхняя часть литосферы в пределах Кольской геосинклинальной зоны была смята в складки преимущественно северо-западного простирания. После стабилизации в среднем протерозое консолидированная земная кора реагировала на возникающие напряжения образованием разломов, главным образом, северо-западного и северо-восточного направлений, которые расчленили территорию региона на блоки различных размеров и конфигураций.
Хибинский и Ловозерский горные массивы являются крупнейшими в мире интрузиями нефелиновых сиенитов центрального типа. Их образование происходило в платформенном этапе развития Кольского региона и связано с герцинской эпохой (около 300 млн. лет) тектоно-магматической активизации Балтийского щита. Внедрение интрузий произошло в период активизации движений по глубинным разломам земной коры, к зонам которых и приурочены массивы.
Хибинский и Ловозерский массивы имеют в плане округлую форму в плане, плосковерхие очертания и пологие склоны под углом 10-30 к горизонту. Здесь расположены наиболее высокие горы на Кольском полуострове, которые имеют высоту до 1 км над окружающими долинами. Массивы удалены друг от друга на расстояние около 10 км глубокой впадиной озера “Умбозеро”(глубина до 115 м) тектонического происхождения. Площадь Хибинского массива составляет 1327 км, наивысшая точка имеет абсолютную отметку 1191 м. Площадь Ловозерского массива составляет 587 км, самая высокая вершина - с отметкой 1120 м.
Хибинский и Ловозерский массивы по геоморфологическим данным с послеледникового периода испытывают поднятия над окружающей местностью. Большинство исследователей оценивают скорость поднятия в 1-3 мм/год.
Хибинский и Ловозерский массивы системой радиальных и кольцевых разломов разбиты на ряд геологических блоков неправильной формы (рис.4.1).

Рис.4.1 Схема тектонических разломов Хибинского и Ловозерского массивов.
1 - границы массивов; 2 - кольцевые разломы; 3 - радиальные разломы; 4 - границы породных комплексов; 5 - рудные тела.
На Хибинских апатитовых рудниках непосредственные измерения напряжений проведены на всех доступных горизонтах, в основном за пределами области влияния очистных пространств и, главным образом, в породах лежачего бока, представленных высоко упругими, слабо нарушенными ийолит-уртитами. Именно в таких условиях метод разгрузки дает наиболее надежные результаты. Обобщённые результаты измерений приведены в таблице 4.1.
Как следует из приведенных данных, на всех глубоких горизонтах сохраняется превышение горизонтальными напряжениями вертикальных. Причем это превышение может быть весьма существенным, особенно во вмещающих породах лежачего бока (до 10 и более раз).
Просматривается взаимосвязь измеренных горизонтальных напряжений с прочностными и деформационными свойствами пород. Более жестким, высокоупругим разностям соответствует больший уровень измеренных горизонтальных напряжений. Так, величина напряжений в уртитах в целом составляют (2570)МПа, в рудах (1550)МПа.
Наблюдается возрастание напряжений вблизи геологических нарушений. Например, на Расвумчоррском руднике в районе мощной зоны окисленных пород измеренные напряжения на гор.+470м достигают величины (5565)МПа, в то время как даже на более глубоком гор.+450м (3045)МПа.
Результаты определений показывают также дальнейший рост напряжений с глубиной. Так, если на гор.+322м Кировского рудника в лежачем боку
Результаты натурных измерений напряжений
на Хибинских рудниках.
Таблица 4.1
|
Гори-зонт |
Наименование пород |
Максимальные напряжения S МПа |
S/S |
Азимут вектора S, град. |
Наклон S к гори-зонту, град. |
|
Кукисвумчоррское месторождение (Кировский рудник) |
|||||
|
+322м |
Богатые руды Бедные руды и вмещаю-щие породы |
15-30 -40 |
.5-0.6 .4-0.5 |
±30 ±30 |
±30 ±20 |
|
+252м |
Богатые руды Бедные руды и вмещаю-щие породы |
20-30 -50 |
0.5-0.6 0.4-0.5 |
±30 ±30 |
±10 ±10 |
|
+172м |
Богатые руды Бедные руды и вмещаю-щие породы |
30-40 -60 |
.5-0.7 .4-0.7 |
±30 ±30 |
±20 ±20 |
|
Юкспорское месторождение (Кировский рудник) |
|||||
|
+600м |
Богатые руды Бедные руды и вмещаю-щие породы |
10-20 -30 |
.5-0.7 .4-0.7 |
±30 ±30 |
±20 ±20 |
|
+410м |
Богатые руды Бедные руды и вмещаю-щие породы |
15-25 -40 |
.5-0.8 .5-0.6 |
±30 ±33 |
±20 ±20 |
|
+320м |
Богатые руды Бедные руды и вмещаю-щие породы |
20-30 -50 |
.5-0.6 .5-0.6 |
±30 ±34 |
±20 ±20 |
|
Месторождение Расвумчорр цирк (Расвумчоррский рудник) |
|||||
|
+600м |
Богатые руды, Бедные руды и вмещаю-щие породы |
20-30 -50 |
0.2-0.5 0.2-0.4 |
±30 ±30 |
±25 ±25 |
|
+530м |
Богатые руды Бедные руды и вмещаю-щие породы |
20-30 -50 |
.3-0.5 .4-0.5 |
±30 ±30 |
±25 ±25 |
|
+470м |
Богатые руды Бедные руды и вмещаю-щие породы |
30-50 -70 |
.3-0.6 .4-0.7 |
±30 ±30 |
±25 ±25 |
максимальные напряжения составляли 30МПа, на гор.+252м 42МПа, то последними измерениями в околоствольных выработках вспомогательного ствола в районе разреза 12 на гор.+172м и +92м получены напряжения, соответственно 50МПа и 57МПа.
Общей закономерностью полей напряжений массива пород на рудниках Хибинского массива является снижение степени их неоднородности по мере увеличения глубины разработки и уменьшения степени влияния рельефа.
Так, на Расвумчоррском руднике, в связи с относительно высокими отметками дна Расвумчоррской долины и обширным плато, окружающим рудник с трех сторон, уже гор.+530м и +470м относятся к глубинным и поэтому параметры поля напряжений здесь наиболее стабильные по площади и глубине по сравнению с другими рудниками.
На Юкспорском руднике параметры поля напряжений наиболее изменчивы. Отрабатываемые гор.+460м и +410м, а также подготавливаемый к отработке гор.+320м являются переходными от нагорных к глубинным, и поэтому распределение напряжений здесь весьма неравномерно как по глубине, так и по площади и в значительной мере определяется положением точки измерения относительно элементов рельефа.
В целом, обобщая все результаты определения напряжений на действующих и разведуемых месторождениях Хибин с использованием различных методов исследований: разгрузки, сейсмических, инклинометрических измерений искривления геологоразведочных скважин и разрушения их поперечного сечения, дискования керна, а также реконструкции по тектонофизическим данным, можно видеть, что максимальные сжимающие напряжения направлены вдоль дуги рудоносных ийолит-уртитов на всём её протяжении в соответствии с особенностями строения Хибинского массива (рис. 4.2).

Рис. 4.2. Схема действия тектонических напряжений на эксплуатируемых и перспек-тивных месторождениях Хибин.
:1 - направления тектонических напряжений по данным инструментальных исследований; 2 - прогнозные направления тектонических напряжений; 3 - месторождения (1 - Кукисвумчоррское; 2 - Юкспорское; 3 - Апатитовый Цирк; 4 - Плато Расвумчорр; 5 - Коашва; 6 - Олений ручей); 4 - нефелиновые сиениты; 5 - массивные слюдяные рисчорриты; 6 - рисчорриты; 7 - ийолит-уртиты; 8 - гнейсовидные рисчорриты; 9 - трахитоидные ийолиты; 10 - апатито-нефелиновые породы.
Горизонтальные тектонические силы проявляются не только в породах кристаллического фундамента, но и в осадочных толщах пород, начиная с глубин в несколько километров. Об этом свидетельствуют, в частности, сверхвысокие или аномально высокие пластовые давления, которые присущи нефтяным и газовым месторождениям, приуроченным к подвижным неотектонически активным зонам на суше и на шельфах морей во всем мире.
Таким образом, к настоящему времени установлены некоторые закономерности в распределении тектонических сил:
- горизонтальные напряжения приурочены к районам восходящих движений блоков земной коры;
- региональные поля напряжений соответствуют общим структурам месторождений;
- наиболее высокие значения горизонтальных напряжений отмечаются у границ блоков вблизи геологических нарушений, в самих зонах геологических нарушений горизонтальные напряжения имеют сравнительно невысокие значения;
- в элементах гористого рельефа высокие значения горизонтальных напряжений наблюдаются ниже дна долин; выше местных базисов эрозии, ближе к вершинам гор горизонтальные напряжения минимальны по величине; количественные различия достигают 3-5 раз;
- горизонтальные напряжения выше в более упругих и монолитных породах; при увеличении модуля упругости от 2.10 до 8.10 МПа и скоростей продольных волн от 2.10 до 7.10 м/с тектонические напряжения увеличиваются от 10 до 60 МПа.
Вообще говоря, кроме этих двух полей в земной коре действуют ещё много других факторов, которые вносят свой вклад в формирование общего поля напряжений. К ним относятся условия генезиса массива, температурные поля, физические свойства горных пород, рельеф земной поверхности, действие подземных и наземных вод и газов, космические факторы. Однако все эти факторы можно рассматривать как искажающие основное гравитационно-тектоническое поле напряжений, хотя суммарный их вклад может быть очень велик и намного превосходить гравитационно-тектонические параметры поля напряжений.
4.2. Гравитационная составляющая
полного тензора напряжений массива пород.
В наиболее общем виде, как было показано ранее, напряженное состояние в какой-либо точке массива может быть описано тензором напряжений Т в виде матрицы его компонентов:
|
х |
ху |
хz |
|
yx |
y |
yz |
|
zx |
zy |
z |
где х, y и z - нормальные, а ху, хz, yx, yz, zx, zy - касательные напряжения.
Матрица тензора напряжений может быть выражена главными нормальными напряжениями ;;:
|
0 |
0 |
|
|
0 |
0 |
|
|
0 |
0 |
Для решения задач геомеханики, учитывая проявление в одних случаях только гравитационных, а в других - как гравитационных, так и тектонических сил, удобно присваивать индексы 1, 2 и 3 в матрице тензора таким образом, чтобы главное напряжение в вертикальном направлении обозначалось , наибольшее по модулю главное горизонтальное напряжение (в случае действия тектонических сил) - , другое главное горизонтальное напряжение - . Направления действия главных нормальных напряжений называют главными осями напряжений.
Таким образом, главное напряжение в вертикальной плоскости всегда определяется весом пород вышележащей толщи и в случае различных плотностей (объемных весов) покрывающих пород имеет вид:
H
= i hi (4.1)
0
где i - объемный вес i-го слоя пород; hi - мощность i-го слоя; Н - глубина рассматриваемой точки от дневной поверхности.
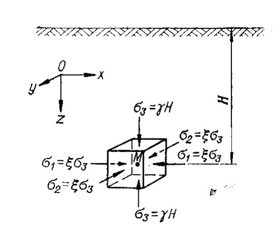
Если напряженное состояние массива пород определяется только действием гравитационных сил, то каждый элементарный объем (рис. 4.3) под действием

Рис. 4.3. Схема к расчету гравитационных напряжений в массиве пород.
вертикального гравитационного напряжения будет испытывать деформации сжатия в вертикальном (по оси Оz) и деформации растяжения в горизонтальных направлениях (по осям Ох и Оу). Однако последним препятствует реакция окружающих пород, в результате чего возникают горизонтальные сжимающие напряжения и , численно равные
= = H = --------- H. (4.2)
1 -
Здесь коэффициент называется коэффициентом бокового давления или коэффициентом бокового отпора.. Этот коэффициент показывает, какую часть вертикальной нагрузки, действующей в рассматриваемой точке массива, составляют силы или напряжения, действующие в горизонтальной плоскости.
Для горных пород коэффициент поперечных деформаций изменяется в пределах от 0.08 до 0.5, соответственно крайние возможные пределы изменения составляют от 0,1 до 1. Следует подчеркнуть, что в соответствии с физическим смыслом коэффициента v, его значения не могут превышать 0.5, поэтому и значения коэффициента бокового давления не могут быть больше 1. В противном случае среда теряет свою сплошность.
Это положение имеет принципиальное значение и должно использоваться при анализе и интерпретации результатов натурных измерений.
При слоистом строении массива значения горизонтальных напряжений и определяются конкретными значениями коэффициентов поперечных деформаций i для соответствующего слоя. В связи с этим, если вертикальное напряжение будет монотонно возрастать по мере увеличения глубины рассматриваемых слоев, то горизонтальные напряжения и при общей тенденции возрастания могут как увеличиваться, так и уменьшаться при переходе от слоя к слою.
Главное напряжение , обусловленное действием гравитационных сил, может в отдельных случаях отклоняться от вертикали вследствие наклонного залегания отдельных слоев пород, их складчатости и различной мощности, а также при сложном рельефе поверхности или наличии пустот в недрах. Отклонения эти обычно не превышают нескольких градусов, в редких случаях достигая 10 - 15°.
Изменение горизонтальной составляющей гравитационного поля напряжений по глубине характеризуется градиентом гравитационных напряжений г, который также является функцией средней плотности пород, слагающих массив, и составляет 0,25 - 0,32 кгс / (см.м).
Предельные значения = 0,5 и = l выражают, как это следует из формулы (4.2), условие гидростатического распределения напряжений в массиве, т. е. такого распределения, когда
= = (4.3)
Гидростатическое напряженное состояние является частным случаем напряженного состояния массива и характерно для таких пород, как глины, слабые глинистые и песчаные сланцы, каменные соли, слабые угли, способных к вязкопластическому течению при сравнительно невысоких нагрузках. По мнению многих исследователей, весьма прочные породы по мере роста глубины и связанного с ним роста давлений и температур также постепенно переходят в пластическое состояние, так что на достаточно больших глубинах распределение напряжений приближается к гидростатическому независимо от состава пород, слагающих массив. Однако в случае весьма прочных скальных пород эти глубины исчисляются, по-видимому, десятками километров, т. е. значительно больше глубин, реально достижимых при горных разработках.
4.3. Тектоническая составляющая
полного тензора напряжений массива пород.
Поля тектонических напряжений гораздо менее однородны, чем поля гравитационных напряжений. Их параметры могут значительно изменяться как в пространстве, так и во времени. В частности, изменчивы ориентировка осей главных напряжений и их абсолютные значения. Поскольку в большинстве случаев тектонические напряжения действуют в горизонтальных или близких к ним направлениях, изменение тектонических напряжений по глубине может быть охарактеризовано вертикальным градиентом тектонических сил т, выражающим зависимость максимального главного горизонтального сжимающего напряжения от глубины.
Градиент т в общем случае является переменной величиной, зависящей от строения массива и рельефа земной поверхности.
Рассматривая напряженное состояние какого-либо элементарного объема в массиве (рис. 4.4), подверженном действию горизонтальных тектонических сил, можно утверждать что одно из главных нормальных горизонтальных напряжений численно

Рис. 4.4 Схема к расчету параметров поля напряжений при действии горизонтальных тектонических сил.
равно:
= Тн, (4.4)
где Тн - горизонтальное тектоническое напряжение в рассматриваемом массиве.
Для напряжений и справедливы следующие соотношения:
= Тн; = Тн, (4.5)
причем
--------- 0; --------- . (4.6)
- 1 -
Поскольку гравитационные напряжения в массиве всегда имеют место, в случае действия тектонических сил напряжённое состояние массива будет определяться суммой двух тензоров:
Т = ТГ + ТТ (4.7)
где ТГ,ТТ - тензоры напряжений, обусловленные соответственно действием гравитационного и тектонического полей напряжений.
В свою очередь ТГ равняется
|
Г |
0 |
0 |
H |
или при |
H |
|||||
|
0 |
Г |
или |
0 |
H |
гидростати- |
0 |
H |
|||
|
0 |
Г |
H |
ческом поле |
0 |
0 |
H |
Тензор тектонических напряжений ТТ для какой-либо точки массива, расположенной на глубине H от дневной поверхности, имеет вид
|
Т |
Т + тН |
|||||
|
0 |
Т |
или |
0 |
(Т + тН) |
0 |
|
|
0 |
Т |
(Т + тН) |
где То-значение горизонтальных тектонических напряжений на уровне дневной поверхности (или другой плоскости отсчета глубины).
Как следует из выражения (4.7), тензор тектонических напряжений может быть получен как разность экспериментально определенного полного тензора напряжений и расчетного тензора гравитационных напряжений на той же глубине.
В заключение необходимо высказать ряд замечаний общего характера.
Прежде всего, рассматривая действие гравитационных и тектонических полей мы не упоминали влияния параметра “время”на состояние конкретных массивов пород.
Однако в литературе неоднократно высказывались мнения о влиянии реологических процессов на формирование начальных полей напряжений породных массивов. При этом в большинстве случаев считалось, что в результате релаксации напряжений за весьма длительный период существования массива начальное поле имеет тенденцию к выравниванию и таким образом негидростатические поля трансформируются в гидростатические, т.е. равнокомпонентные. Однако, результаты непосредственных измерений компонент напряжений в натурных условиях не подтверждают подобной тенденции, по-видимому подобное положение может проявляться только в отдельных конкретных ситуациях.
Если же вспомнить о иерархично-блочной структуре массивов горных пород, то логично было бы предположить, что подобную иерархично-блочную структуру должно иметь и начальное поле напряжений. При этом, поскольку гравитационное поле действует повсеместно и определяется плотностными свойствами и глубиной рассматриваемой точки от дневной поверхности, по-видимому именно тектоническая составляющая обусловливает иерархичность общего поля естественных напряжений массива пород.
Тогда, величины действующих начальных напряжений в каком-либо конкретном структурном блоке массива пород (а о точке массива в данном случае говорить уже некорректно) будут определяться его положением в системе других блоков более низкого ранга и параметрами напряжённого состояния на границах структурных блоков каждого из более низких рангов. Вполне естественно, что задача определения начального напряжённого состояния при такой постановке становится весьма сложной, хотя некоторые результаты, подтверждающие высказанные предположения, в последнее время уже появились.
В частности, по современным представлениям выделяются поля напряжений различного масштабного уровня или ранга: глобальные, региональные, локальные и частные (табл.4.2).
Характеристика полей напряжений различных рангов.
Таблица 4.2..
|
Ранг |
Наименование поля напряжений |
Определяющие факторы |
|
0 |
Глобальные |
Общее увеличение объёма Земли Изменение формы и положения оси вращения планеты. Космические факторы. |
|
I |
Региональные |
Латеральные потоки астеносферы. Образование новых рифтов. Смена направления движения плит. Взаимодействие литосферных плит (субдукция, столкновение плит, скольжение или сдвиг плит). |
|
II |
Локальные |
Рельеф поверхности. Вертикальные движения блоков. Разломы, складки, деформации пачек слоёв. |
|
III |
Частные |
Трещиноватость, слоистость. Деформации слоя пород, раздувы, пережатия. Свойства пород. |
|
IV |
Точечные |
Деформации зеёрен. Образование микротрещин. |
Глобальные поля напряжений характерны для крупнейших структур - типа континентов и океанических впадин, т.е. для структурных элементов самого низкого ранга.
Региональные поля напряжений соответствуют следующему типу структурных элементов - литосферным плитам и крупным коровым разломам.
Локальные и частные поля напряжений формируются в структурных блоках меньшего уровня, и, наконец точечные поля соответствуют уровню кристаллических зёрен или, другими словами, структурных неоднородностям самого высшего уровня.
Однако при этом необходимо заметить, что в настоящее время ещё недостаточно данных, чтобы уверенно говорить о количественных характеристиках выделенных рангов полей напряжений. Пока можно лишь утверждать, что по мере уменьшения структурных блоков или, другими словами, при переходе к более высоким порядкам структурных неоднородностей, поля напряжений становятся более неоднородными, а следовательно, возрастают величины касательных напряжений.
Всё сказанное свидетельствует о том, что проблема определения естественных или начальных полей напряжений массива горных пород является чрезвычайно важной для геомеханики и пока ещё достаточно далека от своего решения.
ЕСТЕСТВЕННОЕ ПОЛЕ НАПРЯЖЕНИЙ МАССИВА ГОРНЫХ ПОРОД