Организация и управление международными перевозками
Министерство образования Омской области
Бюджетное образовательное учреждение Омской области
среднего профессионального образования
«Омский колледж отраслевых технологий строительства и транспорта»
Специальность 100120 «Сервис на транспорте» (по видам транспорта)
Допускается к защите
И.о. зав. транспортного отделения
___________/Крыль И.В. /
«_____»_______________2014 г.
Пояснительная записка
к дипломной работе
Студент: Крутаков Вадим Михайлович
Тема работы: «Организация и управление международными перевозками»
Пояснительная записка представлена на 66 листах
Руководитель работы _______________________/ Нургабылова Ж.Г./
Омск 2014 г
Министерство образования Омской области
Бюджетное образовательное учреждение Омской области
среднего профессионального образования
«Омский колледж отраслевых технологий строительства и транспорта»
«УТВЕРЖДАЮ»
председатель ПЦК
_________________
«___»______2014 г.
ЗАДАНИЕ
на дипломную работу
Студент Крутаков Вадим Михайлович
Специальность 100120 «Сервис на транспорте» (по видам транспорта)
1. Тема работы_ «Организация и управление международными перевозками»
2.Содержание расчетно-пояснительной записки (перечень подлежащих рассмотрению вопросов)
1 Организация перевозок груза в международном сообщении
1.1 Транспортная характеристика перевозимого груза
1.2 Изучение условий перевозок состояние дорожной сети, возможные скорости движения, анализ маршрута перевозки груза
1.3 Правила перевозок груза автомобильным транспортом
1.4 Путевая документация при организации международных перевозок
2 Выбор технических средств для перевозки груза
3 Организация работы водителей при международных перевозках
4 Правила прохождения таможенного надзора
Главный консультант Нургабылова Ж.Г.
Тема проекта утверждена приказом по ОКОТСиТ
№___ от «______»_____________20___ г.
Дата выдачи задания «___» ___________ 20___ г.
Срок сдачи проекта «_____» _____________ 2014 г.
|
Руководитель__________________________ ПОДПИСЬ |
Студент__________________________ ПОДПИСЬ |
Реферат
Дипломная работа выполнена на тему: «Организация и управление международными перевозками».
Пояснительная записка содержит 66 листов печатного текста, 14 рисунков и использовано 10 источников.
Первая глава описывает организацию перевозок груза в международном сообщении. Во второй главе описан выбор технических средств для перевозки груза. В третьей главе описана организация работы водителей при международных перевозках. В четвертой главе были представлены правила прохождения таможенного надзора.
Содержание
|
Введение……………………………………………………………………. |
5 |
|
1 Организация перевозок груза в международном сообщении………… |
6 |
|
1.1 Транспортная характеристика перевозимого груза……………… |
6 |
|
1.2 Изучение условий перевозок состояние дорожной сети, возможные скорости движения, анализ маршрута перевозки груза…………… |
20 |
|
32 |
|
1.4 Путевая документация при организации международных перевозок |
41 |
|
2 Выбор технических средств для перевозки груза…………………… |
52 |
|
3 Организация работы водителей при международных перевозках…. |
56 |
|
4 Правила прохождения таможенного надзора………………………. |
58 |
|
Заключение………………………………………………………………… |
64 |
|
Список использованной литературы…………………………………….. |
65 |
Введение
Стабильная и эффективная работа транспортного комплекса является важнейшим условием жизнеобеспечения многоотраслевой экономики и реализации основных направлений программы социально экономического развития страны.
Транспорт обслуживает практически все виды международных экономических отношений, является важнейшим источником валютных поступлений в страну, выступая на международном рынке как экспортёр транспортных услуг.
В общем объёме экспорт услуг 63,5% составляет экспорт транспортных услуг, в том числе железнодорожный транспорт - 20,5%, автомобильный транспорт 12,0% и воздушный транспорт 1.9%.
Наиболее растёт экспорт автотранспортных услуг. Развитие указанных услуг обусловлено как географическим положением страны, так и развитой транспортной инфраструктурой.
Общая и наиболее важная особенность международного автомобильного сообщения состоит в том, что автотранспортные средства одной страны пересекают государственную границу и следуют по дорогам другого государства. Поэтому для развития международного автомобильного сообщения и обеспечения его безопасности вводится установление единообразных правил дорожного движения, дорожных знаков и сигналов. Осуществление перевозки по иностранной территории предполагает также получение соответствующей санкции (разрешения) компетентных органов этого иностранного государства. Одновременно возникает необходимость в урегулировании таможенных и налоговых вопросов, а также оказании технической помощи иностранным автотранспортным средствам.
1 Организация перевозок груза в международном сообщении
В данной работе будет рассмотрена международная перевозка на примере Омск Караганда. Перевозимым грузом будет являться кондитерские изделия, доставка которых будет осуществляться автомобильным транспортом.
К междугородным относятся перевозки грузов, выполняемые автотранспортом за пределы города (черты населенного пункта) на расстояние свыше 50 км.
Развитие перевозок грузов в междугородном сообщении обусловлено расширением сети автомобильных дорог и их непрерывным совершенствованием.
Перевозки автотранспортом в междугородном сообщении сделали выгодным переключение грузов, перевозимых на расстояние 100 - 50 км, с железнодорожного транспорта на автомобильный. Несмотря на то, что стоимость перевозок автотранспортом несколько выше, они обеспечивают непосредственную доставку грузов от отправителя к получателю без промежуточных перегрузок «От двери отправителя к двери получателя», а с учетом стоимости перевозок по железной дороге, подвоза груза к станциям и вывоза его со станций, перегрузок в пунктах отправления и получения сокращения сроков доставки и повышения сохранности грузов общая народнохозяйственная эффективность автоперевозок на расстояние 100 150 км значительно выше железнодорожных.
1.1 Транспортная характеристика перевозимого груза
Кондитерские товары это изделия, большая часть которых состоит из сахара или другого сладкого вещества (меда, ксилита, сорбита), а также патоки, различных фруктов и ягод, молока, сливочного масла, какао-бобов, ядер орехов, муки и других компонентов. В основном это сладкие продукты, отличающиеся приятными вкусом и ароматом, красивым внешним видом, высокой пищевой ценностью, калорийностью и хорошей усвояемостью.
Разнообразные кондитерские товары подразделяют на две группы: сахаристые и мучные. К сахаристым относят фруктово-ягодные изделия, карамель, драже, шоколад, какао-порошок, конфеты, ирис, халву и восточные сладости типа карамели и конфет. К мучным, кондитерским изделиям относят печенье, пряники, вафли, кексы, ромовые баба, рулеты, мучные восточные сладости, торты, пирожные.
Пищевая ценность кондитерских изделий обусловлена имеющимся в них комплексом необходимых организму человека веществ (углеводов, белков жиров, минеральных веществ, витаминов и др.). Основными направлениями в разработке новых видов кондитерских изделий являются совершенствование ассортимента товаров для детского и диетического питания, увеличение количества белка, снижение содержания углеводов, и в первую очередь сахаров. В связи с тем, что белок является не только полноценным, но и дефицитным компонентом продуктов питания, на современном этапе ведется изыскание новых видов белково-содержащего сырья, которое может быть успешно использовано в производстве кондитерских изделий (молоко и молочные продукты, соя, глютен кукурузы, полуобезжиренная масса семян подсолнечника, мука Тритикале, Кама и др.). Для повышения биологической ценности изделий используют также такое ценное сырье, как плоды и овощи. С целью сохранения белка, витаминов, ферментов и других биологически-активных веществ изыскиваются также новые технологические процессы производства кондитерских изделий.
Мучные кондитерские изделия занимают второе место по объему производства в кондитерской промышленности и, кроме того, вырабатываются в значительном количестве на предприятиях хлебопекарной промышленности.
Благодаря высокому содержанию углеводов, жиров и белков мучные кондитерские изделия являются высококалорийными, хорошо усваиваемыми продуктами питания с приятным вкусом. Из-за низкой влажности некоторые виды печенья являются ценным пищевым концентратом.
Ассортимент мучных кондитерских изделий очень разнообразен и отличается рецептурой, различной формой, отделкой и вкусом.
В зависимости от применяемого сырья и технологического процесса его переработки мучные кондитерские изделия подразделяются на следующие подгруппы:
Печенье затяжное - печенье разнообразной плоской формы, слоистой структуры, со сквозными проколами, глазированное, неглазированное. Массовая доля общего сахара не менее 10 %. Массовая доля жира не более 20%. Массовая доля влаги не более 8%;
Печенье сдобное - печенье разнообразной плоской или объемной формы, с начинкой, без начинки, глазированное, неглазированное. Сумма массовых долей сахара, и /или жира, и/или яичных продуктов, и/или молочных продуктов не менее 30%. Массовая доля влаги не более 9 %;
Печенье слоёное - два печенья, прослоенные отделочным полуфабрикатом, глазированное, неглазированное;
Крекер - печенье слоистой структуры, с маслянистой поверхностью. Массовая доля общего сахара не более 10%.. Массовая доля жира не менее 15 %, влаги не более 5%;
Галеты - печенье слоистой структуры, со сквозными проколами. Сумма массовых долей сахара и /или жира не более 10%. Массовая доля влаги не более 10%;
Вафли - мучное кондитерское изделие из вафельных листов, прослоенных начинками они должны вырабатываться в соответствии с требованиями настоящего стандарта по рецептурам и технологическим инструкциям, с соблюдением санитарных правил, утвержденных в установленном порядке. Вафли не способно к пластическим деформациям и являются типичными хрупкими телами. Мерой хрупкости печенья считают сопротивление динамическим нагрузкам (удару).
Пряничные изделия - мучные кондитерские изделия разнообразной формы, с содержанием пряностей, с рисунком или без рисунка, с начинкой или без нее, глазированные различными глазурями или неглазированные, с массовыми долями: общего сахара не менее 24%, влаги не более 20%;
Кексы - мучные кондитерские изделия объемной формы, с крупными и/или мелкими добавлениями или без них, с начинкой или без нее, с отделкой поверхности или без нее, с массовыми долями: общего сахара не менее 20 % и жира не менее 10 %, влаги не более 30%;
Рулеты - мучные кондитерские изделия, изготовленные из свернутого выпеченного полуфабриката и отделочного полуфабриката с отделкой поверхности или без нее;
Торт - сложное, многокомпонентное кондитерское изделие, состоящее из двух и более различных полуфабрикатов: выпеченного и отделочного. Имеет разнообразную объемную форму, с оформлением поверхностей отделочными полуфабрикатами. Масса не менее 200г.
Пирожное - сложное, многокомпонентное кондитерское изделие, состоящее из двух и более различных полуфабрикатов: выпеченного и отделочного. Имеет разнообразную объемную форму, с оформлением поверхностей отделочными полуфабрикатами. Масса не более 150г.
Печенье должно изготовляться в соответствии с требованиями настоящего стандарта по рецептурам и технологическим инструкциям, с соблюдением. Печенье не способно к пластическим деформациям и являются типичными хрупкими телами. Мерой хрупкости печенья считают сопротивление динамическим нагрузкам (удару).
Халва должна храниться при температуре не выше 18 С, относительной влажности не более 70%. Гарантийные сроки хранения при этих условиях: халвы кунжутной и глазированной шоколадом - 2 мес.; ореховой, арахисовой, подсолнечной и комбинированной - 1,5 мес.
Карамель открытую с защитной обработкой поверхности, завернутую и фасованную упаковывают массой от 5 до 20 кг в достаточно прочную тару, выстланную упаковочной бумагой.
Шоколад выпускают в завертке, расфасованный в коробки и весовой без завертки. Завертка предохраняет шоколад от действия света, влаги, загрязнений и придает ему привлекательный внешний вид. В маркировке шоколада массой 50 г и более наряду с обычными обозначениями указывают состав основных компонентов.
В зависимости от рецептуры вафли выпускают прямоугольными, круглыми, фигурными и в виде палочек.
Мучные кондитерские изделия относятся к разряду нескоропортящихся продуктов, так как содержание влаги в них невелико, а также в них содержится большое количество сахара и жиры, что так же в свою очередь тормозит многие реакции и ингибирует рост микроорганизмов. Это все удлиняет сроки хранения. Поэтому мучные кондитерские изделия можно брать с собой в дальние поездки.
Известно, что приготовление мучных кондитерских изделий, как правило, связано с использованием жиросодержащего сырья, к которому предъявляются особые требования безопасности. Важным показателем безопасности жировых продуктов является содержание в них окислительных высокомолекулярных и летучих соединений, свободных жирных кислот, диглицеридов и других веществ. Известно так же, что масла, под влиянием высоких температур, выделяют целую гамму вредных веществ, в том числе и канцерогенных. Для исключения влияния вредных компонентов на организм человека, к фритюрной обработке полуфабрикатов в маслах и жирах предъявляют жесткие требования.
Наиболее распространенные пороки при хранении кондитерских товаров это увлажнение, высыхание, микробиологическая порча, прогоркание жиров, а также изменение структуры, вкуса, аромата и т. д.
Увлажнение при хранении является результатом поглощения избыточной влаги, появляющейся в связи с резким колебанием температур.
Обеспечить сохранность кондитерских изделий во влажной среде довольно сложно, так как влага - это идеальная среда для развития микроорганизмов и плесени.
Плесневение - самый распространенный вид порчи пищевых продуктов, обусловленный жизнедеятельностью микроорганизмов, и в первую очередь плесневых грибов. Они являются очень жизнеспособными и очень распространены в окружающей среде, что создает трудности при гарантировании сроков хранения изделий. В наше время существует множество способов препятствия росту микроорганизмов. При производстве мучных кондитерских изделий используют патоку, которая повышает их гигроскопичность и намокаемость. Например, при изготовлении пряников добавление патоки предотвращает преждевременный процесс черствения. Для начинок вместо патоки рекомендуется использовать фруктозу.
Прогорклость является следствием окислительных процессов. Этот процесс в разных условиях изменяет скорость протекания. Например, при увеличении доступа света и кислорода воздуха к кондитерским изделиям ускоряет процесс прогоркания, в то время как введения антиоксидантов тормозит этот процесс.
Ассортимент кондитерской продукции очень разнообразен, и технология каждой группы существенно отличается по качеству используемого сырья, оборудования, технологических процессов. Однако гарантийный срок хранения разных групп кондитерских изделий во многих случаях зависит от одного и того же доминирующего фактора. Например, технология печенья, технология шоколада, пралиновых конфет существенно отличается, а доминирующий фактор, определяющий гарантийный срок хранения, у них одинаковый. Это состояние липидного комплекса. Другой пример технология пряников, молочных и помадных конфет, мармелада не имеет ничего общего, а доминирующий фактор, определяющий их срок хранения, одинаковый это их десорбционная способность, от которой зависит процесс черствения изделий в процессе хранения. Сохранность качества таких разных кондитерских групп, как вафельные листы, зависит от одного и того же качественного показателя их сорбционной способности, способности поглощать воду из окружающей среды.
Прогоркание жиров сопровождается процессами разрушения легкоокисляемых компонентов пищевых продуктов. Это витамины, особенно А и Е, пигменты, некоторые ароматические вещества. Если в кондитерских изделиях содержится жир и водорастворимые витамины, то последние инактивируются прогорклым жиром. Особенно это относится к витаминам группы В и биотину (витамин Н).
Интенсивность окислительных процессов в большей мере зависит от жирно-кислотного состава жира, который используется при приготовлении кондитерских изделий. Окисление жиров в кондитерских изделиях можно замедлить, преимущественно используя в рецептурах мучных кондитерских изделий жиры, содержащие насыщенные жирные кислоты, поскольку жиры с большим количеством ненасыщенных жирных кислот в первую очередь подвержены процессу окисления.
Установлено антиокислительное действие моносахарида фруктозы при производстве сдобного печенья.
Значительно меньшую интенсивность окисления жиров в печенье на фруктозе можно объяснить тем, что в нем в большом количестве находятся продукты реакции меланоидинообразования, которые имеют свойства антиоксидантов.
Если хранить печенье не упакованным при высокой относительной влажности воздуха, то оно будет поглощать влагу, а при низкой терять. Даже при относительной влажности воздуха 75% равновесная влажность печенья в зависимости от состава составляет 8,59,5%, а в соответствии с рецептурой влажность печенья должна быть 67%. Следовательно, неупакованное печенье даже при хранении в складских помещениях с относительной влажностью воздуха 7075% будет постепенно поглощать влагу и терять хрупкость.
Если для одних изделий сорбция влаги играет отрицательную роль при установлении сроков хранения, то для других, таких как пряничные изделия, помадные положительную. Для этих изделий процесс десорбции влаги во времени хранения играет отрицательную роль. И первое, что может затормозить процесс десорбции, это упаковка готовой продукции.
При хранении кондитерских изделий изменяются значения органолептических, физико-химических, микробиологических показателей. Безусловно, главный критерий оценки качества кондитерских изделий есть органолептические показатели, изменение которых обусловлено сложными физическими, химическими, биохимическими, микробиологическими процессами, происходящими при хранении.
Печенье, пряники, вафли, крекер, галеты должны хранится при температуре не выше 18С и относительной влажности воздуха не более 75%.
Торты и пирожные для предотвращения пищевых токсико-инфекций должны храниться при температуре 4-8°С. Сроки реализации изделий со сливочным кремом не более 36 ч, с заварным кремом - не более 6 ч с момента их изготовления.
Гарантом сохранности качества товаров и сокращения товарных потерь является соблюдение режима хранения, от которого зависит схема размещения товаров на складе и установление товарного соседства.
Основными показателями, характеризующими режим хранения товаров, являются температура воздуха и относительная влажность воздуха, санитарно-гигиенические условия, освещенность, вентиляция помещений. Большое значение имеет правильное размещение и укладка товаров, соблюдение правил товарного соседства.
Температура воздуха оказывает существенное влияние на сохранность товаров. Большую часть из них необходимо хранить при низких температурах в охлажденных кладовых, холодных шкафах, холодильных шкафах и камерах.
Отрицательное воздействие на товары оказывают также ее резкие перепады. Несоблюдение температурного режима ускоряет физико-химические процессы, способствует конденсации влаги на поверхности товаров, сокращает срок реализации.
Относительная влажность воздуха, как и температура, имеет большое значение для хранения. Относительная влажность воздуха это отношение количества водяных паров, находящихся в воздухе, к тому их количеству, которое полностью насыщало бы воздух при той же температуре. Измеряется она тихрометром и выражается в процентах.
Необходимо обеспечивать и вентиляцию помещений, которая может быть естественной и принудительной. Вентиляция и циркуляция воздуха необходимы для поддержания оптимальной температуры и влажности воздуха, удаления паров и газов.
Стеллажи и штабеля располагают на расстоянии 50-70 см. от стен и не менее одного метра от отопительных приборов и канализационных труб. Высота укладки зависит от вида и прочности тары, характера товаров, степени механизации труда и должна соответствовать правилам и нормам техники безопасности.
Не допускается хранение товаров, которые в силу своих свойств оказывают отрицательное влияние друг на друга.
Пирожные укладывают в один ряд в лотки или на металлические листы с антикоррозионным покрытием. Применяют также деревянные лотки, покрытые пищевым лаком. Дно лотков и листов выстилают пергаментом, подпергаментом или пергамином. Лотки должны быть закрыты плотно прилегающими крышками, а листы помещают в деревянные ящики. Пирожные штучно-формовамные предварительно укладывают в бумажные капсулы.
Торты упаковывают в специальные художественно оформленные картонные коробки, выстланные салфеткой из пергамента или подпергамента.
Печенье, крекер, галеты, вафли, пряники, кексы хранят при температуре не выше 18 градусов цельсия, бисквитные рулеты - 5- 18, торты и пирожные - 0-6 градусов цельсия и относительной влажности воздуха 70 - 75%, за исключением печенья сдобного и вафель - 65 - 70%.
Необходимо защищать товары от действия прямых солнечных лучей. Во время хранения, особенно длительного, товары периодически просматривают, перекладывают, при необходимости очищают от пыли, плесени, ржавчины.
На рис.1 представлены три проекции предлагаемой упаковки (фронтальная проекция рис.1а, вид сбоку - рис.1б и вид сверху - рис.1в);

Рис.1 Проекции упаковки кондитерских изделий
а вид сбоку ; б вид сверху ; в фронтальная проекция
На рис.2 изображена упаковка в аксонометрии с закрытой крышкой;

Рис.2 Упаковка в аксонометрии с закрытой крышкой
На рис.3 приведена двухъярусная упаковка с открытой крышкой;

Рис.3 - Двухъярусная упаковка с открытой крышкой
На рис.4 изображен вариант упаковки с двумя ярусами и с различным количеством выдвижных коробок в каждом ярусе;

Рис.4 - Упаковка с двумя ярусами и с различным количеством выдвижных коробок в каждом ярусе
На рис.5 показан комплект выдвижных коробок для упаковки, изображенной на рис.4;

Рис.5 - Комплект выдвижных коробок для упаковки, изображенной на рис.4
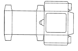
На рис.6 изображен корпус упаковки без крышки;

Рис.6 - Корпус упаковки без крышки
На рис.7 представлена плоская заготовка для корпуса, изображенного на рис.6;

Рис.7 - Плоская заготовка для корпуса, изображенного на рис.6
На рис.8 изображена выдвижная коробка;

Рис.8 - Выдвижная коробка
На рис.9 представлена плоская заготовка для коробки, изображенной на рис.8;

Рис.9 - Плоская заготовка для коробки, изображенной на рис.8
На рис.10 изображен вариант конструкции крышки с элементами связи с корпусом упаковки;

Рис.10 - Вариант конструкции крышки с элементами связи с корпусом упаковки
Нарис.11 представлена плоская заготовка для крышки, изображенной на рис.10.

Рис.11- Плоская заготовка для крышки
Общие требования к маркировке:
- наименование продукта;
- наименование и местонахождение изготовителя (юридический адрес, включая страну, и, при несовпадении с юридическим адресом, адрес(а) производств(а)) и организации в Российской Федерации, уполномоченной изготовителем на принятие претензий от потребителей на ее территории (при наличии);
- масса нетто;
- товарный знак изготовителя (при наличии);
- состав продукта. Для кондитерских наборов, состоящих из различных видов и наименований изделий, указывают общий состав ингредиентов всех изделий, входящих в данный набор (без указания состава каждого конкретного наименования изделия);
- пищевые добавки, ароматизаторы, биологически активные добавки к пище, ингредиенты продуктов нетрадиционного состава;
- пищевая ценность. Для кондитерских наборов, состоящих из различных видов и наименований изделий, указывают средневзвешенную пищевую ценность входящих в набор изделий (без указания пищевой ценности каждого конкретного наименования изделия);
- условия хранения;
- срок годности или срок хранения;
- дата (для тортов и пирожных час и дата) изготовления и дата упаковывания;
- рекомендации по приготовлению (для какао-порошка и какао-напитков);
- обозначение документа, в соответствии с которым изготовлен и может быть идентифицирован продукт;
- информация о подтверждении соответствия;
- дополнительно может быть нанесено наименование организации-разработчика изделий.
Дополнительные требования к маркировке.
1. Диабетических кондитерских изделий:
- содержание (расчетное) в 100 г продукта: ксилита, сорбита и/или других подсластителей, общего сахара (в пересчете на сахарозу);
- суточная норма потребления ксилита, сорбита и/или других подсластителей - не более 30 г;
- надпись «диабетический» для продукта, отнесенного к группе диабетических изделий.
2. Продуктов диетического питания:
- суточная доза (количество штук для одновременного потребления);
- назначение и условия применения.
1.2 Изучение условий перевозок состояние дорожной сети, возможные скорости движения, анализ маршрута перевозки грузов
Протяжении маршрута Омск Исилькуль Петропавловск Кокчетав Караганда поверхность дорожного полотна на разных участках соответствует различным категориям.
Участок маршрута, Омск Исилькуль Петропавловск, принадлежит федеральной магистральной дороге М 51, которая является дорогой с твердым покрытием. Участок маршрута, Петропавловск Кокчетав Караганда, принадлежит магистральной дороге Е 125.
Исходя из вышеуказанного, можно сделать вывод о том, что скорости движения на данном маршруте могут быть максимально разрешенными.
Так как перевозка осуществляется по территории двух сопредельных государств России и Казахстана, приведем характеристику этих стран и условий перевозок по территориям этих государств.
Россия. Столица - Москва. Государственный язык - русский. В пределах национальных и автономных образований широко используются местные языки и наречия, но по-русски понимают практически все. Денежная единица - российский рубль (RUR). Московское время больше белорусского и украинского на один час.
Географическое расположение. Россия расположена на востоке Европы и северной части Азии. Крупнейшее на планете по территории государство площадью 17075,5 млн. кв.км. На западе граничит с Норвегией, Финляндией, Эстонией, Латвией, Литвой, Белоруссией, Польшей, Украиной, на юге с Грузией, Азербайджаном, Казахстаном, Китаем, Монголией, Кореей (КНДР). Омывается с севера Северным Ледовитым океаном, с запада - Балтийским морем, с юга Черным, Азовским и Каспийским морями, с востока - Тихим океаном и его морями - Беринговым, Охотским и Японским.
Крупные города. Москва (10101,5 тыс.чел), Санкт-Петербург (4669,4 тыс.чел), Новосибирск (1425,6 тыс.чел), Нижний Новгород (1311,2 тыс.чел), Екатеринбург (1293,0 тыс.чел), Самара (1158,1 тыс.чел), Омск (1133,9 тыс.чел), Казань (1105,3 тыс.чел), Челябинск (1078,3 тыс.чел), Ростов-на-Дону (1070,2 тыс.чел), Уфа (1042,4 тыс.чел), Волгоград (1012,8 тыс.чел), Пермь (1000,1 тыс.чел).
Государственное устройство. Демократическое федеративное государство с республиканской формой правления. Представительный и законодательный орган Российской Федерации - двухпалатное Федеральное Собрание. Глава государства - Президент.
Население. Около 145,5 млн. человек. 73% населения страны живет в городах, 27% - в сельской местности. Россия - многонациональное государство. Всего на ее территории проживают люди 176 национальностей. Основная религия - православие, распространены также мусульманство, иудаизм, католицизм, буддизм и другие верования.
Для России характерно большое разнообразие климата. Большая часть страны имеет суровые климатические условия. На территории России - и арктическая пустыня, и тундра, и лесотундра, и лесная, лесостепная, степная и полупустынная зоны. Климат изменяется от морского на крайнем Северо-Западе до резко континентального в Сибири и муссонного на Дальнем Востоке. Средние температуры января - от 0 до -50°С, июля - от 1 до +25°С; нормы осадков - от 150 до 2000 мм в год. Многолетняя мерзлота (районы Сибири и Дальнего Востока).
Деньги. Денежная единица - российский рубль. В обращении - банкноты номиналом 1000, 500, 100, 50 и 10 рублей. Монеты 10, 5, 2 и 1 рубль, 50, 10 и 5 копеек. Обмен валюты можно произвести в банках и обменных пунктах.
Особенности дорог. Движение - правостороннее. Содержание алкоголя в крови не допускается. Водитель и пассажир должны быть пристегнуты ремнем безопасности.
В таблице 1 представлены требования, предъявляемые транспортному средству на территории Российской Федерации
Таблица 1
Требования, предъявляемые транспортному средству на территории Российской Федерации
|
Ограничение скорости движения автотранспортных средств |
(км/ч) |
|
1 |
2 |
|
В городах и населенных пунктах |
60 |
|
На дорогах вне населенных пунктов: |
|
|
для грузовых автотранспортных средств полной массой менее 3,5 т |
90 |
|
для грузовых автотранспортных средств полной массой более 3,5 т |
70 |
|
На автомагистралях: |
|
|
для грузовых автотранспортных средств полной массой менее 3,5 т |
110 |
|
для грузовых автотранспортных средств общим весом более 3,5 т |
90 |
|
допустимые габариты (М): |
|
|
Ширина |
2,55 |
|
для авторефрижераторов |
2,60 |
|
Высота |
4,00 |
|
Длина: |
|
|
грузовой автомобиль, прицеп |
12,00 |
|
тягач с полуприцепом |
20,00 |
|
автопоезд |
20.00 |
|
допустимая нагрузка на ось (Т): |
|
|
для двухосного транспортного средства с расстоянием между осями |
|
|
менее 1,00 м |
6,00 |
|
от 1,00 до 1,35 м |
7,00 |
|
от 1,35 до 1,65 м |
8,00 |
|
от 1,65 до 2,00 м |
9,00 |
|
более 2,00 м |
10,00 |
|
для трехосного транспортного средства с расстоянием между осями |
|
|
менее 2,00 м |
5,50 |
|
менее 2,00 м |
5,50 |
Продолжение таблицы 1
|
1 |
2 |
|
от 2,00 до 2,60 м |
6,50 |
|
от 2,60 до 3,20 м |
7,50 |
|
от 3,20 до 5,00 м |
8,00 |
|
более 5,00 м |
10,00 |
|
допустимая полная масса (Т): |
|
|
автотранспортное средство: |
|
|
с двумя осями и расстоянием между осями не менее 3,0 м |
18.00 |
|
с тремя осями и расстоянием между самыми отдаленными осями не менее 4,5 м |
25.00 |
|
с четырьмя осями и расстоянием между самыми отдаленным осями не менее 7,5 м |
30 |
|
тягач с полуприцепом: |
|
|
с тремя осями и расстоянием между самыми отдаленными осями не менее 8,0 м |
28 |
|
с четырьмя осями и расстоянием между самыми отдаленными осями не менее 11,2 м |
36 |
|
с пятью и более осями и расстоянием между самыми отдаленными осями не менее 12,2 м |
38 |
|
автопоезд: |
|
|
с тремя осями и расстоянием между самыми отдаленными осями не менее 10,0 м |
28 |
|
с четырьмя осями и расстоянием между самыми отдаленными осями не менее 11,2 м |
36 |
|
с пятью и более осями и расстоянием между самыми отдаленными осями не менее 12,2 м |
38 |
Праздничные дни: 1, 2, 7 января; 23 февраля; 8 марта; 1, 2, 3, 9, 10 мая; 12 июня; 7, 8 ноября; 12, 13 декабря. Праздники, которые приходятся на выходные дни переносятся на последующий рабочий день.
Отсутствуют ограничения движения по праздничным и выходным дням.
Разрешается беспошлинный ввоз автомобильного топлива в объеме полной заправки баков, технологически связанных с двигателем.
Таможенные ограничения.
Разрешен беспошлинный ввоз вещей, если ввозимые товары не предназначены для производственной или коммерческой деятельности, или количество ввозимых товаров не превышает установленных норм. Стоимость ввозимых товаров не должна превышать 2000 долларов США. Если же вы ввозите или вывозите товары в количестве, превышающем обычные потребности, вы обязаны доказать, что товар не предназначен для коммерческих целей. Разрешено ввозить (вывозить) без уплаты таможенных платежей товары, необходимые для личного пользования: одежду, туалетные принадлежности, ювелирные изделия, фото и кинокамеры. При пересечении границы на своем автомобиле, можно беспошлинно вывезти до 20 литров топлива, не считая топлива в баке.
Казахстан. Столица - Астана.
Государственный язык - казахский. Распространен также русский.
Денежная единица - тенге (КZТ).
Время - страна расположена в трех часовых поясах, время в различных регионах опережает белорусское и украинское на два, три или четыре часа (в Астане и Алматы - на четыре), московское - на 1-3 часа.
Географическое положение. Страна в Средней Азии. На севере граничит с Россией, на востоке - с Китаем, на юге - с Кыргызстаном, Узбекистаном и Туркменистаном, с запада омывается Каспийским морем. Площадь страны составляет около 2 717 300 кв.км.
Крупные города Астана (375 тыс. чел.), Апматы (1 262 тыс. чел.), Караганда (613 тыс. чел.), Чимкент (401 тыс. чел.), Семей (Семипалатинск) (339 тыс. чел.), Павлодар (337 тыс. чел.), Ошкемен (Целиноград) (330 тыс. чел.).
Государственное устройство. Республика. Глава государства - президент. Глава правительства - премьер-министр.
Деньги. Денежная единица - тенге. Монеты имеют достоинство в 1,3,5,10,20 и 50 ТЕНГЕ, банкноты бывают достоинством в 100, 200, 500, 1000, 2000 и 5000 ТЕНГЕ.
Курс на июнь 2004 г.: 1 КZТ = 0.0055 EUR; 1 EUR = 181,82 КZТ.
Обменять валюту можно в банках и обменных пунктах.
В таблице 2 представлены требования, предъявляемые транспортному средству на территории республики Казахстан.
Таблица 2
Требования, предъявляемые транспортному средству на территории республики Казахстан
|
Ограничение скорости движения автотранспортных средств (КМ/Ч) |
|
|
В городах и населенных пунктах |
60 |
|
Вне населенных пунктов |
90 |
|
допустимые габариты(М): |
|
|
ширина всех транспортных средств |
2,55 |
|
для рефрижераторов |
260 |
|
высота |
400 |
|
длина |
|
|
грузовой автомобиль, прицеп |
12,00 |
|
тягач с полуприцепом |
20,00 |
|
автопоезд с одним прицепом |
20,00 |
|
допустимая нагрузка на ось(Т): |
|
|
для транспортных средств с одиночной осью; |
|
|
ведомой |
10,00 |
|
ведущей |
10,00 |
|
ведущей со сдвоенными колесами |
10,00 |
|
от 1 до 1.3 м |
14,00 |
Продолжение таблицы 2
|
1 |
2 |
|
от 1,3 до 1,8 м |
16,00 |
|
от 1,8 м и более |
17,50 |
|
для прицепов или полуприцепов со строенной осью со сдвоенными колесами с расстоянием между осями: |
|
|
от 0,5 до 1 м |
17,50 |
|
от 1 до 1,3 м |
21,00 |
|
от 1,3 до 1,8 м |
24,00 |
|
от 1,8 м и более |
26,50 |
|
для прицепов или полуприцепов со строенной осью с одиночными колесами с расстоянием между осями: |
|
|
от 0,5 до 1 м |
16,50 |
|
от 1 до 1,3 м |
19,50 |
|
от 1,3 до 1,8 м |
22,50 |
|
от 1,8 м и более |
24,50 |
|
нагрузка на каждую ось для смежных осей со сдвоенными колесами прицепа или полуприцепа с более чем тремя осями и расстоянием между осями |
|
|
от 0,5 до 1 м |
5,50 |
|
от 1 до 1,3 м |
6,50 |
|
от 1,3 до 1,8 м |
7,50 |
|
от 1,8 м и более |
8,00 |
|
для смежных осей прицепов или полуприцепов с количеством осей более трех с одиночными колесами с расстоянием между осями |
|
|
от 0,5 до 1 м |
5,00 |
|
от 1 до 1,3 м |
6,10 |
|
от 1,3 до 1,8 м |
7,00 |
|
от 1,8 м и более |
7,50 |
|
допустимая полная масса (Т): |
|
|
грузовые автомобили: |
|
|
двухосный автомобиль |
5,00 |
|
трехосный автомобиль |
6,10 |
|
трехосный автомобиль, если ведущая ось оснащена сдвоенными колесами и пневматической или эквивалентной ей подвеской |
Продолжение таблицы 2
|
1 |
2 |
|
четырехосный автомобиль, если две из осей ведущие и оборудованы сдвоенными колесами и пневматической или эквивалентной ей подвеской |
|
|
прицеп |
|
|
с 2 осями |
18,00 |
|
с 3 осями |
24,00 |
|
седельный тягач с полуприцепом с 4 осями (2+2) с расстоянием между осями полуприцепа: |
|
|
от 1,30 до 1,80 м |
36,00 |
|
свыше 1,80 м, если транспортное средство состоит из 18-тонного тягача и 20-тонного полуприцепа и ведущая ось оборудована сдвоенными колесами и пневматической подвеской |
|
|
или эквивалентом |
38,00 |
|
с 5/6 осями (2+3,3+2/3) |
38,00 |
|
Автопоезд: |
|
|
с 4 осями (2+2) |
36,00 |
|
с 5 осями (2+3,3+2) |
42,00 |
|
с 6/7 осями (3+3/4) |
44,00 |
Подвижные конструкции (контейнеры и упаковочные материалы), включаются в максимальные разрешенные габариты. Внешний радиус разворота не должен превышать 12,5 м, а внутренний - 5,3 м. Максимальное расстояние между поворотным шкворнем седла и задней частью комбинированного автотранспортного средства не должно превышать 12 метров. Максимальное расстояние измеряемой параллели к продольной оси автопоезда от самой внешней точки фронта погрузки за кабиной до самой внешней точки прицепа минус расстояние между задней частью тягача транспортного средства и передней частью прицепа не должно превышать 17 метров.
Разрешенные нагрузки на ось могут быть уменьшены в связи с погодно-климатическими условиями на определенных участках дорог. При определении весовых и габаритных параметров автотранспортных средств учитывают установленные погрешности измерительного оборудования. При этом погрешность толкуется в пользу перевозчика.
Праздничные дни:
1-2 января - Новый год;
8 марта - Международный женский день
22 марта - Наурыз мейрамы (Праздник весны и труда народов Востока)
1 мая - Праздник единства народа Казахстана
9 мая - День Победы
30 августа - День Конституции Республики Казахстан
16-17 декабря - День независимости
Таможенные органы на пограничных переходах не работают в эти дни.
Запретов и ограничений движения автотранспортных средств по воскресным и праздничным дням нет. Срок пребывания иностранных водителей на территории Казахстана не должен превышать 7 дней.
Разрешен беспошлинный ввоз или вывоз автомобильного топлива в объеме полной заправки топливных баков, технологически связанных с двигателем. Иностранные транспортные средства, заправляющиеся в Казахстане, могут оплачивать топливо при помощи кредитной карточки или наличными по курсу обмена на день оплаты. В течение периодов посева и сбора урожая продажа топлива ограничена 20 литрами.
Разрешительная система. Если иное не предусмотрено в двустороннем соглашении, водители всех транспортных средств максимальной разрешенной полной массой свыше 6 т или с полезным грузом свыше 3,5т, которые въезжают, выезжают или следуют транзитом через Казахстан, должны иметь разрешение. Более того, все иностранные перевозчики, вовлеченные в перевозки из третьих стран (т.е. перевозки грузов в Казахстан из третьих стран и наоборот), должны иметь разрешения.
С 1 января 2004 года международные автомобильные перевозчики должны обращаться в компетентный орган в своей стране, который выдает казахские разрешения в соответствии со взаимной системой выдачи квот. На казахской границе выдаются только транзитные разрешения. Они выдаются по цене 10 "номинальных месячных ставок" (примерно US$58). С 1 января 2004 года номинальная месячная ставка эквивалентна КZТ 919.
Те транспортные средства, которые, в соответствии с условиями двустороннего соглашения, не требуют разрешения, должны передвигаться по территории Казахстана по регистрационному купону, выдаваемому в пограничном пункте въезда в страну. Перевозчикам из страны, которая не обменивается разрешениями на взаимной основе, будет отказано во въезде в Казахстан. Иностранные перевозчики, возвращающиеся транзитом через Казахстан и загруженные по маршруту в Казахстане, должны получить дополнительное разрешение как удостоверение их права выезда с территории Казахстана.
Во всех случаях при въезде иностранных перевозчиков в Казахстан власти устанавливают маршрут следования и предельный срок выезда из страны.
Получение разрешения не освобождает перевозчика от последующей регистрации таможенных документов на транспортное средство и грузы, перевозимые через границу Казахстана.
Разрешения и все транспортные документы должны содержаться в кабине транспортного средства и предоставляться должностным лицам уполномоченных государственных органов по требованию.
Дополнительные сведения по условиям движения. В Республике Казахстан принят Закон № 446-11 от 1 июля 2003 года "Об обязательном страховании гражданско-правовой ответственности владельцев транспортных средств". Обязательному страхованию подлежит гражданско-правовая ответственность владельцев легковых, грузовых автомобилей, автобусов, микроавтобусов и транспортных средств, построенных на их базе, мототранспорта и прицепов (полуприцепов) к ним, зарегистрированных (подлежащих государственной регистрации) в подразделениях дорожной полиции органов внутренних дел или временно въехавших (ввезенных) на территорию Республики Казахстан, а также трамваев и троллейбусов. Государственный контроль за выполнением владельцами транспортных средств обязанности по заключению договора обязательного страхования ответственности владельцев транспортных средств, установленной настоящим Законом, осуществляется подразделениями дорожной полиции органов внутренних дел. Обязательное страхование ответственности владельцев транспортных средств осуществляется на основании договора, заключаемого между страхователем и страховщиком в соответствии с настоящим Законом. Договор обязательного страхования ответственности владельцев транспортных средств должен быть заключен только со страховщиком, имеющим лицензию на право осуществления деятельности по данному виду (классу) обязательного страхования. Страхователь свободен в выборе страховщика.
Договоры обязательного страхования ответственности владельцев транспортных средств подразделяются на следующие виды: стандартный; комплексный.
Договор обязательного страхования ответственности владельцев транспортных средств заключается сроком на двенадцать месяцев с даты вступления его в силу. Но в случае временного въезда транспортного средства на территорию Республики Казахстан договор обязательного страхования ответственности владельцев транспортных средств заключается на весь период временного въезда, но не менее чем на пять календарных дней.
Таблица 3 Размер страховой премии (в месячных расчетных показателях).
Таблица 3
Размер страховой премии
|
Тип транспортного средства |
Размер годовой страховой премии |
|
|
Для физич. лица |
для юр. лица и индив. предпринимателей |
|
|
Грузовые автомобили и построенные на их базе транспортные средства с грузоподъемностью |
Продолжение таблицы 3
|
1 |
2 |
3 |
|
до 2 тони включительно |
6.0 |
7,0 |
|
свыше 2 тонн |
7.0 |
9,0 |
|
Прицепы (полуприцепы) |
1,5 |
2,0 |
|
Автобусы, микроавтобусы и построенные на их базе транспортные средства |
||
|
до 16 пассажирских мест включительно |
5,0 |
6,0 |
|
свыше 16 пассажирских мест |
6,0 |
7,0 |
Налоги и сборы. При отсутствии разрешения на проезд по территории Республики Казахстан перевозчик может приобрести разрешение на выполнение перевозок в двустороннем сообщении и транзит непосредственно на границе Казахстана по цене 60 месячных расчетных показателей (примерно $300).
Визовый режим. Для въезда в страну граждан России и СНГ визы не требуется.
Длина существующего маршрута составляет 1046 км. Рассматриваемый маршрут представляет собой развозочный маршрут с обратным не груженым пробегом. Маршрут является международным, и включает в себя пункт отправления (Омск), промежуточные разгрузочные пункты г. Петропавловск и г. Кокчетав, конечный разгрузочный пункт г. Караганда и транспортные связи, соединяющие их.
В виду того, что маршрут имеет значительную протяженность, он разбит на участки с характерными условиями эксплуатации. При обустройстве маршрута были продуманы места стоянки автомобиля во время обеда и кратковременного отдыха водителя, места заправки, предполагаемые в случае необходимости - сервиса технического обслуживания (СТО), места парковки во время межсменного отдыха.
Во время следования по маршруту, автомобиль пересекает государственную границу Российской Федерации. Со стороны России пункт пограничного перехода расположен в Исилькульском районе, со стороны Казахстана в Карагандинском районе.
1.3 Правила перевозок грузов автомобильным транспортом
Межгосударственное регулирование международных перевозок грузов обеспечивается посредством двусторонних и многосторонних договоров. В связи с расширением международной торговли все большее значение приобретают многосторонние договоры, для реализации которых создаются специальные международные организации. Регулированием, организацией и разработкой норм и правил выполнения международных автомобильных перевозок (МАП) занимаются организации, основные из которых перечислены в таблице:
Таблица 4
Основные международные транспортные организации
|
Аббревиатура |
Наименование |
Год основания |
Адрес web-сервера |
|
ФИА (FIA) |
Международная автомобильная федерация |
1948 |
fia.com |
|
Трансфигорут Европа |
Международная организация по перевозке скоропортящихся продуктов в условиях контролируемых температур |
1955 |
unece.org/trans/main/ |
|
МСАТ (IRU) |
Международный союз автомобильного транспорта |
1948 |
fia.com |
Продолжение таблицы 4
|
1 |
2 |
3 |
4 |
|
ЕКМТ (ECMT) |
Европейская конференция министров транспорта |
1953 |
oecd.org |
|
ЮНКТАД (UNCTAD) |
Конференция ООН по торговле и развитию |
1964 |
unctad.org |
|
ФИАТА (FIATA) |
Международная федерация экспедиторских ассоциаций |
1926 |
fia.com |
|
КВТ ЕЭК ООН (ITC) |
Комитет по внутреннему транспорту Европейской экономической комиссии |
1948 |
unece.org/trans/main/ |
Основные нормативные документы в области регулирования международных автомобильных перевозок грузов готовятся в рамках - Европейской экономической комиссии организации объединённых наций (ЕЭК ООН), которая располагается в Женеве. Законодательные документы - евро союза (ЕС) делятся на группы:
- конвенции (договоры) документы, определяющие обязательные для выполнения требования подписавшими их сторонами. Договоры обычно согласовываются и подписываются на межправительственной основе и в необходимых случаях утверждаются национальными парламентами для согласования с внутренним законодательством;
- правила документы, обязательные для исполнения во всех станах, входящих в ЕС, независимо от норм внутреннего законодательства. Однако штрафные санкции, налагаемые за нарушение правил, определяются законодательством конкретной страны;
- директивы определяют необходимый уровень требований и не ограничивают средства для их достижения;
- определения обычно вносятся по конкретным проблемам, масштаб которых носит локальный характер (например, недостаточная пропускная способность на конкретном таможенном переходе). Определения обязательны для всех стран, которым они адресованы;
- рекомендации и мнения разрабатываются Советом ЕС или ЕЭК.
Международные автомобильные перевозки грузов выполняются на основе разрешений. Порядок и условия получения разрешений в большинстве случаев определяются двусторонними соглашениями о международном автомобильном сообщении, заключенными между государствами на уровне правительств. Россия имеет такие соглашения практически со всеми европейскими странами (кроме Португалии) и со странами, с которыми имеется общая сухопутная граница.
В настоящее время Минтранс РФ на основе подписанных межправительственных соглашений ежегодно согласовывает со странами контингент выдаваемых сторонами разрешений для международных перевозчиков. Это позволяет, ограничивая количество разрешений, регулировать важный для экономики страны рынок МАП, защищать интересы российских перевозчиков.
Если перевозки осуществляются между странами, не заключившими между собой двусторонних соглашений, разрешения могут выдаваться в разовом порядке при обращении к компетентным органам или эти органы могут в одностороннем порядке устанавливать контингент разрешений для перевозчиков другой страны.
Участие перевозчиков в МАП определяется Положением о допуске российских перевозчиков к осуществлению международных автомобильных перевозок, утвержденным Постановлением Правительства РФ от 16.09.2001 № 730 (с изменениями на основании Постановления Правительства РФ от 03.10.2002 № 731). Положение определяет порядок предоставления российским перевозчикам специального разрешения на выполнение МАП допуска к осуществлению указанных перевозок.
К МАП допускаются юридические лица независимо от организационно-правовой формы и индивидуальные предприниматели, выполняющие коммерческие и некоммерческие перевозки грузов и пассажиров. Допуск российского перевозчика к осуществлению МАП предоставляют органы РТИ Минтранса РФ. Условиями допуска российского перевозчика к МАП являются:
- наличие лицензии на перевозку грузов автомобильным транспортом по территории РФ (кроме перевозчиков, осуществляющих некоммерческие перевозки);
- наличие автотранспортных средств, принадлежащих на праве собственности или на ином законном основании и соответствующих международным техническим стандартам, а также международным конвенциям и соглашениям, регламентирующим международные автомобильные перевозки;
- соответствие назначенных российским перевозчиком лиц, ответственных за осуществление международные автомобильные перевозки, квалификационным требованиям по организации перевозок автотранспортом в международном сообщении;
- устойчивое финансовое положение российского перевозчика: наличие собственного имущества, стоимость которого в расчете на одно автотранспортное средство, осуществляющее международные автомобильные перевозки, составляет не менее 50 тыс. р. или в расчете на 1 т разрешенной максимальной массы указанного автомобиля не менее 2,5 тыс. р. Достаточным является соответствие одному из показателей;
- обязательное страхование гражданской ответственности владельцев автотранспорта.
В подтверждение решения о допуске российского перевозчика к международным автомобильным перевозкам грузов ему выдается удостоверение допуска, а также карточка допуска на каждое автотранспортное средство, на котором будут осуществляться международные автомобильные перевозки. Удостоверение выдается на один год перевозчикам, впервые подавшим заявление, не имеющим опыта осуществления международных автомобильных перевозок или имеющим такой опыт продолжительностью менее одного года, на пять лет перевозчикам, которые на протяжении последних четырех лет, предшествовавших подаче заявления, осуществляли международные автомобильные перевозки как минимум не менее одного года. Срок действия удостоверения, выданного на пять лет, может быть продлен по заявлению его владельца, но не более двух раз. Срок действия удостоверения, выданного на один год, не продлевается. Выдача удостоверений со сроком действия пять лет и его продление согласовывается с Государственным таможенным комитетом РФ.
При увеличении парка автомашин владелец удостоверения может получить в органе российской транспортной инспекции (РТИ) карточку допуска на каждое вновь приобретенное автотранспортное средство с предъявлением документа на право владения указанным транспортным средством, а также документов, подтверждающих его соответствие международным техническим стандартам, международным конвенциям и соглашениям, регламентирующим МАП.
На сегодняшний день доставка грузов в международном сообщении может быть оформлена по одному из двух вариантов: либо по книжке МДП, либо по процедуре ВТТ (внутренний таможенный транзит).
При использовании книжки МДП наиболее частая ошибка, которая возникает при оформлении документов, отсутствие указания конкретного места доставки. Согласно Таможенному кодексу местом доставки является склад временного хранения. Поэтому при заключении договора на международную перевозку потенциальный покупатель должен указывать конкретный адрес и склад, куда нужно доставить груз, а также номер лицензии получателя на внешнеэкономическую деятельность.
Российская процедура таможенного оформления устанавливает порядок перевозки товаров под таможенным контролем от таможни отправления до таможни назначения. Суть заключается в том, что таможне предоставляются гарантийные обязательства получателя товара об оплате таможенных пошлин и сборов, налог на добавленную стоимость (НДС) и акцизов в случае непредставления товаров таможенного назначения. Таким образом, если автомобиль пересекает границу России без книжки МДП, при нем должно быть гарантийное обязательство получателя товара.
Таблица 5
Основные нормативные документы в области международных автомобильных перевозок
|
Наименование документа (год принятия) |
Основное назначение |
|
1 |
2 |
|
Конвенция о дорожном движении КДД (1968) |
Устанавливает основы для единых правил дорожного движения, требования к дорожным знакам, сигналам, разметки и транспортным средствам. Определяет условия использования водительских удостоверений |
|
Конвенция о договоре международной перевозки грузов по дорогам КДПГ Convention on the Contact for the international Carriage of Goods by Road (1956) |
Определяет основные условия договора коммерческой перевозки грузов в международном сообщении, ответственность, обязанности и права отправителя, получателя и перевозчика. Устанавливает правила оформления накладной на перевозимый груз CMR |
|
Таможенная конвенция о международной перевозки грузов с применением книжки МДП Customs Convention on the International Transport of Goods under Cover of TIR Carnets (1975) |
Определяет упрощённый порядок прохождения таможенных формальностей на таможенных постах при международных перевозках грузов под пломбой. Таможенное оформление груза выполняется с помощью книжки МДП набора документов, включающих сведения о грузе (только одного вида), транспортном средстве, таможенном пункте страны отправления и получение груза и всех таможенных пунктах, пересекаемых при перевозке |
Продолжение таблицы 5
|
1 |
2 |
|
Таможенная конвенция о временном ввозе товаров Customs Convention on the ATA Carnet for the Temporary Admission on Goods (1962) |
Определяет упрощенный порядок прохождения таможенных формальностей на таможенных постах при международных перевозках выставочных товаров, образцов коммерческой продукции и других грузов, предназначенных для временного ввоза. Таможенное оформление груза выполняется с помощью книжки АТА |
|
Договор о дорожной перевозки опасных грузов ДОПОГ European Agreement Concerning the International Carriage of Dangerous Goods by Road (1957) |
Определяет правила перевозки опасных грузов автомобильным транспортом в международных сообщениях, перечень оформляемых документов, условия упаковки, погрузки, размещения груза на автомобили, движения и оборудования подвижного состава |
|
Договор о перевозке скоропортящейся продукции СПС Agreement on the International Carriage of Perishable Foodstuffs and on the Special Equipment to be used for such Carriage (1970) |
Определяет условия перевозки скоропортящейся продовольственной продукции и требования к оборудованию для его перевозки. Приводятся режимы перевозки опасных продовольственных грузов, возможность совместной перевозки различных продуктов. Определяются обязанности участников транспортного процесса |
|
Европейское соглашение, касающееся экипажей транспортных средств, производящих международные автомобильные перевозки - УСТР EU Regulation 3820/85 (1970) |
Устанавливает требования к водителям, их режиму труда и отдыха. Определяет формы и методы контроля установленных режимов труда и отдыха экипажей |
К МАП допускаются юридические лица независимо от организационно правовой формы и индивидуальные предприниматели, выполняющие коммерческие и некоммерческие перевозки грузов и пассажиров. Допуск российского перевозчика к осуществлению МАП представляют органы Ространснадзора.
Условиями допуска российского перевозчика к МАП являются:
1.наличие лицензии на перевозку грузов автомобильным транспортом (АТ) по территории РФ (кроме перевозчиков, осуществляющие некоммерческие перевозки);
2. наличие АТС, принадлежащих на праве собственности или на ином законном основании и соответствующих международных технических стандартам, а также международным конвенциям и соглашениям, регламентирующим МАП;
3. соответствия назначенных российским перевозчиком лиц, ответственных за осуществление МАП, квалификационным требованиям по организации перевозок автомобильный транспорт (АТ) в международном сообщении;
4. устойчивое финансовое положение российского перевозчика : наличие собственного имущества, стоимость которого в расчёте на одного АТС, осуществляющее МАП, составляет не менее 50 тыс. р. Или в расчёте на 1 т разрешённой максимальной массы указанного АТС не менее 2,5 тыс. р. Достаточным является соответствие одного из показателей;
5. обязательное страхование гражданской ответственности владельцев АТС.
В подтверждении решения о допуске российского перевозчика к МАП ему выдаётся удостоверение допуска, а также карточка допуска на каждое АТС, на котором будут осуществляться МАП. Удостоверение выдаётся на один год перевозчикам, впервые подавшим заявление, не имеющим опыта осуществления МАП или имеющим такой опыт продолжительностью менее одного года, на пять лет перевозчикам, которые на протяжении последних четырёх лет, предшествовавших подаче заявления, осуществляли МАП как минимум не менее одного года. Срок действия удостоверения, выданного на пять лет, может быть продлён по заявлению его владельца, но не более двух раз. Срок действия удостоверения, выданного на один год, не продлевается.
Выдача удостоверений допуска со сроком действия пять лет и его продление согласовывается с Государственным таможенным комитетом РФ.
При увеличении парка АТС владелец удостоверения может получить в органе Ространснадзора карточку допуска на каждое вновь приобретённое АТС с предъявлением документа на право владения документа на право владения указанным транспортным средством , а также документом, подтверждающих его соответствие международным техническим стандартам, международным конвенциям и соглашениям, регламентирующим МАП.
На сегодняшний день доставка грузов в международном сообщении может быть оформлена по одному из двух вариантов: либо по книжке МДП, либо по процедуре ВТТ (внутренний таможенный транзит).
При использовании книжки МДП наиболее частая ошибка, которая возникает при оформлении документов, - отсутствие указания конкретного места доставки. Согласно Таможенному кодексу РФ местом доставки является склад временного хранения. Поэтому при заключении договора на перевозку потенциальный покупатель должен конкретный адрес и склад, куда нужно доставить груз, а также номер лицензии получателя на внешнеэкономическую деятельность.
Российская процедура таможенного оформления устанавливает порядок перевозки товаров под таможенным контролем от таможни отправления до таможни назначения. Суть заключается в том, что таможни предоставляются гарантийные обязательства получателя товара об оплате таможенных пошлин и сборов, НДС и акцизов в случае не представления товаров таможенного назначения. Таким образом, если автомобиль пересекает границу России без книжки МДП, при нем должно быть гарантийное обязательство получателя товара.
1.4 Путевая документация при организации международных перевозок
При перевозке груза в международном сообщении необходимо оформление довольно сложного комплекта документов, многие из которых оформляются различными организациями.
Возможны следующие варианты выполнения перевозки.
1. За границу направляется груженый - подвижной состав (ПС) (экспорт). В этом случае водитель должен иметь путевой лист, контрольный листок к путевому листу (погрузочно-разгрузочный лист), страховой полис на полуприцеп и тягач, документы на груз (заполненные накладные CMR, инвойсы на груз, ГТД грузовая таможенная декларация). Обычно на груз заполняется или документ ВТТ, или, при выполнении перевозок по системе МДП, заполненный Garnet TIR (Книжка МДП).
2. Подвижной состав отправляется пустым с целью забрать груз (импорт). В этом случае водитель должен иметь путевой лист, контрольный листок к путевому листу (погрузочно-разгрузочный лист), одну товарно-транспортную накладную CMR (копию) на разгруженный полуприцеп или комплект накладных на загрузку, страховой полис на полуприцеп и тягач.
3. Водители вывозят из-за границы загруженные иностранным грузоотправителем полуприцепы с уже оформленными фирмой-экспедитором документами для разгрузки. Водители должны иметь при себе путевой лист, контрольный листок к путевому листу, страховой полис на тягач.
Контрольный листок к путевому листу (погрузочно-разгрузочный лист) внутренний документ организации. Заполняется при загрузке и разгрузке отправителем и получателем. Отправитель или получатель груза проштамповывают контрольный листок в двух местах: прибыл убыл (от руки записываются дата и время прибытия и убытия); также ставится отметка на таможенном терминале, на котором автомобиль находился в ожидании таможни и разгрузки.
По данному документу можно легко определить время простоев автомобиля на погрузке-разгрузке для выставления счетов заказчику. Наличие контрольного листка позволяет организации, перевозящей груз, избежать конфликтов с клиентом.
Международная товарно-транспортная накладная (CMR) является подтверждением договора на осуществление международной перевозки. В товарно-транспортной накладной указываются дата и место ее составления; наименование и адрес отправителя, перевозчика и получателя; место и дата принятия груза и место, предназначенное для доставки; принятое обозначение характера груза и род его упаковки; число грузовых мест, их специальная маркировка и нумерация мест; вес груза брутто или выраженное в других единицах измерения количество груза; платежи, связанные с перевозкой (провозные платы, дополнительные платежи, таможенные пошлины и сборы); инструкции, требуемые для выполнения таможенных и других формальностей.
В случае необходимости накладная должна содержать также следующее: невозможность перегрузки; платежи, которые обязан оплатить отправитель, и сумма платежа, подлежащего оплате при сдаче груза; объявленная стоимость груза и сумма, представляющая специальный интерес в доставке; согласованный срок, в течение которого перевозка должна быть осуществлена.
Согласно Конвенции CMR стороны договора перевозки могут внести в накладную любые другие данные, которые будут ими признаны необходимыми.
Накладная CMR оформляется как минимум в семи экземплярах: первый грузоотправителю, второй грузополучателю, третий перевозчику, четвертый для расчетов. Все последующие листы для пересечения границ, при перецепках и т.д.
В качестве прилагаемых к CMR документов служат отгрузочная спецификация, счет-фактура контрактной стоимости груза, сертификат качества, карантинный и ветеринарный сертификаты, акты загрузки автомобиля.
При перевозке мелкопартионных грузов к накладной прилагается грузовой манифест, причем CMR заполняется на каждый вид груза, каждую его партию и общая накладная на весь груз.
При перевозке экспорта, независимо от рода, количества, наименования, характера товара, необходима отгрузочная спецификация. Она составляется в форме, установленной заказчиком, при этом обязательно указывается порядковый номер, дата составления и наименование отправителя и получателя груза.
Счет-фактура (при экспортных грузах инвойс) является деловым документом, составляемым во всех случаях при отправке груза одной организацией другой. В этом документе приведены реквизиты каждой из сторон, участвующих в сделке, количество груза, цена единицы груза и общая.
Сертификат качества выдается на каждую партию экспортируемого товара, отгруженного по одному перевозочному документу (CMR), и не может быть заменен никаким другим документом. Сертификат качества выдается только на промышленные товары и составляется по установленной форме.
При МАП продуктов и сырья животного происхождения ввоз и вывоз производится только при наличии ветеринарного сертификата.
По Конвенции CMR отправитель имеет право распоряжаться грузом, в частности потребовать от перевозчика прекращения перевозки, изменения места, предусмотренного для доставки груза, или выдачи груза не тому получателю, который указан в накладной. Отправитель несет ответственность перед перевозчиком за ущерб, причиненный лицам, оборудованию или другим грузам, а также за любые расходы, вызванные дефектами упаковки груза, за исключением случаев, когда дефект был очевидным или известным перевозчику в момент принятия груза и он не сделал относительно этого надлежащих оговорок.
При возникновении обстоятельств, препятствующих сдаче груза после его прибытия на место сдачи, перевозчик должен запросить инструкции у отправителя. Если получатель откажется принять груз, отправитель имеет право распорядиться грузом. Перевозчик может продать груз, не ожидая инструкций от лица, имеющего право распоряжаться грузом, если груз является скоропортящимся, или если того требует его состояние, или если расходы по хранению груза оказались бы несоразмерны со стоимостью груза.
Обнаруженные при сдаче груза и при проверке количества мест и веса недостача, порча или повреждения груза удостоверяются соответствующими отметками во втором, третьем и четвертом экземплярах CMR. При этом составляется акт получения, в котором указывается количество недостающего груза. Акт подписывается комиссией в составе эксперта торговой палаты, грузополучателя и перевозчика.
Перевозчик несет ответственность за полную или частичную утрату груза или за его повреждение, происходящее с момента принятия груза к перевозке и до момента его сдачи, а также за просрочку в доставке. Просрочка в доставке признается, когда груз не был доставлен в согласованный срок или когда при отсутствии согласованного срока фактическая продолжительность перевозки с учетом ее конкретных обстоятельств превышает время, которое разумно должно бы быть предоставлено добросовестному перевозчику. Если груз не был доставлен в течение 30 дней по истечении согласованного срока или при отсутствии согласования срока в течение 60 дней со дня принятия груза перевозчиком, бесспорно признается, что груз утрачен. Перевозчик освобождается от ответственности за утрату груза, если утрата, повреждение или просрочка в доставке произошли по вине заявителя требования, вследствие инструкций заявителя требования, не вызванной виной перевозчика или дефекта, свойственного грузу, а также обстоятельств, избежать которые перевозчик не мог и последствия которых не мог предотвратить.
Если получатель принял груз без проверки его состояния совместно с перевозчиком или не заявляет перевозчику общий характер утраты груза или повреждения в момент принятия груза, когда они считаются очевидными, а также в случае, когда утрата и повреждение не являются очевидными, то принятие груза является доказательством того, что груз получен в состоянии, описанном в накладной.
Просрочка в доставке груза может привести к уплате возмещения в том случае, когда была сделана письменная оговорка в течение 21 дня со дня передачи груза в распоряжение получателя. Получатель и перевозчик должны оказывать друг другу надлежащее содействие при выполнении всех необходимых обследований и проверок.
При регулярном выполнении МАП перевозчику целесообразно и экономически выгодно применять в качестве таможенного документа книжку МДП (карнет-TIR), действующую на основе Таможенной конвенции о международной перевозке грузов с применением книжки МДП (Конвенция МДП), принятой в 1975 г. в Женеве.
Данная Конвенция касается перевозки грузов, осуществляемой без их промежуточной перегрузки, в дорожных транспортных средствах или контейнерах, с пересечением одной или нескольких границ от таможни места отправления до таможни места назначения. Согласно этой Конвенции грузы, перевозимые с соблюдением процедуры МДП, освобождаются от уплаты или депозита пошлин на ввоз или вывоз и сборов в промежуточных таможнях. Также грузы, перевозимые по процедуре МДП в запломбированных транспортных средствах или контейнерах, как правило, освобождаются от таможенного досмотра в промежуточных таможнях. Однако с целью предупреждения злоупотребления таможенные органы могут в исключительных случаях и, в частности, при наличии подозрения в нарушениях производить в этих таможнях досмотр груза.
Решение о допуске перевозчика к системе МДП или отказе в таком допуске принимает - ассоциация международных автомобильных перевозок (АСМАП) на основании представленных перевозчиком документов по согласованию с Таможенным комитетом РФ.
Перевозчик должен внести взнос в гарантийный фонд АСМАП, который полностью возвращается перевозчику по истечении искового срока давности, установленного статьей 11 Конвенции МДП 1975 г., и при отсутствии претензий таможенных органов.
Перевозчик, допущенный к системе МДП, приобретает право получения в АСМАП книжек МДП. Он предварительно оплачивает стоимость получаемых книжек МДП в размере, устанавливаемом в соответствии с требованиями - международного союза автомобильного транспорта (МСАТ) и утвержденном Советом АСМАП. Перевозчик обязан производить возврат книжек МДП в соответствии с требованиями Приложения I Декларации-обязательства.
При выдаче книжки МДП в АСМАП заполняются пункты 1 4 обложки книжки МДП. Срок действия книжки, в соответствии с указанием МСАТ, 45 дней.
Правила пользования книжкой МДП.
1. Выдача: книжка МДП выдается в стране отправления или в той стране, где держатель находится или имеет постоянное место пребывания.
2. Язык: книжка МДП печатается на французском языке, за исключением лицевой стороны обложки, рубрики которой печатаются также на английском языке. Правила пользования книжкой МДП воспроизводятся на английском языке на странице 3 этой обложки. Кроме того, могут быть добавлены дополнительные страницы с переводом печатного текста на другие языки.
3. Срок действия: книжка МДП действительна до завершения операции МДП в таможне назначения, если она оформлена в таможне места отправления на срок, установленный выдающим документ объединением (рубрика 1 лицевой стороны обложки).
4. Число книжек: для состава транспортных средств (сцепленные транспортные средства) или для нескольких контейнеров, погруженных либо на одно транспортное средство, либо на состав транспортных средств, выдается одна книжка МДП.
5. Число таможен отправления и места назначения: маршруты перевозок с применением книжки МДП могут проходить через несколько таможен места отправления и назначения; общее число таможен мест отправления и назначения не может превышать четырех.
6. Число листов: если маршрут перевозки проходит только через одну таможню места отправления и одну таможню места назначения, то в книжке МДП должно быть, по меньшей мере, два листа для страны отправления, два листа для страны назначения и два листа для каждой другой страны, через территорию которой производится перевозка. Для каждой дополнительной таможни места отправления или места назначения требуются соответственно два или три дополнительных листа; кроме того, следует добавить еще два листа, если таможни места назначения находятся в двух разных странах.
7. Представление в таможнях: книжка МДП должна представляться вместе с дорожным транспортным средством, составом транспортных средств или контейнерами в каждой таможне места отправления, в каждой промежуточной таможне и в каждой таможне места назначения. В последней таможне места отправления должностное лицо таможни ставит подпись и штемпель с датой под грузовым манифестом на всех отрывных листах, которые будут использованы на остальной части маршрута.
Автомобиль, выполняющий перевозки по книжке МДП, должен быть оборудован спереди и сзади сине-белой табличкой размером 400x250 мм с надписью «TIR».
Для усиления таможенного контроля товаров, перевозимых между таможнями при отсутствии книжки МДП, с 15 мая 1993 г. в России действует Положение о внутреннем таможенном транзите.
Грузы по процедуре ВТТ перевозятся от таможни отправления до таможни назначения под ответственность перевозчика через одну или несколько промежуточных таможен.
Суть заключается в том, что товары следуют между таможнями под таможенными обеспечениями (пломбы, печати, окантовка, а также меры идентификации) в упаковке, АТС или в контейнерах, изготовленных и оборудованных таким образом, чтобы предметы не могли извлекаться из опечатанного грузового помещения, АТС или контейнера или помещаться туда без оставления видимых следов вскрытия или повреждения таможенных обеспечений.
Допускается перевозка товаров под пломбами грузоотправителей или перевозчиков.
Для того чтобы перевозить грузы по процедуре ВТТ, необходимо оформить внутренний транзитный документ (ВТД) грузовую таможенную декларацию, счет-фактуру и гарантийное обязательство получателя об оплате таможенных пошлин и сборов и НДС. Порядок оформления гарантийного обязательства определен указанием Государственного таможенного комитета РФ от 26.02.96. От организации-получателя требуется полный пакет документов, включая уставные, учредительные, банковские, налоговые и т.д. Это требуется для уверенности в том, что организация функционирует, имеет положительный баланс и средства для оплаты таможенных сборов от поступающих товаров.
Система таможенного транзита стран ЕЭС-система «Т» регламентирована правилами ЕЭС 227/77 от 13.12.76. Она применяется на территории Австрии, Англии, Бельгии, Германии, Греции, Дании, Ирландии, Италии, Люксембурга, Нидерландов, Франции и Швейцарии.
Система включает в себя два вида процедур:
- процедура внешнего транзита для товаров, не находящихся в свободной торговле в рамках ЕЭС;
- процедура внутреннего транзита, которая применяется к перевозке между странами членами сообщества.
Применение данной системы повлекло отказ от использования системы МДП при перевозке транзитных грузов между странами ЕЭС.
Документы по системе «Т» оформляются для въезда или транзита на пограничном пункте, причем для страны члена ЕЭС выписывается сопроводительный документ Т-1, а на грузы, предназначенные за пределы ЕЭС, таможенный документ Т-2.
В настоящее время Таможенным комитетом России введен новый документ, подтверждающий доставку груза, Свидетельство о подтверждении доставки товаров под таможенным контролем.
Данное Свидетельство выдается каждому водителю после разгрузки и служит гарантией законной доставки груза и оформления документов (подлинность личных штампов таможни и получателя). Документ выполнен на специальной бумаге с водяными знаками. В настоящее время в Москве дополнительно на каждое свидетельство наклеивается еще и акцизная марка Государственного таможенного комитета РФ (в скором времени эта мера распространится на все регионы, страны независимых государств (СНГ)).
Бланки иностранных разрешений для въезда в страну получает Минтранс РФ и передает их в АСМАП, который осуществляет выдачу разрешений международным перевозчикам.
Российские разрешения и разрешения стран, с которыми заключены двусторонние соглашения, относятся к разрешениям разового характера (рейс туда и (или) обратно) и могут быть выданы на определенное количество рейсов. Имеется также многостороннее соглашение об установлении общего контингента многократных разрешений (в рамках Европейской конференции министров транспорта ЕКМТ). Подобные разрешения являются очень удобными для перевозчиков, так как действуют на территории всех договаривающихся стран в течение определенного периода (например, одного года).
Бланк разрешения на перевозку груза заполняется перевозчиком и в соответствии с Рекомендацией № 119/1977- комитет по внутреннему транспорту европейской экономической комиссии (КВТ ЕЭК ООН) должен содержать следующие реквизиты: наименование государства, на территории которого действительно данное разрешение; срок действия и номер разрешения; число разрешаемых поездок; фамилия и наименование перевозчика; полный адрес, место и дата выдачи разрешения; дополнительные сведения; подпись лица и печать организации, выдавшей разрешение.
Данное разрешение должно находиться в АТС и предъявляться по требованию лиц, уполномоченных производить контроль, передача его третьим лицам запрещена.
При перевозках нестандартных (крупногабаритных и тяжеловесных) грузов и применении нестандартных транспортных средств, а также при перевозках опасных грузов и при перевозках в (из) третьих стран необходимо получение специальных разрешений. В случае перевозки крупногабаритных и тяжеловесных грузов заявки подаются заблаговременно, поскольку маршрут перевозок, как правило, требует предварительного согласования. Запрос на получение специального разрешения на перевозку опасных грузов должен содержать сведения о характере перевозимого груза, маршруте следования, упаковке, подвижном составе, времени перевозки и ряд других сведений.
«Зеленая карта» название системы международных договоров и страхового полиса об обязательном страховании гражданской ответственности владельцев автотранспортных средств. «Зеленая карта» была введена в начале 1950-х гг. в странах ЕЭС и получила название по первоначальному цвету страхового полиса.
«Зеленая карта» подтверждает наличие у владельца автотранспортного средства страхового покрытия, действительного на территории любой страны Европейского сообщества и некоторых других стран, присоединившихся к данной системе.
Владельцам автотранспортных средств, базирующихся в странах, не входящих в данную систему, в частности России, при въезде на территорию любой из стран ЕС необходимо оформить «зеленую карту».
Страхование по «зеленой карте» гарантирует возмещение ущерба, нанесенного вашим автотранспортным средством здоровью или имуществу третьих лиц, пострадавших в дорожно-транспортном происшествии по вашей вине. При этом вы сами никакого возмещения не получаете.
Свидетельство о допущении транспортных средств к перевозке таможенных грузов является сопроводительным документом дорожного транспортного средства. Заявка на индивидуальное допущение представляется компетентному органу владельцем, лицом, эксплуатирующим транспортное средство, или представителем того или другого. Компетентный орган осуществляет контроль представленного дорожного транспортного средства в соответствии с предусмотренными общими правилами, удостоверяется в том, что оно удовлетворяет предписанным техническим условиям и выдает свидетельство. Завод, который серийно производит дорожно-транспортные средства, может обратиться к компетентному органу страны, в которой осуществляется производство, с просьбой об их допущении по типу конструкции.
Перед выездом на линию, при получении путевого листа, водитель обязан получить комплекты дисков тахограмм, необходимые для работы АТС на планируемый период до возврата в авто транспортную организацию (АТО). Диспетчер при выдаче тахограмм должен зафиксировать их количество в специальном журнале и в путевом листе. Водитель на первом диске заполняет следующие сведения:
- фамилия, имя и отчество первого и второго водителей;
- номер АТС;
- номер путевого листа.
Механик авто транспортного предприятия (АТП) заполняет дату установки комплекта дисков в тахограф и показания спидометра на момент установки.
До сдачи дисков после возвращения из рейса водитель заполняет все диски вышеприведенными данными и на последнем диске комплекта проставляет показания спидометра.
2 Выбор технических средств для перевозки груза
Определяющим факторами при выборе эффективного транспортного средства является вид груза и его транспортная характеристика. От транспортной характеристики груза зависит выбор типа кузова АТС, способа выполнения погрузо-разгрузочных работ (ПРР), типа погрузо-разгрузочный механизм (ПРМ) и др.
Основой выбора должно являться обеспечение сохранности грузов в сочетании с наиболее полным использованием грузовместимости транспортного средства и приемлемой себестоимостью перевозок.
В нашем случае кондитерские изделия необходимо перевозить в автомобилях с закрытым кузовом типа «фургон». Среди кондитерских изделий существуют и скоропортящиеся изделия, поэтому к выбору транспортных средств для перевозки таких грузов необходимо подходить с учетом потерь, которые могут понести заинтересованные стороны от несвоевременной поставки.
Грузоподъемность транспортного средства выбирают, исходя из количества грузов, которое требуется доставить получателю или забрать у отравителя, а также возможности укрупнения отправок (или сбора) грузов. Необходимо помнить, что чем выше грузоподъемность транспортных средств, тем большее количество грузов они могут единовременно перевезти и тем меньше себестоимость перевозки одной тонны груза. Размер партии груза определяется грузоотправителем и зависит от технологии производства (грузообразования), времени его наполнения экономически оправданными запасами в местах его складирования и временного хранения. На рис.12 представлена схема выбора автотранспортных средств.
Рис.12 Схема выбора автотранспортных средств
Характерным примером зависимости партионности отправок грузов от условий у грузополучателя может служить завоз продуктов питания в торговую сеть. Торговые предприятия (магазины, столовые, рестораны, кафе), не имеющие в достаточном количестве холодильных установок или продающие продукты питания определенного качества (будут вынуждены заказывать такие партии скоропортящихся продуктов, которые они гарантированно могут продать за время, отведенное на реализацию продуктов.
Автомобили и автопоезда, которые предназначаются для перевозок между пунктами, оснащенными высокопроизводительными средствами стационарной или другой механизации погрузочных и разгрузочных работ (кранами, транспортерами, автопогрузчиками, экскаваторами, бункерами, автомобиле опрокидывателями и др.), должны выбираться приспособленными к использованию таких механизмов. Критериями оптимальности выбранного автотранспортного средства для перевозки определенного вида груза должны являться те же критерии, которыми оценивается эффективность автомобиля, т. е. приведенные затраты на перевозки, производительность АТС, трудоемкость его использования, энергоемкость и металлоемкость (материалоемкость) перевозок.
Производительность АТС является обязательным параметром для установления количественной потребности в них. Она зависит от грузоподъёмности, грузовместимости и тягово-скоростных свойств выбранного, оптимального для перевозок данного груза, транспортного средства, а также от ряда факторов, которые характеризуют режим эксплуатации и условия выполнения перевозок.
На рис.13 представлена - взаимосвязь факторов, определяющих количественную потребность в АТС для перевозок определённого вида груза
Рис.13 Взаимосвязь факторов, определяющих количественную потребность в АТС для перевозок определённого вида груза
При определении потребности не в одиночных автомобилях, а в автопоездах, требуется уточнение потребности в полуприцепах или прицепах. При использовании седельных автопоездов на маятниковых маршрутах с перецепкой полуприцепов потребное их количество за счет простаивающих под погрузкой и выгрузкой может в 1,5-1,6 раза быть большим, чем седельных автомобилей, тягачей. Это разделяется соответствующим расчетом. Количество требуемых прицепов может также отличаться от потребности в автомобилях тягачах, что также уточняется применительно к конкретным условиям перевозок. Если автотранспортное предприятие осуществляет перевозку нескольких видов грузов, для которых оптимальными являются разные типы транспортных средств, то количественная потребность в каждом из них определяется раздельно. Суммирование результатов позволяет установить требуемую общую численность автомобильного парка предприятия.
В настоящее время для перевозок грузов может быть привлечен: транспорт общего пользования или общественный транспорт, который сосредоточен в грузовых автотранспортных предприятиях с государственно (муниципальной) формой собственности, с частной формой собственности (частные транспортные фирмы) или со смешанной формой собственности; арендованный транспорт, который может использоваться фирмами производителями или посредниками для перевозок грузов на основе контракта (договора аренды) с транспортными фирмами; собственный парк автотранспортных средств, принадлежащий фирме (предприятию, организации) производителю.
3 Организация работы водителей при международных перевозках
В соответствии с Европейским соглашением, касающимся работы экипажей транспортных средств, производящие международные автомобильные перевозки (ЕСТР) для автотранспортных средств полной массой более 3,5 т период вождения должен продолжаться не более 9 ч (увеличение до 10 ч может быть не более двух раз в неделю), не более 56 ч в неделю, но не более 90 ч в любые две недели.
После каждых 4,5 ч вождения должен предоставляться перерыв для отдыха на 45 мин, если не наступит период отдыха. Этот период может быть разбит на более короткие продолжительностью не менее 15 мин каждый. Во время этих перерывов водитель не должен выполнять никакой работы, но ПС может находиться в движении. Пример графика АТС в соответствии с требованиями - единой системы технического регулирования (ЕСТР) представлен на рис.14.
Два водителя
Один водитель
0 2 4 6 8 10 12 14 16 18 Время, ч
Время работы Время работ Время отдыха
1-го водителя 2-го водителя
Рис.14 график АТС в соответствии с требованиями ЕСТР
Каждые 24 ч водитель должен иметь не менее 11 ч непрерывного отдыха. В течение недели допускается три снизить его продолжительность до 9 ч с обязательной компенсацией до конца следующей недели. В соответствии с правилами ЕС, если автомобилем управляют два водителя, каждый должен отдыхать 8 непрерывных часов в течении каждых 30 ч движения.
Ежедневный отдых водителя должен составлять 45 непрерывных часов, но его можно сократить до 36 ч в месте приписки ПС или водителя и до 24 ч в рейсе с обязательной компенсацией до конца третьей рабочей недели эквивалентным временем отдыха.
Режимы труда и отдыха водителей оказывают существенное и часто определяющее значение при организации междугородных и международных перевозок. В этом случае технологические аспекты перевозок приходится согласовывать с режимами работы водителей, и оптимальное решение, как правило, является результатом творческого поиска в допустимом диапазоне решений.
При осуществлении международных перевозок нарушение предписаний ЕСТР по нормам режимов труда и отдыха водителей влекут наложение штрафа. Так, в Германии превышение установленного времени управлении транспортным средством наказывается штрафом до 100 евро за каждые 30 мин превышения допустимого времени, а за сокращение отдыха более 50 евро за каждый час.
4 Правила прохождения таможенного надзора
Таможенное оформление как процедура помещения товаров и транспортных средств под определенный таможенный режим и завершения действия этого режима представляет собой порядок, т.е. правила, по которым совершаются юридически значимые действия. Общие правила оформления содержатся в ст. 127136 Таможенного кодекса, анализ которых позволяет подразделить их на две группы.
К первой группе относятся правила о месте, времени таможенного оформления, ко второй правила технического обеспечения оформления (присутствие полномочных лиц и их представителей при оформлении, язык, на котором производится оформление, контроль других государственных органов и т.д.). По общему правилу товары и транспортные средства, перемещаемые через таможенную границу, подлежат оформлению в местах в регионе деятельности таможенного органа, в котором находится отправитель или получатель товаров либо их структурное подразделение, и во время работы таможенного органа, что позволяет регулировать движение товаропотоков. При этом следует иметь в виду положения Закона Российской Федерации «О Государственной границе Российской Федерации», в соответствии с которыми пропуск через государственную границу лиц, транспортных средств, грузов, товаров производится в установленных пунктах пропуска через государственную границу, где осуществляется и таможенное оформление.
Цель создания пунктов пропуска обеспечение международных сообщений Российской Федерации с другими государствами. Пункты пропуска устанавливаются в морских, речных и рыбных портах, в аэропортах, на аэродромах, открытых для международного сообщения, на пограничных железнодорожных станциях и вокзалах, а также на специально выделенных в непосредственной близости от государственной границы Российской Федерации участках местности в пределах пограничной зоны и иных местах.
Места таможенного оформления зависят от вида транспорта, которым перемещаются товары через таможенную границу.
При ввозе товаров автомобильным транспортом таможенное оформление производится в пункте пропуска на государственной границе.
В случае, если перемещение товаров производится с использованием более одного вида транспорта (трубопроводный-железнодорожный, трубопроводный-автомобильный и т.п.), экспортер обязан представить в таможенный орган, в регионе деятельности которого осуществляется перевалка товара с одного вида транспорта на другой, заверенную ксерокопию таможенной декларации, оформленную в установленном порядке таможенным органом по месту нахождения экспортера.
При перемещении товаров с использованием более 2 видов транспорта оформление производится в таможенном органе, в регионе деятельности которого осуществляется перевалка на последний вид транспорта.
Места для таможенного оформления товаров в неторговом обороте, т.е. при перемещении товаров через таможенную границу физическими лицами и не предназначенных для производственной или иной коммерческой деятельности, определяются в зависимости от того, перемещаются ли товары в сопровождаемом или несопровождаемом багаже.
Оформление товаров, перемещаемых через таможенную границу в сопровождаемом багаже, может производиться только таможенными органами, в регионе деятельности которых расположены пункты пропуска через государственную границу Российской Федерации. Перемещаемые физическими лицами товары оформляются в специально установленных таможенными органами местах (аэропортах, морских портах, в автомобильных пунктах пропуска, на транспортных средствах, в том числе, в вагонах, автомашинах, автобусах, на судах, в том числе, морских, речных, воздушных, складах транспортных организаций и т.д.).
Особый правовой статус товаров, перемещаемых через таможенную границу, ставит перед таможенным контролем задачу обеспечить перевозку товаров и документов на них без их утраты или повреждения. Таможенные органы в каждом случае должны принять соответствующие меры, которые способствовали бы выполнению этой задачи. При наличии оснований полагать, что перевозчик или его транспортное средство не могут гарантировать доставку, таможенные органы вправе требовать осуществлять перевозку товаров и документов на них при условиях:
- надлежащего оборудования транспортного средства;
- таможенного сопровождения;
- перевозки товаров и документов на них таможенным перевозчиком.
Требования о надлежащем оборудовании могут относиться к любому транспортному средству, которое используется для перевозки товаров, в том числе, морским и речным судам, воздушным судам, дорожным транспортным средствам (включая прицепы и полуприцепы), железнодорожному подвижному составу (вагоны, цистерны), транспортному оборудованию (контейнеры).
Под надлежаще оборудованным транспортным средством (контейнером) понимается транспортное средство, грузовые отделения которого или контейнер сконструированы и оборудованы таким образом, чтобы товары не могли извлекаться из опечатанного грузового отделения или загружаться туда без видимых следов взлома или повреждения таможенных печатей и пломб; таможенные печати и пломбы могли налагаться простым и надежным способом; в них не было никаких скрытых мест для утаивания товаров; все места, в которые могут помещаться товары, были легко доступны для таможенного досмотра.
Транспортные средства (контейнеры), допущенные для перевозки товаров под таможенными печатями и пломбами, рассматриваются, как соответствующие техническим требованиям, за исключением случаев, когда в процессе проверки обнаружены серьезные неисправности, дающие возможность извлекать товары из опечатанного грузового отделения транспортного средства или контейнера или помещать их туда без оставления видимых следов взлома или повреждения таможенных печатей и пломб.
Транспортные средства (исключая железнодорожный подвижной состав), допущенные к перевозке товаров под таможенными печатями и пломбами, должны сопровождаться свидетельством о допуске.
Правила оборудования транспортных средств (контейнеров) для перевозки товаров под таможенными печатями и пломбами содержат целый ряд технических требований к конструкции грузовых отделений транспортных средств.
Решение о допуске транспортных средств (контейнеров) для перевозки товаров принимается в порядке, установленном Государственным таможенным комитетом России.
Допуск транспортных средств (контейнеров) в индивидуальном порядке, а также допуск определенными партиями единиц железнодорожного подвижного состава или контейнеров одного и того же типа, производится таможней, в регионе деятельности которой находится собственник или владелец транспортных средств или контейнеров.
Допуск транспортных средств (контейнеров) по типу конструкции производится таможней, в регионе деятельности которой находится изготовитель транспортных средств или контейнеров.
Решение о допуске оформляется свидетельством, которое выдается таможней, рассматривавшей этот вопрос.
Для обеспечения соблюдения требований Таможенного кодекса при перевозке товаров и документов на них возможно таможенное сопровождение, которое осуществляется должностными лицами таможенных органов.
Решение о таможенном сопровождении принимается когда:
- перевозка товаров, находящихся под таможенным контролем, не может быть осуществлена таможенным перевозчиком;
- пограничным таможенным органом принято решение о производстве досмотра товаров на приграничных складах временного хранения;
- соблюдение таможенного законодательства не может быть обеспечено иными мерами, включая применение обеспечения уплаты таможенных платежей.
В качестве меры по обеспечению соблюдения законодательства о таможенном деле при перевозке товаров и документов на них при таможенном оформлении может служить перевозка таких товаров и документов на них таможенным перевозчиком, которым может выступать организация, обладающая правами юридического лица и получившая лицензию Государственного таможенного комитета России на осуществление деятельности таможенного перевозчика. Деятельность таможенного перевозчика непосредственно связана с перевозкой товаров, находящихся под таможенным контролем, одной из основных обязанностей которого является обеспечение сохранности таких товаров и документов на них.
Меры по обеспечению соблюдения законодательства при перевозке товаров могут повлечь за собой для перевозчика дополнительные расходы, которые таможенными органами не возмещаются.
Закон допускает использование для гарантирования перевозки товаров обеспечение уплаты таможенных платежей, применение которых возможно, когда по каким-либо причинам нельзя прибегнуть к указанным выше мерам.
В качестве мер по обеспечению уплаты таможенных платежей могут быть использованы банковская гарантия, поручительство, внесение на депозит таможенного органа причитающихся сумм.
Банковская гарантия, принимаемая таможенными органами, должна обеспечивать уплату таможенных пошлин и налогов в отношении всех товаров, которые перемещаются в соответствии с таможенным режимом транзита или в соответствии с правилами доставки товаров под таможенным контролем перевозчиком, получившим такую гарантию.
Таможни могут принимать банковские гарантии при одной или нескольких перевозках на одном или нескольких транспортных средствах.
По договору поручения поручители обязываются перед таможенными органами отвечать за исполнение перевозчиком своих обязательств перед таможенными органами при транзите и доставке товаров под таможенным контролем.
В качестве обеспечения уплаты таможенных платежей может применяться внесение на депозит таможенного органа суммы таможенных платежей. Внесение денежных средств производится на депозит внутреннего таможенного органа заблаговременно до момента фактического пересечения товарами таможенной границы, но не позднее 10 дней до предполагаемого пересечения таможенной границы. Порядок расчета сумм установлен приказом Государственного таможенного комитета России от 22 декабря 1993 г. № 549 «Об обеспечении уплаты таможенных платежей в отношении подакцизных товаров».
Заключение
В ходе проделанной работы были сделаны следующие выводы:
- существуют различные кондитерские изделия, в основном это скоропортящиеся и хрупкие грузы. При их транспортировке необходимо соблюдать требования перевозки груза, так как при их не соблюдении качество продукта не будет соответствовать требованиям стандарта;
- маршрут, по которому осуществляются перевозка, является международным, и включает в себя пункт отправления (Омск), промежуточные разгрузочные пункты г. Петропавловск и г. Кокчетав, конечный разгрузочный пункт г. Караганда и транспортные связи, соединяющие их;
- доставка грузов в международном сообщении оформляется по одному из двух вариантов: либо по книжке МДП (), либо по процедуре ВТТ (внутренний таможенный транзит);
- при выборе ТС для перевозки кондитерских изделий необходимо подходить с учетом потерь, которые могут понести заинтересованные стороны от несвоевременной поставки;
- Таможенное оформление товаров осуществляется на основании заполненной и заверенной печатью и подписью руководителя организации грузоотправителя грузовая таможенная декларация (ГТД) с комплектом прилагаемых к ней документов и оформленных товарно-транспортная накладная (ТТН) и книжки - международных дорожных перевозок (МДП).
Список использованной литературы
1. Конвенция о договоре международной перевозки грузов (КДПГ) (Женева, 19 мая 1956 г.)
2. Положение о допуске российских перевозчиков к осуществлению международных автомобильных перевозок (утв. Постановлением Правительства РФ от 16 октября 2001 г. N 730) (с изменениями от 3 октября 2002 г.)
3. Министерства транспорта РФ от 13 мая 1997 г. N 46 "Об утверждении порядка организации работы по обеспечению российских юридических и физических лиц (перевозчиков), осуществляющих перевозки грузов и пассажиров в международном автомобильном сообщении, иностранными разрешениями на эти перевозки" (Бюллетень нормативных актов федеральных органов исполнительной власти, 1997, N 13).
4. Министерства транспорта РФ от 30 сентября 1999 г. N 73 "О порядке выдачи лицензий на перевозку автомобильным транспортом грузов в международном сообщении" (Бюллетень нормативных актов федеральных органов исполнительной власти, 1999, N 44);
5.Федеральный закон от 24 июля 1998 г. "О государственном контроле за осуществлением международных автомобильных перевозок и об ответственности за нарушение порядка их выполнения" в редакции от 30 декабря 2001 г. (СЗ РФ, 1998, N 31, ст.3805; 2002, N 1, ч.I, ст.2);
6.Приказ ГТК от 18 мая 1994 г. № 206 Об утверждении положения о порядке применения Конвенции МДП, 1975 г. (действует с изменениями и дополнениями от 28 июня 2002 г.) // Экономика и жизнь. 1994. № 24; Таможенные ведомости. 2002. № 10.
7. Ершов А.Д. Международные таможенные отношения: Учеб. пособие. СПб. 2000. С. 19.
8. Марлухина Е.О. Комментарий к Федеральному закону от 24 июля 1998 г. № 127-ФЗ «О государственном контроле за осуществлением международных автомобильных перевозок и об ответственности за нарушение порядка их выполнения» // Подготовлен для СПС «КонсультантПлюс». 2008.
9. Конвенция о международной дорожной перевозке грузов от 19 мая 1956 г. // Международные перевозки грузов. СПб., 1993.
10. Иванова Т.А. Правовое регулирование международных автомобильных перевозок грузов: Учебное пособие / под ред. профессора Н.П. Антипова. Саратов, 2003. С. 3 - 5.
PAGE \* MERGEFORMAT53
Приложение таблицы 2
Вид груза
Условия грузоотправления и грузопотребления
Срочность (скорость) доставки
Размер партии
Грузоподъёмность транспортного средства
Дорожные условия перевозок
Стабильность состояния дорог
Транспортная характеристика грузов
Тип кузова АТС
Одиночный автомобиль
Открытая бортовая платформа
Автопоезд
Самосвал
Фургон
Цистерна
Прочие типы
Интенсивность движения
Интенсивность движения
Прочие типы
Цистерна
Фургон
Самосвал
Автопоезд
Открытая бортовая платформа
Одиночный автомобиль
Транспортная характеристика грузов
Стабильность состояния дорог
Дорожные условия перевозок
Грузоподъёмность транспортного средства
Размер партии
Условия грузоотправления и грузопотребления
Вид груза
Способ выполнения погрузочных и разгрузочных работ. Тип оборудования
Тип кузова АТС
Тип транспортного средства
Предельная осевая нагрузка
Производительность АТС
Численность парка АТС
Объём перевозок
Состав парка
Расстояние перевозок
Режим эксплуатации
Грузоподъёмность транспортного средства
Коэффициент использования грузоподъёмности
Эксплуатационная скорость
Одиночные автомобили
Время пребывания АТС в наряде
Автопоезда
Коэффициент использования пробеги
Коэффициент использования АТС
Организация и управление международными перевозками