Электродуговая металлизация
Электродуговая металлизация
Сущность процесса заключается в том, что напыляемый металл расплавляется электрической дугой, распыляется на частицы 10100 мкм и переносится на восстанавливаемую поверхность струей газа.

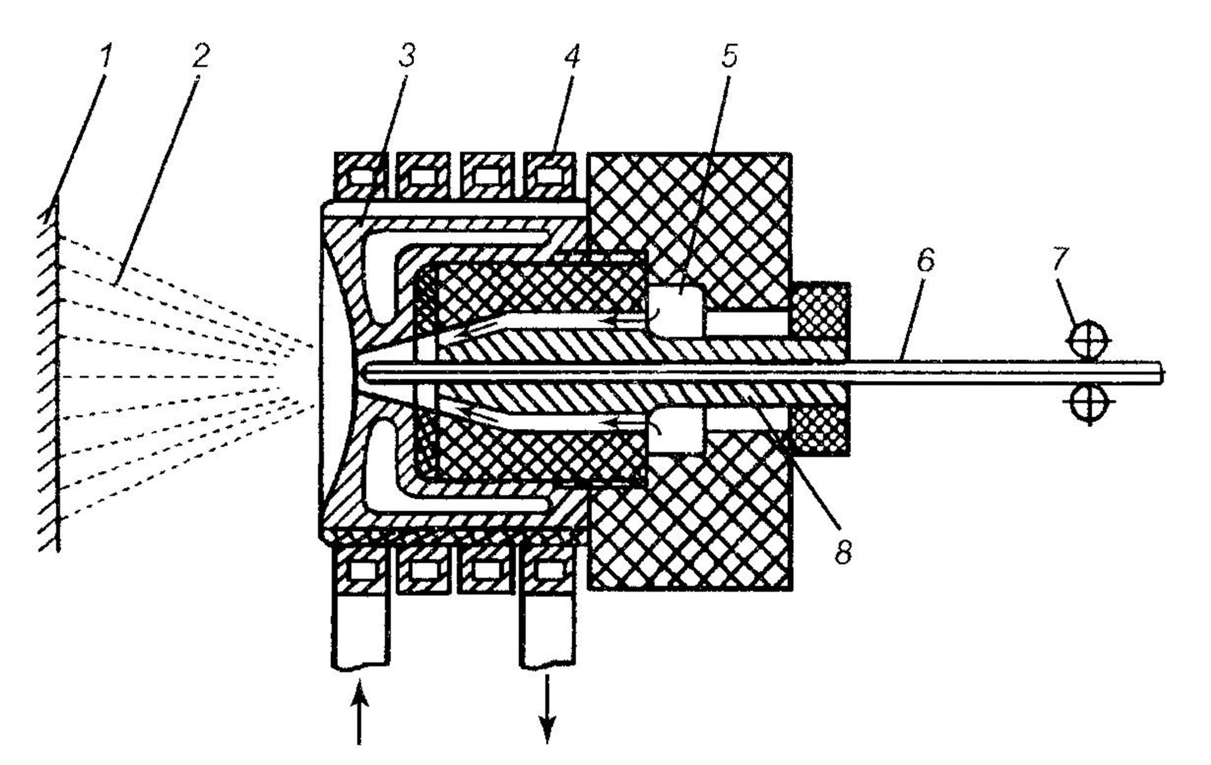
Рис. 4.49. Схема электродуговой металлизации: 1 напыляемая поверхность; 2 направляющие наконечники; 3 воздушное сопло; 4 подающие ролики; 5 проволока; 6 газ.
Электрическая дуга возбуждается между двумя электродными проволоками 5, которые изолированы одна от другой и равномерно подаются роликовыми механизмами 4 со скоростью 0,61,5 м/мин через направляющие наконечники 2. Если проволоки изготовлены из разных материалов, то материал покрытия представляет собой их сплав. Расстояние от сопла до детали составляет 80100 мм.
Одновременно по воздушному соплу 3 в зону дуги поступает сжатый воздух или инертный газ под давлением 0,40,6 МПа, который распыляет расплавленный металл и переносит его на поверхность детали 1. Большая скорость движения частиц металла (120300 м/с) и незначительное время полета, исчисляемое тысячными долями секунды, обуславливают в момент удара о деталь их пластическую деформацию, заполнение частицами пор поверхности детали, сцепление частиц между собой и с деталью, в результате чего на ней образуется сплошное покрытие. Последовательным наслаиванием частиц металла можно получить покрытие толщиной более 10 мм (обычно 1,01,5 мм для тугоплавких и 2,53,0 мм для легкоплавких материалов).
Питание дуги может осуществляться переменным или постоянным током. При использовании постоянного тока дуга горит непрерывно и устойчиво, поэтому по сравнению с переменным током процесс плавления более стабильный, обеспечивается высокая дисперсность частиц наносимого металла и плотность создаваемых ими покрытий.
Для электродугового напыления применяют электрические металлизаторы: станочные ЭМ-6, МЭС-1, ЭМ-12, ЭМ-15 (при значительном объеме восстановительных работ), которые монтируются обычно на токарных станках или специальном оборудовании, или ручные (переносные) ЭМ-3, РЭМ-ЗА, ЭМ-9, ЭМ-10 (при небольшом объеме работ).
Присадочным материалом при металлизации в зависимости от назначения покрытия обычно служит электродная проволока (стальная, медная, латунная, бронзовая, алюминиевая и др.) (табл. 4.8) диаметром 12 мм. Для получения антифрикционных покрытий применяют биметаллическую свинцово-алюминиевую проволоку с массовым соотношением этих металлов 1:1.
Проволока должна быть гладкой, чистой и мягкой. Жесткую стальную проволоку отжигают при температуре 800850 °С с последующим медленным охлаждением вместе с печью. Для уменьшения жесткости проволоки из меди и ее сплавов необходим нагрев до 550600 °С с последующим охлаждением в воде.
Основные преимущества электродуговой металлизации высокая по сравнению с другими методами производительность (до 50 кг напыляемого материала в час) и несложное технологическое оборудование.
К ее недостаткам относятся значительное (до 20 %) выгорание легирующих элементов и повышенное окисление металла. Для устранения этих недостатков в обоснованных случаях для распыления расплавленного металла вместо сжатого воздуха применяют природный газ или продукты сгорания углеводородного топлива, исключающие взаимодействие частиц металла с воздухом (активированный способ металлизации). При этом благодаря науглероживанию и закалке частиц металла повышается твердость напыленного слоя.
Таблица 4.8
Материал электродной проволоки для различных покрытий

Высокочастотная металлизация
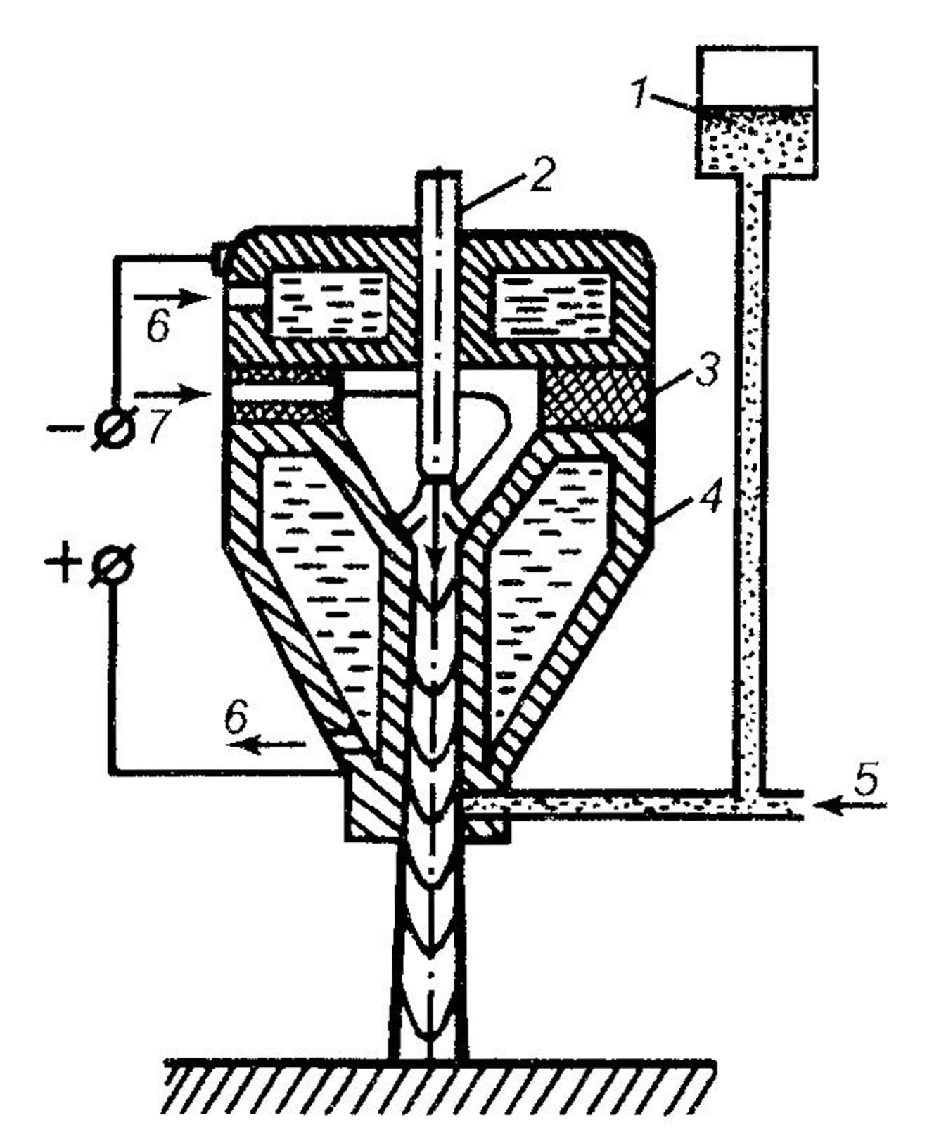
Этот метод основан на расплавлении присадочного материала за счет индукционного нагрева током высокой частоты (200300 кГц) и распылении расплавленного металла струей сжатого воздуха. В качестве присадочного материала используются проволока и стержни из углеродистой стали диаметром 36 мм. Покрытия наносятся высокочастотными металлизаторами МВЧ-1, МВЧ-2 и др.
Присадочный материал 6 расплавляется в индукторе 4 металлизатора, который подключен к генератору тока высокой частоты. Присадочный материал непрерывно подается роликами 7 через направляющую втулку 8 и благодаря наличию концентратора 3 плавится на небольшой длине. Сжатый воздух, поступающий из канала 5 в зону плавления, распыляет расплавленный материал и переносит его частицы в виде газометаллической струи 2 на напыляемую поверхность 1.

Рис. 4.50. Схема напыления высокочастотным методом: 1 напыляемая поверх' ность; 2 газометаллическая струя; 3 концентратор тока; 4 индуктор; 5 воз душный канал; б проволока; 7 подающие ролики; 8 направляющая втулка
По сравнению с электродуговой при высокочастотной металлизации снижаются выгорание легирующих элементов и пористость покрытия, а также повышается производительность процесса.
Покрытия, нанесенные высокочастотной металлизацией, за счет благоприятных условий плавления присадочного материала имеют лучшие структуру и физико-механические свойства, чем при других методах, кроме плазменной металлизации. Эти преимущества обусловлены, в частности, тем, что выгорание основных химических элементов снижается в 46 раз, насыщенность покрытия окислами уменьшается в 23 раза, а это увеличивает прочность сцепления и уменьшает расход присадочного материала. Недостаток данного метода металлизации необходимость в более сложном технологическом оборудовании.
Плазменная металлизация
Это прогрессивный способ нанесения покрытий, при котором расплавление и перенос материала на восстанавливаемую поверхность осуществляется струей плазмы. Плазма это сильно ионизированное состояние газа, когда концентрация электронов и отрицательных ионов равна концентрации положительно заряженных ионов. Плазменную струю получают, пропуская плазмообразующий газ через электрическую дугу при ее питании от источника постоянного тока напряжением 80100 В.
Переход газа в ионизированное состояние и распад его на атомы сопровождается поглощением значительного количества энергии, которая выделяется при охлаждении плазмы в результате ее взаимодействия с окружаемой средой и напыляемой деталью. Это обуславливает высокую температуру плазменной струи, которая зависит от силы тока, вида и расхода газа. В качестве плазмообразующего газа обычно применяют аргон или азот и реже водород или гелий. При использовании аргона температура плазмы составляет 15000-30000°С, а азота 10 000-15 000 °С. При выборе газа следует учитывать, что азот дешевле и менее дефицитен, чем аргон, но чтобы зажечь в нем электрическую дугу, требуется значительно большее напряжение, что обуславливает повышенные требования к электробезопасности. Поэтому иногда при зажигании дуги используют аргон, для которого напряжение возбуждения и горения дуги меньше, а в процессе напыления азот.
Покрытие формируется за счет того, что поступающий в струю плазмы наносимый материал расплавляется и переносятся потоком горячего газа на поверхность детали. Скорость полета частиц металла составляет 150200 м/с при расстоянии от сопла до поверхности детали 5080 мм. Благодаря более высокой температуре наносимого материала и большей скорости полета, прочность соединения плазменного покрытия с деталью выше, чем при других способах металлизации.
Высокая температура и большая мощность по сравнению с другими источниками тепла является основным отличием и преимуществом плазменной металлизации, обеспечивающим значительное повышение производительности процесса, возможность расплавлять и наносить любые жаростойкие и износостойкие материалы, включая твердые сплавы и композиционные материалы, а также оксиды, бориды, нитриды и др., в различных сочетаниях. Благодаря этому можно формировать многослойные покрытия с различными свойствами (износостойкие, хорошо прирабатывающиеся, жаростойкие и др.). Наиболее качественные покрытия получаются при применении самофлюсующихся наплавочных материалов.
Плотность, структура и физико-механические свойства плазменных покрытий зависят от наносимого материала, дисперсности, температуры и скорости столкновения переносимых частиц с восстанавливаемой деталью. Последние два параметра обеспечиваются за счет управления плазменной струей. Свойства плазменных покрытий существенно повышаются при последующем их оплавлении. Такие покрытия эффективны при ударных и высоких контактных нагрузках.
Принцип работы и устройство плазмотрона иллюстрирует рис. 4.51. Плазменную струю получают, пропуская плазмообразующий газ 7 через электрическую дугу, создаваемую между вольфрамовым катодом 2 и медным анодом 4 при подключении к ним источника тока.
Катод и анод разделены между собой изолятором 3 и непрерывно охлаждаются жидкостью б (желательно дистиллированной водой). Анод выполнен в виде сопла, конструкция которого обеспечивает обжатие и определенное направление плазменной струи. Обжатию способствует также электромагнитное поле, возникающее вокруг струи. Поэтому ионизированный плазмообразующий газ выходит из сопла плазмотрона в виде струи небольшого сечения, что обеспечивает высокую концентрацию тепловой энергии.

Рис. 4.51. Схема процесса плазменного напыления: 1 порошковый дозатор; 2 катод; 3 изоляционная прокладка; 4 анод; 5 транспортирующий газ; 6 охлаждающая жидкость; 7 плазмообразующий газ
Наносимые материалы используются в виде гранулированных порошков с размером частиц 50200 мкм, шнуров или проволоки. Порошок может подаваться в плазменную струю вместе с плазмообразующим газом или из дозатора 1 транспортирующим газом 5 (азотом) в сопло газовой горелки, а проволоку или шнур вводят в плазменную струю ниже сопла плазменной горелки. Перед использованием порошок следует просушить и прокалить для уменьшения пористости и повышения сцепляемости покрытия с деталью.
Защита плазменной струи и находящихся в ней расплавленных частиц металла от взаимодействия с воздухом может осуществляться потоком инертного газа, который должен охватывать плазменную струю. Для этого в плазмотроне концентрично основному предусматривается дополнительное сопло, через которое подается инертный газ. Благодаря ему исключается окисление, азотирование и обезуглероживание напыляемого материала.
В рассмотренном примере источник питания подключен к электродам плазмотрона (закрытая схема подключения), поэтому электрическая дуга служит только для создания плазменной струи. При применении наносимого материала в виде проволоки источник питания может быть подключен также и к ней. В этом случае кроме плазменной струи образуется плазменная дуга, которая также участвует в расплавлении прутка, благодаря чему мощность плазмотрона существенно возрастает
Современные плазменные наплавочные установки имеют электронные системы регулирования параметров процесса, оснащаются манипуляторами и роботами. Это повышает производительность и качество процесса напыления, улучшает условия работы обслуживающего персонала.
Газопламенная металлизация
Газопламенный метод нанесения покрытий заключается в расплавлении наносимого материала высокотемпературным пламенем, распылении и переносе частиц металла на предварительно подготовленную поверхность детали струей сжатого воздуха или инертного газа. Температура пламени горючих газов в смеси с кислородом находится в пределах 20003200 °С. Для газопламенной металлизации применяют материалы в виде проволоки, порошков и шнуров. Шнуры состоят из порошкообразного наполнителя в оболочке из материала, который полностью выгорает в газовом пламени.
Расплавление металла производится восстановительным пламенем, что позволяет по сравнению с электродуговой металлизацией уменьшить выгорание легирующих элементов и обезуглероживание материала и тем самым повысить качество покрытия. Преимуществом газопламенной металлизации является также относительно небольшое окисление металла при его распылении на мелкие частицы, что обеспечивает более высокую плотность и прочность покрытия. Недостаток этого метода невысокая производительность напыления (24 кг металла за час) и более высокая стоимость наплавочных материалов.
В зависимости от назначения детали, ее материала и условий эксплуатации при восстановлении используют различные методы газопламенной металлизации.
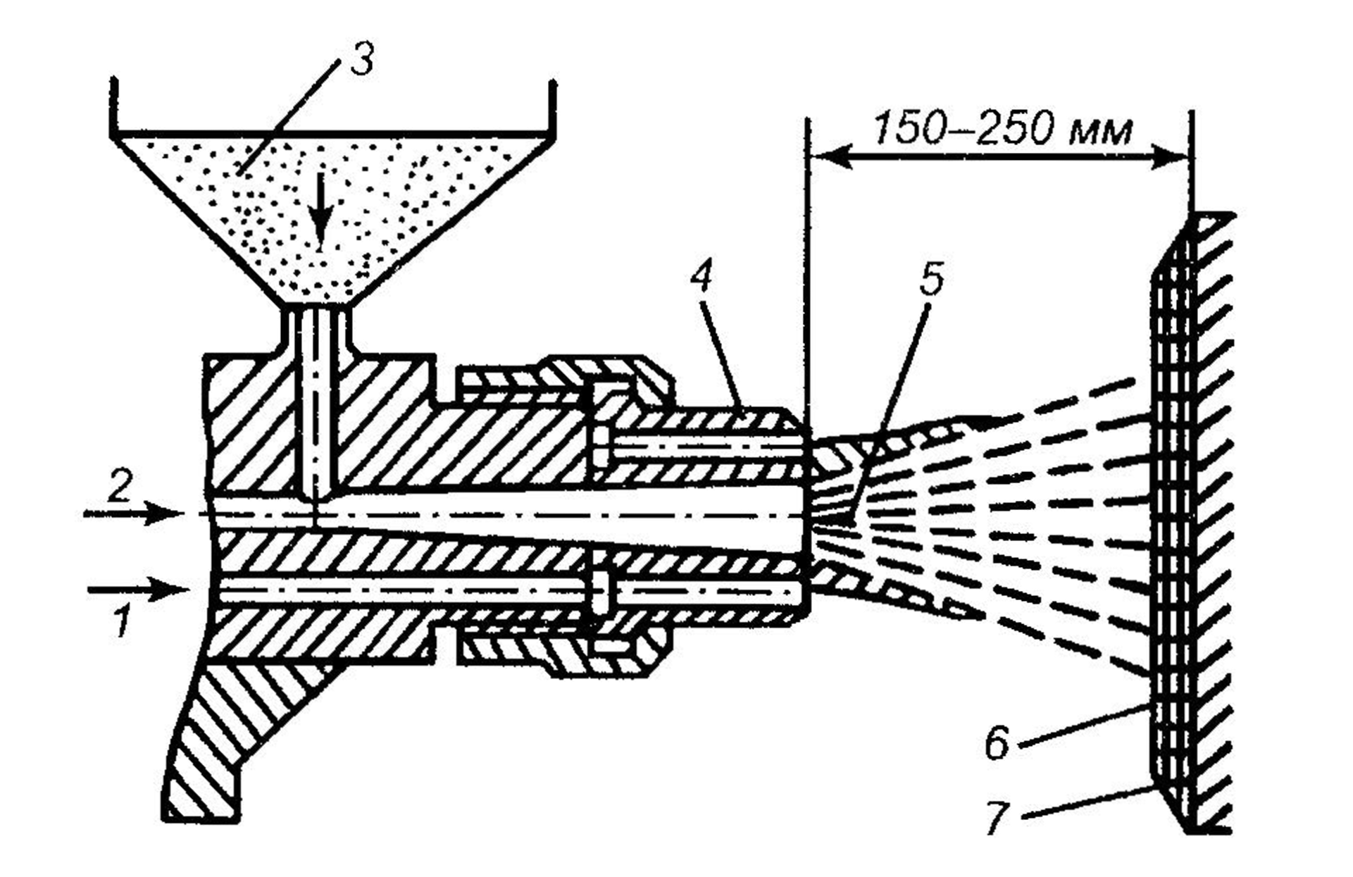
Газопламенное напыление из прутковых материалов. Присадочная проволока 3 расплавляется пламенем 7 смеси горючего газа (ацетилена или пропан-бутана) с кислородом, которые подаются в смесительную камеру 1 соответственно по каналам 5 и 2. По каналу 6 поступает сжатый воздух или инертный газ, который распыляет расплавленный металл в виде насыщенной частицами металла струи 8 и переносит их на напыляемую поверхность 9.
Горелки могут быть ручными и машинными. В проволочных горелках используется проволока диаметром от 1,5 до 5,0 мм.

Рис. 4.52. Схема металлизации проволочным материалом; 1 смесительная камера; 2 канал подвода кислорода; 3 проволока; 4 направляющая; 5 канал подвода ацетилена; 6 воздушный канал; 7 пламя; 8 струя газометаллическая; 9 напыляемая поверхность
Газопламенное напыление порошковых материалов. Этот метод металлизации получил широкое применение благодаря тому, что использование порошковых материалов обеспечивает его дополнительные преимущества. К ним относятся:
высокая гибкость процесса, что выражается в возможности нанесения покрытий на различные по габаритам изделия;
отсутствие ограничений на сочетания материалов покрытия и детали, что позволяет восстанавливать детали более широкой номенклатуры и назначения;
меньшее влияние процесса нанесения покрытия на свойства материала детали и др.
Газопламенному напылению подвергаются изношенные посадочные поверхности валов и корпусных деталей.
В зависимости от назначения и материала восстанавливаемой детали, условий ее эксплуатации, требований к покрытию и его дополнительной обработке применяют методы газопламенного нанесения покрытий: без оплавления и с оплавлением, которое может выполняться как в процессе напыления, так и после него.(см. табл.)

В зависимости от используемого метода напыления применяются соответствующие порошковые материалы (см. табл.).

Газопламенное напыление без последующего оплавления применяется для восстановления недеформированных деталей с износом до 2,0 мм и сохраненной структурой основного металла, которые в процессе эксплуатации не подвергаются ударам, знакопеременным нагрузкам и высокотемпературному нагреву. Предварительно деталь подогревают горелкой при избытке ацетилена, чтобы предотвратить окисление поверхности. Стальные детали подогревают до 50100 °С, бронзовые и латунные до 300 °С.
Напыление без оплавления осуществляется в два этапа: вначале наносится подслой (порошок ПТ-НА-01), а затем основной слой (порошок ПТ-19Н-01 или др.). Основной слой наносят за несколько проходов, при этом толщина покрытия должна быть не больше 2,0 мм на сторону. Фасонные и плоские детали напыляют вручную, а детали типа «вал» вручную или на механизированных установках с автоматической подачей металлизатора.
Оплавление необходимо для металлизационных покрытий, работающих при ударных нагрузках, так как из-за невысокой прочности сцепления с основным металлом неоплавленные покрытия могут растрескиваться и отслаиваться. Покрытия, подлежащие оплавлению, должны содержать материалы, хорошо смачивающие поверхность детали и обладающие свойством самофлюсования, например порошковые сплавы на основе никеля.
Жидкая фаза, образующаяся при оплавлении покрытия, способствует интенсификации диффузионных процессов между ним и металлом детали. В результате повышаются прочность сцепления, ударная вязкость, износостойкость и плотность материала покрытия. Для оплавления применяют различные источники тепла (ацетиленокислородное пламя, плазменную дугу, токи высокой частоты, лазерный луч, печи с защитно-восстановительной атмосферой и др.). Температура оплавления не должна превышать 1100 °С. Технология оплавления должна исключать перегрев и отслаивание покрытия. После оплавления деталь охлаждают вместе с соответственно нагретой печью.
Напыление с последующим оплавлением применяется для восстановления деталей типа «вал» при толщине покрытия до 2,5 мм. Оплавление выполняется сразу же после напыления. Напыленный участок нагревают до расплавления покрытия, в результате чего оно приобретает блестящую поверхность. Твердость оплавленных покрытий зависит от марки порошка. Они устойчивы против коррозии, абразивного изнашивания, действия высокой температуры и могут применяться для деталей, работающих при знакопеременных и контактных нагрузках.
Схема газопорошкового напыления без оплавления приведена на рис. 4.53.

Рис. 4.53. Схема газопламенного напыления порошкового материала с помощью транспортирующего газа: 1 смесь кислорода с горючим газом; 2 транспортирующий газ; 3 напыляемый порошок; 4 сопло; 5 факел; 6 покрытие; 7 подложка
Напыление с одновременным оплавлением (газопорошковая наплавка) используется для восстановления деталей с местным износом до 35 мм, работающих при знакопеременных и ударных нагрузках, изготовленных из чугуна, конструкционных, коррозионностойких сталей и др. материалов.
Основой установки для напыления порошковых покрытий с одновременным оплавлением является типовая сварочная горелка, дополненная устройством для подачи порошка в газовое пламя. Установки для напыления различаются степенью механизации (ручные и машинные), мощностью (очень малой, малой, средней и большой мощности), способом подачи порошка (инжекторный и безинжекторный).
Технологический процесс восстановления деталей с газопламенным нанесением покрытий в общем случае включает следующие операции:
предварительный нагрев восстанавливаемой детали до 200250 °С;
нанесение подслоя, как основы для наложения основных слоев;
нанесение основного слоя покрытия с необходимыми физико-механическими свойствами;
механическая обработка нанесенного слоя и контроль покрытия.
При прочих равных условиях предварительный подогрев детали и нанесение подслоя влияют на прочность сцепления покрытия с основным металлом. Она зависит также от способа подготовки поверхности к напылению, использования терморегулирующих порошков, эффективной мощности пламени, способа и параметров процесса распыления, наличия в материале покрытия поверхностно активных добавок, применяемого оборудования и др. факторов.
Обработка напыленных покрытий твердостью до 40HRCэ осуществляется резанием твердосплавными инструментами и инструментами из сверхтвердых материалов. Токарную обработку рекомендуется выполнять в следующей последовательности: снятие фасок у краев покрытия; проточка нанесенного слоя от середины покрытия к концам детали до устранения неровностей нанесенного слоя или окончательная обработка восстановленной поверхности с требуемой точностью и шероховатостью.
Обработку напыленных поверхностей производят также шлифованием на соответствующих станках (круглошлифовальных, внутри шлифовальных, плоскошлифовальных). В этом случае обязательно применение охлаждающей жидкости, например, 23%-ного раствора кальцинированной соды. Шлифование проводится непосредственно после нанесения покрытий или после предварительной токарной обработки. Шлифование напыленных покрытий твердостью до 60HRCэ выполняется кругами из карбида кремния или белого электрокорунда, а при твердости более 60HRCэ алмазными кругами.
Напыление покрытий методом детонации
Процесс металлизации при этом виде напыления осуществляется за счет энергии, выделяющейся при детонации процессе химического превращения взрывчатого вещества, который происходит в очень тонком слое и распространяется по взрывчатому веществу в виде особого вида пламени со сверхзвуковой скоростью (в газовых смесях 10003500 м/с).
В установках для металлизации в качестве взрывчатого вещества используется смесь кислорода и ацетилена, детонация которой представляет разновидность горения газового топлива. Выделяющаяся при этом потенциальная энергия газовой смеси создает ударную волну и поддерживает в ней высокую температуру (свыше 5000 °С) и давление (несколько десятков ГПа). Источником детонации обычно является тепловое воздействие на газовую смесь (электрическая искра).
Поступающие в зону детонации порошковые материалы разогреваются до температуры свыше 3500 °С и перемещаются вместе с продуктами детонации с высокой скоростью, которая на выходе из ствола составляет 800900 м/с. Таким образом, материал покрытия выбрасывается взрывной волной на обрабатываемую поверхность со сверхзвуковой скоростью.
На практике детонационные покрытия формируются за счет энергии периодически создаваемых взрывов смеси кислорода и ацетилена. Установка (пушка) для детонационного напыления (рис. 4.57) содержит: камеру сгорания, выполненную совместно с водоохлаждаемым стволом 5; запальное устройство (электрическая свеча) 2 с источником питания 3; устройство 1 подачи кислорода и ацетилена, порошковый дозатор 4.

Рис. 4.57. Схема установки для напыления методом детонации: 1 устройство для подачи смеси газов; 2 электрическая свеча; 3 источник питания; 4 порошковый дозатор; 5 ствол; 6 подложка; 7 деталь; 8 покрытие; 9 порошок
Напыляемая деталь 6 устанавливается на расстоянии 70150 мм от края ствола. В процессе нанесения покрытия последовательно происходят: подача кислорода и ацетилена в камеру сгорания; подача из дозатора в потоке азота определенного количества напыляемого порошка; воспламенение электрической искрой смеси кислорода и ацетилена; горение газовой смеси, выстрел порошка из ствола в направлении напыляемой поверхности. Подача порошка и газов в ствол пушки производится автоматически. Защита газовых клапанов от действия взрыва и очистка ствола от продуктов сгорания обеспечивается подачей в него азота.
Описанный цикл повторяется обычно с частотой 34 Гц, которая может быть повышена до 15 Гц и более. При каждом взрыве покрытие наносится на ограниченный участок поверхности, поэтому сплошное покрытие формируется за счет перемещения детали относительно пушки. Покрытие формируется из полностью расплавленных частиц порошка или из смеси расплавленных или нерасплавленных частиц. Высокая скорость в момент удара и высокая температура в зоне взаимодействия вызывают приваривание порошка на поверхности детали. Несмотря на высокую температуру продуктов детонации и частиц порошка, покрываемая деталь нагревается до температуры не более 200 °С.
В отличие от газопламенных и плазменных методов детонационные покрытия формируются при более высоких скоростях частиц и наличии более крупных непроплавленных частиц порошка. Первый слой покрытия практически не имеет пор (пористость менее 0,5 %), а образующиеся в нем отдельные поры уменьшаются в объеме или исчезают при формировании последующих слоев.
Детонационные покрытия обладают также высокой прочностью сцепления (до 20 ГПа) с основным металлом. Это обусловлено тем, что, несмотря на низкую общую температуру поверхностного слоя детали (200250 °С), температура в отдельных точках контакта наносимого и основного металлов достигает температуры плавления стали. Поэтому происходит сплавление и перемешивание этих металлов с образованием прочного соединения.
Детонационными методами напыляют порошки чистых металлов Ni, Al, Mo, окислов, карбидов, нитридов и т.д. Толщина детонационных покрытий обычно составляет 40220 мкм. Более тонкие покрытия имеют низкую износостойкость. Покрытие состоит из трех зон: переходная зона толщиной 530 мкм определяет прочность сцепления покрытия с подложкой; основная зона, толщина которой в зависимости от назначения покрытия составляет 30150 мкм; поверхностная зона толщиной 1040 мкм, которая обычно удаляется при обработке.
Технологический процесс детонационного нанесения покрытий включает подготовку напыляемой поверхности и порошка; нанесение и контроль качества покрытия; механическую обработку и контроль качества покрытий после механической обработки.
Для образования прочной связи между материалами детали и покрытия рекомендуется наносить промежуточный слой подложку. Он необходим при слабой адгезии между покрытием и материалом детали, когда значения коэффициентов термического расширения материалов покрытия и детали существенно различаются, и если деталь работает в условиях переменных температур. Толщина промежуточного слоя составляет 0,05 0,15 мм. Для его нанесения используются порошки нихрома, молибдена, никель-алюминиевых сплавов, стали 12Х18Н9 и др. Участки поверхности деталей, на которые покрытие не наносится, закрывают экранами из тонких листов металла.
Дистанцию напыления задают в зависимости от материала, размеров и форм детали, материала и необходимой толщины покрытия в пределах 50200 мм. Необходимую толщину покрытий получают многократным повторением циклов напыления. Смещение детали между двумя циклами не должно превышать 0,5 диаметра отверстия в стволе.
Свойства газотермических покрытий
Взаимодействуя с кислородом воздуха, частицы металла окисляются. Образующаяся окисная пленка разделяет их и препятствует образованию прочных металлических связей частиц с основой и между собой. Из-за значительного количества оксидов и шлаковых включений покрытие имеет неоднородную, пористую структуру. Обычно плотность составляет 8097 %. Покрытия из Аl2O3 и Zr02 имеют пористость 1015 %. Покрытия из самофлюсующихся сплавов на основе никеля могут иметь пористость менее 2 %.
Металлическое покрытие получается достаточно хрупким, с низким пределом прочности на растяжение и низкой усталостной прочностью напыленного материала (сопротивление на разрыв для сталей в среднем составляет 1012 МПа). Поэтому покрытие не увеличивает прочность детали, а ее усталостная прочность даже снижается, что связано, в частности, с образованием дополнительных концентраторов напряжений на поверхности детали при ее подготовке к металлизации. В этой связи не следует применять металлизацию для восстановления деталей с малым запасом прочности.
Покрытие характеризуется относительно слабой прочностью сцепления с основным металлом и частиц между собой, так как без применения специального дополнительного воздействия она определяется молекулярными силами взаимодействия контактирующих между собой участков и чисто механическим сцеплением напыляемых частиц с неровностями поверхности детали. Только в некоторых локальных точках отдельные частицы могут свариваться с металлом детали. Поэтому, например, прочность сцепления покрытия (МПа) при электрометаллизации составляет 1025, при газопламенной 1228, при плазменной до 40. В этой связи металлизация не применяется для восстановления деталей, работающих при высоком напряжении на сдвиг (зубья шестерен, кулачки и др.), подвергающихся ударным нагрузкам, а также небольших по площади поверхностей, воспринимающих значительные нагрузки (резьба, канавки и т.д.).
К специальным методам повышения сцепления покрытия с основой относятся: предварительный подогрев детали до температуры 200300 °С, нанесение промежуточного слоя (подслоя) из легкоплавких или трудноплавких материалов, оплавление покрытия.
Напыленные покрытия хорошо работают на сжатие. Например, временное сопротивление сжатию стального покрытия составляет 8001200 МПа, что выше, чем у чугуна.
Твердость металлизированного слоя обычно выше твердости исходного металла из-за закалки наносимого материала в процессе металлизации, наклепа переносимых частиц металла при ударе о поверхность и наличия в сформированном слое окисных пленок.
Однако его износостойкость не связана с твердостью и при сухом трении может быть в 23 раза меньше, чем у металла детали, поэтому металлизированные покрытия нельзя применять в сопряжениях, работающих без смазки или с периодически подаваемой смазкой. Однако при наличии смазки металлизированные покрытия обеспечивают более низкий коэффициент трения в сопряжениях и большую износостойкость деталей. Это связано с тем, что благодаря пористости металлизированный слой впитывает масло до 9 % своего объема. Таким образом, наблюдается эффект самосмазывания покрытия. При недостаточной подаче смазки или при ее временном прекращении заедание наступает значительно позже по сравнению с неме-таллизированной поверхностью. Значительной износостойкостью обладают плазменные покрытия из тугоплавких материалов, что обусловлено их физико-механическими свойствами.
В условиях абразивного износа высокую стойкость имеют покрытия из самофлюсующихся сплавов на основе никеля и Аl2O3
В частности, износостойкость покрытий из самофлюсующихся сплавов на основе никеля (СНГН) в 3,54,6 раза выше износостойкости закаленной стали 45. Хорошие антифрикционные свойства для подшипников скольжения имеют покрытия из оловянно-свинцово-медных псевдосплавов.
Для создания коррозионно-стойких покрытий обычно используют алюминий, цинк, медь, хромо-никелевые и др. сплавы. Вследствие пористости покрытий их толщина не должна быть меньше 0,2 мм для цинка; 0,23 мм для алюминия; 0,18 мм для меди; 0,61,0 мм для нержавеющей стали.
Припекание порошковых покрытий
Припекание это процесс получения металлического покрытия на поверхности детали, включающий нанесение на нее слоя порошка и нагрев их до температуры, обеспечивающей спекание порошкового материала и образование прочной диффузионной связи с деталью. В основу этого метода положены технологические приемы порошковой металлургии.
Для получения на поверхности детали прочного слоя, имеющего надежное сцепление с основой, необходимо активирование поверхности детали, порошка или обоих компонентов. Наиболее доступными и эффективными являются следующие виды активирования: химическое, термическое (ускоренный нагрев и введение присадок, снижающих температуру плавления в местах контакта порошка и детали), силовое (создание надежного контакта между порошком и деталью).
При химическом активировании в шихту вводятся активные присадки, обычно в виде дисперсного порошка (бора, кремния, фосфора, никеля и др.), равномерно распределенного в наносимом порошке. Они уменьшают окисление металла и разрушают окисные пленки.
Термическое активирование заключается в ускоренном нагреве с целью активизации диффузионных процессов и создания кратковременно в локальных зонах температуры, превышающей температуру плавления. При этом для снижения температуры появления жидкой фазы применяют присадки (как правило, совместно с химическим активированием), образующие легкоплавкую эвтектику. Наиболее эффективным и технологичным является нагрев в индукторе токами высокой частоты. Благодаря кратковременности нагрева до температуры, обеспечивающей припекание, уменьшается окисление порошка и детали, что исключает необходимость применения защитно-восстановительных сред или вакуума.
Силовое активирование необходимо в тех случаях, когда без надлежащего прилегания частиц порошка друг к другу и к поверхности детали невозможно создать условия, необходимые для припекания. Силовое активирование способствует повышению плотности покрытия и существенно ускоряет диффузионные процессы между частицами порошка и деталью. На практике для силового активирования применяют: статическое приложение нагрузки с одновременным нагревом, спекание с приложением вибраций, давление с использованием центробежных сил.
Одновременное применение химического, термического и силового активирования позволяет получать наиболее качественные покрытия.
Электроконтактное припекание. На практике обычно применяется метод электроконтактного припекания при силовом активировании. Процесс нанесения покрытия в этом случае осуществляется следующим образом. На поверхность детали подается порошок, который прижимается к ней электродом (обычно роликовым) контактной сварочной машины. Под действием импульсов электрического тока порошок нагревается до температуры 0,9 0,95 температуры его плавления. Нагревание происходит за счет энергии, выделяемой при прохождении электрического тока через активное сопротивление, которое образуется контактами между частичками порошка, поверхностью детали и электрода.
Под действием давления со стороны электрода пластичные частички порошка деформируются, спекаются между собой и поверхностью детали. Покрытие образуется в результате бездиффузионного процесса схватывания и диффузионных процессов спекания и сваривания.
Процесс припекания обеспечивается при следующих параметрах: сила тока до 30 кА, напряжение 16 В, продолжительность импульса тока 0,01 0,1 с, давление на порошок до 100 МПа.
Метод электроконтактного припекания, обладая высокой производительностью и низкой энергоемкостью, обеспечивает прочность сцепления нанесенного слоя порошка с деталью 150200 МПа, создает в детали малую зону термического влияния, не требует применения защитной атмосферы, не сопровождается светоизлучением и газовыделением. Для придания покрытию необходимых показателей пористости, твердости и износостойкости применяют легированные порошки.
К недостаткам данного метода следует отнести нестабильность свойств покрытия по длине детали при традиционной (цилиндрической) форме электрода (ролика), что обусловлено неравномерным нагреванием порошка в пределах его ширины. Если под средней частью ролика, где оказываемое на порошок давление максимально, возможен его перегрев до расплавления, то под крайними участками температура нагрева может быть недостаточной для качественного припекания, что может быть причиной выкрашивания нанесенного слоя при эксплуатации.
Неравномерность нагрева порошка в этом случае обусловлена его сыпучестью, из-за которой плотность слоя порошка и, следовательно, его электрическое сопротивление по ширине ролика переменны. Для стабилизации нагрева порошка по ширине ролика, его наружную контактную поверхность выполняют вогнутой.
Все более широкое применение в промышленности получает разработанный в ИНДМАШе НАНБ способ припекания, при котором силовое активирование осуществляется центробежными силами, а порошок и деталь в процессе припекания разогревают индуктивным методом.
Существенным преимуществом данного способа припекания является то, что благодаря действию центробежных сил на каждую частицу порошка обеспечивается качественное формирование покрытия одновременно по всей длине поверхности детали. Кроме того, за счет совмещения во времени нагрева и формования покрытия, данный процесс припекания отличается высокой производительностью при минимальном окислении поверхности детали и порошка.
Индукционным центробежным припеканием наносят антифрикционные и износостойкие покрытия на внутренние, наружные и торцовые поверхности цилиндрических деталей в широком диапазоне диаметров. Для этого применяют специальные центробежные установки. Вращение детали обычно производят вокруг горизонтальной оси при наружном расположении индуктора, что позволяет получать равномерную толщину покрытия по длине детали и наносить покрытия в отверстиях небольшого диаметра.
По типовому технологическому процессу центробежного индукционного припекания в отверстии детали типа «втулка» ее помещают в защитную стальную оболочку, в отверстие засыпают смесь порошка и флюса, закрывают отверстие с обоих торцов детали антипригарными прокладками и крышками.
Собранное таким образом устройство закрепляют на шпинделе центробежной установки, обеспечив предварительно необходимое ее позиционирование относительно индуктора. Затем шпиндель приводят во вращение и включают цепь питания индуктора. Температуру нагрева детали контролируют соответствующей системой.
После спекания порошкового материала и припекания покрытия индуктор отключают, сохраняя вращение шпинделя. Вращение прекращают при охлаждении детали до 350600 °С, после чего устройство снимают с установки и охлаждают его до естественной температуры. Полученное покрытие обрабатывают до требуемого размера.
Электродуговая металлизация