Электронные средства отражения индикации
- ГЛАВА18.Электронные средства отражения индикации
Содержание
Стр.
Введение 3
1.Электролюминесцентные УОИ 3
2.Светодиодные УОИ 7
3.Газоразрядные и плазменные УОИ 9
4.Лазерные и голографические УОИ 16
5.Жидкокристаллические УОИ 21
6.Новые технологии, разработки, перспективы развития СОИ 25
7.Вопросы проектирования СОИ 28
8.Математическое обеспечение СОИ 34
9.Вопросы проектирования программного обеспечения 38
Заключение 42
Контрольные вопросы 43
Введение
Развитие авиационно-космической науки привело к созданию сложнейших авиационных и космических комплексов, составной элемент которых является человек-оператор. Существенно изменился характер труда авиационного специалиста (летчика, инженера, техника и т. д.). Основными его задачами все более становятся: контроль процессов управления, принятия решения в нестандартных ситуациях, дублирование работы технических систем.
На ранней стадии освоения летательного аппарата изменения в составе приборного оборудования были минимальными, но вскоре анализ авиационных происшествий показал очевидную необходимость приборного переоснащения из-за несовершенства и неприспособленности применяемых приборов отслеживать и своевременно выдавать возросшую информацию экипажу.
Анализ развития отечественных и зарубежных бортовых устройств отображения информации (УОИ) показал перспективность использования электронных индикаторов. Переход к электронным УОИ позволил по сравнению с первоначальной компоновкой кабины экипажа уменьшить число приборов, светосигнализаторов и переключателей
В настоящее время для воспроизведения информации выпускается большое количество разнообразных по принципу действия индикаторных устройств. Это электролюминесцентные, светодиодные, газоразрядные и плазменные, лазерные и голографические, жидкокристаллические УОИ.
- Электролюминесцентные УОИ
В основу электролюминесценции положено свойство некоторых кристаллических веществлюминофоровизлучать свет под действием электрического поля. Электролюминесцентное свечение свойственно некоторым кристаллическим веществам, у которых под действием поля атомы переходят в возбужденное состояние. Широко применяют порошковые люминофоры на основе сульфидов цинкакристаллофосфоры. Они являются полупроводниками с примесной проводимостью. Атомы примесей могут входить в кристаллическую решетку путем внедрения или замещения.
Места расположения примесных атомов называют центрами люминесценции (активации). В этих центрах электроны могут получать достаточную энергию для перехода в зону проводимости. При возвращении электронов в центры активации часть поглощенной энергии освобождается и появляется люминесцентное свечение. Чтобы привести атомы кристаллов в возбужденное состояние, необходима напряженность поля порядка 109 В/м, в результате чего происходит разгон электронов и ионизация центров активации. Электроны, сталкиваясь с центрами активации, отдают им свою кинетическую энергию. Ионизированные уровни активации, рекомбинируясь с электронами зоны проводимости, излучают свет. Излучение происходит с того же энергетического уровня, который был достигнут при возбуждении. В результате возникает излучение в большом числе локализованных областей. Испускание квантов света это последний этап любых областей и последний этап люминесценции.
В основу электролюминесцентных индикаторов (ЭЛИ) положен плоский конденсатор, диэлектриком которого служит связующее вещество композиция органической смолы и люминофора, как на рис. 1. Один из электродов 2 конденсатора прозрачный, другой металлический 4. В качестве прозрачного электрода, используют окись кадмия или двуокись олова. Металлический электрод имеет форму знака, который должен, отображаться УОИ. Под воздействием поля, создаваемого источником переменного напряжения возникает свечение участков люминофора 3, контактирующих с металлическим электродом. Стекло 1 выполняет защитную роль ЭЛИ.
Величина яркости ЭЛИ обычно в рабочих условиях находится в пределах 1040 кд/м 2. Яркость свечения ЭЛИ зависит от частоты и амплитуды приложенного напряжения (рис. 2). При увеличении амплитуды возбуждающего напряжения усиливается ионизация центров активации, а с ростом частоты ускоряются процессы перехода люминесцирующих атомов в возбужденное и нормальное состояния. Это приводит к увеличению интегральной яркости ЭЛИ.
На практике часто для оценки величины яркости используют зависимость , (1)
где коэффициент пропорциональности; амплитуда импульса возбуждающего напряжения; показатель, изменяющийся для порошковых фосфоров от 3 до 5. Изменение длительности импульсов возбуждающего напряжения до 100 мкс при постоянной скважности почти не изменяет яркости свечения. Яркость ЭЛИ изменяется во времени.
Рис. 1. Устройство электролюминесцентного индикатора:
1-стекло; 2-прозрачный электрод; 3-люминофор; 4- металлический электрод.

Рис. 2. Зависимость яркости от напряжения возбуждения при различной
частоте
Спектр света, испускаемого электролюминесцентными источниками, лежит в видимой части излучения и зависит от вида применяемого активатора: добавка меди вызывает голубое свечение, меди и алюминия - зеленое и т. д. С увеличением величины возбуждающего напряжения и частоты спектральный состав ЭЛИ смещается в более высокую область. Наибольшая яркость у ЭЛИ с зеленым свечением.
Знакосинтезирующие ЭЛИ конструктивно весьма просты, выполняются на основе порошковых электролюминофоров и имеют линейчатую структуру. Сегменты представляют собой металлизированные электроды. В качестве общего электрода используется прозрачный проводящий слой. Герметизация индикатора осуществляется эпоксидным компаундом. Цифросинтезирующие ЭЛИ обычно имеют семи-, восьми- и девятисегментную структуру и конструктивно выполняются либо в виде одиночных блоков, как видно из рис.3, либо в виде панелей на несколько десятичных разрядов. Знаковые индикаторы содержат большее число сегментов и обеспечивают отображение букв латинского и русского алфавитов, а также цифр.

Рис. 3. ЭЛИ с семисегментной структурой
Большое внимание уделяется разработке и исследованию различных видов матричных и мозаичных панелей на электролюминофорах. Простейшая люминесцентная матричная панель представлена на рис. 4. Стеклянная пластина 4 - для защиты панели от внешних воздействий. Шины-электроды могут быть получены фотолитографией, методом электрогравировки, путем вакуумного напыления электродов, через трафарет и т. д. Наименьшее расстояние между шинами, определяющее разрешающую способность экрана, должно быть больше толщины электролюминесцентного слоя, чтобы электрическое поле, возникающее между электродами, не приводило к появлению электролюминесценции в зазорах.
Недостаток таких панелей сложность технологии изготовления и невысокое быстродействие, связанное с инерционностью высокочувствительных фотопроводников.

Рис. 4. Электролюминесцентная матричная панель:
1-слой электролюминофора; 2,3-взаимно перпендикулярные системы узких параллельных шин-электродов (шина 2 прозрачная); 4-стеклянная пластина.
Лучшие из них, выполненные на основе сернистого и селенистого кадмия, имеют время нарастания и спада фотопроводимости от единиц до десятков миллисекунд.
2. Светодиодные УОИ
В последние годы широкое применение находят инжекционные электролюминесцентные диодысветодиоды. Индикаторы, построенные на светодиодах, компактны, имеют большой угол обзора и совместимы с интегральными схемами. Для дешифрации четырехразрядного двоичного кода и управления таким индикатором достаточно двенадцать корпусов интегральных схем серии 155 и семь германиевых диодов.
Для управления семисегментными светодиодными индикаторами созданы и выпускаются интегральные микросхемы средней степени интеграции, полностью реализующие дешифратор.
Для управления индикаторами на светодиодах, порошковыми ЭЛИ и другими используют оптроныприборы, состоящие из источника и приемника излучения, оптически связанных между собой и находящихся в одном корпусе. В оптроне происходит преобразование «электрический световой электрический» сигналы.
Светодиоды низковольтные устройства, излучающие свет при прохождении тока в пропускном направлении через р-п-переход. Световое излучение возникает при инжекции неосновных носителей (электронов) через р-п-переход. Инжекция носителей зарядов эквивалентна переходу электронов из валентной зоны в зону проводимости, т. е. изменению их энергии, часть которой превращается в световое излучение.
Основные характеристики светодиодов приведены в таблице.
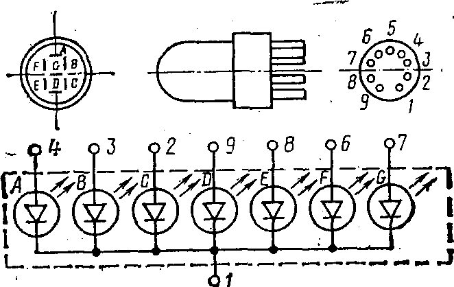
Семисегментный цифросинтезирующий индикатор типа КЛ-104 А представлен на рис. 5. Диоды-сегменты имеют общий катод 1, соединенный с внешним выводом. Диоды находятся в вакууме. Баллон имеет линзу, обеспечивающую увеличение изображения. Мощность, потребляемая одним сегментом, около 0,03 Вт. Световые характеристики таких индикаторов довольно стабильны во времени. Срок службы составляет около 105 ч, причем за это время яркость уменьшается на 50%. Яркость изображения можно регулировать, изменяя величину напряжения питания.
Таблица
Характеристики светодиодов
|
Тип светодиода |
Прямой ток, мА |
Прямое падение |
Яркость кд/м2 , не менее |
Цвет свечения |
|
У-14 |
10 |
3,8 |
10 |
Красный |
|
У-15 |
10 |
3,8 |
20 |
” |
|
КЛ-104 А |
10 |
3,5 |
15 |
Желтый |
|
КЛ-104 А |
10 |
3,0 |
350 |
Красный |
В качестве источника излучения применяют светодиоды, а функции приемника выполняют фоторезисторы и фоточувствительные приборы с р-п-переходом.

Рис. 5. Внешний вид и схема индикатора КЛ-104А
Цифросинтезирующие индикаторы на светодиодах с размерами цифр до 5 мм широко используются в УОИ. Однако при увеличении размеров знаков стоимость индикаторов существенно увеличивается. Повышается и потребляемая мощность до 0,5 Вт на индикатор с размером знака 15 мм.
Для миниатюрных устройств отображения информации широко используются светодиоды на основе арсенида-фосфида галия (GaAsP), галия-алюминия-арсенида (GaAlAs), а также фосфида галия (GaP). Все они высвечивают в видимой области спектра, характиризуются большой яркостью, большим быстродействием и большим сроком службы. Для изготовления светодиодов, цифровых и цифро-буквенных дисплеев из таких материалов используются технологические методы, широко применяемые в производстве интегральных схем. В зависимости от размеров дисплеи на светодиодах изготовляются как по монолитной, так и по гибридной технологии. В первом случае это интегральный блок светодиодов, выполненный на одном полупроводниковом кристалле. Так как размеры кристалла ограничены, то монолитные индикаторы - индикаторы малых размеров. Во втором случае излучающая часть индикатора представляет собой сборку дискретных светодиодов на миниатюрной печатной плате. Гибридный вариант является основным для средних и больших светодиодных индикаторов.
Размеры рабочего кристалла светодиода малы (400400 мкм). Излучающий кристалл - это светящаяся точка. Для того же, чтобы хорошо различать символы и цифры, их размеры не должны быть менее 3 мм. Для увеличения масштаба светоизлучающего кристалла в дисплее применяют линзы, рефлекторы, фоконы. Размеры знаков - от 3 до 1,5 мм и от 25 до 50 мм, что позволяет визуально контролировать изображение на расстоянии до 3 и 10 м соответственно.
Индикаторы на светодиодах изготовляются двух типов: сегментные (цифровые) и матричные (универсальные).
Семисегментный индикатор позволяет воспроизводить все десять цифр (и точку) и некоторые буквы.
Матричный индикатор содержит 7^5 светодиодов (светящихся точек) и позволяет воспроизводить все цифры, буквы и знаки стандартного кода для обмена информацией.
Оба типа индикаторов могут выполняться как одноразрядными, так и многоразрядными, что позволяет создавать на их основе системы отображения различной сложности.
3. газоразрядные и плазменные УОИ
Принцип действия классического газового разряда заключается в следующем: при приложении к электродам напряжения в области катодного слоя образуется значительный объемный разряд, приводящий к существенному перераспределению потенциала вдоль разряда. В поле этого заряда ускоряются электроны, которые ионизируют газ. Потеряв энергию, эти, а также вторичные электроны дрейфуют к аноду. В пределах фарадеева темного пространства они вновь набирают энергию, достаточную для ионизации атомов, вследствие чего образуется положительный столб. На рис. 6 условно показан внешний вид и распределение параметров вдоль разряда.
Рис. 6. Распределение параметров в тлеющем разряде
Знаковый (цифровой) ГРП с холодным катодом и общим анодом, выполненным в виде сетчатой пластины, представлен на рис. 7.

Рис. 7. Газоразрядный индикаторный прибор
Стеклянный баллон индикатора заполнен неоном. При подаче между анодом и одним из катодов напряжения, превышающего по величине напряжения зажигания разрядного промежутка, возникает тлеющий разряд, охватывающий всю поверхность катода, в результате чего отображается соответствующая цифра.
Существуют различные типы газоразрядных УОИ:
1) Знаковые (цифровые) ГРП с холодными катодами (рис.7) и общим анодом, выполненным в виде сетчатой пластины. Метод формирования знаков моделирование и в ряде случаев синтезирование.
Широко распространены газоразрядные цифровые индикаторы, у которых катоды выполнены в виде цифр, расположенных одна под другой. В некоторых индикаторах кроме десяти цифр предусмотрена запятая. Существуют приборы с торцевой и боковой индикациями.
К преимуществам таких индикаторов следует отнести:
- небольшие габариты, стоимость и потребляемую мощность;
- высокие яркость свечения и долговечность;
- достаточно высокое быстродействие.
К основным их недостаткам относятся высокие напряжения питания (200300 В) и запаздывание зажигания разряда.
2) Многоразрядные газоразрядные индикаторные панели плоской конструкции. Конструктивно такие панели состоят из двух изоляционных пластин с нанесенными на них системами электродов и прокладки, толщина которой определяет межэлектродное расстояние. Катоды каждой из матриц знаков, отображающих цифры, образуют семисегментную структуру, против которой располагается анод. Одноименные сегменты всех матриц знаков соединены между собой и имеют общий вывод. Для управления такими многоразрядными панелями используется мультиплексный режим, при котором любая, из цифр синтезируется путем одновременной подачи отрицательных импульсов на необходимые сегментыкатоды и сканирующего положительного импульса на соответствующий анод.
3) Тиратроны с холодным катодом (ТХК). ТХК имеют довольно большой срок службы, достигающий десятков тысяч часов, высокую яркость свечения и большое входное сопротивление; они выдерживают значительные перегрузки по напряжению и току, потребляют малую мощность, имеют небольшой вес, малые габариты и работают в диапазоне температур от 60 до +85°С.
4) Газоразрядная панель постоянного тока. Конструктивно ГИП постоянного тока представлена на рис. 8. Корпусгерметизирован. Ячейки расположены в местах перекрещивания электродов. Ячейки заполнены инертным газом (неон, смесь неона с азотом и т. д.) и образуют миниатюрные газоразрядные приборы, у которых одна система электродов выполняет функцию катодов, а вторая система электродов функцию анодов.
Рис. 8. Газоразрядная панель постоянного тока:
1,5-защитные стекла; 2,4-системы параллельных электродов, перекрещивающихся под прямым углом; 3-диэлектрическая пластинка с отверстиями-ячейками.
Подключая периодически с определенной частотой требуемые ячейки, можно получить светящееся изображение нужного знака. ГИП постоянного тока не обладают памятью, вследствие чего для получения изображения необходимо периодически подавать управляющие импульсы последовательно на все строки.
Так как ячейки панели зажигаются периодически, то средняя яркость свечения ячейки
, (2)
где период повторения возбуждения ячейки; мгновенное значение яркости ячейки; , моменты времени, соответствующие началу и концу свечения ячейки за период.
При построчном способе возбуждения средняя яркость
, (3)
где мгновенное значение яркости по ТУ; , число столбцов и строк.
Средняя яркость свечения ячеек при построчном возбуждении достигает 50100 кд/м2.
5) Газоразрядная панель с самосканированием. С целью устранения недостатка, свойственного ГИП постоянного тока с внешней адресацией, большого разброса времени запаздывания зажигания разряда ячеекразработана ГИП с самосканированием. На рис.9 показана конструкция ГИП с самосканированием на шестнадцать матриц знаков типа ГИПС-16. В пластине 6 выфрезерованы параллельные пазы, в которых укреплены аноды сканирования 5. Катоды 4 имеют отверстия напротив пазов. Катоды, кроме нулевого, объединены в три группы и прижимаются к пластине 6 диэлектрической решеткой 3, отверстия которой совпадают с отверстиями в катодах. Аноды индикации 2 расположены над отверстиями решетки параллельно анодам сканирования 5. В результате аноды сканирования и расположенные напротив участки катодов 4 образуют систему сканирования, а аноды 2 с решеткой 3 и катодами 4 систему индикации.

Рис. 9. Газоразрядная панель с самосканированием:
1,6- стеклянные пластины; 2- аноды индикации; 3- диэлектрическая решетка; 4- катоды; 5- аноды сканирования; 6- пластина, с выфрезероваными параллельными пазами.
Разряды сканирования возбуждаются одновременно во всех промежутках между анодами сканирования и одним из катодов и переносятся вдоль пазов от первого до последнего катода с помощью трехфазной схемы. Сброс разрядов при достижении последнего катода осуществляется одновременно с помощью импульса, поступающего на нулевой катод. Сканирующие разряды последовательно подготавливают к зажиганию индикаторные ячейки всех столбцов, так как в них через отверстия в катодах диффундируют заряженные частицы, метастабильные атомы и фотоны из сканирующих промежутков.
6) Газоразрядная панель переменного тока. От ГИП постоянного тока отличается тем, что у нее электроды отделены от газового промежутка слоем диэлектрика, на котором при прохождении тока через промежуток образуются электрические заряды, гасящие разряд и облегчающие его зажигание при изменении полярности питающего напряжения. Электрическое поле остаточных зарядов на стенках ячейки обусловливает ее память.
Конструктивно ГИП переменного тока может иметь решетку с отдельными ячейками, но может и не иметь решетки. В последнем случае зона перекрещивания электродов выполняет роль «открытой» ячейки.
ГИП переменного тока обычно изготовляют с числом электродов
, (4)
где =6,7,8,9, ...
Если , то, как правило, число электродов кратно 2К, что обеспечивает простоту привязки к двоичному коду.
7) Линейные газоразрядные индикаторы. Линейный газоразрядный индикатор предназначен для преобразования электрического сигнала в визуальную информацию в виде светящегося столбца. Индикация осуществляется через боковую поверхность стеклянного баллона. Цвет свеченияоранжево-красный.
На линейных индикаторах строят простые, компактные УОИ для отображения визуальной информации обзорного характера. Используя линейные индикаторы, можно отображать информацию в виде гистограмм, графиков и т. п.
8) Плоско-панельные индикаторы УОИ реализуются посредством плазменных дисплеев.
В большинстве плазменных дисплеев используется ультрафиолетовое (УФ) излучение, исходящее из области отрицательного свечения. Это излучение возбуждает фотолюминофорное покрытие, генерирующее видимый свет.
Плазменные УО относятся к классу матричных индикаторов, в которых управление ячейками производится в простейшем случае с помощью двух перпендикулярных систем электродов. При приложении к вертикальному и горизонтальному электродам напряжений, в сумме превышающих напряжение зажигания, в ячейке возникает газовый разряд, ограниченный барьерами. УФ излучение газового разряда возбуждает фотолюминофор, излучающий свет красного, зеленого или синего цвета. Люминофор обычно наносится на дно и боковые стенки ячейки, а иногда - тонким полупрозрачным слоем и на потолок ячейки. Верхняя система электродов делается прозрачной или достаточно узкой для того, чтобы не препятствовать выходу света. Три или четыре ячейки с разными цветами свечения образуют квадратный пиксель, как это показано на рис. 10.
Рис.10. Различные конфигурации пикселя
На рис.11. показано схематическое изображение простейшей ячейки плазменного УО постоянного тока.
Рис.11. Ячейка плазменного УО постоянного тока
В плазменных УО переменного тока используется более сложная ячейка, в которой электроды отделены от газового пространства диэлектрическими слоями. При наличии дополнительных электродов зажигание разряда в ячейке производится с помощью электродов 1 и 3, а поддержка горения так называемого планарного разряда - между электродами 1 и 2, как это показано на рис.12.
Одним из основополагающих факторов повышения эффективности является увеличение объема генерации УФ излучения.
Рабочей средой плазменных УО являются инертные газы. Для снижения потенциала зажигания используются так называемые пеннинговские смеси, с добавкой к основному газу примесей другого газа, потенциал ионизации которого ниже энергии возбуждения метастабильного уровня основного газа.
В качестве катодов могут использоваться материалы, отвечающие требованиям высокой эмиссионной способности и устойчивые к распылению. В плазменных УО постоянного тока в качестве катодов используют, например, железоникелевые сплавы с падением напряжения в зоне катода в пределах 200 - 250 В, а в плазменных УО переменного тока обычно MgO с катодным падением около 130 - 170 В.
Рис. 12. Ячейка плазменного УО переменного тока
Эффективность газового разряда повышается со снижением катодного падения. Другим способом повышения эффективности разряда является работа в режиме нестационарного (неразвитого или коротко-импульсного) разряда. Дело в том, что газовый разряд характеризуется определенной инерционностью и в процессе своего становления (пока не сформировался катодный слой) имеет повышенную эффективность. Таким образом, прекращая разряд сразу после его формирования (т.е. отсекая стационарную часть газового разряда), можно добиться повышения эффективности работы плазменных УО в 3-5 раз.
4. Лазерные и голографические УОИ
Применительно к индикаторным устройствам представляют интерес следующие свойства излучения лазеров: пространственная когерентность, временная когерентность, цвет и яркость.
Когерентность высокая степень согласованности фаз колебаний, образующих волновой фронт. Пространственная когерентность означает жесткую взаимосвязь фаз колебаний в двух точках пространства, лежащих в плоскости, перпендикулярной фронту волны. Временная когерентность означает жесткую взаимосвязь фаз колебаний, разделенных временным интервалом, и равнозначна узкополосности по частоте.
Лазер представляет собой когерентный источник света. Путем подбора трех источников света с соответствующими основными цветами и введения их в схему аддитивного образования цветов можно воспроизвести широкую гамму цветов.
На рис. 13 показана схема УОИ с использованием лазера. Вспомогательное оборудование обеспечивает управление процессом отображения информации, а также долговременное и кратковременное ее хранение.
Рис. 13. Устройство отображения информации с использованием лазера:
Л-лазер; МО -оптический модулятор; Д- дефлектор; СУМ- схема управления модулятором; СУД -схема управления дефлектором; ИП- источник питания; Э -экран; БЗУ- буферно-преобразовательное запоминающее устройство.
При отображении информации используют способ «последовательной выдачи», когда луч лазера последовательно обходит все точки поверхности экрана, либо способ «выборочного отображения», когда луч лазера направляется только на те элементы экрана, в которые вводится информация.
Модулятор света предназначен для наложения изменяющейся во времени информации на излучение лазера путем изменения во времени его яркости.
Если изменения информации синхронизированы с перемещением луча дефлектором, то информация превращается в зрительно воспринимаемое изображение.
Многоцветное изображение может быть получено использованием нескольких лазеров, работающих параллельно и имеющих различные спектральные линии излучения, причем у каждого лазера своя система отклонения, настроенная на соответствующую линию излучения.
В настоящее время находят применение голографические индикаторы. Сам термин (Holography) образован сочетанием слов "полный, весь" и "рисовать, записывать", так что уже в само это понятие заложем особый взгяд на эту технологию, как на способ "наиболее полной записи образа объекта".
В наиболее общем виде идея голографии может быть сформулирована так - если каким-то способом точно зафиксирована структура светового поля, исходящего от объекта и записать ее на какой-либо носитель, а затем восстановить это поле с достаточной точностью, то наблюдатель не сможет различить, наблюдает ли он сам объект или же эту имитацию.
В более узком смысле термин "голография" как раз и представляет одну их технологий (точнее пакет технологий, объединенных общей идеей) такой "полной" записи волнового поля.
Голография - это чисто оптический процесс, но по объему информации, записываемой и участвующей в этом процессе, голография может сравниться с любым суперкомпьютером.
Основная физическая идея состоит в том, что при наложении двух световых пучков, при определенных условиях, может возникать интерференционная картина, то есть, в пространстве возникают максимумы и минимумы интенсивности света (это подобно тому, как две системы волн на воде при пересечении образуют чередующиеся максимумы и минимумы амплитуды волн).
Для того чтобы эта интерференционная картина была устойчивой какое-то время, и ее можно было записать, эти два пучка должны обладать определенными свойствами. Оптики говорят, что они должны быть взаимно когерентными. Для простоты скажем, что у них должна быть одна и та же длина волны, и кроме этого, за время регистрации должна быть одна фаза колебаний, то есть колебания светового поля должны быть синхронными.
Самая простая схема съемки голограммы представлена на рис.14.

Рис. 14. Схема записи пропускающей голограммы
Лазерный луч расщепляется на два пучка, расширяется оптикой, чтобы осветить весь объект целиком, один пучок, который называется "объектным", направляется на объект, освещая его так, чтобы отраженное от него излучение попадало на фотопластинку. Второй пучок, который называют "опорным", направляется прямо на фотопластинку. Эти два пучка будут интерферировать на поверхности фотопластинки и после проявления ничего полезного на поверхности этой пластинки не видно. При рассмотрении под микроскопом поверхность пластинки будет покрыта множеством интерференционных линий, колец. Это и есть запись структуры волнового поля, отраженного объектом или технология изготовления так называемой "пропускающей" голограммы.
Если теперь эту голограмму осветить пучком лазерного света (на просвет, отсюда и название - пропускающая), смотри рис.15, то можно увидеть восстановленное изображение, которое будет находиться точно в том месте, где ранее, при съемке, находился объект. А произошло следующее - чистый лазерный свет, проходя через фотопластинку с записанной ранее структурой светового поля приобретает все свойства светового потока, который ранее, при записи, отражался объектом. И наблюдатель видит этот объект - причем полностью объемным.

Рис. 15. Схема восстановления изображения, записанного на пропускающей голограмме
Можно записать не пропускающую, а отражающую голограмму, для этого схема записи должна быть несколько иной, опорный и объектный пучки должны падать на фотоэмульсию с разных сторон (рис.16). Для того чтобы фотопластинка стала работать в режиме отражения света, нужна специальная химическая обработка. В результате обработки поверхность фотоматериала становится рельефной, и этот рельеф покрывается отражающим слоем.

Рис. 16. Схема записи отражательной голограммы
Недостатки данной технологии:
- для просмотра голограммы обязательно нужен лазер;
- изображение будет монохромным, причем строго того цвета, что и цвет излучения лазера, который используется при восстановлении изображения;
- смотреть восстановленное лазером изображение достаточно неприятно - глаза сильно устают от присущих когерентному излучению побочных эффектов, типа спеклов, которые проявляются в виде случайного светового шума по всему полю зрения;
- изображение хотя и объемное, но расположено за плоскостью фотопластинки, в глубине, так что эффект от его объемности не проявляется в полной мере.
Было найдено несколько вариантов решения проблемы изготовления голограмм, видимых в обычном свете. Одно из самых революционных было сделано оптиком Денисюком, и голограммы этого типа называются толстослойными голограммами, или голограммами Денисюка. Вначале изготавливаются обычные пропускающие голограммы по описанной выше технологии, а потом уже с этих голограмм (которые называются мастер - голограммами) изготавливают в режиме копирования голограммы Денисюка.
5. жидкокристаллические уои
Устройства на жидких кристаллахпассивные устройства: они не генерируют свет, а только управляют им, рассеивают и модулируют его. Системы отображения информации на ЖКИ применяется для оперативного отображения графики и алфавитно-цифровой информации.
Основу ЖКИ составляют жидкие кристаллы (ЖК), молекулы которых упорядочены послойно определенным образом между двумя стеклянными пластинами. Отображение различных символов достигается избирательным травлением проводящей поверхности, предварительно созданной на стекле. Не вытравленные области становятся символами, а вытравленные - фоном дисплея. Символы создаются из нескольких сегментов, которые работают как заслонки, включаясь и выключаясь для формирования изображений. Сегменты создаются прозрачными электродами из оксидов индия и олова, нанесенными на стекло ЖКИ. Цифры от 0 до 9 и некоторые буквы могут быть отображены на семисегментном индикаторе.
На рис.17 представлена ячейка на жидком кристалле. Она состоит из двух плоскопараллельных стеклянных пластин 1, на внутренние поверхности которых нанесены электроды 3. Между ними расположен тонкий слой жидкого кристалла 2. Толщина этого слоя зависит от толщины диэлектрической прокладки 4 (тефлон и др.) и обычно составляет, несколько единиц или десятков микрометров.
Рис. 17. Ячейка на жидком кристалле:
1-плоскопараллельные стеклянные пластины; 2- слой жидкого кристалла; 3- электроды; 4- диэлектрическая прокладка.
У индикаторов, работающих в проходящем свете, оба электрода прозрачны, а источник света 2 находится за индикатором (рис. 18,а). Такой индикатор в невозбужденном состоянии прозрачен и пропускает свет, а в возбужденном рассеивает его. Электроды могут быть сплошными или с вытравленными рисунками для получения изображений.
а) б)
Рис. 18. Жидкокристаллический индикатор:
ав проходящем свете: бв отраженном свете.
Индикаторы, основанные на принципе отражения света, более экономичны, так как не требуют дополнительного источника света (рис. 18,б). У них второй электрод изготовляется из материала с большим коэффициентом отражения (алюминий, никель, хром), а в качестве источника света 2 может служить обычный дневной свет или освещение помещения, в котором находится оператор 1.
Принцип действия таких индикаторных устройств основан на использовании электрооптических эффектов, которыми обладают нематические и холестерические ЖК.
Смеси холестерических (10%) и нематических (90%) ЖК с отрицательной диэлектрической анизотропией обладают эффектом накопления. Здесь при отсутствии электрического поля вещество прозрачно, а при его воздействии в жидкости возникает турбулентный поток и связанное с ним рассеивание света.
Существуют ЖК, в которых используется эффект вращения плоскости поляризации, состоящий в том, что молекулы таких ЖК только поворачиваются в соответствии с ориентацией электрического поля. Достоинство - большее быстродействие и меньшее потребление энергии. Недостаток необходимость в поляризаторах, что усложняет конструкцию, повышает стоимость и ограничивает угол наблюдения.
Нематическим ЖК с весьма высокой степенью чистоты и гомеотропной ориентацией молекул (оси молекул перпендикулярны поверхностям электродов) свойствен эффект деформации ориентированных фаз. Этот эффект проявляется в способности молекул вещества изменять направление поляризации падающего света. С повышением напряжения можно зафиксировать цвет, начиная от черного (выключенное состояние) с переходом через ряд градаций серого до почти белого, и дальше желтый, оранжевый, красный, пурпурный, синий, зеленый.
Электрооптические эффекты в ЖК характеризуются пороговыми значениями электрического поля (напряжения). Пороговое напряжение составляет 69 В при возбуждении напряжением постоянного тока. С увеличением напряжения выше порогового уровня контрастность К плавно возрастает и при некотором значении напряжения наступает насыщение (рис. 19). С увеличением освещенности контрастность изображения увеличивается. Рассмотрим реакцию ЖК на приложенный прямоугольный импульс напряжения (рис. 20).
Динамическое рассеяние в ячейке возникает с запаздыванием tз , равным времени образования потока ионов. Контрастность К достигает значения, равного 0,9 от максимального значения, за время реакции tр . Время включения
tв =tз + tр , (5)
уменьшается с ростом температуры и уменьшением толщины слоя ЖК.

Рис. 19. Зависимости контрастности от напряжения возбуждения при различной толщине слоя ЖК
Рис. 20. Реакция ЖК на импульсное напряжение возбуждения
Время tв зависит от величины напряжения и исходного состояния ячейки. Если повторные импульсы напряжения поступают через промежутки времени, меньшие времени отключения (релаксации), ячейки t0 , т. е. когда динамическое рассеяние полностью не исчезает, то время включения уменьшается. Быстродействие ячейки зависит от удельного сопротивления и других характеристик вещества.
Возбуждение ячейки осуществляется постоянным или переменным напряжением. Пороговое напряжение ЖК увеличивается с повышением частоты. Следует учитывать, что, начиная с критической частоты (3001000 Гц), пороговое напряжение становится зависимым от толщины слоя.
Отказы индикаторов на ЖК возникают из-за уменьшения контрастности, изменения цвета, ухода рабочей температуры за пределы допуска.
Недостатки ЖК индикаторов отражательного типаналичие бликов, которые затрудняют работу оператора. У индикаторов просветного типа необходимо устранять влияние ослепляющего воздействия источника света на оператор.
6. Новые технологии, разработки, перспективы развития УОИ
Изучение состояния техники отображения информации показывает, что к числу перспективных относят УОИ на матричных газоразрядных, жидкокристаллических и светодиодных панелях.
Многофункциональный индикатор TDS-56 предназначен для установки на гражданские воздушные суда в качестве устройства индикации и отображения информации, в том числе на борт ЛА АН-124-100.
Основные свойства:
- возможность приема информации по различным интерфейсам;
- цветной жидкокристаллический индикатор;
- гибкая программная архитектура;
- мощная аппаратная платформа TDS-56 позволяют удовлетворять современные и перспективные требованиям к бортовым системам отображения информации и предупреждения летного экипажа.
Легкий самолет Ил-103 с новым приборным и радиоэлектронным оборудованием был продемонстрирован на авиакосмическом салоне МАКС-2003. На летающей лаборатории Ил-103ЛЛ будут проводиться испытания перспективных систем отображения информации для самолетов различных типов. Вся необходимая информация выводится на жидкокристаллический индикатор.
Автоматизированные системы отображения радиолокационной информации АС УВД "МК-2000" представляют комбинации подсистемы отображения радиолокационных данных от множества источников информации, подсистемы обработки данных плана полета, блока отображения и набора функций прогноза будущих ситуаций.
На Международном Авиационно-Космическом Салоне (МАКС-2003) компании Polymedia и Mitsubishi Electric продемонстрировали комплексные решения систем отображения информации для центров мониторинга и прогнозирования, центров управления кризисными ситуациями, диспетчерских залов и специализированных переговорных помещений.
В университете St. Andrew (Великобритания) разработали технологию изготовления полимерных лазеров с распределенной обратной связью (distributed feedback DFB) на основе простой литографии. Эта технология, названная SAMIM, может быть использована для производства не только лазеров, но и различных фотонных структур.
Японские разработчики создали прозрачные транзисторы, в десять раз превосходящие по быстродействию современные. Это может дать начало оптоэлектронике нового поколения.
Ученые из Массачусетского технологического института и Национальной лаборатории Sandia в США создали удобный источник терагерцового излучения квантовокаскадный лазер (QCL) с частотой 3.4 ТГц (длина волны 88 мкм), работающий при максимальной температуре 87 К.
Американская компания Frost & Sullivan провела исследование рынка лазерной техники. По ее прогнозу, в течение ближайших 7 лет объем этого рынка будет расти на 6.2% в год. В этот объем не входят медицинские и военные лазеры. При этом наибольший рост 7.2% в год будет наблюдаться на рынке лазерных диодов, и к 2009 г. доля этого сектора составит 53%.
Некоторые типы отечественных ЖКИ приведены на рис.21

а)

б)

в)
Рис. 21. Типы отечественных ЖКИ:
а - размещение ЖКИ дисплеев на приборной доске;
б - размещение панели МФИ в кабине вертолета;
в - МФИ ОАО «Авиаприбор-Холдинг».
7. Вопросы проектирования СОИ
Глубокое понимание задач, решаемых системой индикации, и правильный выбор критериев для ее оценки играют весьма важную роль при создании такой системы. Критерий оценки систем индикации, сформулированный на основе критерия оценки основной системы, редко приносит пользу конструкторам подсистем индикации.
Отсутствие единой универсальной меры эффективности вынуждает при создании системы индикации использовать несколько независимых критериев оценки ее эффективности и формулировать ряд целей, которые предполагается достичь с помощью системы индикации. Цели эти в известной мере субъективны, и их совокупность страдает определенной избыточностью; кроме того, не каждая из них приложима ко всем возможным системам.
Этими целями являются:
- усовершенствование процесса принятия решения. Наиболее общая цель, преследуемая созданием систем индикации, связана с улучшением способности человека принимать решения как в части ускорения этого процесса, так и в части обеспечения более надежного выбора правильного решения;
- улучшение понимания решаемой проблемы. Система индикации должна дать возможность пользователю усвоить и охватить всю доступную ему информацию, а также брать на себя инициативу по уведомлению пользователей о возникающих чрезвычайных ситуациях и исключительных случаях, и о поступлении информации срочного характера;
- обеспечение активного обмена информацией между человеком и машиной. Системы индикации являются в первую очередь основным звеном связи между техническими средствами и человеком. Кроме того, системы индикации должны усиливать возможности средств ввода данных путем отображения вспомогательной информации, а также указателей, форматов и сведений о поступившей в систему информации;
- внесение ясности в сложную обстановку. Системы индикации должны дать потребителям возможность понимания деталей на основе всей обстановки, а также детального анализа всей обстановки в целом;
- уменьшение времени реакции персонала. Для лиц руководящего состава, принимающих решение на высшем уровне, важное значение имеет скорость, с которой они могут истолковывать и оценивать рекомендации, поступающие от их подчиненных;
- улучшение координации. Каждый член одной и той же рабочей группы должен быть обеспечен идентичными данными, которые должны направляться пользователем согласованно;
- обеспечение большей доступности информации. Пользователи должны располагать возможностью запрашивать данные различных категорий, а также требуемые характеристики и их различные комбинации. Соответствующее оборудование должно быть удобным и быстродействующим;
- обеспечение общей надежности. Под понятием «общая надежность» имеется в виду надежность данных, оборудования, легкость обслуживания системы, доступность информации, поступившей в систему и хранимой в ней, а также достоверность и точность отображаемых данных;
- упрощение работы с системой. Оборудование нужно разрабатывать так, чтобы можно было свести к минимуму подготовку обслуживающего персонала, выделенного для работы с этой системой. Разработка должна также обеспечивать максимально возможную взаимозаменяемость отдельных устройств в функциональном и операционном отношениях;
- обеспечение гибкости. Если систему нельзя легко приспособить к изменившимся требованиям, то она теряет свою оперативную ценность и требует внесения в нее дорогостоящих изменений или даже преждевременной замены. Однако гибкостью ни в какой мере нельзя подменять конструктивное решение, выбранное на основе детального математического анализа;
- удовлетворение требований психофизиологического характера. К их числу относятся такие характеристики, как легкость восприятия отображаемой информации и легкость ее понимания, а также показатели, характеризующие внешний вид индикатора и рабочего помещения, психовизуальные факторы и удобство работы для оператора;
Важность вопроса, какую информацию необходимо отображать, не подлежит сомнению. С целью определения требований к отображаемой информации необходимо проанализировать работу всего комплекса в функциональном плане.
Первым шагом в типовом анализе является изучение задач, решаемых всем комплексом в целом, вводимой в него информации, а также его работы и выводимой из него информации (или результирующих исполнительных воздействий). Анализ требований, определяемых характером решаемой задачи, позволяет выделить набор оперативных функций, которые должна выполнять проектируемая система индикации. Составляется схема информационных потоков, показывающая источники информации, прохождение информации через комплекс, а также весь информационный обмен между человеком и машиной. Производится ориентировочное распределение работ между человеком и машиной, причем оно основывается на учете специфики отдельных работ. Затем осуществляется анализ отвечающих этому распределению оперативных процедур, за которым выполняется анализ психофизиологических факторов с учетом нагрузки, приходящейся на человека-оператора.
По завершении этого анализа можно решить такие вопросы, как: информацию какого содержания нужно отображать, какие форматы использовать, какое быстродействие отдельных устройств системы является приемлемым. Это позволит выбрать необходимое оборудование и управляющие устройства, которые должны быть сконструированы так, чтобы выполнять заданные работы и обеспечивать принятие решений.
Сконструированные системы индикации подвергаются обширнейшим испытаниям, результаты которых анализируются и оцениваются и служат стимулом для внесения в систему усовершенствований.
Важнейшим шагом в процессе проектирования является определение технических условий на следующие параметры и характеристики системы индикации:
- быстродействие устройств обновления отображаемой информации;
- периодичность и скорость смены отображаемых данных;
- время выборки отображаемых данных;
- максимальная частота поступления запросов на отображение информации;
- общий объем одновременно отображаемой информации;
- число отдельных устройств индикации;
- размер поля отображения;
- размер помещения, в котором установлен индикатор;
- метод кодирования отображаемой информации;
- применяемая символика;
- формы представления информации (форматы);
- яркость;
- уровень освещенности помещения;
- контраст;
- разрешающая способность;
- точность вопроизведения;
- наличие и степень искажений;
- мелькания.
Представляется целесообразным подвергать проектируемую систему индикации испытаниям или производить ее оценку на некоторых ключевых этапах разработки. Этими этапами являются:
- принятие основных решений в процессе проектирования;
- завершение процесса проектирования;
- завершение изготовления системы.
Принципиальная трудность количественного определения целей, преследуемых созданием системы индикации, вызывает трудности в оценке ее рабочих характеристик. Возможны эксперименты, проводимые в контролируемых условиях и позволяющие выявить, как тот или иной способ представления отображаемой информации влияет на способность пользователя охватывать суть этой информации, на скорость, с которой он в состоянии обнаружить отдельные предметы или связи между ними, а также на его способность запомнить эту информацию и точно ее истолковывать. При выполнении таких экспериментов целесообразно воспользоваться методами экспериментальной психологии и статистическими методами планирования эксперимента.
Методы и процедуры, связанные с оперативным использованием системы индикации, могут быть проверены с помощью макетов, проведения специальных «игр» с участием оперативного персонала, а также моделирования. При проектировании систем, рассчитанных на эволюционный рост, необходимо предусматривать возможности их испытаний и оценки качества их работы (рабочих характеристик).
После того как определены виды, объемы и скорости передачи информации, необходимой пользователям для выполнения их функций, нужно приступить к организации и классификации этой информации. Должны быть определены категории, на которые подразделяется информация, и методы ее описания. Затем необходимо выбрать методы ее кодирования и форматы.
Обычными средствами кодирования информации для ее отображения в системах индикации являются цвет, система знаков (кодирование формой), размеры знаков, их ориентация, число однотипных элементов, расположение (позиционное кодирование), глубина, тип линии, частота вспышек и яркость. Выбор подходящего набора способов кодирования отображаемой информации требует учета ряда факторов, таких, например, как легкость различения соседних значений (градаций) кода, легкость интерпретации кода, и т.д.
Выбор цвета связан с цветоощущением. Операторы различают следующие 10 цветов: фиолетовый, синий, зеленовато-синий, синевато-зеленый, зеленый, желто-зеленый, желтый, оранжевый, оранжево-красный и красный. Добавив к ним еще белый, в общей сложности получается 11 дискретных значений цветового кода.
Отображение на индикаторе буквенно-цифровых знаков в виде таблиц или текста является наиболее общей формой представления результатов, выводимых из ЭВМ. В системах индикации часто прибегают к специальной символике, особенно в тех случаях, когда воспроизводимая мысль наглядно отражена изобразительными средствами в такой форме, которую легко усвоить и запомнить. Для представления самолета знаком в виде контура самолета требуется меньшая площадь экрана индикатора, чем для комбинации букв «самолет», причем контурное изображение легче различить.
Размер является способом кодирования, который часто используется в сочетании с определенной системой знаков. Такое сочетание обеспечивает удобное получение 23 значений кода. Используется также изменение длины линий или размера знаков (для величины, степени важности, силы, размера или ранга).
Ориентацию изображения можно с успехом использовать для указания 8 или даже 16 направлений, однако он позволяет получить всего несколько кодовых значений при отображении с его помощью характеристик, отличных от направления и времени.
Для получения нескольких значений кода можно использовать определенное число точек, линий или элементов знака или же определенное число знаков, образующих группу (формуляр).
Несколько кодовых значений можно получить, использовав определенное расположение точек, линий или элементов знака относительно некоторого знака или группы знаков (вдоль прямой линии или по площади).
В трехмерных устройствах индикации третье измерение глубину обычно используют для одномерного позиционного кодирования, что позволяет получить до трех-четырех дополнительных значений кода.
Некоторые виды информации не могут быть эффективно отображены с помощью знаков. Способы кодирования криволинейных конфигураций определяются типом и толщиной используемых в них линий. Целесообразно применять 34 типа линий. По толщине линии для криволинейных конфигураций (а также для выделения отдельных знаков) могут быть нормальными, полужирными и жирными.
Иногда бывает необходимо отображать область. Области можно выделить и закодировать путем нанесения их контуров, использования определенных наборов знаков, штриховкой, специальными примечаниями, цветом и полутонами.
Для кодирования можно использовать частоту, с которой вспыхивает и гаснет отображаемая информация. Однако отличать одну частоту вспышки от другой на фоне мелькающих сигналов довольно трудно. Обычно применяются два уровня постоянное свечение и собственно вспышки. Вспышки используются чаще всего для привлечения внимания оператора к определенным предметам.
Для кодирования можно использовать два или три уровня яркости. Однако кодирование путем изменения яркости не очень хорошо совмещается с такими способами кодирования, как изменение цвета, толщины линий или частоты вспышек.
Типичными форматами отображаемой информации являются:
текст, схема военной обстановки, таблица, столбцовая диаграмма, контурный рисунок, гистограмма, план-график, блок-схема, функциональный график, круговая диаграмма, пейзаж, чертеж-график, стрелочный указатель, часы, индикатор, масштабная шкала.
8. Математическое обеспечение средств отображения информации
Учитывая специфичность задач, решаемых в реальном масштабе времени, к математическому обеспечению средств отображения информации (МО) СОИ предъявляются следующие требования:
- алгоритмы решения функциональных задач отображения должны занимать как можно меньшую емкость памяти;
- при минимальных объемах программ время решения функциональных задач в системе должно позволять осуществлять работу в реальном масштабе времени;
- МО должно быть относительно независимым от аппаратуры и предусматривать возможность дальнейшего расширения и изменения в соответствии с новыми требованиями;
- необходимо организовать оптимальным образом циркуляцию транзитных потоков информации, проходящих через процессор СОИ;
Необходима обработка следующей информации:
- текущей об обстановке в зоне наблюдения, включающей в себя координаты отображаемых объектов в данный момент времени;
- справочной, выводимой на таблично-знаковых индикаторах (ТЗИ) в централизованном порядке;
- поступающей по запросам операторов;
- вводимой оператором с пульта.
Все операции по вычислению на уровне СОИ сведены до минимума. Процессор, обслуживающий группу СОИ, лишь формирует массивы регенерации и обеспечивает связь оператора с комплексной системой отображения (КСО) и другими модулями.
Таким образом, основную часть МО КСО составляют программы переформирования входных массивов информации в массивы отображения и программы ввода-вывода информации.
В общем случае можно выделить следующие задачи по обработке информации, решаемые СОИ:
- прием и первичная обработка текущей информации, которая заключается в распознавании поступивших данных и их сортировке;
- модификация массивов отображения в соответствии с ответами на запросы операторов;
- организация регенерации изображения на экранах индикаторов при модульной структуре СОИ с ЭВМ;
- формирование массивов справочной информации, размещение их на внешних носителях и организация обмена между процессором и магнитными накопителями при структуре КСО с информационно-поисковой системой;
- обеспечение приоритетного обслуживания СОИ и решения различных задач;
- обеспечение редактирования как массивов отображения, так и. массивов служебной и справочной информации;
- анализ и обслуживание запросов операторов.
Структурная схема МО КСО, включающего в свой состав как ТЗИ, так и координатно-знаковые индикаторы (КЗИ) и позволяющего решить указанный комплекс задач, приведена на рис. 22.
Рис. 22. Структурная схема МО КСО
При этом общее МО обеспечивает прием поступающих сообщений, распределение и учет резервов памяти, адресацию файлов по СОИ, вывод массивов отображения на экраны индикаторов, а также связь оператора с другими СОИ.
Ядром общего МО КСО является программа «Диспетчер», которая осуществляет обработку прерываний и их анализ, формирует последовательность программ, реализующих обслуживание поступивших запросов, и позволяет организовать диалоговый режим работы системы в реальном масштабе времени.
В общем случае МО включает в себя следующие модули программ:
- обработки массивов и данных;
- формирования файла для каждого подключенного СОИ;
- редактирования и масштабирования изображения координатно-знаковых индикаторов (КЗИ);
- пересчета координат к данному экрану;
- редактирования и дополнения файлов таблично-знаковых индикаторов (ТЗИ);
- анализа и первичной обработки информации, поступившей из системного процессора центрального вычислительного комплекса (ЦВК);
- регенерации изображения (при модульной структуре КСО).
Следует отметить, что модульность накладывает определенные ограничения на организацию связи между отдельными программами. В частности, непосредственное обращение одной программы к другой возможно лишь при условии, что они входят в один программный модуль. Из ЦВК на КСО передаются информационные массивы, содержащие следующие сведения:
- служебную информацию, сопровождающую информационные массивы;
- текущую информацию об обстановке в зоне в настоящий момент времени для всех входящих в КСО индикаторов;
- информационно-справочные массивы, предназначенные для отображения на ТЗИ;
- формуляры на отображаемый объект, находящиеся в зоне наблюдения;
- сообщения на запросы операторов, если для ответа на запрос необходимо было задействовать аппаратуру верхнего звена управления;
- информацию, поступающую с других терминалов системы.
Формирование и компоновка файлов для всех индикаторов осуществляются в центральном вычислительном комплексе (ЦВК). Каждому кадру присваивается признак принадлежности определенному индикатору или печатающему устройству КСО.
9. Вопросы проектирования программного
обеспечения УОИ
В системе индикации, опирающейся на ЭВМ, базовые концепции, лежащие в основе системы, особенно наглядно выступают при рассмотрении ее программного обеспечения. Должны быть известны со всеми подробностями такие сведения, как
- содержание данных;
- форматы отображаемой информации;
- методы управления этой информацией;
- специальные функции, выполняемые обработкой;
- форматы данных, с которыми оперируют устройства сопряжения;
- принятые ручные методы и процедуры.
По причине того, что программист, который в общем может и не иметь достаточно полного представления о концепциях, лежащих в основе системы, программист-аналитик должен быть непременным членом коллектива проектировщиков системы индикации.
Существует, конечно, много подходов к созданию программного обеспечения (операционной системе) систем индикации. Охватить все альтернативы здесь не представляется возможным, и по этой причине уделим основное внимание тем функциям, которые являются общими для многих систем индикации.
Для рассмотрения этих общих функций в контексте системы будет использована обобщенная операционная система, блок-схема которой приведена на рис. 23. В блок-схеме на рис.23 не показаны все сопряжения с программами операционной системы, которые выполняют функции, не связанные с индикацией.
Хранение и поиск данных - эта функция включает средства для организации новых файлов, обновления содержимого используемых файлов и их обслуживания, снабжения данных в файлах указателями, позволяющими связать их в последовательности, а также для проведения поиска в соответствии с критериями, содержащимися в запросах. После того как данные, удовлетворяющие критерию поиска, извлечены из файлов, их начинают обрабатывать программа управления данными, выделенными для отображения, и программа приведения выделенной для отображения информации к требуемому формату.
Рис. 23. Блок-схема обобщенной операционной системы индикации
Возможно, наиболее важным фактором при определении особенностей требуемой операционной системы является категория отображаемой информации: одно решение будет в том случае, когда необходимо отображать стандартные комплекты информации, и другое тогда, когда необходимо удовлетворять специальные запросы.
Схемы на рис. 24 иллюстрируют два способа организации первичного файла и соответствующих методов формирования запроса на отображение. В обобщенной операционной системе (рис. 23) отражены оба эти метода. Поступающие на вход данные классифицируются, обрабатываются с целью приведения их к стандартному формату, принятому в данной системе индикации, а затем используются для обновления соответствующих комплектов выделенной для отображения информации, которые хранятся в файле. На рис. 24,б представлена схема файла, организация которого выбрана с учетом удовлетворения специальных запросов. Поступающие на вход данные используются непосредственно для обновления информационной базы, организация которой не предусматривает хранения комплектов, выделенных для отображения данных.
а)
б)
Рис. 24. Организация файла и методы запроса на отображение информации:
а файл выделенной для отображения информации, содержащий стандартные комплекты данных;
б информационная база, рассчитанная на удовлетворение специальных запросов.
Запросы на отображение специальной информации составляются пользователем. Он должен охарактеризовать набор критериев поиска данных, или описателей, определяющих данные, которые он хочет отобразить. Процесс поиска данных позволяет извлечь из информационной базы те данные, которые удовлетворяют критерию поиска. Затем найденные таким путем данные обрабатываются с целью получения требуемого формата при их отображении и направляются в индикаторное оборудование.
Запрос на отображение стандартного комплекта информации может быть сделан путем нажатия кнопки или каким-либо другим эквивалентным способом, однако возможности пользователя в части выбора содержания и формата изображения, а также способов управления отображаемой информацией оказываются ограниченными. Большая гибкость в этом плане обеспечивается при отображении по специальным запросам. Однако составление таких запросов требует большего времени ввиду их сложности.
Достижение определенного компромисса между гибкостью, скоростью и оперативными удобствами имеет исключительно важное значение при запросе на отображение. Выбор приемлемого сочетания этих характеристик определяется в основном особенностями операционной системы и принятыми пультовыми процедурами.
На некоторой стадии создания системы индикации необходимо точно определить все особенности каждого индикатора, включая и характеристики его управления.
Хранимые данные должны быть разбиты на отдельные классы и проиндексированы, для них должны быть подобраны соответствующие описатели и в словесной форме составлены образцы запросов.
По желанию пользователя любым специальным запросом после его составления можно оперировать как с запросом на отображение стандартного комплекта информации. Данные, необходимые для удовлетворения такого специального запроса, должны быть засланы на хранение в файл стандартных комплектов выделенной для отображения информации. После этого производится систематическая проверка всех поступающих на вход данных с целью постоянного обновления этого заново созданного стандартного комплекта отображаемых данных, причем этот процесс осуществляется по схеме рис. 24, а. Хранение данных, относящихся к отображению по специальному запросу, требуется и в том случае, если это отображение необходимо автоматически обновлять по мере поступления на вход системы новых данных.
В общем случае быстродействие при обновлении связано с быстродействием при реакции на запрос. Если файлы выделенной для отображения информации построены из записей комплектно выводимых на индикаторы данных, то при поступлении одного входного сообщения необходимо производить обновление большого числа различных комплектных записей. Это увеличивает объем первичной обработки входных данных, однако упрощает процесс поиска и формирования выделенных для отображения данных, и наоборот.
При первичной обработке входных данных их нужно проверять, пользуясь критериями принадлежности к требующим обновления стандартным комплектам отображаемой информации или наборам информации, отображаемой по специальным запросам.
Функция управления отображаемыми данными главным образом связана с распределением и обновлением отображаемых данных, а также присвоением им приоритетов и обеспечением их защиты от использования посторонними пользователями. Для систем индикации, имеющих специфические особенности, вырабатывается специальная управляющая информация. Для всех стандартных комплектов отображаемых данных и для каждого набора данных, отображаемых по специальному запросу и обновляемых в течение вывода этого набора на экран, в файл выделенной для отображения информации засылаются для хранения соответствующие записи.
Формат отображаемой информации определяет ее положение на экране индикатора, форму, а также принятую систему кодирования данных. Для отображения географической обстановки или опорной карты обычно с целью определения нужных точек необходимо преобразование координат. Это обстоятельство связано с использованием трех различных систем координат: одна при проецировании карты, другая входных данных и третья при формировании совокупности отображаемых данных.
Заключение
Рассмотрены различные виды УОИ. Описаны их конструктивные особенности, принципы действия. Достаточно широко показаны достоинства и недостатки, а также даны новые технологии и перспективы развития УОИ. Развитие УОИ идет по пути применения все более экономичных, надежных воспроизводящих устройств. Современные УОИ должны работать в условиях слабой и сильной освещенности, обладать высокой яркостью и контрастностью, долговечностью и дешевизной, иметь высокую чувствительность к управляющему сигналу, малое потребление мощности, работать в широком диапазоне температур, выдерживать широкий диапазон механических нагрузок и т. д.
Контрольные вопросы:
1. Что положено в основу электролюминесценции?
- Что представляет из себя светодиод?
- Какая рабочая среда у плазменных УОИ?
- Какие виды голограмм вы знаете?
- Какие недостатки присущи голографическим индикаторам?
- Каким образом достигается свечение в ЖКИ?
7. Перечислите достоинства и недостатки ЖКИ.
8. С какими новыми технологиями в УО вы знакомы?
9. Какие цели преследуются при создании систем индикации?
10. Какие модули программ включает в себя математическое обеспечение УОИ?
1
2
3
4
~
В, кд/м 2
1
2
1 2
4
1 3 2
U
Вспомогательное оборудование
Ввод данных
Синхронизированные сигналы от вспомогательного оборудования
Лазерный протектор
БЗУ
ЭВМ
Э
СУД
ИП
СУМ
Д
МО
Л
4
1
2
3
5
Первичная обработка данных
К оборудованию
формирующему отобража-емую инф-цию
Запросы на отображение
Исходные данные
Инфор-
мацион-ная база
Файл
отобража-емой ин- формации
Введение знаков
Введение карты
Набор формата
Обработка запросов
Подготовка данных к отображению
Приведение отображаемой информации к заданному формату
Управление данным, выделенными для отображения
Хранение и поиск данных индикаторному оборудованию
ых
Исходные данные
К индикаторному оборудованию
Запросы на отображение
Информационная база
Обработка данных, подготавл-ых к отображ-ию
Поиск
данных
Первичная обработка и обслуживание файла
Исходные данные
Подготовка данных к отображению
К индикаторному оборудованию
Запросы на отображение
Файл, выделенный для отображения информации
Обработка данных, подготавливаемых к отображению
Первичная обработка
Общее МО модуля
Контроль и диагностика
Супервизор прерываний
Супервизор заданий
Диспетчер модуля оператора
Супервизор реалного времени
Супервизор задач
Связь диспетчера с другими модулями
Связь с системн процессором
Управ-ие внеш. устр-вами
Управление памятью
Управляющая система
МО модуля оператора
Специальное МО модуля
Обработка массивов
Обработка запросов оператором
Обработка сообщ-ий, вводимых оператором
С клавиатуры индикатора
С помощью светового пера
Формирование сообщ-ий
Распознование данных
Обработка данных
Дополнение дисплейных файлов
Редактир-ие изображ-ия
Реген-ция изображ-ий
Обслуживание ТЗИ
Редактирование изображения
Масштабирование изображ-ия
Реген-ция изображ-ий
Обслуживание КЗИ
Электронные средства отражения индикации