ПИЛОТАЖНО-НАВИГАЦИОННЫЕ КОМПЛЕКСЫ. БАРОМЕТРИЧЕСКИЙ КАНАЛ ИЗМЕРЕНИЯ ВЫСОТЫ
ГЛАВА 11.ПИЛОТАЖНО-НАВИГАЦИОННЫЕ КОМПЛЕКСЫ. БАРОМЕТРИЧЕСКИЙ КАНАЛ ИЗМЕРЕНИЯ ВЫСОТЫ
|
Содержание |
||
|
1. |
Назначение пилотажно-навигационных комплексов, их разновидности……………………………….……………... |
2 |
|
3. |
Барометрический канал измерения высоты полета ЛА, математическая модель атмосферы………………………… |
14 |
|
4. |
Аэрометрический канал измерения скорости ЛА и числа Маха, математическая модель измерителей приборной скорости и числа Маха………………………………………. |
19 |
|
5. |
Манометрические и барометрические приборы…………… |
24 |
|
6. |
Основные источники методических погрешностей при измерении барометрической высоты……………………….. |
30 |
|
Заключение…………………………………………………… |
32 |
|
|
Контрольные вопросы……………………………………….. |
33 |
1.Назначение пилотажно-навигационных комплексов, их разновидности.
Авиационной навигацией называется тот раздел навигации, в котором рассматривается раздел вождения самолетов и вертолетов из одной точки земной поверхности в другую по определенным пространственно-временным траекториям.
Под пилотажно-навигационным комплексом (ПНК) понимается совокупность датчиков информации, систем обработки и отображения информации, систем управления, предназначенных для пилотирования и навигации летательного аппарата.
Пилотажно-навигационные комплексы по сложности и многофункциональности относятся к категории больших информационно-управляющих систем. В зависимости от точности решаемых задач, надежности, количества автоматизированных функций и загруженности экипажа пилотажно-навигационные комплексы делят на ряд групп: ПНК-1 условно ПНК первого выпуска (например, на Ил-62), ПНК-2 условно ПНК второго выпуска (например, на Ту-144) и т. д.
С помощью ПНК осуществляются: стабилизация и индикация углового положения ЛА; стабилизация скорости, числа М, вертикальной скорости (для ПНК-2); контроль и индикация отклонений от глиссады, управляющих (командных) сигналов, резерва топлива; контроль и сигнализация предельно допустимых параметров движения и положения ЛА; подсказка действий экипажу, при возникновении определенных ситуаций в полете (для ПНК-2); программное траекторное управление ЛА в районе аэродрома и по маршруту; определение и индикация текущих значений координат места ЛА, скорости полета, моментов изменения режимов полета; коррекция счисленных координат места Л А по РСБН, РСДН, по астрокорректору, по РЛС; регистрация пилотажно-навигационных параметров; передача пилотажно-навигационной информации по запросу наземных КП УВД (для ПНК-2), а также обмен пилотажно-навигационной информацией с другими ЛА и наземными КП (для ПНК-2).
В состав ПНК входят: инерциальные системы навигации (для ПНК-2); доплеровские измерители путевой скорости и угла сноса (ДИСС), системы воздушных сигналов (типа СВС, ЦВС); курсовые и инерциальные системы (типа КС, ТКС, МИС, ИКВ, СКВ); радиотехнические системы ближней навигации (РСБН); радиотехнические системы дальней навигации (для ПНК-2); автопилоты или автоматические системы управления; бортовые аналоговые (для ПНК-1) или цифровые вычислительные машины (для ПНК-2); аппаратура встроенного контроля работоспособности ПНК и его систем в полете.
На самолетах устанавливаются различные навигационные автоматы и системы, помогающие пилоту вести самолет по заданному маршруту и выполнять предпосадочное маневрирование. Некоторые такие системы полностью автономны; другие требуют радиосвязи с наземными средствами навигации.
Существует ряд различных электронных систем воздушной навигации. Всенаправленные радиомаяки это наземные радиопередатчики с радиусом действия до 150 км. Они обычно определяют воздушные трассы, обеспечивают наведение при заходе на посадку и служат ориентирами при заходе на посадку по приборам. Направление на всенаправленный радиомаяк определяет автоматический бортовой радиопеленгатор, выходная информация которого отображается стрелкой указателя пеленга.
Основным международным средством радионавигации являются всенаправленные азимутальные радиомаяки УКВ-диапазона VOR; их радиус действия достигает 250 км. Такие радиомаяки используются для определения воздушной трассы и для предпосадочного маневрирования. Информация VOR отображается на Плановый навигационный прибор (ПНП) и на индикаторах с вращающейся стрелкой.
Дальномерное оборудование (DME) определяет дальность прямой видимости в пределах около 370 км от наземного радиомаяка. Информация представляется в цифровой форме.
Для совместной работы с маяками VOR вместо ответчика DME обычно устанавливают наземное оборудование системы TACAN. Составная система VORTAC обеспечивает возможность определения азимута с помощью всенаправленного маяка VOR и дальности с помощью дальномерного канала TACAN.
Система посадки по приборам это система радиомаяков, обеспечивающая точное наведение самолета при окончательном заходе на посадочную полосу. Курсовые посадочные радиомаяки (радиус действия около 2 км) выводят самолет на среднюю линию посадочной полосы; глиссадные радиомаяки дают радиолуч, направленный под углом около 3° к посадочной полосе. Посадочный курс и угол глиссады представляются на командном авиагоризонте и ПНП. Индексы, расположенные сбоку и внизу на командном авиагоризонте, показывают отклонения от угла глиссады и средней линии посадочной полосы. Система управления полетом представляет информацию системы посадки по приборам посредством перекрестья на командном авиагоризонте.
СВЧ-система обеспечения посадки это точная система наведения при посадке, имеющая радиус действия не менее 37 км. Она может обеспечивать заход по ломаной траектории, по прямоугольной «коробочке» или по прямой (с курса), а также с увеличенным углом глиссады, заданным пилотом. Информация представляется так же, как и для системы посадки по приборам.
«Омега» и «Лоран» радионавигационные системы, которые, используя сеть наземных радиомаяков, обеспечивают глобальную рабочую зону. Обе системы допускают полеты по любому маршруту, выбранному пилотом. «Лоран» применяется также при заходе на посадку без использования средств точного захода. Командный авиагоризонт, ПНП и другие приборы показывают местоположение самолета, маршрут и путевую скорость, а также курс, расстояние и расчетное время прибытия для выбранных путевых точек.
Командные пилотажно-навигационные системы. Командные пилотажно-навигационные системы (ПНС) с помощью вычислительного устройства обеспечивают логическую и математическую обработку сигналов нескольких датчиков (систем) и формирование результирующего командного сигнала, выдаваемого на показывающий прибор (НКП, КПП, НПП, ПП). Техника пилотирования по таким приборам, называемым командными, заключается в том, что, отклоняя рукоятку управления пропорционально отклонению командных стрелок, держать эти стрелки вблизи центрального индекса в пределах кружка, окаймляющего индекс.
Основными типами ПНС являются: "Путь-4" ("Путь-4М", "Путь-4МПА"), "Привод" ("Привод-АН", "Привод-В, "Привод-С", "Привод-ЕК", "Привод-АНД" и др.).
Выполняемые функции: полет по маршруту, привод к аэродрому, полет на заданной высоте и по заданному курсу, пробивание облачности (для ПНС "Привод"), заход на посадку без автоматического (для ПНС типа "Путь") и с автоматическим захватом глиссады (для ПНС "Привод"), построение коробочки и др.
Датчики сигналов для ПНС: КС-6, ЦГВ-1, АГД-1, АРК-11, РСБН-2С. Совместно с ПНС работают: СП-50, маяки системы VOR/ILS, НИ-50БМ, АП-28, АП-15, НВУ, "Свод" и др.
Индикация параметров положения и движения ЛА на указателях ПНС. На комбинированных указателях типа КПП, НПП, ПП, НКП, ПКП обеспечивают индикацию крена g команды по крену dэ, тангажа n, команды по тангажу dв отклонения от глиссады x, курса y, заданного курса yа, курсового угла радиостанции gКУР, отклонения от заданной линии пути e, отклонения от заданного курса Dyз, пеленга радиостанции gМП, скольжения b и др.
Плановый навигационный прибор (ПНП) показывает курс, отклонение от заданного курса, пеленг радионавигационной станции и расстояние до этой станции. ПНП представляет собой комбинированный индикатор, в котором объединены функции четырех индикаторов курсоуказателя, радиомагнитного индикатора, индикаторов пеленга и дальности. Электронный ПНП с встроенным индикатором карты дает цветное изображение карты с индикацией истинного местоположения самолета относительно аэропортов и наземных радионавигационных средств. Индикация направления полета, вычисления поворота и желательного пути полета предоставляют возможность судить о соотношении между истинным местоположением самолета и желаемым. Это позволяет пилоту быстро и точно корректировать путь полета. Пилот может также выводить на карту данные о преобладающих погодных условиях.
Инерциальные системы. Инерциальная навигационная система и инерциальная система отсчета являются полностью автономными. Но обе системы могут использовать внешние средства навигации для коррекции местоположения. Первая из них определяет и регистрирует изменения направления и скорости с помощью гироскопов и акселерометров. С момента взлета самолета датчики реагируют на его движения, и их сигналы преобразуются в информацию о местоположении. Во второй вместо механических гироскопов используются кольцевые лазерные. Кольцевой лазерный гироскоп представляет собой треугольный кольцевой лазерный резонатор с лазерным лучом, разделенным на два луча, которые распространяются по замкнутой траектории в противоположных направлениях. Угловое смещение приводит к возникновению разности их частот, которая измеряется и регистрируется. (Система реагирует на изменения ускорения силы тяжести и на вращение Земли.) Навигационные данные поступают на ПНП, а данные положения в пространстве на командный авиагоризонт. Кроме того, данные передаются на систему FMS.
Система обработки и индикации пилотажных данных (FMS). Система FMS обеспечивает непрерывное представление траектории полета. Она вычисляет воздушные скорости, высоту, точки подъема и снижения, соответствующие наиболее экономному потреблению топлива. При этом система использует планы полета, хранящиеся в ее памяти, но позволяет также пилоту изменять их и вводить новые посредством компьютерного дисплея (FMC/CDU). Система FMS вырабатывает и выводит на дисплей летные, навигационные и режимные данные; она выдает также команды для автопилота и командного пилотажного прибора. В дополнение ко всему она обеспечивает непрерывную автоматическую навигацию с момента взлета до момента приземления. Данные системы FMS представляются на ПНП, командном авиагоризонте и компьютерном дисплее FMC/CDU.
Существует сигнализационная система предупреждения воздушных столкновений (TCAS) это бортовая система, выдающая экипажу информацию о необходимых маневрах. Система TCAS информирует экипаж о других самолетах, появляющихся поблизости. Затем она выдает сообщение предупредительного приоритета с указанием маневров, необходимых для того, чтобы избежать столкновения.
Глобальная система местоопределения (GPS) военная спутниковая система навигации, рабочая зона которой охватывает весь земной шар, теперь доступна и гражданским пользователям. К концу тысячелетия системы «Лоран», «Омега», VOR/DME и VORTAC были практически полностью вытеснены спутниковыми системами.
Монитор состояния (статуса) полета (FSM) усовершенствованная комбинация существующих систем уведомления и предупреждения помогает экипажу в нештатных летных ситуациях и при отказах систем. Монитор FSM собирает данные всех бортовых систем и выдает экипажу текстовые предписания для выполнения в аварийных ситуациях. Кроме того, он контролирует и оценивает эффективность принятых мер коррекции.
Назначение ПНК следует рассматривать на основе назначения и способов применения ЛА, обеспечиваемого данным комплексом. Компактным изображением способов применения и этапов полета ЛА является график, форма которого представлена на рис.1. Отдельные этапы полета изображены здесь пунктирными, сплошными и волнистыми линиями. Если этап обозначен только пунктирной линией, то это означает, что на данном этапе осуществляется только ручное управление по визуальной информации.
Сплошная линия означает автоматическое управление, а волнистая полуавтоматическое управление летательным аппаратом. Наличие двух или всех трех указанных видов линии на каком-либо этапе означает, что на этом этапе возможен любой из двух или всех трех видов управления. Линия, проходящая посредине, соответствует основному виду управления на данном этапе. Так, если посредине проходит сплошная линия, как на этапах 316, 34, 322, 2223 и др., то основным является автоматическое управление. Если посредине проведена пунктирная линия, как на этапах 12, 23, 2324 и др., то основным на данном этапе является ручное управление. Назначение автоматизированного ПНК в основном характеризуется совокупностью этапов, отмеченных сплошными и волнистыми линиями. Однако эта характеристика не является полной. Помимо обработки информации и непрерывного управления, большое значение имеют разовые дискретные команды, вырабатываемые самим ПНК или экипажем. На каждом этапе полета можно указать несколько (иногда свыше десяти) таких команд. Это команды управления отдельными агрегатами и подсистемами самолета (примеры: выпуск и уборка шасси, выпуск и уборка закрылков, выпуск парашюта и т. д.), а также команды управления подсистемами самого ПНК (например, включение режимов «пробивание облачности», «посадка», приведения к горизонту и т. п.). Эти команды также можно отобразить на графике типа (рис.1) в виде точек. При этом если команда целиком формируется летчиком, точка располагается на пунктирной линии ручного управления. Если при формировании команды экипажу помогает сигнализатор, блок речевых команд («автомат подсказки»), то точка наносится на волнистой линии полуавтоматического управления. Если команда вырабатывается автоматически, то соответствующая точка размещается на сплошной линии автоматического управления.
График типа рисунке1 с нанесенными точками разовых команд дает некоторое представление о назначении ПНК и уровне автоматизации процессов применения летательного аппарата. Этот график может быть дополнен графиками технического обслуживания летательного аппарата и ПНК на земле. Однако представление о назначении и требованиях, предъявляемых к ПНК, не может быть сколько-либо полным без количественных характеристик этих требований. Однако прежде чем переходить к рассмотрению количественных характеристик, упомянем о составе и порядке функционирования подсистем ПНК. Под подсистемами ПНК здесь понимаются как подсистемы, непосредственно входящие в комплект ПНК, так и другие системы, органически связанные с ПНК. Обычно каждый этап или режим полета обеспечивается определенной совокупностью подсистем.
Рис.1. График различных этапов полета летательного аппарата
Современные ЛА, обладающие высокой энерговооруженностью, скоростью, высотой полета, способностью на отдельных режимах развивать недопустимые перегрузки, должны подчиняться многочисленным ограничениям. Наиболее полной и естественной формой выражения ограничений является назначение допустимых областей в пространстве (пространствах) состояний. Пространство состояний широко используется во всем последующем изложении для описания, анализа и синтеза ПНК. Здесь достаточно упомянуть об этом понятии.
Пространство состояний летательного аппарата представляет собой математическое абстрактное пространство, координатами которого служат параметры режима полета. Каждой точке в пространстве состояний соответствует определенное состояние ЛА, а движению этой точки процессы изменения состояния ЛА. Пространство состояний ЛА в общем случае является многомерным.
Однако для простоты изображения и запоминания ограничений чаще всего рассматриваются двумерные (плоскости) или, реже, трехмерные сечения пространства состояний. Этих сечений может быть несколько, так что ограничение представляется набором сечений области ограничений.
Рис.2. Пространство состояний ЛА
Ограничения по скорости V и высоте Н представляются сечениями плоскостями Н, V (Н, М (рис. 2) или Н, q, где М -число Маха, q скоростной напор. Участки границы этой области ограничений определяются различными физическими и конструктивными факторами (например, прочностью тех или иных частей конструкции, кинетическим нагревом, флаттером, сваливанием, помпажем двигателя и т. д.). Данное сечение области ограничений может меняться в зависимости от угла стреловидности крыла, варианта загрузки летательного аппарата и др.
Рис.3. Ограничения по перегрузке
Ограничения по перегрузке могут быть представлены сечениями: перегрузка вдоль нормальной оси пу скорость V (рис. 3). Параметрами этих сечений также могут являться угол стреловидности крыла, вариант подвески и др.
С одной стороны, по условиям безопасности, ограничения не должны нарушаться. С другой стороны, разрешенная область пространства состояний часто определяет боевые возможности летательного аппарата. От того, насколько полно используется эта область в процессе боевого маневрирования и применения, нередко зависит боевая эффективность ЛА. Поэтому необходима возможность подхода вплотную к границам разрешенной области. Это требует инструментального обеспечения и автоматизации.
Бортовое оборудование ЛА прежних поколений содержало автономные (независимые) указатели и сигнализаторы координат пространства состояний. В таких неавтоматизированных ПНК (рис. 1) функции логической и вычислительной обработки информации по обеспечению ограничений возлагались на летчика. Память летчика перегружалась информацией о поверхностях ограничений, а само выдерживание ограничений не могло быть точным. Для современных ЛА это становится неприемлемым.
Одним из путей развития является создание специальных аналоговых или дискретно-аналоговых вычислителей, индикаторов ограничений. В эти устройства закладываются форма и параметры поверхностей ограничений. Получая информацию от датчиков о текущем состоянии ЛА, вычислитель или индикатор сигнализирует о подходе к границам разрешенной области поверхностям ограничений. Подобные решения являются технически прогрессивными на уровне ПНК со средней стадией интеграции оборудования. Для ПНК с высоким уровнем комплексирования, базирующихся на БЦВМ высокой надежности и производительности, естественным, помимо всего прочего, является также выполнение БЦВМ функций выдерживания ограничений. Располагая наиболее полной информацией о векторе состояния ЛА, обладая памятью, достаточной для запоминания сложных поверхностей ограничений, подобные ПНК могут обеспечить индикацию и управление при подходе к границам допустимой области пространства состояний.
Для формирования алгоритмов ПНК по обеспечению ограничений можно использовать достаточно общие подходы. Одним из таких подходов является кусочно-линейная аппроксимация поверхностей ограничений.
Пусть допустимая или разрешенная область пространства состояний с достаточной точностью может быть представлена в виде совокупности выпуклых областей многогранников.
Выпуклой областью называется область, для которой отрезок прямой, соединяющий любые две точки этой области, принадлежит этой области. Примерами выпуклых областей может служить шар, эллипсоид, тетраэдр, треугольник и т. д.
С помощью ПНК осуществляются:
- стабилизация и индикация углового положения ЛА;
- стабилизация скорости, числа М, вертикальной скорости;
- контроль и индикация отклонений от глиссады, управляющих (командных) сигналов, резерва топлива;
- определение и индикация текущих значений координат места ЛА, скорости полета, моментов изменения режимов полета;
- обмен пилотажно-навигационной информацией с другими ЛА и наземными КП.
В состав ПНК входят:
- курсовые и инерциальные системы (типа КС, ТКС, МИС, ИКВ, СКВ);
- радиотехнические системы ближней и дальней навигации (РСБН, РСДН);
- автопилоты или автоматические системы управления;
- бортовые аналоговые или цифровые вычислительные машины;
- аппаратура встроенного контроля работоспособности ПНК и его систем в полете.
Одним из примеров реализации ПНК показан на рисунке 4.
Рис.4. Структурная схема пилотажно-навигационной системы типа «Путь-МПА»:
У-20Н - усилитель; В-4С - вычислитель; БК-5 - блок коммутации; НКП-4 - навигационно-курсовой прибор; БР-37 - блок реле; КС-6 - курсовая система; АРК-11 - автоматический радиокомпас; РСБН-2 - радиосистема ближней навигации и посадки; СП-50 - система посадки; Курс-МП - бортовое оборудование системы посадки; ЦГВ-4 - центральная гировертикаль; ТРС - тумблер развода стрелок; ПП-1ПМ - пилотажный прибор
2. Барометрический канал измерения высоты полёта ЛА, математическая модель атмосферы
Приборы, предназначенные для измерения высоты полета ЛА над поверхностью, называются высотомерами.
При полетах различают абсолютную высоту высоту относительно уровня моря, относительную высоту высоту полета относительно места взлета или посадки, истинную высоту, т.е. высоту над пролетаемой местностью.
Значение абсолютной высоты необходимо для установления коридоров на маршрутах полета, а также при испытании самолетов и двигателей; относительная высота должна быть известна при взлете и посадке; а истинная высота во всех случаях полета.
Известно несколько методов измерения высоты полета:
- барометрический;
- радиотехнический;
- инерционный.
Барометрический метод измерения высоты полета базируется на зависимости абсолютного давления в атмосфере р от высоты Н. При выводе градуировочных формул высотомера понадобятся также зависимости плотности и абсолютной температуры Т от высоты. На рис.5 представлены зависимости р=f1(H), =f2(H) и Т=f3(H). Эти зависимости являются статическими , т.к. давление, плотность и температура на одной и той же высоте не остаются постоянными, а испытывают значительные случайные вариации (показанные пунктиром) зависящие от времени суток и года, облачности.
Рис.5. Градуировочные кривые высотомера
На величины р, и Т, даваемые в таблицах стандартной атмосферы, следует смотреть как на математические ожидания
, , (1)
.
Для вывода зависимости между параметрами атмосферы и высотой Н рассмотрим цилиндрический столбик воздуха площадью S на высоте Н (рис. 6):
Рис.6.
Из условия равновесия сил, действующих на столбик, находим:
или
. (2)
Если воспользоваться уравнением состояния
, (3)
где R газовая постоянная, то получим вместо (2)
. (4)
Для решения этого уравнения необходимо знать зависимость температуры Т от высоты полета. Установлено, что среди температуры в атмосфере до высот 11 км является линейной функцией высоты вида
, (5)
где Т0=288 К средняя абсолютная температура на уровне моря и =6,5 град км-1 температурный градиент.
Решая уравнение (4) при учете (5), получим
, (6)
где р0=1013,3 гПа среднее давление на уровне моря.
Формула (6) называется стандартной барометрической. Если решить ее относительно Н, то получим гипсометрическую формулу
. (7)
В таблице 1 представлена сводка формул для распределения температур в соответствии со стандартной атмосферой и давлений. Выражения для давлений получены в результате решения уравнения (4) при соответствующем распределении температуры по высоте.
Таблица 1
|
Н, км |
,К |
,гПа |
рН |
ТН |
i |
|
1 |
2 |
3 |
4 |
5 |
6 |
|
0-11 |
1010,8 |
288 |
0,0665 |
||
|
11-25 |
226,1 |
216,6 |
0 |
||
|
25-46 |
25,035 |
216,6 |
0,0027 |
||
|
46-54 |
1,38 |
274 |
0 |
||
|
54-80 |
0,504 |
274 |
0,034 |
||
|
80-95 |
0,0112 |
185 |
0 |
Из формулы (7) и соответствующих формул таблицы следует, что в барометрическом высотомере измерение высоты сводится к измерению абсолютного давления в атмосфере.
Преобразование сигналов в высотомере происходит по схеме Н-р-l-, т.е. изменение высоты Н вызывает изменение статического давления р, воспринимаемого анероидной коробкой, деформация которой l через кривошипно-шатуную передачу приводит к перемещению стрелки на угол .
Если р=f1(H), l=f2(p) и =f3(l) соответственно статические характеристики методического звена атмосферы, анероидной коробки и передачи, то статическая характеристика высотомера будет
. (8)
Отсюда получаем выражение для чувствительности прибора
. (9)

Рис. 7. Кинематическая схема двухстрелочного высотомера:
1 барометрическая шкала; 2 плоская пружина; 3, 12 биметаллические компенсаторы; 4 тяга; 5 противовес; 6 блок анероидных коробок; 7 волосок; 8 большое зубчатое колесо; 9 кремальера; 10 полая ось; 11 трибка; 13 малое зубчатое колесо; 14 сектор; 15 валик; 16 основание
Изменение атмосферного давления с изменением высоты вызывает деформацию анероидного блока, который с помощью передаточного механизма перемещает стрелку, показывающую высоту полета.
Для градуировки большинства барометрических высотомеров приняты следующие формулы:
для H 11 км, (24)
для H 11 км, (25)
где P0 760 мм рт. ст. давление у поверхности земли; T0=273,16+15=288,16 температура у земли по Кельвину; r = 0,0065 град/м температурный градиент высоты; R =29,27 м/град газовая постоянная воздуха; T11 температура на высоте 11 км по Кельвину.
Погрешности высотомеров: для высот 0600 М ±(1530) м; для высот 900 1 200 м - г ± (3050) м; для высот 1 500 м и далее ±(1,52)% от измеренного значения высоты.
3.Аэрометрический канал измерения скорости,числа Маха.Математическая модель измерителей приборной скорости и числа Маха
Скорость полета ЛА измеряют относительно воздуха и относительно Земли. При этом различаю истинную воздушную скорость V скорость полета относительно воздуха, путевую скорость W скорость относительно Земли, и приборную (индикаторную) скорость Vi скорость полета в предположении, что скоростной напор постоянный на всех высотах. Безразмерной характеристикой скорости полета является число М полета, равное отношению истиной воздушной V к скорости звука а, т.е. М=V/а.
Путевая скорость равна геометрической сумме горизонтальных составляющих истиной воздушной скорости и скорости ветра , т.е.
. (10)
Скорость полета является векторной величиной, для определения которой необходимо знать модуль и направление. Направление вектора истиной воздушной скорости в системе координат, связанной с осями ЛА, определяется углами атаки и скольжения . Следовательно, для полного определения вектора воздушной скорости необходимо измерять модуль вектора и угла атаки и скольжения.
В целях удобства пилотирования отдельно измеряют вертикальную скорость VH, являющуюся вертикальной составляющей скорости полета ЛА, причем .
Приборы, предназначенные для измерения указанных выше скоростей, называются соответственно указателями истиной воздушной скорости, числа М, а приборы, измеряющие вертикальную скорость, называются вариометрами.
Для измерения истиной воздушной скорости, индикаторной скорости и числа М полета применяются аэрометрический, манометрический, термодинамический, тепловой, турбинный и ультраакустический методы.
Аэрометрический метод основан на измерении скоростного (динамического) напора, функционально связанного со скоростью.
Принцип действия указателя скорости основан на измерении динамического напора полностью заторможенного потока воздуха.
Из уравнения Бернулли в предположении одинаковых нивелирных высот
, (11)
где р1, 1, V1 и р2, 2, V2 соответственно давление, весовая плотность, скорость набегающего и заторможенного потоков.
При полном торможении (V2=0)
. (12)
При малых скоростях полета (V<400 км/ч) воздух можно считать несжимаемым. Полагая 1=2=, получаем
. (13)
Величина называется динамическим или скоростным напором, а давление р2=рП полным давлением. Оно равно сумме статического давления р1=рСТ и скоростного напора р.
При больших скоростях полета (V>400 км/ч) с учетом адиабатического сжатия и внутренней энергии вместо уравнения (12) получаем
, (14)
где k=1,4 показатель адиабаты для воздуха.
Если воспользоваться уравнением адиабаты
(15)
и исключить из уравнений (14) и (15) величину 2, то после преобразования получим
, (16)
где =k/(k-1).
Отсюда находим разность давлений р=рП-рСТ=р2-р1
(17)
или, воспользовавшись уравнением состояния 1=р1/RT1
, (18)
где р1 и Т1 статическое давление и температура на высоте полета.
Решая уравнение (18) относительно V, найдем
. (19)
Видно, что для измерения скорости V необходимо измерять скоростной напор р, статическое давление р1 и температуру Т1 на высоте полета.
Если учесть, что скорость звука а в воздухе равна
(20)
то выражению (19) можно придать вид
, (21)
где М=V/a число М полета.
По формуле (21) градуируются указатели числа М полета, причем в этом случае необходимо измерять только р и р1.
На сверхзвуковых скоростях полета часть энергии скоростного напора тратится на образование ударных волн, поэтому разность давлений р с учетом потерь на прямой скачок уплотнения перед носком трубки ПВД будет
, (22)
где . (23)
Если в (22)положить k=1.4, то
.
Чувствительным элементом комбинированного указателя скорости является манометрическая коробка, помещенная внутри герметического корпуса. Полость коробки соединена с приемником полного давления, а корпус прибора с приемником статического давления. В полете на упругий элемент действует разность полного и статического давлений, т. е. динамическое давление рд=рпрст.
Указатель числа М по своему устройству аналогичен указателю воздушной скорости (рис. 8),но в нем отсутствуют элементы учитывающие температуру окружающей среды.
Так как число М является функцией отношения динамического рд к статическому давлению рст на высоте полета, то кинематический механизм прибора выполняет деление величины рд, измеренной с помощью манометрической коробки, на величину рст, которую измеряет анероидная коробка.
Рис. 8. Кинематическая схема комбинированного указателя скорости:
1 шкала циферблата; 2 стрелка приборной скорости; 3, 27 зубчатые секторы; 4, 5, 6, 7, 8, 9, 10, 22, 23, 24 поводки; 11, 15, 20 тяги; 12; 25 оси; 13; 14 вилки-. 16 анероидная коробка; 17 верхний центр анероидной коробки; 18 манометрическая коробка; 19 верхний центр манометрической коробки; 21 кривошип; 26, 28 трибки; 29 стрелка истинной скорости
Вариометры. Принцип действия измерителей вертикальной скорости полета вариометров (рис. 9) основан на измерении разности атмосферного давления и давления в корпусе прибора, соединенного с атмосферой через гидравлическое сопротивление (капиллярную трубку).
Серийные вариометры типа ВАР (ВАР-30, ВАР-75, ВАР-150, ВАР-300) имеют унифицированный механизм и различаются только шкалами, количеством и длиной капилляров.

Рис.9 . Кинематическая схема вариометра с затухающей шкалой:
1 стрелка; 2 рычаг; 3 ось рычага; 4 балансир; 5 поводок; 6 и 15 спиральные пружины- 7 тяга; « капилляры; 9 манометрическая коробка; 10 трубка для подвода давлений Рс\ 11 корпус прибора; 12 поводок; 13 эксцентрик; 14 зубчатое колесо с прорезью; 16 трубка на оси стрелки; 17 рукоятка (кремальера) для установки стрелки на нуль
4.Системы приема воздушных давлений (ПВД)
Система ПВД воспринимает полное и статическое давление и передает их по магистралям (трубопроводам) к чувствительным элементам пилотажно-навигационных приборов и систем, систем управления летательным аппаратом, сигнализаторам, бортовым устройствам регистрации параметров полета. К системе приема воздушных давлений относятся приемники воздушных давлений, коллекторы, влаго-отстойники, краны переключения систем ПВД.
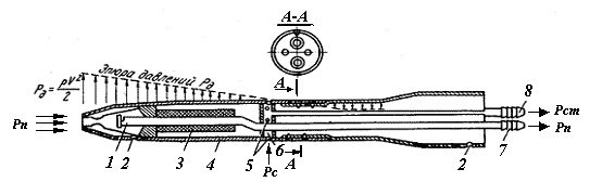
В эксплуатации применяются приемники трех типов. Приемники типа ПВД воспринимают полное и статическое давление, приемники типа ТП-156(М) и ППД-1, ППД-3, ППД-5 воспринимают только полное давление, приемника ПСДвоспринимают только статическое давление. К дозвуковым относятся ПВД-6М, к сверхзвуковым ПВД-3, ПВД-4, ПВД-5, ПВД-7 (рис. 10), ПВД-9.

Рис. 10. Приемник воздушных давлений ПВД-7:
4 трубка полного давления рп; 2 дренажные отверстия; 3. электрообогревательный элемент; 1 цилиндрический корпус; 5отверстия, служащие для приема статического давления рст; 6 камера статического давления рст; 7 штуцер полного давления рп; 8 штуцер статического давления рст
Приемники типа ПВД (кроме ПВД-9), ТП-156 (М), ППД-1 (рис. 11), ППД-3, ППД-5 и некоторые типы приемников статического давления (рис. 12) имеют электрический обогреватель, питаемый от бортовой сети постоянного тока напряжением 27 В.

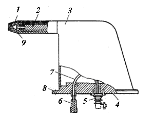
Рис. 11. Приемник полного давления ППД-1:
1 наконечник; 2 обогревательный элемент; 3 кожух; 4 фланец; 5 штепсельный разъем; 6 штуцер; 7 трубопровод; 8 крепежное отверстие; 9 дренажное отверстие

Рис. 12. Приемник статического давления:
1 приемное отверстие; 2 корпус; 3 пружина; 4 обогревательный элемент; 5 вилка; 6 розетка
Приемники воздушного давления всех типов монтируются на самолете таким образом, чтобы дренажные отверстия были обращены вниз. Когда самолет находится на стоянке, приемник должен быть зачехлен. Перед полетом чехол снимается. Для уменьшения аэродинамических погрешностей приемники статического давления устанавливаются на плиты. На центральное отверстие приемника ПВД (ППД, ТП) набегающий поток воздуха оказывает давление
, (26)
где Pп, Pст полное и статическое давление воздуха; r плотность воздуха на высоте полета; Vвоздушная скорость полета.
При проверке работы обогревательных элементов приемников воздушного давления (ПВД, ТП, ППД) под током разрешается включать обогрев на земле не более чем на 2 мин. По истечении этого времени поверхность приемников должна быть ощутимо теплой. Величина тока, истребляемого обогревательным элементом приемника, должна находиться в следующих пределах: для ПВД-4 7,58,5 А; для ПВД-5, ПВД-7 и ПВД-18 5,56,5 А; для ПВД-6М 3,43,9 А; для ТП-156 (М)3,55 А; для Г1ПД-1(В) 6,26,8 А; для ППД-335 А; для ППД-5 36 А.
5. Основные источники методических погрешностей при измерении барометрической высоты
Высотомерам свойственны погрешности:
- методические;
- инструментальные.
Методические погрешности обусловлены косвенным методом измерения высоты и вызваны изменением
- рельефа местности,
- давления у земли,
- средней температуры столба воздуха,
- случайными вариациями давления на высоте по отношению к давлению, задаваемому стандартной атмосферой.
Методические погрешности, вызванные изменением рельефа местности, могут быть скомпенсированы при наличии информации о рельефе местности или при дополнительной информации об истиной высоте полета.
Погрешность от изменения начального давления р0 можно определить его уравнениями. Если в момент вылета давление было р0, а после оно стало р1, то прибор будет показывать
, (27)
хотя правильное показание должно быть
. (28)
Отсюда погрешность измерения будет
. (29)
Если р1=р0+р0, то
. (30)
Для компенсации этой погрешности весь механизм прибора с помощью кремальеры поворачивают так, чтобы стрелки совмещались с нулевым делением шкалы. При нулевом положении стрелок прибора по шкале барометрического давления можно прочитать показание, соответствующее давлению р0 на данном аэродроме для определения высоты на аэродроме посадки необходимо по радио получить информацию о давлении на этом аэродроме.
На самолете запрещается отворачивать кремальеру и вращать только шкалу барометрического давления, чтобы установить ее в соответствии с атмосферным давлением на аэродроме. Несоответствие показаний стрелок и шкалы барометрического давления может быть следствием неисправности прибора. Поэтому если после установки стрелок на нуль показания этой шкалы отличаются от атмосферного давления более чем на определенное число мм. рт. ст., оговоренное в инструкции по эксплуатации высотомера (обычно ±1,5 2 мм рт. ст.) , то прибор следует снять с летательного аппарата и проверить на соответствие параметров требованиям технических условий.
Помимо стрелок, высотомер имеет индексы, связанные со шкалой барометрического давления. Если стрелки прибора установить на нуль перед взлетом, то индексы покажут высоту места взлета относительно уровня, на котором давление равно 760 ми. рт. ст.
Если фактическая температура столба воздуха Тср/ отлична от температуры Тср по МСА, то
и . (31)
Отсюда
, (32)
где Т=Т/ср-Тср.
Для компенсации этой погрешности необходимо измерить фактическую температуру воздуха на высоте полета, а сведения о температуре у земли Т0 получать по радио. Рассматриваемая погрешность, пропорциональная высоте полета Н, на малых высотах мала, и ею можно пренебречь.
Для оценки методической погрешности, обусловленной случайными вариациями давления на высоте полета, предположим, что высотомер является нелинейным звеном, преобразующим измеряемую случайную функцию р=(t,x,y,z) времени и координат в показание прибора Н(t,x,y,z), также являющееся случайной функцией.
Для приближенной оценки связи между случайными функциями р и Н предположим, что измеряемое высотомером абсолютное давление
, (33)
где р0 математическое ожидание р по МСА, а - центрированная случайная величина, причем р0>>. Показание высотомера представим в виде
, (34)
где Н0 и имеют аналогичный смысл, причем Н0>>.
. (35)
Следовательно, в первом приближении случайные методические погрешности пропорциональны случайным вариациям абсолютного давления в атмосфере.
Аэродинамическая поправка. С изменением числа М в полете происходит изменение эпюры давлений вдоль приемника ПВД. При этом у отверстий приемника ПВД давление становится отличным от статического давления на данной высоте полета. Это вызывает увеличение методической погрешности высотомера. Для устранения этой погрешности применяют вычислители аэродинамических поправок. Поправка, определяемая вычислителем, вводится в показания высотомера. Указатели с аэродинамической поправкой обеспечивают более точное выдерживание заданного эшелона по высоте полета.
Заключение
Применение последних достижений кибернетики и бионики дает основание полагать, что в ближайшее время появятся навигационные системы адаптивного типа, т.е. системы, изменяющие структуру и методы обработки в зависимости от изменения входных и внутренних условий работы. Основной тенденцией развития средств навигации является усложнение комплексов с тем, чтобы, используя последние достижения в навигации, создать такие системы, которые хотя бы отчасти обеспечивали возможность работать с более широким классом сигналов в широком диапазоне, а также возможность реагировать на воздействие помех переменного уровня.
Контрольные вопросы
- Дайте определение ПНК.
- Чем определяется назначение пилотажно-навигационных комплексов?
- Что осуществляется с помощью ПНК?
- Что входит в состав ПНК?
- Какие высоты различают при полете, их назначения?
- На чем основан барометрический метод измерения высоты?
- Назовите основные источники методических погрешностей при измерении барометрической высоты, методы их компенсации.
- На чем основан аэрометрический метод измерения скорости полета ЛА?
PAGE - 3 -
ПИЛОТАЖНО-НАВИГАЦИОННЫЕ КОМПЛЕКСЫ. БАРОМЕТРИЧЕСКИЙ КАНАЛ ИЗМЕРЕНИЯ ВЫСОТЫ