Тиристоры и некоторые другие ключевые приборы

ТИРИСТОРЫ И НЕКОТОРЫЕ ДРУГИЕ КЛЮЧЕВЫЕ ПРИБОРЫ

1. ЧЕТЫРЕХСЛОЙНЫЕ р-п-р-п СТРУКТУРЫ

Наряду с приборами, дающими возможность осуществВнлять линейное усиление сигналов, в электронике, в вычисВнлительной технике и, особенно в автоматике широкое приВнменение находят приборы с падающим участком вольтамперной характеристики. Эти приборы чаще всего выполВнняют функции электронного ключа и имеют два состояния: запертое, характеризующееся высоким сопротивлением, и отпертое, характеризующееся минимальным сопротивВнлением.

10тАФ15 лет назад в схемах электронной автоматики в качестве электронного ключа использовали газонаполВнненный прибор тАФ тиратрон. При подаче управляющего (поджигающего) импульса в баллоне тиратрона начинался лавинный процесс ионизации газа. Промежуток между анодом и катодом становился проводящим и замыкал силовую цепь.

С появлением плоскостного биполярного транзистора появилась в самом начале 50-х годов и четырехслойная структура, получившая вначале название Влхук-транзиВнсторВ», или транзистор с ловушкой в коллекторе.

Несколько позже было замечено, что характеристики такой структуры во многом напоминали характеристики тиратронов, и приборы такого типа получили название тиристоров (по аналогии с терминами тиратрон и транВнзистор).         

В ходе развития полупроводниковой техники появились и другие приборы, обладающие аналогичными характериВнстиками, хотя их работа и основана на других принципах. К числу таких, приборов можно отнести двухбазовый диод и лавинный транзистор. Оба эти прибора не подходят под определение тиристора, однако мы включаем их в эту главу, исходя из области их применения.

Итак, начнём рассмотрение основных физических процессов, протекающих в четырехслойной триодной структуре типа р-п-р-п, в которой выводы сделаны от двух крайних областей и от средней n-области. В соответствии с термиВннологией МЭК прибор, имеющий такую структуру, назыВнвается триод-тиристором. Четырехслойная структура с двумя выводами от крайних областей называется диод-тиристором.

    Если транзистор типа р-п-р-п включить в схему так, как обычно включается транзистор типа р-п-р, т. е. счиВнтать правую n-область коллекВнтором, и подать на нее отриВнцательное по отношению к баВнзе (средняя n-область) смещеВнние, а эмиттер (левая р-область)  временно  оставить разомкнутым, то подключенВнную к источнику питания                

рис.1  Схематическое изображение биполярного транзистора типа р-п-р-п с двойным переходом (ловушкой) в коллекторе.

часть транзистора, состоящую из трех областей, можно рассматривать как самостоятельный транзистор типа п-р-п, подключенный эмиттером и коллектором к источнику питаВнния. База этого условного транзистора к схеме не подклюВнчена, транзистор работает в режиме нулевого тока базы (рис.1).

Так как в данном случае мы имеем дело не с транзистоВнром р-п-р, а с транзистором п-р-п, то очевидно, что колВнлектором этого условного транзистора должен быть элеВнктрод, к которому подводится положительное напряжение, а эмиттером тАФ электрод, к которому подводится отрицаВнтельное напряжение. Другими словами, полярность приВнложенного к условному транзистору напряжения такова, что средний р-п переход имеет смещение в обратном направлении и на нем падает почти все напряжение источника питания, тогда как правый р-п переход имеет смещение в прямом направлении.  

Обозначая двумя штрихами велиВнчины, относящиеся к этому условному транзистору, запишем

IтАЩтАЩк= IтАЩтАЩэ =(BтАЩ'0+1)* IтАЩтАЩк0

Отметим, что для структуры р-п-р-п в целом этот ток будет представлять собой коллекторный ток при отключенном эмиттере. Величины, относящиеся ко всей рассматриВнваемой нами структуре, будем записывать без индексов. Таким образом,

Iк0 = IтАЩтАЩк =(BтАЩ'0+1)* IтАЩтАЩк0

т. е. обратный ток. коллектора структуры р-п-р-п в (BтАЩ'0+1) раз превосходит обратный ток одиночного перехода. Это одна из особенностей структуры р-п-р-п.

Так как выходным электродом условного транзистора п-р-п является его эмиттер, а коллектор подключен к заВнземленной точке, то можно считать, что условный транВнзистор включен по схеме с общим коллектором. Входным электродом условного транзистора является его база, т. е. средняя р-область.

Для транзистора, включенного по схеме с общим колВнлектором, усиление по току как отношение изменения выходного тока к вызвавшему его изменению входного тока будет равно

к IтАЩтАЩэ                  к IтАЩтАЩэ                                 1                                 1

к IтАЩтАЩб            кIтАЩтАЩэ- кIтАЩтАЩк             1- кIтАЩтАЩк/кIтАЩтАЩэ           1   -  αтАЩтАЩ0

Следовательно, изменение тока базы условного транВнзистора должно привести к изменению тока в выходной цепи, в 1/ (1   -  αтАЩтАЩ0 ) раз большему.

Если подать смещение в прямом направлении на левый р-п переход, то он будет инжектировать дырки в среднюю n-область. Дырки будут распространяться диффузионно в направлении среднего р-п перехода, втягиваться его полем и выбрасываться в среднюю р-область. Три левых слоя работают при этом, как транзистор типа р-п-р, вклюВнченный с общей базой. Ток эмиттера этого левого условного транзистора IтАЩэ будет, очевидно, равен току эмиттера Iэ структуры р-п-р-п.

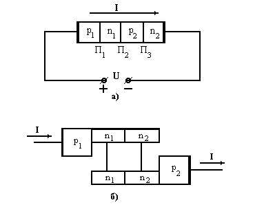
Таким образом, получаем, что структура р-п-р-п предВнставляет собой как бы два наложенных один на другой плоскостных транзистора, из которых первый является транзистором р-п-р, включенным по схеме с общей базой, а второй тАФ транзистором

п-р-п, включенным по схеме с общим коллектором. Рис а, б

Так как области n1 и n2 практически представляют собой одну и ту же n-область, связанную выводом базы с заземленной точкой, то мы имеем все основания заземлять отдельно каждую из этих областей, оставив области p1 и р2 соединенными проводником.            

Усиление по току структуры в целом определяется соотношением

α0 =αтАЩ 0/[1-αтАЩтАЩ 0]

Таким образом, при условии, что коэффициент усилеВнния по току каждого из условных транзисторов ( αтАЩ0, и αтАЩтАЩ0) меньше единицы, коэффициент передачи тока структуры

                                    а)                                            б)

Схематическое изображение двух стадий (а и б) раздеВнления транзистора р-п-р-п на два условных триода р-п-р и п-р-п

р-п-р-п в целом может значительно превышать единицу. Поясним механизм работы этой структуры с помощью энергетических диаграмм рис. 2. Когда отсутствует внешнее напряжение, положение границ зон структуры р-п-р-п (рис. 2 а) будет иметь вид, представленный на рис. 2 б

Дополнительный потенциальный барьер в коллекторе принято обычно называть ловушкой, в связи с чем струкВнтуру типа р-п-р-п иногда называли транзистором с ловушВнкой в коллекторе.

Когда приложены внешние напряжения указанной выше полярности, высота потенциального барьера среднего переВнхода резко возрастает, а высота левого и правого потенВнциальных барьеров несколько понижается. Если рассматВнривать только теоретическую модель, т. е. пренебречь падеВннием напряжения на распределенном сопротивлении, то высота левого барьера понизится на величину приближенного к эмиттеру напряжения, а высота правого барьера на величину, определяемую током IтАЩк, протекающим через этот переход рис.в

Изменение   напряжения между эмиттером и базой приводит к инжекции дырок в среднюю n-область. ДиффунВндируя через среднюю n-область и попадая через заперВнтый переход в среднюю р-область, дырки повышают концентрацию основных носиВнтелей в этой области.

Повышение концентрации основных носителей в средней р-области приводит к пониВнжению высоты правого р-п перехода и инжекции элекВнтронов из правой n-области в среднюю р-область. ЭлекВнтроны проходят среднюю р-обВнласть и уходят через потенВнциальный барьер в среднюю n-область. Часть из них рекомбинирует в р-области.

Условие равновесия и электрической нейтральности требует чтобы число дырок, вошедших в р-область, было равно числу электронов рекомбинировавших при движении через p-область.

Отсюда ясно, что поскольку рекомбинирует в объеме 1   -  αтАЩтАЩ0 от всех вошедших в этот объем электронов то появление в средней р-области некоторого количества дырок

вызывает инжекцию в эту область в  1/(1   -  αтАЩтАЩ0 )  раз большего количества электронов. Так как число дырок, достигших средней р-области, αтАЩ0 в раз меньше числа дырок, инжектированных эмиттером (левой p-областью), а число электроВннов, вызванных этими дырками из правой n-области, в 1/(1   -  αтАЩтАЩ0 ) раз больше, чем число дырок, достигших р-области, то результирующий коэффициент передачи тока окаВнзывается равным:

α0    =      αтАЩ0 /(1   -  αтАЩтАЩ0)

Рис. 2. Диаграммы положения границ зон и прохождения носителей заряда в структуре р-п-р-п:

атАФсхематическое   изображение структуры р-п-р-п, б - положение границ зон при отсутствии внешних напряжений, втАФположение границ зон при подаче, на коллектор отрицательного, а на эмиттер положительного смещения относительно базы

            положение границ зон до подачи смещения, 

            изменение положения границ зон правого перехода при попадании инжектированных эмиттером дырок в среднюю р-область.

Коэффициент усиления по току, превышающий единицу, при соответствующем направлении входного и выходного тока обеспечивает работу прибора в ключевом режиме.

     Биполярный транзистор при включении его по схеме с общей базой имеет необходимые направления токов, но его коэффициент усиления по току α0 < 1. При включении по схеме с общим эмиттером коэффициент усиления по току превышает единицу (B0 > 1), но не соблюдаются необхоВндимые направления токов. В четырехслойной тиристорной структуре выполняются оба эти условия.

Динистор. Рассмотрим работу диода состоящего из четырех чеВнредующихся слоев p1-n1-p2-n2 (рис. 5-8, а). Если подать на него не очень большое напряжение U плюсом на слой р1 и минусом на слой n1, то потечет ток, как показано стрелкой. В результате переходы П1 и П2 будут работать в прямом направлении, а переход П2  - в обратном. Таким образом, получится как бы сочетание двух транзисторов в одном приборе     (рис.5-8, б) (Комбинация транзисторов р-п-р и п-р-п, показанная на рис. 5-8, б, действительно обладает свойствами динистора и может быть использована на практике.): одним транзистором является комбинация слоев p1-n1-p2, другим - комбинация слоев п1-р2-n2. Слои p1 и n2 являются эмиттерами, n1 и p2, тАФ базами для одного транзистора и коллекторами для второго. Во избежание путаницы их называют базами. Переход П2 называют коллекторным.

Рис 3. Структура динистора (а) и его двухтранзисторный эквивалент (б).

     Рассмотрим четырехслойную структуру, изображенную на рисунке 3. В этом случае напряжение окажется приложенным с основном к переходу П2, который будет работать в режиме коллектора. Переходы П1 и П2 окажутся смещенными в прямом направлении. Переход П будет представлять собой эммитер, инжектирующий неосновные носители в область n1, выполняющую роль базы для первого эммитера. Дырки, прошедшие первую базу и коллекторный переход П2, появляются во второй базе. Их нескомпенсированный объемный заряд будет понижать высоту потенциального барьера перехода П3 и вызывать встречную инжекцию электронов.

     Аналогичным образом можно рассматривать инжекцию электронов из области n2 в область p2 их появление в область n1 и встречную вторичную инжекцию дырок из области p1 в область n1. Таким образом, обе крайние области выполняют роль эммитеров, причем каждый эммитер отвечает вторичной встречной инжекцией на инжекцию другого эммитера. Этим создаются все необходимые предпосылки для развития лавинного процесса. Тем не менее лавинный процесс роста тока через систему начинается не при любом напряжение на структуре, а только при некотором достаточно большом напряжении.

     Если изменить полярность напряжения, приложенного к рассматриваемой структуре, на обратную, то переходы П1 и П3 окажутся смещенными в обратном направлении. Если оба эти перехода достаточно высоковольтные, то вольт-амперная характеристика будет иметь вид обратной ветви обычной диодной характеристики.

     Пока коллекторный переход работает в обратном направлении, практически все приложенное напряжение U падает на нем. Поэтому при больших значениях U следует учитывать ударную ионизацию в этом переходе. Примем  для дырок и электронов один и тот же коэффициент умножения М (чтобы не усложнять выкладки) и обозначим через α1 и  α3  интегральные коэффициенты передачи тока от переходов П1 и П3 к переходу П2. Тогда ток последнего можно записать в следующем виде:

Iп2=M(Iα1+Ια3+Ικ0 )       (1)

где Ik0тАФсумма теплового тока, тока термогенерации и тока утечки в переходе П2.

Поскольку токи через все три перехода одинаковы и равны внешнему току I, легко находим:

           I=MIk0/(1-Mα) (2)

    Здесь α=α1-α3 суммарный коэффициент передачи тока от обоих эмиттеров к коллекторВнному переходу. Выражение (2) в неявном виде является вольт-амперной характеристикой динистора, так как параметр M в правой части зависит от напряжения (Ток Ik0 при том его определении, которое было дано в формуле (1), тоже зависит от напряжения. Однако учет этой зависимости наряду с зависимостью М. (U) сильно усложняет задачу. В некоторых случаях (например, если переход П2, зашунтирован небольшим заранее известным сопротивлением) можно пренебречь функВнцией М (U) и считать зависимость от напряжения сосредоточенной в функции Ik0 (U). В других случаях можно учесть зависимость α (U) и пренебречь функциями М (U) и Ik0 (U). Наконец, можно использовать различные 'комбинации этих функций. Общая методика анализа при этом не меняется.). Структура выражения (2) такая же, как в случае лавинного транзистора при Iб == 0. Такое сходство вполне естественно, поскольку оба Влсоставляющих транзиВнстораВ» в динисторе (рис. 3, б) включены по схеме ОЭ с оборванной базой.

      Вольт-амперная кривая динистора вместе с его условным обознаВнчением показана на рис. 4. Как видим, она подобна характеристике лавинного транзистора в схеме ОЭ (см. рис. 4).Однако существенным преимуществом динисторов является то, что рабочее напряжение в области больших токов у них значительно меньше и почти не зависит от тока. Кроме того, динисторы работают без всякого предваВнрительного смещения в цепи базы в отличие от лавинных транзисторов, у которых такое смещение необходимо (рис. 4, а). Критические точки характеристики на рис. 4, в которых r == dU/dI == 0, называют соответственно точкой прямого переключеВнния (ПП) и точкой обратного переключения (ОП).

Рис. 4. Вольт-амперная характеристика динистора. а-начальный участок; б-полная кривая.

Происхождение отрицательного участка на характеристике динистора обусловлено той же причиной, что и в лавинном транВнзисторе. А именно, у обоих приборов на этом участке задан постоянный ток базы (у динистора он равен нулю). Поэтому должно выполняться соотношение dIk = dIэ, т. е. дифференциальный коэффициент а должен быть все время равен единице. С ростом тока величина α стремится возВнрасти, но это возрастание предотвращается уменьшением напряжения на коллекторном переходе, т. е. ослаблением ударной иониВнзации. Такой же вывод следует из формулы  (2), в которых знаменатель не может быть отрицательным, и, следоваВнтельно, начиная с некоторой рабочей точВнки,  увеличение  интегрального коэффициента α должно сопровождаться уменьшением коэффициента M,т. е. уменьВншением коллекторного напряжения.

Однако, несмотря на определенное сходство с лавинным транзистором, имеет принципиальную особенность. Эту особенность легко показать, если представить вольт-амперную характеристику в форме U(I). Подставив выражение для характеристики в области ионизации  в (2) и решив последнее относительно напряжения, получим:

U=UM[1-(α*Ι+Ικ0)/I]1/n       (3)

У лавинного транзистора, у которого α < 1 при любом токе, напряжеВнние Uk всегда имеет конечную величину. У динистора, у которого сумВнмарный коэффициент α == α1+α3 может превышать единицу, напряВнжение U (точнее, напряжение на коллекторном переходе) делается равным нулю при некотором конечном токе /. При еще большем токе формулы (2) и (3) становятся недействительными, так как

коллекторный переход оказывается смещенным в прямом направлении и механизм работы динистора качественно изменяется. Рассмотрим отдельные участки характеристики, показанной на рис. 4.

Начальный участок 1 характерен очень малыми токами, при которых можно считать α ≅ 0. Сопротивление на этом участке весьма велико, поэтому заданной величиной всегда бывает напряжение, а ток можно найти по формуле (2).

На переходном участке 2 рост напряжения замедляется, а сопроВнтивление резко падает. Эти изменения являются следствием увеличения коэффициента а и могут быть легко оценены с помощью выражения (3).

В конце второго участка, в точке ПП, сопротивление обращается в нуль, а затем (при заданном токе) становится отрицательным. КоорВндинаты точки прямого переключения определяются условием dU/dI = 0.

Напряжение Uп.п обычно близко к величине Um и для разных тиВнпов динисторов лежит в широких пределах от 25тАФ50 до 1 000тАФ2 000 в ( Эти цифры характерны для серийных динисторов. Можно изготовить анаВнлогичные приборы с рабочими напряжениями всего в несколько вольт). Ток Iп.п лежит в пределах от долей микроампера до нескольких милВнлиампер в зависимости от материала и площади переходов.

На отрицательном участке 3 характеристика по-прежнему описыВнвается формулой (3), которую, однако, можно упростить, полагая αΙ > Ik0. Тогда

U≅UM(1-α)1/n           (4)

где α увеличивается с ростом тока. Дифференцируя (4) по току, получаем сопротивление на этом участке:    

    r=  -  UM (dα/dI) /  n(1-α)[n-1]/n         (5)

Отсюда видно, что величина сопротивления должна существенно меняться с изменением тока. Характер этого изменения определяется функцией α(I) и в общем случае может быть немонотонным. Однако чаще всего сопротивление r возрастает (по модулю) с ростом тока. Средняя величина |r| между точками ПП и ОП лежит обычно в пределах от 5тАФ10 до 50тАФ100 ком.

Коллекторное напряжение, уменьшаясь на участке 3, делается равным нулю в точке Н (Точка Н обозначает границу режима насыщениятАФрежима, в котором и эмит-терные, и коллекторный переходы работают в прямом направлении.). Из формулы (3) при U = 0 получаем соотношение                   

    I=Ik0/[1- α]        (6)

из которого определяется ток Iн. Поскольку этот ток несравненно больше, чем Iк0, его можно определять из условия

α = α1 + α3 ≅ 1                     (7)

пользуясь графиками α (I).

Напряжение Uн является суммой напряжений на эмиттерных переходах, так как    Uп2 = 0. Используя формулу UЭ=φT ln(Iэ/I`э0+1+αn(euk/yt-1)) при Uk=0, Iэ = Iн и считая оба эмиттерных перехода одинаковыми, получаем:

Uн=2 φT ln (Iэ/I`э0)                    (8)

Это напряжение составляет несколько десятых долей вольта у германиевых динисторов и 0,5тАФ1 в тАФ у кремниевых.

При токеI > Iн переход П2, будучи смещен в прямом направВнлении, инжектирует носители навстречу тем потокам, которые постуВнпают от эмиттеров. Инжектируемый компонент тока Iп2 равен разВнности между собираемым компонентом (α1 Iп1+ α3 Iп3) и  полным током Iп2. Поэтому если для простоты положить α1 = 0 (т. е. считать, что носители, инжектируемые переходом П2. не доходят до эмиттеров) и принять условие U >>φT  для всех трех переходов, то напряжение на открытом динисторе можно выразить с помощью формулы UЭ=φT ln(Iэ/I`э0+1+αn(euk/yt-1)) в виде суммы напряжений на переходах:

U=φT[ln(Iп1/ Iэ01)-ln[(α1Ιп1+α3Ιп3)- Ιп2]/ Iэ02+ln (Ιп3/Iэ03)]   (9 a)

(токи I`э0 заменены на Iэ0, так как принято α1= 0).

Учитывая, что Iп1 = Iп2 = Iп3 = I и полагая токи Iэ0 одинаковыми у всех переходов, получаем простое приближенное выражение:

U=φT ln([I/Iэ0]/[α-1])             (9 б)

Вблизи точки Н, где α ≅1, увеличение тока, а вместе с ним коэфВнфициента а приводит к сильному увеличению разности α - 1 и напряВнжение несколько уменьшается (участок 4). В точке ОП напряжение достигает минимума и в дальнейшем растет с ростом тока (участок 5) за счет падения напряжения в толстой базе (Наличие толстой базы в структуре динистора характерно для большинства реальных приборов по конструктивно-технологическим причинам. Коэффициент переноса χ в такой базе существенно меньше единицы, поскольку обычно w >> L. Это обстоятельство не препятствует работе динистора, если выполняется условие α1+ α3> 1. Более того, малый коэффициент переноса в толстой базе желателен, потому что при этом суммарный коэффициент α в области малых токов нарастает медленнее, а это обеспечивает большие напряжения переключения.).

Обычно параметры точек Н и ОП близки друг к другу, поэтому можно вычислять координаты точки ОП по формулам (8) и (9).

При отрицательном напряжении U переход П2 оказывается смеВнщенным в прямом направлении и дырки инжектируются в слой n1, а электроны тАФ в слой p2. Переходы П1 и П3 смещены в обратном направлении и являются в данном случае коллекторными. Таким образом, динистор в этом режиме эквивалентен двум последовательно включенным транзисторам (р-п-р и п-р-п) с оборванными базами. Напряжение пробоя в такой комбинации зависит от типа переходов П1 и П3 (плавные или ступенчатые), а также от материала баз.

Важной проблемой при разработке динисторов и других аналогичВнных приборов является обеспечение плавного изменения коэфВнфициента а в области малых токов. Действительно, как уже отмечалось, 2-й (переходный) участок вольт-амперной кривой (рис. 4)  характерен заметной и растущей ролью слагаемого αΙ по сравВннению с током Ιk0 в формуле (3). Значит, чем медленнее увеличиВнвается α c ростом тока, тем позднее (при больших токах) начнется 2-й участок и тем больше будет напряжение переключения, что обычно желательно в таких приборах. С этой точки зрения предпочтительным материалом для динисторов является кремний, так как у кремниевых переходов благодаря большей роли процессов генерации - рекомбиВннации коэффициент инжекции при малых токах близок к нулю и с ростом тока увеличивается весьма медленно. Еще одним преимуществом кремния является малая величина тока в заперВнтом состоянии прибора. Однако, с другой стороны, кремниевые переходы характерны большей величиВнной прямого напряжения и большим сопротивлением слоев. Это ухудшает параметры динистора в открытом состоянии.

Рис. 5. Структура тринистора.

Чтобы ослабить зависимость α (I) при малых тоВнках (особенно у германиевых структур), часто шунВнтируют эмиттерный переход небольшим сопротивВнлением R. Тогда значительная часть общего тока ответвляется в это сопротивление, минуя эмиттер. Тем самым эмиттерный ток, а вместе с ним и коэффициент а при прочих равных условиях уменьВншаются.

В последнее время одну из баз динисторов обычно легируют золоВнтом. Цель такого легирования - уменьшить время жизни и тем самым время переключения. При этом одновременно возрастает отношение w/L (поскольку L =(dτ) 1/2), а значит, и коэффициент α, что опять-таки способствует повышению напряжения переключения.

Тринистор. Снабдим одну из баз динистора, например п1, внешВнним выводом и используем этот третий электрод для задания дополниВнтельного тока через переход p1-n1 (рис. 5) (Реальные четырехслойные структуры характерны различной толщиной баз. В качестве управляющей используется тонВнкая база, у которой коэффициент передачи α1 близок к единице.). Тогда получится прибор, обладающий свойствами тиратрона. Для такого прибора (тринистора) принята та же терминология, что и для обычного транВнзистора: выходной ток называется коллекторным, а управляющий тАФ базовым. Эмиттером считается слой, примыкающий к базе, хотя с физической точки зрения эмиттером является и второй внешний слой (в нашем случае п2). Условное обозначение тринистора вместе с семейВнством характеристик показано на рис. 6. Как видим, увеличение управляющего тока Iб приводит прежде всего к уменьшению напряжеВнния прямого переключения. Кроме того, несколько возрастает ток прямого переключения, а ток обратного переключения уменьшается.В результате отдельные кривые с ростом тока Iб как бы ВлвписываютсяВ» друг в друга вплоть до полного исчезновения отрицательного участка (такую кривую называют спрямленной характеристикой).

Элементарный анализ тринистора можко провести, исходя из формулы (1), в которой нужно положить Iп3 = Iп2 = Ik  и Iп1 = Ik + Iб. Тогда вместо формулы (2) получим для тока Ik более общее выражение          

Ik = (MIk0+(Mα1)Iб)/(1-Mα) (10)

Здесь по-прежнему α = α1 + α3 тАФ суммарный коэффициент переВндачи, в котором составляющая α3 является функцией тока Ik, а составВнляющая α1 - функцией суммы токов Ik + Iб. Задавая положительный ток Iб, мы тем самым задаем начальное значение коэффициента α1 (при Ik ==0). Поэтому любому току Ik будет соответствовать большее значение α, а значит, и большее значение а, чем при Iб = 0.       

Рис. 6. Вольт-амперные характеристики тринистора при положительном токе базы.

Решая (10) относительно M и  используя выражение для характеристики в области ионизации, не-. трудно представить вольт-амперные характеристики тринистора в форме Uк (Iк):

Uк =Um[(1- α Iк + Iк0 +α1Iб)/ Iк]1/n      (11)

В частном случае, при Iб = 0, получается характеристика динистора (3). Выражение (11) ясно показывает, что данному току Iк соответствует тем меньшее напряВнжение Uk, чем больше ток Iб (рис.6). Рассмотрим отдельные учаВнстки этого семейства.

На начальном участке мы имеем по существу семейство характерисВнтик обычного транзистора в схеме ОЭ.

Координаты точек прямого переключения определяются, как и в динисторе, условием dUk/dIk, == 0. Анализ показывает, что ток Iп.п возрастает с увеличением тока базы.

На рис. 7 показана пусковая характеристика тринистора, т. е. зависимость Uп.п (Iб).

Координаты точки Н, в которой напряжение на коллекторном переходе П2 падает до нуля, определяются условием Uk = 0 в формуле (11).

Так же как в динисторе, можно в этой точке считать α ≅ 1 и опреВнделять ток Iн из условия

α=α1(Iн + Iб)+ α3(Iн)==1.              (12)

Отсюда видно, что увеличение тока Iб, а значит, и коэффициента α1 сопровождается уменьшением коэффициента α3, а значит, и тока Iн. Соответственно несколько меньше будет и ток Io.п в точке обратного переключения.

Параметры тринистора в открытом состоянии практически не отличаются от параметров динистора, поскольку ток Ik в этой области значительно больше тока Iб, и поэтому токи обоих крайних переходов почти одинаковы.

Рис. 7. Пусковая характеристика тринистора

До сих пор мы рассматривали кривые с параметром Iб >0. При этом подразумевалось, что источник базового тока представляет собой э. д. с. Eб < О, включенную последовательно с сопроВнтивлением Rб (см. рис. 6). В частном случае, при Iб=0, можно было считать Eб = 0; rб = ∞  . Теперь рассмотрим работу тринистора в условиях обратноВнго смещения (Eб > 0) (рис. 8). Пусть э. д. с. Eб  достаточно велика и эмиттерный переход заперт. Тогда тринистор превращается в транзистор п1-р2-п2 (с оборванной базой p2), который включен последовательно с сопротивлением Rб и питается напряжением Eб + Uk. Коллекторный ток при таком включении будет током транзистора в схеме ОЭ с оборванВнной базой:

      Ik=MIk0/(1-Mα3)

где α3 - коэффициент передачи тока от перехода П3 к переходу П2. Реальное запирающее смещение на эмиттерном переВнходе будет меньше, чем э. д. с. Eб, на величину Ik Rб. С ростом тока Ik смещеВнние будет уменьшаться, и при некотором токе I0, когда Eб - I0Rб = 0, эмиттерный переход отопрется. После этого базовый ток будет иметь неизменную отрицательную величину:

Рис. 8. Вольт-амперные характеристики тринистора при отрицательном токе базы.

Iб= -I0= -Eб/Rб                     (13) 

которую можно считать параметром соответствующей характеристики. Если в формуле (11) положить  α1=0 и α= α3 и подставить Ik = I0, можно получить напряжение отпирания эмиттерного перехода:

U0 =UM  [1-(α3 I0 + Ik0)/ I0]1/n    (14)

Из формулы (13) видно, что ток I0, равный параметру кривой (току Iб), возрастает вместе с модулем параметра. Что касается напряВнжения U0, то оно несколько увеличивается.

Ток обратного переключения можно найти из уравнения (12), если считать Iн≅Iо,п В случае малых отрицательных токов базы ток Iо,п  заметно больше тока I0≅|Iб|. При больших токах |Iб| эта разница уменьшается. Отношение Iо,п/|Iб| можно назвать коэфВнфициентом усиления при выключении; он определяется .величиной а1/(а-1) и в обычных тринисторах не превышает (1). Очевидно, что с точки зрения управляемости при запирании суммарный коэффициент передачи а не следует делать намного большим единицы.

На рис. 9, а показана типичная схема включения тринистора, а на рис. 9, б - ее рабочий цикл. Пусть Ek < Uп,по. Тогда в заперВнтом состоянии и при токе Iб = 0 рабочей точкой будет точка а. УвелиВнчивая ток Iб до значения Iб1, мы вызовем скачкообразный переход рабочей точки из положения a1 в положение b. В этом открытом состояВннии тринистора падение напряжения на нем составляет всего лишь около 1 в, как и в динисторе. Поэтому ток нагрузки практически равен Ek/Rk. Для того чтобы запереть тринистор, т. е. вернуться в точку а, нужно либо уменьшить раВнбочий ток до величины Ik < Io.п

Рис 9. Типовая схема включения тринистора (а) и ее рабочий цикл (б)

(путем понижения пиВнтающего напряжения), либо задать в базу отрицаВнтельный импульс тока. Оба случая иллюстрируются пунктирными линиями на рис. 9, б.

В первом случае рабочая точка скачком переходит из положения b1 в положение                                                                                   a2, а затем (после восстановления Э. Д. С. Ek) - в исходную точку а. Во втоВнром случае из точки b происходит скачок в точку a3, а затем (по оконВнчании запирающего импульса) возвращение в точку а. Первый путь известен из тиратронной техники, второй специфичен для тринистора, так как тиратрон нельзя погасить со стороны сетки. Правда, базоВнвый ток ВлгашенияВ» в тринисторе оказывается сравнительно большим из-за малого коэффициента усиления при выключении.

Основная тенденция при разработке современных тринисторов состоит в повышении рабочих токов и, напряжений с тем, чтобы заменить соответствующие газоразрядные приборы (газотроны и тиратроны). В настоящее время рабочие токи тринисторов лежат в пределах 1 000тАФ 2 000 а, а рабочие напряжения тАФ в пределах 2тАФ3 кв. При прочих равных условиях динисторы и тринисторы значительно превосходят газоразрядные приборы по коэффициенту полезного действия, а также по габаритам, весам и сроку службы.

Мощные тринисторы используются в качестве контакторов, комВнмутаторов тока, а также в преобразователях постоянного напряжения, инверторах и выпрямительных схемах с регулируемым выходным напряжением.

Времена переключения у тринисторов значительно меньше, чем у тиратронов. Даже у мощных приборов (с токами в десятки ампер и больше) время прямого переключения составляет около 1 мксек,а время обратного переключения не превышает 10тАФ20-мксек. Следует заметить, что наряду с конечной длительностью фронтов напряжения и тока имеют место задержки фронтов по отношению к моменту подачи управляющего импульса.

    Наряду с мощными тринисторами разрабатываются и маломощные высокочастотные варианты. В таких приборах время прямого переВнключения может составлять десятки, а время обратного переключеВнния тАФ сотни наносекунд. Столь высокое быстродействие обеспечиВнвается малой толщиной слоев и наличием электрического поля в толВнстой базе. Маломощные быстродействующие тринисторы испольВнзуются в различных спусковых и релаксационных схемах.

Вместе с этим смотрят:

Травление п.п. ИМС
Транзисторы
Трансформатор напряжения
Трансформаторы