Эффект Ганна и его использование в диодах, работающих в генераторном режиме
Министерство образования Российской Федерации
Орловский Государственный Технический Университет
Кафедра физики
РЕФЕРАТна тему: ВлЭффект Ганна и его использование, в диодах, работающих в генераторном режимеВ».
Дисциплина: ВлФизические основы микроэлектроникиВ»
Выполнил студент группы 3тАУ4Сенаторов Д.Г.
Руководитель:
Оценка:
Орел. 2000Эффект Ганна и его использование, в диодах, работающих в генераторном режиме.
Для усиления и генерации колебаний СВЧ-диапазона может быть использована аномальная зависимость скорости электронов от напряженности электрического поля в некоторых полупроводниковых соединениях, прежде всего в арсениде галлия. При этом основную роль играют процессы, происходящие в объеме полупроводника, а не в p-n-переходе. Генерацию СВЧ-колебаний в однородных образцах GaAs n-типа при напряженности постоянного электрического поля выше порогового значения впервые наблюдал Дж. Ганн в 1963 г. (поэтому такие приборы называют диодами Ганна). В отечественной литературе их называют также приборами с объемной неустойчивостью или с междолинным переносом электронов, поскольку активные свойства диодов обусловлены переходом электронов из ВлцентральнойВ» энергетической долины в ВлбоковуюВ», где они характеризуются большой эффективной массой и малой подвижностью. В иностранной литературе последнему названию соответствует термин ТЭД (Transferred Electron Device).
В слабом поле подвижность
электронов велика и составляет 6000тАУ8500 см2/(В
с). При напряженности поля выше 3,5 кВ/см за счет перехода части электронов в ВлбоковуюВ» долину средняя дрейфовая скорость электронов уменьшается с ростом поля. Наибольшее значение модуля дифференциальной подвижности
на падающем участке примерно втрое ниже, чем подвижность в слабых полях. При напряженности поля выше 15тАУ20 кВ/см средняя скорость электронов почти не зависит от поля и составляет около 107 см/с, так что отношение
, а характеристика скоростьтАУполе может быть приближенно аппроксимирована так, как показано на рис.1. Время установления отрицательной дифференциальной проводимости (ОДП) складывается из времени разогрева электронного газа в ВлцентральнойВ» долине (~10тАУ12 с для GaAs), определяемого постоянной времени релаксации по энергии и времени междолинного перехода (~5-10тАУ14 с).
Можно было бы ожидать, что наличие падающего участка характеристики
в области ОДП при однородном распределении электрического поля вдоль однородно легированного образца GaAs приведет к появлению падающего участка на вольт-амперной характеристике диода, поскольку значение конвекционного тока через диод определяется как
, где
;
тАУплощадь сечения;
тАУдлина образца между контактами. На этом участке диод характеризовался бы отрицательной активной проводимостью и мог бы использоваться для генерирования и усиления колебаний аналогично туннельному диоду. Однако на практике осуществление такого режима в образце полупроводникового материала с ОДП затруднено из-за неустойчивости поля и объемного заряда. Как было показано в Вз 8.1, флюктуация объемного заряда в этом случае приводит к нарастанию объемного заряда по закону
,
где
тАУпостоянная диэлектрической релаксации;
тАУконцентрация электронов в исходном n-GaAs. В однородном образце, к которому приложено постоянное напряжение
, локальное повышение концентрации электронов приводит к появлению отрицательно заряженного слоя (рис. 2), перемещающегося вдоль образца от катода к аноду.

Рис.1. Аппроксимированная зависимость дрейфовой скорости электронов от напряженности электрического поля для GaAs.
Рис.2. К пояснению процесса формирования слоя накопления в однородно легированном GaAs.
Под катодом понимается контакт к образцу, на который подан отрицательный потенциал. Возникающие при этом внутренние электрические поля
и
накладываются на постоянное поле
, увеличивая напряженность поля справа от слоя и уменьшая ее слева (рис.2, а). Скорость электронов справа от слоя уменьшается, а слева тАУ возрастает. Это приводит к дальнейшему нарастанию движущегося слоя накопления и к соответствующему перераспределению поля в образце (рис.2, б). Обычно слой объемного заряда зарождается у катода, так как вблизи катодного омического контакта имеется область с повышенной концентрацией электронов и малой напряженностью электрического поля. Флюктуации, возникающие вблизи анодного контакта, вследствие движения электронов к аноду не успевают развиться.
Однако такое распределение электрического поля неустойчиво и при наличии в образце неоднородности в виде скачков концентрации, подвижности или температуры может преобразоваться в так называемый домен сильного поля. Напряженность электрического поля связана с концентрацией электронов уравнением Пуассона, которое для одномерного случая имеет вид
(1)
Повышение электрического поля в части образца будет сопровождаться появлением на границах этого участка объемного заряда, отрицательного со стороны катода и положительного со стороны анода (рис.3, а). При этом скорость электронов внутри участка падает в соответствии с рис.1. Электроны со стороны катода будут догонять электроны внутри этого участка, за счет чего увеличивается отрицательный заряд и образуется обогащенный электронами слой. Электроны со стороны анода будут уходить вперед, за счет чего увеличивается положительный заряд и образуется обедненный слой, в котором
. Это приводит к дальнейшему увеличению поля в области флюктуации по мере движения заряда к аноду и к возрастанию протяженности дипольной области объемного заряда. Если напряжение, приложенное к диоду, поддерживается постоянным, то с ростом дипольного домена поле вне его будет уменьшаться (рис.3, б). Нарастание поля в домене прекратится, когда его скорость
сравняется со скоростью электронов вне домена. Очевидно, что
. Напряженность электрического поля вне домена
(рис.3, в) будет ниже пороговой напряженности
, из-за чего становится невозможным междолинный переход электронов вне домена и образование другого домена вплоть до исчезновения сформировавшегося ранее на аноде. После образования стабильного домена сильного поля в течение времени его движения от катода к аноду ток через диод остается постоянным.

Рис.3. К пояснению процесса формирования дипольного домена.
После того как домен исчезнет на аноде, напряженность поля в образце повышается, а когда она достигнет значения
, начинается образование нового домена. При этом ток достигает максимального значения, равного (рис.4, в)
(2)
Такой режим работы диода Ганна называют пролетным режимом. В пролетном режиме ток через диод представляет собой импульсы, следующие с периодом
. Диод генерирует СВЧ-колебания с пролетной частотой
, определяемой в основном длиной образца и слабо зависящей от нагрузки (именно такие колебания наблюдал Ганн при исследовании образцов из GaAs и InР).
Электронные процессы в диоде Ганна должны рассматриваться с учетом уравнений Пуассона, непрерывности и полной плотности тока, имеющих для одномерного случая следующий вид:
; (3)
. (4)

Рис.4. Эквивалентная схема генератора на диоде Ганна (а) и временные зависимости напряжения (б) и тока через диод Ганна в пролетном режиме (в) и в режимах с задержкой (г) и гашением домена (д).
Мгновенное напряжение на диоде
. Полный ток не зависит от координаты и является функцией времени. Часто коэффициент диффузии
считают не зависящим от электрического поля.
В зависимости от параметров диода (степени и профиля легирования материала, длины и площади сечения образца и его температуры), а также от напряжения питания и свойств нагрузки диод Ганна, как генератор и усилитель СВЧ-диапазона, может работать в различных режимах: доменных, ограничения накопления объемного заряда (ОНОЗ, в иностранной литературе LSAтАУLimited Space Charge Accumulation), гибридном, бегущих волн объемного заряда, отрицательной проводимости.
Доменные режимы работы.
Для доменных режимов работы диода Ганна характерно наличие в образце сформировавшегося дипольного домена в течение значительной части периода колебаний. Характеристики стационарного дипольного домена подробно рассмотрены в [?], где показано, что из (1), (3) и (4) следует, что скорость домена
и максимальная напряженность поля в нем
связаны правилом равных площадей
. (5)
В соответствии с (5) площади, заштрихованные на рис.5, а и ограниченные линиями
, являются одинаковыми. Как видно из рисунка, максимальная напряженность поля
в домене значительно превышает поле
вне домена и может достигать десятков кВ/см.

Рис.5. К определению параметров дипольного домена.
На рис.5, б приведена зависимость напряжения домена
от напряженности электрического поля вне его, где
тАУдлина домена (рис.3, в). Там же построена Влприборная прямаяВ» диода длиной
при заданном напряжении
с учетом того, что полное напряжение на диоде
. Точка пересечения А определяет напряжение домена
и напряженность поля вне его
. Следует иметь в виду, что домен возникает при постоянном напряжении
, однако он может существовать и тогда, когда в процессе движения домена к аноду напряжение на диоде уменьшается до значения
(пунктирная линия на рис.5, б). Если еще более понизить напряжение на диоде так, что оно станет меньше напряжения гашения домена
, возникший домен рассасывается. Напряжение гашения соответствует моменту касания Влприборной прямойВ» к линии
на рис.5, б.
Таким образом, напряжение исчезновения домена оказывается меньше порогового напряжения формирования домена. Как видно из рис.5, вследствие резкой зависимости избыточного напряжения на домене от напряженности поля вне домена поле вне домена и скорость домена мало изменяются при изменении напряжения на диоде. Избыточное напряжение поглощается в основном в домене. Уже при
скорость домена лишь немного отличается от скорости насыщения и можно приближенно считать
, а
, поэтому пролетная частота, как характеристика диода, обычно определяется выражением:
(6)
Длина домена зависит от концентрации донорной примеси, а также от напряжения на диоде и при
составляет 5тАУ10 мкм. Уменьшение концентрации примеси приводит к расширению домена за счет увеличения обедненного слоя. Формирование домена происходит за конечное время
и связано с установлением отрицательной дифференциальной проводимости и с нарастанием объемного заряда. Постоянная времени нарастания объемного заряда в режиме малого возмущения равна постоянной диэлектрической релаксации
и определяется отрицательной дифференциальной подвижностью
и концентрацией электронов
. При максимальном значении
, тогда как время установления ОДП менее
. Таким образом, время формирования домена определяется в значительной степени процессом перераспределения объемного заряда. Оно зависит от начальной неоднородности поля, уровня легирования и приложенного напряжения.

Рис6. Диод Ганна.
Приближенно считают, что Домен успеет полностью сформироваться за время:
, (7)
где
выражено в
. Говорить о доменных режимах имеет смысл только в том случае, если домен успеет сформироваться за время пролета электронов в образце
. Отсюда условием существования дипольного домена является
или
.
Значение произведения концентрации электронов на длину образца
называют критическим и обозначают
. Это значение является границей доменных режимов диода Ганна и режимов с устойчивым распределением электрического поля в однородно легированном образце. При
домен сильного поля не образуется и образец называют стабильным. При
возможны различные доменные режимы. Критерий типа
справедлив, строго говоря, только для структур, у которых длина активного слоя между катодом и анодом много меньше поперечных размеров:
(рис.6, а), что соответствует одномерной задаче и характерно для планарных и мезаструктур. У тонкопленочных структур (рис.6, б) эпитаксиальный активный слой GaAs 1 длиной
может быть расположен между высокоомной подложкой 3 и изолирующей диэлектрической пленкой 2, выполненной, например, из SiO2. Омические анодный и катодный контакты изготовляют методами фотолитографии. Поперечный размер диода
может быть сравним с его длиной
. В этом случае образующиеся при формировании домена объемные заряды создают внутренние электрические поля, имеющие не только продольную компоненту
, но и поперечную компоненту
(рис.6, в). Это приводит к уменьшению поля по сравнению с одномерной задачей. При малой толщине активной пленки, когда
, критерий отсутствия доменной неустойчивости
заменяется на условие
. Для таких структур
при устойчивом распределении электрического поля может быть больше
.
Время формирования домена не должно превышать полупериода СВЧ-колебаний. Поэтому имеется и второе условие существования движущегося домена
, из которого с учетом (1) получаем
.
В зависимости от соотношения времени пролета и периода СВЧ-колебаний, а также от значений постоянного напряжения
и амплитуды высокочастотного напряжения
могут быть реализованы следующие доменные режимы: пролетный, режим с задержкой домена, режим с подавлением (гашением) домена. Процессы, происходящие в этих режимах, рассмотрим для случая работы диода Ганна на нагрузку в виде параллельного колебательного контура с активным сопротивлением
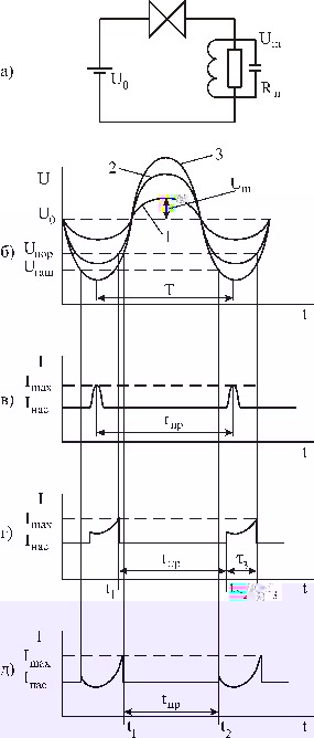
на резонансной частоте и питанием диода от генератора напряжения с малым внутренним сопротивлением (см. рис.4,а). При этом напряжение на диоде изменяется по синусоидальному закону. Генерация возможна при
.
При малом сопротивлении нагрузки, когда
, где
тАУсопротивление диода Ганна в слабых полях, амплитуда высокочастотного напряжения
невелика и мгновенное напряжение на диоде превышает пороговое значение (см. рис.4,б кривая 1). Здесь имеет место рассмотренный ранее пролетный режим, когда после формирования домена ток через диод остается постоянным и равным
(см. рис. 9.39, в). При исчезновении домена ток возрастает до
. Для GaAs
. Частота колебаний в пролетном режиме равна
. Так как отношение
мало, к.п.д. генераторов на диоде Ганна, работающих в пролетном режиме, невелик и этот режим обычно не имеет практического применения.
При работе диода на контур с высоким сопротивлением, когда
, амплитуда переменного напряжения
может быть достаточно большой, так что в течение некоторой части периода мгновенное напряжение на диоде становится меньше порогового (соответствует кривой 2 на рис.4,б). В этом случае говорят о режиме с задержкой формирования домена. Домен образуется, когда напряжение на диоде превышает пороговое, т. е. в момент времени
(см. рис.4, г). После образования домена ток диода уменьшается до
и остается таким в течение времени пролета
домена. При исчезновении домена на аноде в момент времени
напряжение на диоде меньше порогового и диод представляет собой активное сопротивление
. Изменение тока пропорционально напряжению на диоде до момента
, когда ток достигает максимального значения
, а напряжение на диоде равно пороговому. Начинается образование нового домена, и весь процесс повторяется. Длительность импульса тока равна времени запаздывания образования нового домена
. Время формирования домена считается малым по сравнению с
и
. Очевидно, что такой режим возможен, если время пролета находится в пределах
и частота генерируемых колебаний составляет
.
При еще большей амплитуде высокочастотного напряжения, соответствующей кривой 3 на рис.4,б, минимальное напряжение на диоде может оказаться меньше напряжения гашения диода
.В этом случае имеет место режим с гашением домена (см. рис.4, д). Домен образуется в момент времени
и рассасывается в момент времени
, когда
.Новый домен начинает формироваться после того, как напряжение превысит пороговое значение. Поскольку исчезновение домена не связано с достижением им анода, время пролета электронов между катодом и анодом в режиме гашения домена может превышать период колебаний:
. Таким образом, в режиме гашения
. Верхний предел генерируемых частот ограничен условием
и может составлять
.
Электронный к.п.д. генераторов на диодах Ганна, работающих в доменных режимах, можно определить, раскладывая в ряд Фурье функцию тока
(см. рис.4) для нахождения амплитуды первой гармоники и постоянной составляющей тока. Значение к.п.д. зависит от отношений
,
,
,
и при оптимальном значении
не превышает для диодов из GaAs 6% в режиме с задержкой домена. Электронный к.п.д. в режиме с гашением домена меньше, чем в режиме с задержкой домена.
Режим ОНОЗ.
Несколько позднее доменных режимов был предложен и осуществлен для диодов Ганна режим ограничения накопления объемного заряда. Он существует при постоянных напряжениях на диоде, в несколько раз превышающих пороговое значение, и больших амплитудах напряжения на частотах, в несколько раз больших пролетной частоты. Для реализации режима ОНОЗ требуются диоды с очень однородным профилем легирования. Однородное распределение электрического поля и концентрации электронов по длине образца обеспечивается за счет большой скорости изменения напряжения на диоде. Если промежуток времени, в течение которого напряженность электрического поля проходит область ОДП характеристики
, много меньше времени формирования домена
, то не происходит заметного перераспределения поля и объемного заряда по длине диода. Скорость электронов во всем образце ВлследуетВ» за изменением электрического поля, а ток через диод определяется зависимостью скорости от поля (рис.7).
Таким образом, в режиме ОНОЗ для преобразования энергии источника питания в энергию СВЧ-колебаний используется отрицательная проводимость диода. В этом режиме в течение части периода колебаний длительностью
напряжение на диоде остается меньше порогового и образец находится в состоянии, характеризуемом положительной подвижностью электронов, т. е. происходит рассасывание объемного заряда, который успел образоваться за время, когда электрическое поле в диоде было выше порогового.
Условие слабого нарастания заряда за время
приближенно запишем в виде
, где
;
тАУсреднее значение отрицательной дифференциальной подвижности электронов в области
. Рассасывание объемного заряда за время
, будет эффективным, если
и
, где
;
и
тАУпостоянная времени диэлектрической релаксации и подвижность электронов в слабом поле.
Считая
,
, имеем
. Это неравенство определяет интервал значений
, в пределах которого реализуется режим ОНОЗ.
Электронный к. п. д. генератора на диоде Ганна в режиме ОНОЗ можно рассчитать по форме тока (рис.7). При
максимальный к. п. д. составляет 17%.

Рис.7. Временная зависимость тока на диоде Ганна в режиме ОНОЗ.
В доменных режимах частота генерируемых колебаний примерно равна пролетной частоте. Поэтому длина диодов Ганна, работающих в доменных режимах, связана с рабочим диапазоном частот выражением
, (8)
где
выражена в ГГц, а
тАУв мкм. В режиме ОНОЗ длина диода не зависит от рабочей частоты и может во много раз превышать длину диодов, работающих на тех же частотах в доменных режимах. Это позволяет значительно увеличивать мощность генераторов в режиме ОНОЗ по сравнению с генераторами, работающими в доменных режимах.
Рассмотренные процессы в диоде Ганна в доменных режимах являются, по существу, идеализированными, так как реализуются на сравнительно низких частотах (1тАУ3 ГГц), где период колебаний значительно меньше времени формирования домена, а длина диода много больше длины домена при обычных уровнях легирования
. Чаще всего диоды Ганна в непрерывном режиме используют на более высоких частотах в так называемых гибридных режимах. Гибридные режимы работы диодов Ганна являются промежуточными между режимами ОНОЗ и доменным. Для гибридных режимов характерно, что образование домена занимает большую часть периода колебаний. Не полностью сформировавшийся домен рассасывается, когда мгновенное напряжение на диоде снижается до значений, меньших порогового. Напряженность электрического поля вне области нарастающего объемного заряда остается в основном больше порогового. Процессы, происходящие в диоде в гибридном режиме, анализируют с применением ЭВМ при использовании уравнений (1), (3) и (4). Гибридные режимы занимают широкую область значений
и не столь чувствительны к параметрам схемы, как режим ОНОЗ.
Режим ОНОЗ и гибридные режимы работы диода Ганна относят к режимам с ВлжесткимВ» самовозбуждением, для которых характерна зависимость отрицательной электронной проводимости от амплитуды высокочастотного напряжения. Ввод генератора в гибридный режим (как и в режим ОНОЗ) представляет сложную задачу и обычно осуществляется последовательным переходом диода из пролетного режима в гибридные.

Рис.8. Электронный к. п. д. генераторов на диоде Ганна из GaAs для различных режимов работы:
1тАУс задержкой формирования домена
2тАУс гашением домена
Рис.9. Временная зависимость напряжения (а) и тока (б) диода Ганна в режиме повышенного к. п. д.
3тАУгибридный
4тАУОНОЗ
Конструкции и параметры генераторов на диодах Ганна.
На рис.8 приведены значения максимального электронного к.п.д. диода Ганна из GaAs в различных режимах работы. Видно, что значения
не превышают 20%. Повысить к.п.д. генераторов на диодах Ганна можно за счет использования более сложных колебательных систем, позволяющих обеспечить временные зависимости тока и напряжения на диоде, показанные на рис.9. Разложение функций
и
в ряд Фурье при
и
дает значения электронного к. п. д. для диодов Ганна из GaAs
25 %. Достаточно хорошее приближение к оптимальной кривой
получается при использовании второй гармоники напряжения. Другой путь повышения к.п.д. состоит в применении в диодах Ганна материалов с большим отношением
. Так, для фосфида индия оно достигает 3,5, что увеличивает теоретический электронный к. п. д. диодов до 40 %.
Следует иметь в виду, что электронный к.п.д. генераторов на диодах Ганна уменьшается на высоких частотах, когда период колебаний становится соизмеримым с временем установления ОДП (это проявляется уже на частотах ~30 ГГц). Инерционность процессов, определяющих зависимость средней дрейфовой скорости электронов от поля, приводит к уменьшению противофазной составляющей тока диода. Предельные частоты диодов Ганна, связанные с этим явлением, оцениваются значениями ~100 ГГц для приборов из GaAs и 150тАУ300 ГГц для приборов из InP.
Выходная мощность диодов Ганна ограничена электрическими и тепловыми процессами. Влияние последних приводит к зависимости максимальной мощности от частоты в виде
, где постоянная
определяется допустимым перегревом структуры, тепловыми характеристиками материала, электронным к.п.д. и емкостью диода. Ограничения по электрическому режиму связаны с тем, что при большой выходной мощности амплитуда колебаний
оказывается соизмеримой с постоянным напряжением
на диоде:
.
В доменных режимах
поэтому в соответствии с
имеем:
,
где
тАУэквивалентное сопротивление нагрузки, пересчитанное к зажимам диода и равное модулю активного отрицательного сопротивления ЛПД.
Максимальная напряженность электрического поля в домене
значительно превышает среднее значение поля в диоде
, в то же время она должна быть меньше пробивной напряженности, при которой возникает лавинный пробой материала (для GaAs
). Обычно допустимым значением электрического поля
считают
.
Как и для ЛПД, на относительно низких частотах (в сантиметровом диапазоне длин волн) максимальное значение выходной мощности диодов Ганна определяется тепловыми эффектами. В миллиметровом диапазоне толщина активной области диодов, работающих в доменных режимах, становится малой и преобладают ограничения электрического характера. В непрерывном режиме в трехсантиметровом диапазоне от одного диода можно получить мощность 1тАУ2 Вт при к. п. д. до 14%; на частотах 60тАУ100 ГГц тАУ до 100 вВт при к. п. д. в единицы процентов. Генераторы на диодах Ганна характеризуются значительно меньшими частотными шумами, чем генераторы на ЛПД.
Режим ОНОЗ отличается значительно более равномерным распределением электрического поля. Кроме того, длина диода, работающего в этом режиме, может быть значительной. Поэтому амплитуда СВЧ-напряжения на диоде в режиме ОНОЗ может на 1тАУ2 порядка превышать напряжение в доменных режимах. Таким образом, выходная мощность диодов Ганна в режиме ОНОЗ может быть повышена на несколько порядков по сравнению с доменными режимами. Для режима ОНОЗ на первый план выступают тепловые ограничения. Диоды Ганна в режиме ОНОЗ работают чаще всего в импульсном режиме с большой скважностью и генерируют в сантиметровом диапазоне длин волн мощность до единиц киловатт.
Частота генераторов на диодах Ганна определяется в основном резонансной частотой колебательной системы с учетом емкостной проводимости диода и может перестраиваться в широких пределах механическими и электрическими методами.

В волноводном генераторе (рис.10, а) диод Ганна 1 установлен между широкими стенками прямоугольного волновода в конце металлического стержня. Напряжение смещения подается через дроссельный ввод 2, который выполнен в виде отрезков четвертьволновых коаксиальных линий и служит для предотвращения проникновения СВЧ-колебаний в цепь источника питания. Низкодобротный резонатор образован элементами крепления диода в волноводе. Частота генератора перестраивается с помощью варакторного диода 3, расположенного на полуволновом расстоянии
и установленного в волноводе аналогично диоду Ганна. Часто диоды включают в волновод с уменьшенной высотой
, который соединен с выходным волноводом стандартного сечения четвертьволновым трансформатором.
Рис.10. Устройство генераторов на диодах Ганна:
атАУволноводного; бтАУмикрополоскового; втАУс перестройкой частоты ЖИГ-сферой
В микрополосковой конструкции (рис.10, б) диод 1 включен между основанием и полосковым проводником. Для стабилизации частоты используется высокодобротный диэлектрический резонатор 4 в виде диска из диэлектрика с малыми потерями и высоким значением
(например, из титаната бария), расположенного вблизи полоскового проводника МПЛ шириной
. Конденсатор 5 служит для разделения цепей питания и СВЧ-тракта. Напряжение питания подается через дроссельную цепь 2, состоящую из двух четвертьволновых отрезков МПЛ с различными волновыми сопротивлениями, причем линия с малым сопротивлением разомкнута. Использование диэлектрических резонаторов с положительным температурным коэффициентом частоты позволяет создавать генераторы с малыми уходами частоты при изменении температуры (~40 кГц/В°С).
Перестраиваемые по частоте генераторы на диодах Ганна могут быть сконструированы с применением монокристаллов железоиттриевого граната (рис.10, в). Частота генератора в этом случае изменяется за счет перестройки резонансной частоты высокодобротного резонатора, имеющего вид ЖИГтАУсферы малого диаметра, при изменении магнитного поля
. Максимальная перестройка достигается в бескорпусных диодах, имеющих минимальные реактивные параметры. Высокочастотный контур диода состоит из короткого витка, охватывающего ЖИГтАУсферу 6. Связь контура диода с контуром нагрузки осуществляется за счет взаимной индуктивности, обеспечиваемой ЖИГтАУсферой и ортогонально расположенными витками связи. Диапазон электрической перестройки таких генераторов, широко используемых в автоматических измерительных устройствах, достигает октавы при выходной мощности 10тАУ20 мВт.
Следует отметить, что расчет генераторов на диодах Ганна затруднен приблизительным характером данных как о параметрах эквивалентной схемы диода, так и о параметрах эквивалентной схемы колебательной системы, а также узла крепления диода (особенно на высоких частотах). Обобщенную эквивалентную схему диода Ганна обычно задают в виде, показанном на рис.11. Активную область диода представляют в виде параллельного соединения отрицательной проводимости (
) и емкости
, значения которой в различных режимах работы могут существенно отличаться от ВлхолоднойВ» емкости диодной структуры
. Величины
и
зависят как от постоянного напряжения
, так и от амплитуды СВЧ-напряжения
, а также частоты. Поэтому весьма актуальной является проблема непосредственных измерений параметров эквивалентной схемы диодов в реальных режимах работы. Конструкции корпусов диодов Ганна и значения их паразитных параметров не отличаются от конструкций и параметров других диодов.

Рис.11. Обобщенная эквивалентная схема диода Ганна.
Усилители на диодах Ганна.
Большой интерес представляют разработки усилителей на диодах Ганна, особенно для миллиметрового диапазона длин волн, где применение СВЧ-транзисторов ограничено. Важной задачей при создании усилителей на диодах Ганна является обеспечение устойчивости их работы (стабилизация диода) и прежде всего подавление малосигнальных колебаний доменного типа. Это может быть достигнуто ограничением параметра
диода, нагрузкой диода внешней цепью, выбором профиля легирования диода, уменьшением поперечного сечения или нанесением диэлектрической пленки на образец. В качестве усилителей применяют как диоды планарной и мезаструктуры, обладающие отрицательной проводимостью при напряжениях выше порогового в широкой области частот вблизи пролетной частоты и использующиеся в качестве регенеративных усилителей отражательного типа с циркулятором на входе, так и более сложные пленочные структуры, в которых используется явление нарастания волн объемного заряда в материале с ОДП, называемые часто тонкопленочными усилителями бегущей волны (УБВ).
В субкритически легированных диодах при
невозможно образование бегущего домена даже при напряжениях, превышающих пороговое. Как показывают расчеты, субкритические диоды характеризуются отрицательным эквивалентным сопротивлением на частотах, близких к пролетной частоте, при напряжениях, превышающих пороговые. Их можно использовать в усилителях отражательного типа. Однако из-за малых динамического диапазона и коэффициента усиления они находят ограниченное применение.
Устойчивая отрицательная проводимость в широком диапазоне частот, достигающем 40%, реализуется в диодах с
при малой длине диода (~8тАУ15 мкм) и напряжениях
. При меньших напряжениях наблюдается генерация, срыв которой при увеличении напряжения может быть объяснен уменьшением ОДП материала при повышении температуры прибора.
Однородное распределение электрического поля по длине диода и устойчивое усиление в широкой полосе частот могут быть получены за счет неоднородного легирования образца (рис.12, а). Если вблизи катода имеется узкий слаболегированный слой длиной около 1 мкм, то он ограничивает инжекцию электронов из катода и приводит к резкому возрастанию электрического поля. Увеличение концентрации примеси по длине образца по направлению к аноду в пределах от
до
позволяет добиться однородности электрического поля. Процессы в диодах с таким профилем обычно рассчитывают на ЭВМ.

Рис.12. Профиль легирования (а) и распределение поля (б) в диоде Ганна с высокоомной прикатодной областью.
Рассмотренные типы усилителей характеризуются широким динамическим диапазоном, к.п.д., равным 2тАУ3%, и коэффициентом шума ~10дБ в сантиметровом диапазоне длин волн.

Ведутся разработки тонкопленочных усилителей бегущей волны (рис.13), которые обеспечивают однонаправленное усиление в широкой полосе частот и не требуют применения развязывающих циркуляторов. Усилитель представляет собой эпитаксиальный слой GaAs 2 толщиной
(2тАУ15 мкм), выращенный на высокоомной подложке 1. Омические катодные и анодные контакты расположены на расстоянии
друг от друга и обеспечивают дрейф электронов вдоль пленки при подаче на них постоянного напряжения
. Два контакта 3 в виде барьера Шоттки шириной 1тАУ5 мкм используются для ввода и вывода СВЧ-сигнала из прибора. Входной сигнал, подводимый между катодом и первым контактом Шоттки, возбуждает в потоке электронов волну объемного заряда, которая изменяется по амплитуде при движении к аноду с фазовой скоростью
.
Рис.13. Схема устройства тонкопленочного усилителя бегущей волны на GaAs с продольным дрейфом
Для работы усилителя требуется обеспечить однородность пленки и однородность электрического поля по длине прибора. Напряжение смещения УБВ лежит в области ОДП GaAs, т. е. при
. В этом случае происходит нарастание волны объемного заряда при ее движении вдоль пленки. Устойчивое однородное распределение электрического поля достигается в УБВ за счет использования пленок малой толщины и покрытия пленки GaAs диэлектриком с большим значением
.
Применение основных уравнений движения электронов для одномерного случая (1), (3), (4) и режима малого сигнала, когда постоянные составляющие конвекционного тока, напряженности электрического поля и плотности заряда много больше амплитуды переменных составляющих (
), приводит к дисперсионному уравнению для постоянной распространения
, имеющему решение в виде двух волн.
Одна из них является прямой волной, распространяющейся вдоль пленки от катода к аноду с фазовой скоростью
, и имеет амплитуду, изменяющуюся по закону:
, (9)
где
тАУвремя движения электронов от входа прибора. При работе в области ОДП
и прямая волна нарастает. Вторая волна является обратной, распространяется от анода к катоду и затухает по амплитуде как
. Коэффициент диффузии
для GaAs составляет
, поэтому
и обратная волна быстро затухает. Из (9) коэффициент усиления прибора равен (дБ)
(10)
Оценка по (10) при
и
дает усиление порядка 0,3тАУ3 дБ/мкм. Следует иметь в виду, что выражение (10) является, по существу, качественным. Непосредственное использование его для расчета нарастающих волн объемного заряда может привести к ошибкам из-за сильного влияния граничных условий при малой толщине пленки, так как задача должна рассматриваться как двумерная. Необходимо также учитывать диффузию электронов, ограничивающую диапазон частот, в котором возможно усиление. Расчеты подтверждают возможность получения в УБВ усилеВнния ~0,5тАУ1 дБ/мкм на частотах 10 и более ГГц. Подобные приборы можно использовать также в качестве управляемых фазосдвигателей и линий задержки СВЧ.
[Л]. Березин и др. Электронные приборы СВЧ. тАУ М. Высшая школа 1985.
Вместе с этим смотрят:
АбразивыАбхазия
Австралийский союз
Австралия