Лазерная медицинская установка для целей лучевой терапии ВлИмпульс-1В»
ЛАЗЕРНАЯ МЕДИЦИНСКАЯ УСТАНОВКА ДЛЯ ЦЕЛЕЙ ЛУЧЕВОЙ ТЕРАПИИ ИМПУЛЬС-1Ва
Оглавление
Введение
Структурная схема
Функциональная схема
Принцип действия
Основные параметры и характеристики
Выводы
Список литературы
Оглавление
Введение
В настоящее время лазерное излучение с большим или меньшим успехом применяется в различных областях науки. Уникальные свойства излучения лазеров, такие, как монохроматичность, когерентность, малая расходимость и возможность при фокусировке получать очень высокую плотность мощности на облучаемой поверхности обеспечили широкое применение лазеров. Использование квантовой электроники оказалось, в частности, очень полезным для клинической медицины. В медицинских целях используются, в основном, твердотельные и газовые лазеры. Импульсные твердотельные лазеры применяют преимущественно в офтальмологии для операций по устранению отслоения сетчатки глаза и при лечении глаукомы. Для этих целей была разработана специальная аппаратура с использованием неодимовых и рубиновых лазеров. Для операций с рассечением тканей импульсные лазеры оказались непригодны, поэтому для этих целей применяют лазеры непрерывного действия. В Советском Союзе была создана хирургическая аппаратура на СО 2 лазерах. Такие хирургические установки применяют в общей хирургии, онкологии и других областях.
Установками на основе аргоновых лазеров непрерывного действия с использованием специальных световодов пользуются медики при внутриполостных операциях.
В терапии разных болезней широко применяются газовые гелий-неоновые лазеры. Например, положительные результаты получены при лечении трофических язв, ран, воспалительных процессов, некоторых сосудистых заболеваний и в кардиологии. Не вызывает сомнения стимулирующее действие излучения гелий-неоновых лазеров при регенерации и улучшении обменных процессов.
Основными преимуществами, стимулирующими применение лазеров в медицине, являются радикальность лечения, снижение сроков вмешательства, уменьшение числа осложнений, кровопотери, улучшение условий стерильности и т. д.
Структурная схема
Лазерная медицинская установка "Импульс-1" тАФ первый отечественный аппарат, созданный и разработанный для ведения лазеротерапии в соответствии с медико-техническим требованием Министерства здравоохранения СССР. Разработка установки была закончена в 1971 году. В том же году Комитет по новой медицинской технике Минздрава СССР дал рекомендацию к выпуску промышленной партии этих установок, которая и была изготовлена в 1975 году на Свердловском заводе электромедицинской аппаратуры.
Установка "Импульс-1" разработана на базе специально созданного для нее мощного импульсного лазера на неодимовом стекле.
Установка (см. рис. 1) состоит из следующих основных частей: операционного аппарата, накопителя энергии и главного пульта питания и управления.

Ва
Ва
Ва
Ва
Функциональная схема
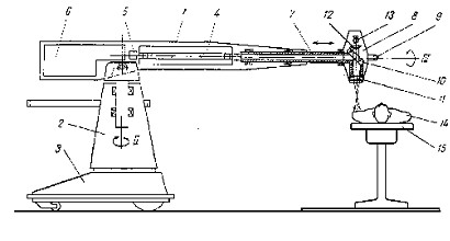
Конструктивная схема операционного аппарата установки приведена на рисунке 2.

Операционный аппарат состоит из горизонтального ствола 1, установленного на вертикальной стойке 2 . Ствол может поворачиваться вокруг горизонтальной оси I и вертикальной оси II .
Вертикальная стойка 2 жестко закреплена на платформе 3 . Платформа снабжена колесами для перемещения аппарата по полу. К вертикальной стойке прикреплен поручень.
Внутри ствола 1 жестко закреплены лазерный излучатель 4 , калориметрический блок 5 и блок поджига 6 . На конец ствола 1 установлен телескопический вал 7 с поворотно-фокусирующей головкой 8 .
Телескопический вал 7 можно перемещать вдоль его собственной оси симметрии III и поворачивать вокруг той же оси III вместе с поворотно-фокусирующей головкой 8 . Головка 8 жестко закреплена на конце телескопического вала. На нем жестко закреплена и рукоятка 9 , охватывающая поворотно-фокусирующую головку 8 .
Внутри головки 8 жестко зафиксированы селективно отражающее лазерное излучение зеркало 10 , фокусирующая линза 11 , конденсор 12 и лампочка накаливания 13 .
Лазерный излучатель 4 выполнен в виде отдельного блока. Активным элементом в нем является стержень из неодимового стекла ПГЛС-1 диаметром 45 мм и длиной 617 мм. Активный элемент возбуждается с помощью четырех ксеноновых ламп накачки ИПФ-20000, расположенных в четырехлепестковом осветителе с четырьмя V-образными отражателями, изготовленными из нержавеющей стали. Внутренние поверхности отражателей полированные и имеют хорошо отражающее серебряное покрытие. Активный элемент расположен в корпусе осветителя вдоль оси симметрии. Корпус осветителя изготовлен из нержавеющей стали. Торцы активного элемента уплотнены в корпусе осветителя с помощью индиевых колец, сжимаемых цилиндрическими держателями зеркал резонатора. Глухое и полупрозрачное зеркала, установленные параллельно торцам активного элемента, герметизирует полости между зеркалом и активным элементом. При этом боковыми стенками полостей являются цилиндрические поверхности держателей зеркал резонатора. Внутренняя полость осветителя, лампы накачки и активный элемент омываются 0.02% раствором K 2 Cr 2 O 4 в дистиллированной воде, циркулирующей через осветитель.
Полупрозрачное зеркало резонатора (коэффициент пропускания 60%) установлено в излучателе 4 со стороны поворотно-фокусирующей головки 8 . Глухое зеркало резонатора с коэффициентом пропускания 5% размещено со стороны калориметрического блока 5 . Поэтому при генерации лазерного излучения в резонаторе излучателя 4 основная часть излучения направлена в сторону поворотно-фокусирующей головки, а остальная тАФ в сторону калориметрического блока 5 , где поглощается его приемной площадкой.
Калориметрический блок 5 (после проведения соответствующей калибровки) обеспечивает измерение энергии лазерного излучения, направляемой в сторону поворотно-фокусирующей головки, по поглощенной его приемной площадкой энергии лазерного излучения.
Блок поджига 6 четырехсекционный. Каждая его секция предназначена для поджига одной из ламп накачки лазерного излучателя.
Регулирование размеров пятен лазерного излучения на объекте облучения осуществляется в операционном аппарате изменением расстояния между линзой 11 поворотно-фокусирующей головки и объектом облучения, а контроль размеров пятен ведется по системе подсветки.
Принцип действия
Накопитель энергии установки тАФ электрические емкости, объединенные в четыре секции. Каждая секция накопителя предназначена для питания одной лампы накачки четырехлампового лазерного излучателя операционного аппарата. Емкость конденсаторов одной секции 1200 мкФ, максимальное напряжение заряда 4.6 кВ, максимальная энергия заряда 12.5 кДж. Максимальная суммарная энергия заряда четырех секций составляет 50 кДж. Каждая секция накопителя расположена в отдельном шкафу. Габаритные размеры шкафа 600 ТС 600 ТС 1500 мм.
При монтаже установки шкафы накопителя ставят в один ряд вблизи главного пульта питания и управления. Главный пульт питания и управления содержит следующие основные узлы: блок заряда накопителя энергии, систему охлаждения лазерного излучателя, видеоконтрольное и переговорное устройства, панель управления и выносной пульт управления.
Блоки заряда накопителя энергии включают в себя источник тока, выпрямитель и систему управления. Система управления встроена в панель управления, блоки источника и выпрямителя расположены под столом пульта управления.
Система охлаждения лазерного излучателя вмонтирована в пульт управления. Она включает в себя насос и двухконтурный водяной теплообменник. Через внутренний контур теплообменника прокачивается 0.02% раствор K 2 Cr 2 O 4 , циркулирующий через лазерный излучатель и охлаждающий его теплонагруженные элементы. Внешний контур теплообменника омывается водопроводной водой. Тепло, накопившееся во внутреннем контуре теплообменника, передается во внешний контур и отводится вместе с циркулирующей в нем водопроводной водой.
Видеоконтрольное и переговорное устройства являются частью промышленной телевизионной установки, в комплект которой входит также передающая камера и соединительные кабели. Видеоконтрольное устройство смонтировано на столе пульта питания и управления. Передающая камера находится вблизи операционного аппарата установки. Управление передающей камерой осуществляется дистанционно с пульта управления видеоконтрольного устройства. При этом можно выбрать необходимое поле зрения и выполнить настройку резкости изображения.
Панель управления содержит органы управления, измерительные приборы и световые индикаторы. Органами управления являются кнопки "Пуск" и "Стоп", с помощью которых осуществляется включение и выключение источника тока, кнопка "Высокое", обеспечивающая включение высоковольтного напряжения блока поджига ламп накачки операционного аппарата, кнопка "Подсветка", приводящая в действие и выключающая лампочку накаливания системы подсветки.
Кроме того, на панели находятся другие органы системы управления. Это кнопки "Одиночный" и "Периодический", с их помощью устанавливают режим однократного или периодического заряда и разряда емкостного накопителя энергии; а также кнопка "Запуск одиночный", включающая одиночный цикл (заряд-разряд) накопителя энергии, ручка потенциометра для поддержания требуемого напряжения заряда накопителя энергии, ручка потенциометра "Период" для выбора периода следования циклов заряд-разряд накопителя.
На панели управления размещены микроамперметр калориметрического измерителя энергии излучения лазера; четыре микроамперметра для измерения напряжения заряда в каждой из четырех секций емкостного накопителя энергии и микроамперметр для измерения высоковольтного напряжения блока поджига.
На панели управления находятся также следующие световые индикаторы, сигнализирующие: "Сеть" тАФ о подключении электросети; "Высокое" тАФ о подаче высоковольтного напряжения на блок поджига, "Подсветка" тАФ о включении лампочки накаливания системы подсветки операционного аппарата, "Циркуляция" тАФ о наличии циркуляции жидкости во внутреннем контуре системы охлаждения, "Заряд" тАФ о заряде емкостного накопителя энергии.
Выносной пульт главного пульта управления связан с последним соединительным кабелем и имеет кнопку "Пуск", дублирующую кнопку "Пуск одиночный" на панели управления главного пульта, а также световой индикатор "Заряд", дублирующий индикатор "Заряд" на панели управления главного пульта питания и управления. Размеры главного пульта питания и управления установкой 1580 ТС 630 ТС 950 мм.
Для размещения установки предусмотрено два помещения: операционное и техническое. В операционном помещении устанавливают операционный аппарат с передающей телевизионной камерой, в техническом тАФ накопитель энергии и главный пульт питания и управления. Установкой управляют врач и оператор. Врач находится около операционного аппарата, оператор тАФ в техническом помещении за главным пультом питания и управления. Связь между врачом и оператором осуществляется по телевизионно-телефонным каналам телевизионной установки. Включать импульсы лазерного облучения может как оператор с главного пульта управления, так и врач с выносного пульта.
Величина термоэлектродвижущей силы (т. э. д. с.) термопары калориметрического блока, приемная площадка которого нагревается лазерным излучением, выходящим со стороны глухого зеркала лазерного излучателя, регистрируется после каждого импульса излучения милливольтметром, находящимся на пульте управления.
Основные параметры и характеристики
Технические характеристики установки "Импульс-1" приведены ниже.
Длина волны излучения, мкм |
1.06 |
Энергия в импульсе выходного излучения, кДж: |
Ва |
максимальная |
1 |
минимальная |
0.5 |
Длительность импульса выходного излучения, мсек |
3 |
Максимальная частота следования импульсов при выходной |
Ва |
энергии в импульсе 0.5 кДж |
140 |
Диаметр пятна лазерного излучения на объекте облучения, мм: |
Ва |
минимальный |
2 |
максимальный |
45 |
Размеры пятен лазерного излучения можно плавно регулировать от минимального до максимального значения. Максимальная плотность энергии лазерного излучения, создаваемая установкой на объекте облучения, достигает 30 кДж/см 2 .
Размеры операционного поля, обслуживаемого установкой, составляют 250 ТС 1000 мм в горизонтальной плоскости и 500 мм по высоте. Лазерный луч перемещается в пределах операционного поля по четырем степеням свободы. Максимальное усилие для перемещения лазерного луча, прилагаемое к выводящей излучение части установки, не превышает 2.5 кг.
Охлаждение установки водяное, двухконтурное. Расход водопроводной воды во внешнем контуре охлаждения составляет 20 л/мин. Питание от трехфазной сети переменного тока напряжением 380 В, частотой 50 Гц.
Мощность, потребляемая установкой от электросети, не превышает 8 кВт.
Выводы
Работы, проведенные в направлении исследования свойств лазеров, позволили не только успешно использовать лазерное излучение в клинических условиях, но и определить сферу применения тех или иных лазерных установок. Мощные лазеры на неодимовом стекле, рубине, углекислом газе, аргоне, парах металлов и др., подходят для хирургических целей, коагуляции и рассечения тканей.
Лазерные установки на углекислом газе могут быть широко использованы для лечения различных заболеваний (поверхностно расположенных опухолей и т.п.)
Перспективным направлением можно считать применение излучения низкоэнергетических лазеров в видимой части спектра для стимулирования репаративных процессов при хронических длительно не заживающих ранах, трофических язвах, замедленной консолидации переломов, заболеваний обменного характера и др.
Учитывая, что комбинированные методы лечения наиболее эффективны, на современном этапе онкологии лазерное излучение можно использовать при комбинированном лечении опухолей. Излучение лазера в некоторых случаях целесообразно комбинировать с ионизирующим излучением, лекарственными противоопухолевыми препаратами, хирургическими операциями.
Все возрастающий интерес к использованию лазеров в медицине привел к необходимости создания специальных лазерных отделений и операционных, достаточно приспособленных к безопасной эксплуатации. Главным вопросом становится защита медицинского и технического персонала от влияния вредных факторов лазерного излучения.
Операционное помещение должно удовлетворять следующим специальным требованиям: стены и потолок помещения должны быть окрашены темной матовой краской, а стекла окон тАФ белой матовой краской, чтобы предохранить зрение врача и пациента от поражения лазерным излучением, случайно отраженным от стен и потолка помещения. В нем необходима хорошая приточно-вытяжная вентиляция, входные двери должны быть оборудованы светящимся табло лазерной опасности, загорающимся при включении установки.
Список литературы
Лазеры в клинической медицине. Под ред. Д. С. Плетнева. тАФ М., Медицина.
Плетнев Д. С. и др. Применение лазеров в онкологическй практике. тАФ Хирургия.
Хромов Б. М. Лазеры в экспериментальной хирургии. тАФ Медицина.
Вместе с этим смотрят:
Лазерное лечение внутриглазной меланомыЛамарк и его эволюционные представления
Лекарственная болезнь
Лекарственная терапия ринитов