Агс-17
1.Вступление:
назначение, боевые свойства и общее устройство АГС-17.
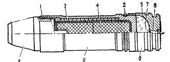
В начале 70-х годов в Советском Союзе был разработан и принят на вооружение З0-мм станковый автоматический гранатомет АГС-17 (рис. 1). Гранатомет создавался как противопехотное оружие, поражающее живую силу противника, расположенную вне укрытий, в открытых окопах (траншеях) и за естественными складкаВнми местности (в лощинах, оврагах, на обратВнных скатах высот) осколочными боеприпасами(ВОГ-17, ВОГ-17М) (рис2) настильным и навесным огнем. Стрельба из гранатомета ведется короткиВнми (до 5 выстрелов), длинными (до 10 выстВнрелов) очередями и непрерывно. Автоматика гранатомета действует за счет отдачи массивного свободного затвора. Применить простую схему автоматики позволили сравнительно слабый метательный заряд, невысокое значение дульной энергии гранаты и малая длина ствола.
Рис 1 Общий вид 30-мм автоматического гранатомета на станке (АГС-17).

Рис. 2. Выстрел ВОГ-17:
атАФосколочная граната; бтАФпороховой заряд; в тАФ взрыватель' 1тАФкорпус; 2 тАФ ведущий поясок: 3тАФпружина (осколочная тАЬрубашкатАЭ); 4 тАФ разрывной заряд; 5 тАФ гильза; 6 тАФ капсюль воспламенитель; 7 тАФ нитроглицериновый порох
Станок состоит из основания, вертлюга, нижней и верхней люлек и механизВнма вертикальной наводки.
Прицел (рис. 4) состоит из корпуса, в коВнтором собраны угломер и механизм углов возвышения, и головки с оптической систеВнмой.
В комплект гранатомета входят: три коробВнки для выстрелов с девятью лентами по 10 звеньев каждая, чехол для переноски тела гранатомета, две лямки для переноски станВнка, комплект запасных частей, инструмента и принадлежности и формуВнляр. Кроме того, на шесть гранатометов предусмотрена одна трубка холодной приВнстрелки.
2.Назначение и устройство частей и механизмовАГС-17.
Нарезной ствол гранатомета быстросъемный, в ствольной коробке он крепится замыкателем с чекой. Ближе к казенной части ствола выполнено оребрение для увеличения поверхности охлаждения.

Рис. 3. Основные части и механизмы тела гранатомета:1тАФствол; 2тАФ ствольная коробка; 3тАФ затвор;
4тАФвозвратные пружины; 5 тАФ приемник; 6 тАФ ударно-спусковой механизм; 7тАФкрышка ствольной коробки с механизмом перезаряжания.
Затвор гранатомета прямоугольной формы. В его передней части смонтированы вертикально перемещающийся досылатель, на верхней плоскости - гребень для приведения в действие механизма извлечения стреляной гильзы, зацеп и криволинейный паз. Внутри затвора находится гидравлический тормоз отката, несколько увеличивающий продолжительность цикла автоматики, что повышает кучность стрельбы. Гидротормоз состоит из, цилиндра, в который заливается керосин, штока с поршнем и фланцем на свободном конце уплотнителя, препятствующего вытеканию рабочей жидкости. Цилиндр имеет четыре окна переменного сечения, поршень - четыре отверстия для непротекания керосина. Гидротормоз приводится в действие с помощью фланца штока: при откате затвора он упирается в затыльник гранатомета, а при движении вперед в упоры ствольной коробки. Две возвратные пружины симметрично размещены в канале затвора. Механизм перезаряжания смонтирован в крышке ствольной коробки и включает обойму, цепляющую зацеп затвора и трос с Т-образной рукояткой, перекинутый через ролик обоймы. При затягивании троса за рукоятку он оттягивает обойму, а вместе с ней и затвор, назад. При стрельбе механизм перезаряжания неподвижен. Ударный механизм - курковый. При движении вперед разобщитель затвора взводит цилиндрический, горизонтально перемещающийся курок (иногда называемый ударником). При спуске курок движется назад и своим передним выступом бьет по рычагу бойка, размещенного в затворе. Спуск осуществляется поворотом шептала через спусковую планку спускового рычага, смонтированного в виде широкой клавиши на затыльнике гранатомета. Флажковый предохранитель запирает шептало курка. Внутри курка расположен механизм регулирования темпа стрельбы гидравлическою тина. Регулируя скорость перетекания керосина из одной части полости курка в другую через наклонные отверстия неподвижного поршня, можно управлять скоростью движения курка. Таким образом изменяется продолжительность цикла автоматики. Ручка регулирования темпа стрельбы имеет флажок, занимающий два фиксированных положения. В верхнем положении обеспечивается максимальный темп 350-400 выстрелов в минуту, в нижнем - минимальный (50-100 выстрелов в минуту). Ударно-спусковой механизм в сборе крепится на левой стенке ствольной коробки. Органом управления АГС-17 служат две откидные горизонтальные рукоятки. Клавиша спускового рычага расположена между ними. АГС17 имеет ленточное питание, лента - металлическая, звеньевая, с открытым звеном. Коробка с лентой крепится на правой стенке ствольной коробки. Механизм подачи включает рычаг подачи с роликом и подпружиненный подаватель. При откате затвора за счет взаимодействия ролика рычага подачи и криволинейною паза затвора, рычаг подачи поворачивается, подаватель подает очередной выстрел к окну ствольной коробки, клинья съемника ствольной коробки отделяют выстрел от ленты. При движении затвора вперед досылатель поднимается копирами ствольной коробки и захватывает выстрел за дно гильзы. Затем, снижаясь, досылает её в патронник. При откате досылатель освобождает гильзу, затвор своим гребнем поворачивает отражатель, установленный на оси в корпусе приемника, и отражатель выбрасывает гильзу из ствольной коробки вниз.
Гранатомет использует выстрел ВОГ-17 или ВОГ-17М с осколочной гранатой.
Выстрел ВОГ-17. Граната имеет осколочную рубашку с полуготовыми элементами в виде пружины из насеченной проволоки, разрывной заряд массой 36 грамм, головной взрыватель ударного действия. Взрыватель взводится на удалении 10-30 м от дульного среза ствола. Радиус сплошного поражения осколками 7 метров. Вес выстрела 350 г, гранаты - 280г.
Выстрел ВОГ-17М имеет взрыватель с самоликвидатором, выставленным на 25 секунд, вес выстрела 348 грамм, гранаты 275 грамм, заряда ВВ 34 грамма.

Рис. 4 Прицел гранатомета (ПАГ-17):
л тАФ вид слева; бтАФвид справа: 1`тАФкорпус; 2 тАФ головка прицела: 3 тАФ ось прицела; 4 тАФ овальная выемка; S тАФ штифт; 6 тАФ угломерное кольцо; 7тАФуказатель больших делений угломера: 8 тАФ бараВнбанчик угломера; В»тАФуказатель делений барабанчика угломера; 10тАФотводка: //тАФпоперечный уровень; 12тАФ шкала больших делений прицела: 13тАФуказатель шкалы больших делений приВнцела; 14 тАФ барабанчик прицела; /5 тАФ указатель делений барабанчика прицела; 16 тАФ продольный уровень; 17 тАФ планка для крепления патрона подсветки; /втАФнаглазник; 19 тАФ мушка; 20 тАФ целик:
Вл'/ тАФ основание для присоединения патрона подсветки сетки прицела; 22 тАФ винт для крепления светофильтра
Наводка АГС-17 производится с помощью оптического прицела ПАГ-17, который крепится на кронштейне с левой стороны. Сетка прицела позволяет вести стрельбу прямой наводкой на дальность до 700 м (на гранатометах ранних выпусков - до 550 м). Для стрельбы на большие дальности используется механизм углов возвышения и боковой уровень. Горизонтальная наводка осуществляется с помощью угломера.
Лента для выстрелов (рис. 5) служит для помещения выстрелов и подачи их в приВнемник гранатомета. Она состоит из отдельных кусков на 10 звеньев каждый. Куски ленты соединяются один с другим с помощью выВнстрела, звенья между собой в каждом куске тАФ с помощью шплинтов. Звено имеет передние и

Рис. 5 Лента для выстрелов:
1 тАФ звено ленты; 2 тАФ шплинт; 3 тАФ передние захваты: 4 тАФ эадние захваты; 5 тАФ хвостовик: 6 тАФ соединительное кольцо;
7 тАФ соединительный выступ
задние захваты, хвостовик, соединительное кольцо и соединительный выступ.
Снаряжение ленты выстрелами может проВнизводиться вручную или снаряжательной маВншинкой. Снаряжательная машинка состоит из корпуса; верхнего лотка для помеВнщения- выстрелов; нижнего (переднего и задВннего) лотка для помещения ленты; звездки с рукояткой для перемещения ленты и снаряжеВнния ленты выстрелами; направляющей для движения снаряженной ленты; переднего и заднего съемников для отделения выстрелов от ленты.
Коробка для выстрелов (рис. 6) служит для помещения ленты с 29 выстрелами. Она имеет ручку для переноски коробки; крышку и створку, закрываемые защелками; шторку для закрывания горловины коробки при трансВнпортировке; обойму с зацепом и зубом для присоединения коробки к гранатомету; внутВнритАФспиральную направляющую (улитку) для
направления движения ленты, выступ для удержания ленты. На шторке стрелкой указаВнно положение головной части выстрелов в коВнробке.

Рис. 6. Коробка для выстрелов:
1 тАФ ручка; 2 тАФ крышка; 3 тАФ защелка крышки; 4 тАФ створка;. 6 тАФ защелка створки; 6 тАФ шторка; 7 тАФ зацеп: 5 тАФ зуб: 9 тАФ улитка; 10 тАФ горловина; 11тАФ выступ
Для укладки ленты в коробку необходимо открыть крышку со шторкой и створку; помеВнстить ленту через горловину в коробку и через открытую створку продвинуть ее по улитке.
Огонь ведется с треножного складного станка САГ-17. Тело гранатомета крепится в люльке станка. Он имеет секторные механизмы горизонтального и вертикального наведения, гильзоотражатель, механизм точного горизонтирования. Ноги оканчиваются сошниками с насечкой. В походном положении станок складывается и переносится вторым номером расчета. В бою гранатомет переносится на станке за ноги и ремни. АГС-17 "Пламя" зарекомендовал себя эффективным и надежным оружием поддержки пехоты. Он отличается сравнительно простой конструкцией, достаточной кучностью и точностью стрельбы. Возможность ведения навесного огня позволяет выполнять функции миномета. Копия гранатомета выпускается в Китае.
Характеристики:
Калибр, 30мм.
Выстрел ВОГ-17 (ВОГ-17М)
Масса гранатомета без ленты, 18 кг
Масса гранатомета с лентой на станке, 44,5 кг
Масса снаряженной ленты на 29 выстрелов, 14,5 кг
Масса станка 12кг.
Масса коробки снаряженной лентой на 29 выстрелов 14,5кг
Масса выстрела 0,35кг
Масса гранаты 0,28кг
Масса взрывчатого вещества 0,036кг
Масса прицела 1кг
Начальная скорость гранаты, 185 м/с
Дульная энергия, 4791 Дж
Режимы огня непрерывный
Темп стрельбы регулируемый, от 50-100 до 400 в/мин
Прицельная дальность, 1700м
Минимальная дальность навесной стрельбы, 1000м Наибольшая высота траектории, 905м Дальность прямого выстрела по цели высотой 2 м, 250м Расчет, человек 2Состоит - в ВС России, стран СНГ, Китая, Афганистана. Анголы, Чада, Кубы, Ирана, Мозамбика, Никарагуа, Польши. Южной Африки.
3.Разборка и сборка гранатомета.
Разборка гранатомета может быть неполВнная и полная: неполнаятАФдля чистки, смазки и осмотра гранатомета; полнаятАФдля чистки при сильном загрязнении гранатомета, после нахождения его под дождем или снегом, посВнле дегазации и дезактивации гранатомета, при постановке гранатомета на длительное хранеВнние, при замене частей, при получении со склаВнда, для осмотра в разобранном виде. Излишне частая разборка гранатомета вредна, так как ускоряет изнашивание частей и механизмов. Запрещается производить в подразделении разборку частей и механизмов гранатомета, не предусмотренную настоящим РуководстВнвом.
Разборку и сборку гранатомета производить на столе или чистой подстилке, применяя инВнструмент, входящий в комплект ЗИП; части и механизмы класть в порядке разборки, обВнращаться с ними осторожно. Отделяя или приВнсоединяя части гранатомета, не применять излишних усилий и резких ударов. При сборВнке гранатомета сличить номера на его частях с номером на ствольной коробке. При полной разборке и сборке гранатомета помощник наВнводчика может оказывать помощь наводчику.
4.Осмотр гранатомета и подготовка к стрельбе.
Для проверки исправности гранатомета, его чистоты и при подготовке к стрельбе проВнизводятся осмотры гранатомета.
Одновременно с осмотром гранатомета проВнверяется исправность коробок с лентами, чехВнла, лямок, принадлежности, запасных частей и инструмента.
Солдаты и сержанты осматривают граВннатометы:
тАФ ежедневно;
тАФ перед выходом на занятия; в боевой обВнстановке тАФ периодически в течение дня и пеВнред выполнением боевой задачи;
тАФ во время чистки.
Офицеры осматривают гранатометы пеВнриодически в сроки, установленные Уставом внутренней службы, а также все гранатометы перед стрельбой и перед выполнением боевой задачи.
Неисправности гранатомета, коробок .^ля выстрелов и принадлежности должны
устраняться немедленно. Если неисправности гранатомета устранить в подразделении нельВнзя, гранатомет необходимо отправить в реВнмонтную мастерскую.
Осмотр выстрелов
Выстрелы осматриваются перед стрельВнбой и по распоряжению командиров.
При осмотре выстрелов проверить, нет ли наружных повреждений, ржавчины, помятоВнстей на взрывателях, головных частях гранат, гильзах; не шатаются ли гранаты в дульцах гильз; нет ли на капсюлях зеленого налета и трещин, не выступают ли капсюля выше поВнверхности дна гильз; нет ли среди боевых выВнстрелов учебных.
Выстрелы, имеющие наружные повреждеВнния, особенно повреждение мембран, примеВннять для стрельбы запрещается. Неисправные выстрелы сдаются на склад.
Если выстрелы запылились и загрязнились, их необходимо обтереть сухой чистой веВнтошью.
Подготовка гранатомета к стрельбе
Подготовка гранатомета к стрельбе проВнизводится с целью обеспечения безотказной работы во время стрельбы.
Подготовка гранатомета к стрельбе произВнводится под руководством командира отделеВнния.
Для подготовки гранатомета к стрельбе необходимо:
тАФ произвести чистку гранатомета, осмотВнреть его в разобранном виде и смазать; соВнбрать гранатомет и осмотреть в собранном виде;
тАФ осмотреть прицел и при необходимости произвести выверку прицела;
тАФ осмотреть коробки с лентами;
тАФ непосредственно перед стрельбой протеВнреть насухо канал ствола, осмотреть выстрелы и снарядить ими ленты, уложить ленты с выВнстрелами в коробки.
6.Заключение
В заключении я хотел бы отметить, что недавно была выпущена новая модификация 30 мм противопехотного автоматического гранатометного комплекса, небольшая масса которого(вдвое меньше его аналога АГС - 17) при значительном боекомплекте позволяет сократить обслуживающий расчет. Малые габариты комплекса, особенности конструкции станка обеспечивают возможность быстрой смены огневой позиции, ведение стрельбы