Молитва как психотерапевтическая практика
Е. Ковалева, М. Щербаков
Религия, мировосприятие и особенности психологии личности с нею связанные играют все большую роль в жизни общества в России. Традиционная православная религия получила в последние годы широкое распространение в обществе. Миллионы людей в той или иной степени вовлечены в религиозные практики, отправление религиозных ритуалов, либо периодически посещают церковь.
Именно за последние годы появился большой объем литературы, посвященный православным практикам, теологии, традициям и ритуалам. В то же время осмысление христианских практик и ритуалов с позиции психологии на наш взгляд явно недостаточно. В советские времена эта область была табуирована, сегодня сложившееся разделение областей исследования привело к образованию своеобразных границ между психологией, религией и философией. В русскоязычной литературе гораздо проще найти психологический анализ практик буддизма или глубокое обсуждение древних шаманских ритуалов, нежели рассмотрение традиционной для России религии.
Православные ритуалы и религиозные практики обсуждаются, в основном, с позиции теологии, философии, богословия и т. д. На наш взгляд представляется чрезвычайно актуальным провести анализ основных религиозных практик именно с позиции их воздействие на сознание человека в контексте современных моделей психологии новой волны. С одной стороны, это позволит Влперекинуть мостВ» между традиционно не стыкуемыми позициями теологии и академической психологии, с другой тАФ рассмотреть конкретные аспекты воздействия религиозных ритуалов, сформировать структурную модель такого воздействия и рекомендации практическим психологам и психотерапевтам. Так или иначе, миллионы людей в современной России вовлечены в православные и другие христианские практики и мировозрение. Исследование механизмов влияние таких практик на структуру личности может открыть новые пути на интеграцию различных представлений о сознании и оказать существенную поддержку всем специалистам, профессионально работающим в области консультирования, психотерапии и т. д.
Отметим, что помимо непосредственного влияния религии на жизнь современного общества, православие является и той средой, в которой на протяжении последних 20000 лет это общество формировалось. Другими словами, структуры сознания, сформированные в поле православного мировосприятия, существуют на уровне архетипов общества и личности, и оказывают влияние на личность и социум вне зависимости от того, симпатизирует ли им конкретный человек или нет [10]. Влияние этих уровней сознания на общество и личность прослеживается на протяжении всей истории России, включая и советский период.
В данной работе мы обратимся к исследованию православных молитв. Объектом анализа выбрана наиболее известная и распространенная молитва ВлОтче нашВ». Отметим, что любой ритуал мировой религии, любая религиозная практика представляют собой многоуровневою систему взаимодействия с сознанием человека. В данной работе мы ограничиваем сферу анализу воздействием трансовых (преимущественно вербальных) конструкций на сознание человека. Отметим, что целый ряд трансперсональных аспектов работы заведомо не принимается во внимание. Целый ряд крупных исследователей, включая Гроффа, Маслоу, Роджерса, Дилтса признавали, что нет пока достаточного языка и научного осмысления, чтобы описать религиозную практику во всем ее объеме.
Авторы не утверждают, что смысл молитвы исчерпывается теми аспектами, которые исследуются в данной работе, тем не менее подобный структурный анализ воздействия молитвы, может дать важный материал к исследованию и построению модели религиозного мировоззрения и влияние религиозных ритуалов в целом на индивидуальное и коллективное сознание.
На наш взгляд, молитва может рассматриваться, как психотерапевтическая метафора и содержит основные лингвистические конструкции, используемые в современных психотерапевтических техниках для наведения транса.
Анализ молитвы с позиции трансовых конструкций
При анализе молитвы мы будем опираться на подходы эриксоновского гипноза и НЛП и пользоваться соответствующей терминологией. На наш взгляд молитва может рассматриваться как недирективный эриксоновский транс с несколькими вложенными метафорическими конструкциями. Особенностью Эриксоновского транса является недирективное внушение, оставляющее широкое пространство для выбора внушаемому. Другими словами, такая конструкция как бы активизирует внутренние сознательные процессы внушаемого, направленные на решение актуальных задач переформирования структрур сознания (трансдеривантный поиск). ВлОдним из достижений Эриксона было то, что он оценивал транс как широко распространенное, часто встречающееся явление и начал использовать эти естественно возникающие состояния транса в своей работе.. Для него транс тАФ это нечто, в чем вы участвуете вместе с человеком, но никак не действие, которое вы производите с ним, как с объектом. Отношения являются взаимными. Никто никем не управляетВ» (Майкл Спарс[2])
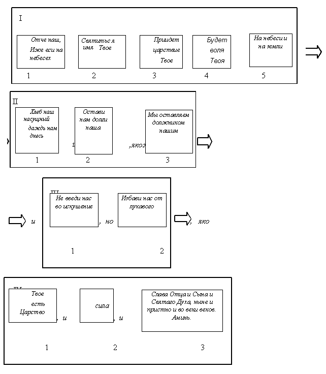
В данной работе мы подробно рассмотрим наиболее распространенную христианскую молитву тАФ Молитву Господню:
Отче наш, Иже еси на небесех, да святится имя Твое, да приидет Царствие Твое, да будет воля Твоя, яко на небеси и на земли. Хлеб наш насущный даждь нам днесь. И остави нам долги наша, якоже и мы оставляем должником нашим, и не введи нас во искушение, но избави нас от лукаваго. Яко Твое есть Царство, и сила, и слава Отца и Сына и Святаго Духа, ныне и присно и вовеки веков. Аминь.

Рис. 1
Вербальные конструкции косвенного внушения
Косвенное внушение преследует определенную цель, даже если человек ее и не распознает. У человека есть выбор и возможность принимать или не принимать то, что ему внушается.
I блок конструкций
1). Последовательность приятия [1]. 1 ДА 2 ДА 3 ДА 4, ЯКО 5. Перечисляется ряд истинных утверждений, с которыми нельзя не согласиться, они связываются между собой соединительными союзами. Данная последовательность заканчивается утверждением (в нашем случае 5), которое предлагается принять бессознательному.
Простой пример такой конструкции: ВлВы сидите на стуле, и слышите мой голос, и чувствуете спиной спинку стула, и Вы можете позволить себе расслабитьсяВ». Следует принять во внимание, что современный человек понимает ВлдаВ», как союз ВлиВ», но, тем не менее, существует второй контекстуальный пласт (ВлдаВ», как ответ на вопрос). У Гриндера [8] конструкция с повторяющимися ВлдаВ» называется Влпоследовательность даВ» (Влyes setВ»). Таким образом, текст молитвы в наше время не просто сохраняет трансовую конструкцию, но еще и усиливает ее.
2). Контекстуальное внушение [1] тАФ обращение ВлОтче нашВ».
Контекстуальное внушение заключается в том, чтобы дать услышать человеку нечто, чего не обязательно готов услышать и воспринять. В нашем случаи выстраивается система отношений с Богом, как Влотец-ребенокВ». Эта декларация очень важна, так как задает на явном и бессознательном уровне систему отношений человека и Бога как, сакральные и интимные отношения с отцом, основанные на любви и эмпатии, в отличие от системы отношений господин тАУ подчиненный (раб). Такие отношения, во-первых, неявно предусматривают активную позицию объекта внушения (ребенка) относительно родителя, во-второых, обладают свойством динамики (ребенок растет, отношения меняются).
Данная молитва ориентирует на отношения, описанные Митрополитом Сурожским Антонием: Вл.. мы не смеем стоять перед Богом, будто мы рабы, будто мы наемники, клянча, моля, пресмыкаясь; мы должны научиться стоять перед ним с сознанием своего достоинства и говорить Богу, как сын или дочь говорит с отцом, которого уважает, но и которого отец уважает, чье достоинство для отца значит очень многоВ».
Неявным следствием обращения ВлОтче нашВ» является также система отношений тАФ Влвсе люди тАФ братьяВ», так как имеют одного отца. Молитва дает ощущение сопричастности к одной сакральной семье и чувство уверенности и защищенности, связанное с этим.
Интересно отметить, что это внушение обладает внутренней социальной динамикой. Для человека смысл этого внушения меняется с изменением отношений в семье по мере развития общества. В наше время эти отношения стали менее авторитарными и иерархическими, чем раньше. Таким образом, молитва предусматривает возможность динамики отношений с Богом по мере развития самосознания общества.
Отметим, что мы затрагиваем проблему самоидентификации личности, которая традиционно занимала умы представителей целого ряда психологических школ. Самоидентификация тесно связана с мироощущением личности, с поведением в социуме, и соответственно, с проблемами личностного развития и взаимоотношений. Воспользовавшись моделью уровней самоидентификации личности предложенной [10], можно отметить, что в нашем случае затронуты следующие уровни самоидентификации: семейно-клановый, религиозно-идеологический, эволюционно-видовой и духовный (система ценностей, связанная с личным духовным опытом).
Замечание:
Как уже отмечалось, мы намеренно уходим от попыток теологического рассмотрения молитвы или попыток интерпретации смысла с тех или иных идеологических позиций. В данном случае мы исследуем бессознательные ассоциации, как результат реакции на определенные конструкции и воздействие конкретных вербальных конструкций на бессознательное.
II блок конструкций
1). Последовательность приятия. 1 И 2, ЯКОЖЕ 3
2). Импликация [1]. Это внушение того, что может произойти. Например: ВлЯ прошу Вас не входить в транс, пока Вы не устроитесь удобно в этом креслеВ».
У нас: Влостави нам долги наша, якоже и мы оставляем должникам нашимВ». О части 3 говорится как уже о совершенном факте.
3). Контекстуальное внушение. ВлХлеб наш насущный дай нам днесьВ». ВлДнесьВ» тАФ здесь и сейчас. Конструкция ориентирована на проживание текущего момента. Такого рода конструкции часто используются для снятия избыточной тревоги.
III блок конструкций
Если рассматривать союз ВлноВ» в значении ВлиВ» (как в старославянском), то 1, и 2 тАФ составное внушение [1]. Составное внушение тАФ это связывание предложений соединительными союзами. В таком случае предложения взаимно усиливают друг друга, даже если между ними нет логической связи. Например: ВлВ то время как вы меня слушаете, и ваше дыхание становится более спокойным.. В».
Современный человек воспринимает эту конструкцию (1, но 2), как две фразы не противоречащие друг другу по смыслу, но соединенные разделительным союзом ВлноВ». По принятой терминологии это замешательство или элемент конфузионного транса. Замешательство нарушает привычную цепь логических рассуждений, что позволят выйти за привычные рамки мышления и способствует ВлдепотенциализацииВ» сознательных процессов. Указанная конструкция облегчает бессознательное восприятие заключительной (IV) части молитвы.
Интересно, что в данном случае (как и в нескольких других) исторические изменения в русском языке не приводит к утрате воздействия трансовых конструкций.
IV блок конструкций
1). Часть IV является сама по себе заключительной частью косвенного внушения последовательности приятия: II, и III, яко IV.
2). В конструкции самой IV части используются косвенные внушения
а) составное внушение 1, и 2, и 3
б) намек [1]. В этом случае вы намекаете, на что именно надо сориентировать человека. Поскольку такое внушение не адресовано человеку прямо, оно не вызывает противодействия, оставляя бессознательному полную свободу выбора: принять его или не принять. Например: намек на еду чаще всего вызывает непроизвольное сглатывание. Упоминание в нашем случаи о могуществе, силе (с учетом встроенных отношений Влотец-сынВ») во многих случаях может вызвать чувство защищенности, доверия и сориентировать на релаксацию.
3). Временнуе внушение [1] Вл.. ныне и присно и во веки веков. АминьВ», усиливает все предыдущие моменты и передает состояние надежности и уверенности в будущем.
Модальности и предикаты
Как отмечалось рядом исследователей, в частности Гриндером и Бендлером[8], у большинства людей имеется одна наиболее развитая или наиболее предпочитаемая репрезентативная система (одни оперируют зрительными образами, другие тАФ слуховыми, а третьи тАФ кинестетическими).
ВлПривычное предпочтение какой-то одной репрезентативной системы особенно характерно для клиентов, нуждающихся в психотерапии; более того, я считаю, что иногда это один из главных недостатков, ответственных за их проблемы.. Непременное условие жизненного успеха тАФ сбалансированное использование всех систем.. С нашей точки зрения, люди способны пользоваться любой из репрезентативных систем. Более того, в продуктивных состояниях интеграции внутренних переживаний (например, в состоянии транса), все системы функционируют одновременно, как единое целоеВ» [6].
Если рассмотреть структуру молитвы по типам предикатов, а именно по ним определяется основная репрезентативная система, мы увидим, что использованы кинестетические предикаты (приидет, остави, не введи, избави) и полимодальные, хорошо воспринимаемые всеми типами репрезентативных систем (будет, святиться). Предикат ВлсвятитьсяВ» несет двойную нагрузку. ВлСвятитьсяВ» тАФ с одной стороны, от слова ВлсветВ», а с другой тАФ говорит о сиянии (когда мы говорим о святыне, мы говорим о чем-то, преисполненного света), а значит, является и визуальным предикатом. Таким образом, в конструкции молитвы включены все три модальности, основной акцент сделан на наиболее распространенные (визуальная и кинестетическая).
Важно отметить, что ключевые предикаты являются динамическими, побуждающими к действию, и подразумевают внутреннюю динамику духовного развития. Другими словами, структура предикатов ориентирует личность не на принятие и следование постулатам, а на развитие личностной динамики духовного осмысления мира.
Якоря для вхождения в ИСС
Каждое переживание состоит из ряда компонентов, элементов: зрительных, слуховых, кинестетических, обонятельных, вкусовых. Якорное зацепление означает тенденцию одного из элементов переживания вызвать все переживания в целом. В молитве затронуты почти все элементы. Особенно, если молитва осуществляется в хорошо выстроенном ритуальном пространстве (как правило, в церкви).
| Модальность якоря | Якорь |
| Визуальный | свечи, лампадки, иконы |
| Аудиальный | пение, молитва, колокола |
| Запахи | благовоние (ладан) |
| Вкус | причастие |
| Кинестетический | крещение |
Якоря, связанные с сигналами вестибулярного аппарата | (покачивание, движения тела) поклоны |
Вместе с этим смотрят:
"Информационный человек": личность в эпоху глобализации
"Реформы" образования - сегодня
10 теми по психологii i педагогiцi
17 шагов для разрешения конфликтов
Christmas in Britain (Рождество в Британии)