Вычисление интеграла методом Ньютона-Котеса (теория и программа на Паскале)
Министерство Высшего Образования РФ.
Московский Институт Электронной Техники
(Технический Университет)
Лицей №1557
КУРСОВАЯ РАБОТА
“Вычисление интеграла методом
Ньютона-Котеса”
Написал: Коноплев А.А.
Проверил: доцент Колдаев В.Д.
Москва, 2001г.
![]()
Введение........................................... 3
Теоретическая часть..................................4
Алгоритм работы....................................8
Код программы.....................................17
Модуль K_graph..............................17
Модуль Graphic...............................34
Модуль K_unit................................38
Основная программа..........................40
Тестовые испытания.................................42
Полезные советы по работе с программой...............42
Окна ввода и вывода программы.......................
Вывод.............................................43
Список литературы..................................44
![]()
Математика - одна из самых древних наук. Труды многих ученых вошли в мировой фонд и стали основой современных алгебры и геометрии. В конце XVII в., когда развитие науки шло быстрыми темпами, появились понятия дифференцирование, а вслед за ним и интегрирование. Многие правила нахождения неопределенного интеграла в то время не были известны, поэтому ученые пытались найти другие, обходные пути поиска значений. Первым методом явился метод Ньютона тАУ поиск интеграла через график функции, т.е. нахождение площади под графиком, методом прямоугольников, в последствии усовершенствованный в метод трапеций. Позже был придуман параболический метод или метод Симпсона. Однако часть ученых терзал вопрос: А можно ли объединить все эти методы в один??
Ответ на него был дан одновременно двумя математиками Ньютоном и Котесом. Они вывели общую формулу, названную в их честь. Однако их метод был частично забыт. В этой работе будут изложены основные положения теории, рассмотрены различные примеры, приведены таблицы, полученные при различных погрешностях, и конечно описана работа и код программы, рассчитывающей интеграл методом Ньютона-Котеса.
![]()
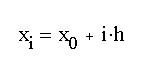
Пусть некоторая функция f(x) задана в уздах интерполяции:
(i=1,2,3тАж,n) на отрезке [а,b] таблицей значений:
X0=a | X1 | X2 | тАж | XN=b |
| Y0=f(x0) | Y1=f(x1) | Y2=f(x2) | тАж | YN=f(xN) |
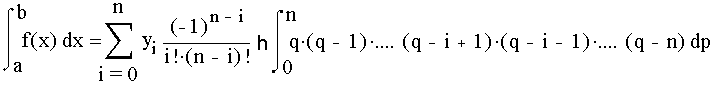
Требуется найти значение интеграла
.
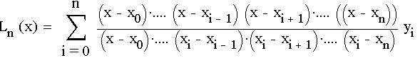
Для начала составим интерполяционный многочлен Лагранджа:

Для равноотстоящих узлов интерполяционный многочлен имеет вид:

где q=(x-x0)/h тАУ шаг интерполяции, заменим подынтегральную функцию f(x) интерполяционным многочленом Лагранжа:

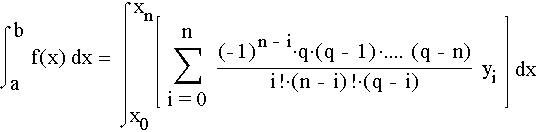
Поменяем знак суммирования и интеграл и вынесем за знак интеграла постоянные элементы:

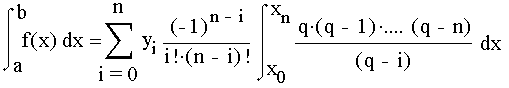
Так как dp=dx/h, то, заменив пределы интегрирования, имеем:
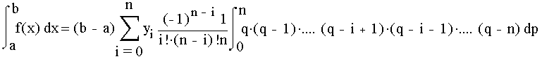
Для равноотстоящих узлов интерполяции на отрезке [a,b] величина шаг определяется как h=(a-b)/n. Представив это выражение для h в формулу (4) и вынося (b-a) за знак суммы, получим:

Положим, что

где i=0,1,2тАж,n; Числа Hi называют коэффициентами Ньютона-Котеса. Эти коэффиценты не зависят от вида f(x), а являются функцией только по n. Поэтому их можно вычислить заранее. Окончательная формула выглядит так:

Теперь рассмотрим несколько примеров.
Пример 1.
Вычислить с помощью метода Ньютона-Котаса:
, при n=7.
Вычисление.
1) Определим шаг: h=(7-0)/7=1.
2)Найдем значения y:
x0=0 | y0=1 |
x1=1 | y1=0.5 |
x2=2 | y2=0.2 |
x3=3 | y3=0.1 |
x4=4 | y4=0.0588 |
x5=5 | y5=0.0384 |
x6=6 | y6=0.0270 |
x7=7 | y7=0.02 |
3) Находим коэффициенты Ньютона-Котеса:
H1=H7=0.0435, H1=H6=0.2040, H2=H5=0.0760 ,H3=H4=0.1730
Подставим значения в формулу и получим:
П

ри подсчете с помощью формулы Ньютона-Лейбница получим:
Пример 2.
Вычислить при помощи метода Ньютона-Котеса
, взяв n=5;
Вычисление:
Определим шаг h=(8-4)/5=0.8
Найдем значения y:
x0=0 | y0=-2.61 |
x1=4.8 | y1=0.42 |
x2=5.6 | y2=4.34 |
x3=6.4 | y3=6.35 |
x4=7.2 | y4=4.38 |
x5=8 | y5=-0.16 |
Находим коэффициенты Ньютона тАУКотеса:
H0=H5=0.065972 ;H1=H4=0.260417 ;H2=H3=0.173611 ;
4)Подставим значения в формулу и получим:

Рассмотрим частные случаи формулы Ньйтона-Котеса.
Пусть n=1 тогда
H0=H1=0.5 и конечная формула примет вид:
Тем самым в качестве частного случая нашей формулы мы получили формулу трапеций.
Взяв n=3, мы получим
. Частный случай формулы Ньютона тАУКотеса тАУ формула Симпсона
![]()
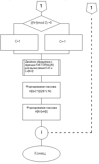
Теперь произведем анализ алгоритма и рассмотрим основной принцип работы программы.
Для вычисления интеграла сначала находятся коэффициенты Ньютона-Котеса. Их нахождение осуществляется в процедуре hkoef.
Основной проблемой вычисления коэффициентов является интеграл от произведения множителей. Для его расчета необходимо:
А) посчитать коэффициенты при раскрытии скобок при q
(процедура mnogoclen)
Б) домножить их на 1/n , где n тАУстепень при q (процедура koef)
В) подставить вместо q значение n (функция integral)
Далее вычисляем факториалы (функция faktorial) и перемножаем полученные выражения (функция mainint). Для увеличения быстроты работы вводится вычисление половины от количества узлов интерполяции и последующей подстановкой их вместо неподсчитанных.
Процедура koef(w:массив;n:целый;var e:массив);

Процедура hkoef(n:целый;var h:массив);


Процедура mnogochlen(n,i:целые;var c:массив );


Процедура funktia(n:целая;a,b:вещест.;var y:массив;c:вещест.;f:строка);

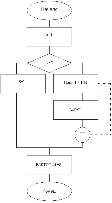
Функция facktorial(n:целый):двойной;

Функция integral(w:массив;n:целый):двойной;

Функция mainint(n:целый;a,b:вещест.;y:массив):двойной;

Основная программа

![]()
Программа состоит из 8 файлов:
K_main.exe тАУ файл загрузки основной программы
K_unit.tpu тАУ модуль вычислительных процедур и функций
K_graph.tpu тАУ модуль графических процедур
Graphic.tpu тАУ модуль процедур для построения графика
Egavga.bgi тАУ файл графической инициализации
Sans.chr, litt.chr тАУ файлы шрифтов
Keyrus.com (не обязательно) тАУ файл установки русского языка.
Для работы программы с русским интерфайсом желательно запускать ее в режиме DOS.
================================================
==========МОДУЛЬ GRAPH==========
================================================
{$N+}
unit k_graph;
interface
uses
crt,graph,k_unit,graphic;
procedure winwin1;
procedure proline(ea:word);
procedure winwwodab(ea:word);
procedure error1(ea:word);
procedure helpwin(ea:word);
procedure error(ea:word);
procedure newsctext(ea:word);
procedure newsc(ea:word);
procedure win1(ea:word);
procedure win2(ea:word;var k:word);
procedure wwodn(ea:word;var n:integer);
procedure wwodab(ea:word;var a,b:real);
procedure wwod1(ea:word;var y:array of double;var n:integer;var a,b:real);
procedure wwod2(ea:word;var ea1:word;var n:integer;var a,b:real;var st:string);
procedure win3(ea:word;n:integer;a,b:real;int:double;f:string;h:array of double;var k:word);
implementation
procedure proline(ea:word);
{Проседура полосы процесса}
var
i:integer;
f:string;
c:char;
begin
newsc(ea);
setcolor(15);
setfillstyle(1,7);
bar(160,150,460,260);
rectangle(165,155,455,255);
rectangle(167,157,453,253);
case (ea mod 2) of
0: outtextxy(180,170,' Идет работа .Ждите.');
1: outtextxy(180,170,' Working.Please wait.');
end;
setfillstyle(1,12);
setcolor(0);
rectangle(200,199,401,221);
for i:=1 to 9 do
line(200+i*20,200,200+i*20,220);
delay(20000);
for i:=1 to 100 do
begin
if ((i-1) mod 10)=0 then
line(200+((i-1) div 10)*20,200,200+((i-1) div 10)*20,220);
bar(round(200+2*(i-0.5)),200,200+2*i,220);
delay(1100);
setcolor(15);
setfillstyle(1,7);
bar(280,230,323,250);
str(i,f);
f:=f+'%';
outtextxy(290,235,f);
if (i mod 25) =0 then
bar(170,180,452,198);
if (ea mod 2)=0 then
case (i div 25) of
0:
outtextxy(170,190,'Подготовка ');
1:
outtextxy(170,190,'Расчет коеффициентов в многочлене');
2:
outtextxy(170,190,'Расчет коеффициентов Ньютона-Котеса');
3:
outtextxy(170,190,'Расчет интеграла');
end
else
case (i div 25) of
0:
outtextxy(170,190,'Prepearing');
1:
outtextxy(170,190,'Calculation of mnogochlen coeff.');
2:
outtextxy(170,190,'Calculation of Newton-Cotes coeff. ');
3:
outtextxy(170,190,'Calculation of integral');
end;
setfillstyle(1,12);
setcolor(0);
end;
end;
procedure winwwodn(ea:word);
{Окно ввода числа узлов интерполяции}
var
c:char;
f:string;
begin
helpwin(ea);
if (ea mod 2) =0 then
begin
outtextxy(360,140,' В этом окне необходимо ');
outtextxy(360,155,' ввести количество узлов ');
outtextxy(360,170,' интерполяции, от которого ');
outtextxy(360,185,' будет зависить точность ');
outtextxy(360,200,' вычисления интеграл и ');
outtextxy(360,215,' количество зн чений функции.');
outtextxy(360,240,' ВНИМАНИЕ : НАСТОЯТЕЛЬНО ');
outtextxy(360,250,' РЕКОМЕНДУЕТСЯ НЕ ВВОДИТЬ ');
outtextxy(360,260,' ЗНАЧЕНИЕ N БОЛЬШЕ 12 !! ');
end
else
begin
outtextxy(360,140,' In this window you have to ');
outtextxy(360,155,' put into the number. ');
outtextxy(360,170,' The accuracy of calculation ');
outtextxy(360,185,' and the number of function ');
outtextxy(360,200,' parameters will depend on ');
outtextxy(360,215,' this number. ');
outtextxy(360,240,' WARNING: IT IS HARDLY ');
outtextxy(360,250,' RECOMENDED NOT TO PUT IN ');
outtextxy(360,260,' NUMBER MORE THEN 12 !! ');
end;
setcolor(2);
setfillstyle(1,14);
bar(70,200,340,300);
rectangle(75,205,335,295);
rectangle(77,207,333,293);
if (ea mod 2) =0 then
begin
outtextxy(90,227,'Введите количество узлов(n):');
outtextxy(80,270,'ВНИМАНИЕ: При больших n возможна');
outtextxy(80,280,'некорректная работа компьютера!!');
end
else
begin
outtextxy(80,217,'Put in number of');
outtextxy(80,227,' interpolation units:');
outtextxy(80,270,'WARNING:if you use big number ');
outtextxy(80,280,'of units,PC wont work properly!');
end;
setfillstyle(1,0);
bar(190,240,230,255);
end;
procedure wwodn(ea:word;var n:integer);
{Процедура ввода узлов n}
var
ec,p:integer;
k,f:string;
x:integer;
c:char;
begin
newsc(ea);
winwwodn(ea);
repeat
repeat
winwwodn(ea);
gotoxy(25,16);
read(k);
val(k,p,ec);
if ec<>0 then
begin
error1(ea);
readln;
end;
until ec=0;
n:=p;
if n>12 then
begin
if keypressed then
c:=readkey;
c:='r';
setcolor(15);
setfillstyle(1,12);
bar(140,210,490,300);
rectangle(145,215,485,295);
rectangle(147,217,483,293);
if (ea mod 2) =0 then
begin
outtextxy(150,227,' Предупреждение!');
outtextxy(150,237,' Вы дейcтвительно хотите использовать');
outtextxy(150,250,' большое значение N ???');
end
else
begin
outtextxy(150,227,' Warning!! ');
outtextxy(150,237,' Do you realy want to use a big ');
outtextxy(150,250,' number interpolation units(N)??? ');
end;
sound(600);
delay(4000);
nosound;
setfillstyle(1,2);
bar(320,260,350,280);
setfillstyle(1,12);
bar(250,260,280,280);
repeat
if keypressed then
begin
c:=readkey;
if (c=#80) or (c=#72) or (c=#77) or (c=#75) then
x:=x+1;
setfillstyle(1,2);
if (x mod 2)=0 then
begin
bar(250,260,280,280);
setfillstyle(1,12);
bar(320,260,350,280);
end
else
begin
bar(320,260,350,280);
setfillstyle(1,12);
bar(250,260,280,280);
END;
end;
if (ea mod 2) =0 then
begin
outtextxy(255,267,'ДА');
outtextxy(325,267,'НЕТ');
end
else
begin
outtextxy(255,267,'YES');
outtextxy(325,267,'NO');
end;
until c=#13;
if abs(x mod 2)=1 then
begin
n:=0;
setcolor(15);
setfillstyle(1,2);
bar(160,200,460,280);
rectangle(165,205,455,275);
rectangle(167,207,453,273);
if (ea mod 2)=0 then
begin
outtextxy(180,227,'Для работы программы необходимо');
outtextxy(180,237,' заново ввести N.');
outtextxy(180,247,' Нажмите ENTER для продолжения.');
end
else
begin
outtextxy(180,227,' To continue you have to ');
outtextxy(180,237,' again put in N. ');
outtextxy(180,247,' Press ENTER to continue.');
end;
readln;
readln;
end;
end;
until n>0;
end;
procedure winwwodab(ea:word);
{Окно ввода приделов интегрирования}
var
f:string;
begin
helpwin(ea);
if (ea mod 2)=0 then
begin
outtextxy(360,140,' В этом окне необходимо');
outtextxy(360,155,' ввести сначала нижнее');
outtextxy(360,170,' значение интеграл и нажать');
outtextxy(360,185,' ENTER, а затем ввести');
outtextxy(360,200,' верхнее значение интеграла');
outtextxy(360,215,' и снова нажать ENTER.');
end
else
begin
outtextxy(360,140,' In this window you have to:');
outtextxy(360,155,'firstly, put in lower value ');
outtextxy(360,170,'of integral and press ENTER,');
outtextxy(360,185,'then put in higher value');
outtextxy(360,200,'of integral and press ENTER');
end;
setcolor(2);
setfillstyle(1,5);
bar(10,210,335,320);
rectangle(15,215,330,315);
rectangle(17,217,328,313);
settextstyle(0,0,0);
if (ea mod 2)=0 then
begin
outtextxy(20,230,' Введите нижнее значение');
outtextxy(20,244,' интеграл :');
outtextxy(20,262,' Введите верхнее значение');
outtextxy(20,272,'интеграл :');
end
else
begin
outtextxy(20,230,' Put in lower value of');
outtextxy(20,244,' integral:');
outtextxy(20,262,' Put in higher value of');
outtextxy(20,272,'integral:');
end;
end;
procedure wwodab(ea:word;var a,b:real);
{Процедура ввода приделов интегрирования}
var
f:string;
k:string;
ec:integer;
begin
newsc(ea);
winwwodab(ea);
readln;
repeat
winwwodab(ea);
gotoxy(16,16);
read(k);
val(k,a,ec);
if ec<>0 then
error1(ea);
until ec=0;
readln;
repeat
winwwodab(ea);
str(a:4:2,f);
outtextxy(120,244,f);
gotoxy(16,18);
read(k);
val(k,b,ec);
if ec<>0 then
error1(ea);
until ec=0;
end;
procedure helpwin(ea:word);
{основа окна помощи}
begin
setfillstyle(1,3);
bar(350,100,590,380);
setcolor(0);
rectangle(353,103,587,377);
rectangle(355,105,585,375);
setcolor(14);
if (ea mod 2)=0 then
outtextxy(360,115,' ОКНО ПОМОЩИ')
else
outtextxy(360,115,' HELP WINDOW');
end;
procedure error1(ea:word);
begin
setcolor(15);
setfillstyle(1,12);
bar(140,210,490,280);
rectangle(145,215,485,275);
rectangle(147,217,483,273);
if (ea mod 2)=0 then
begin
outtextxy(150,227,' Ошибка! ');
outtextxy(150,237,' Вводимые параметр не число!! ');
outtextxy(150,250,' Проверьте значение и заново введите его.');
end
else
begin
outtextxy(150,227,' Error! ');
outtextxy(150,237,' The value you entered isn`t a quantity!!');
outtextxy(150,250,' Check it and put it in again. ');
end;
sound(600);
delay(4000);
nosound;
readln;
readln;
end;
procedure error(ea:word);
{Процедура ошибки}
begin
setcolor(15);
setfillstyle(1,12);
bar(140,210,490,260);
rectangle(145,215,485,255);
rectangle(147,217,483,253);
if (ea mod 2)=0 then
begin
outtextxy(150,227,' Ошибка!');
outtextxy(150,237,' Недостаток вводимых параметров!!');
end
else
begin
outtextxy(150,227,' Error!');
outtextxy(150,237,' Not all parameters are set!');
end;
sound(600);
delay(4000);
nosound;
readln;
end;
procedure newsctext(ea:word);
{Текст для процедуры newsc}
begin
if ea mod 2 =0 then
begin
settextstyle(0,0,1);
setcolor(15);
outtextxy(400,440,'Язык - Русский. ');
outtextxy(400,450,'Версия 1.0 Последнее издание');
outtextxy(400,460,'й Все права защищены.');
end
else
begin
settextstyle(0,0,1);
setcolor(15);
outtextxy(400,440,'Language - English.');
outtextxy(400,450,'Version 1.0 Final release.');
outtextxy(400,460,'й All rights reserved.');
end;
end;
procedure newsc(ea:word);
{Процедура обновления экрана}
begin
cleardevice;
setfillstyle(10,8);
floodfill(1,1,15);
setcolor(0);
setfillstyle(1,7);
bar(80,10,580,80);
rectangle(82,12,578,78);
rectangle(85,15,575,75);
settextstyle(0,0,2);
setcolor(10);
if ea mod 2 =0 then
begin
settextstyle(0,0,2);
outtextxy(90,20,' Вычисление интеграл ');
outtextxy(90,50,' методом Ньютона-Котеса.');
newsctext(ea);
end
else
begin
settextstyle(3,0,2);
outtextxy(90,20,' Calculeting of integral');
outtextxy(90,47,' using the Newton-Cotes method.');
newsctext(ea);
end;
settextstyle(0,0,1);
end;
procedure winwin1;
{Окно процедуры win1}
begin
setfillstyle(1,7);
bar(160,110,460,380);
setcolor(0);
rectangle(162,113,457,377);
rectangle(165,115,455,375);
end;
procedure win1(ea:word);
{Вводное окно}
begin
settextstyle(0,0,1);
setcolor(10);
if (ea mod 2)=0 then
begin
outtextxy(168,135,'Министерство Высшего образования РФ);
outtextxy(168,150,'Московский Государственный Институт');
outtextxy(168,160,' Электронной Техники ');
outtextxy(168,170,' (Технический лниверситет) ');
outtextxy(168,180,' Лицей №1557 ');
outtextxy(168,210,' КУРСОВАЯ РАБО'А ');
outtextxy(168,230,' ВлВычисление интеграла ');
outtextxy(168,245,' метедом Ньютона-КотесаВ» ');
outtextxy(158,270,' Написал: Коноплев А.А. ');
outtextxy(158,285,' Руководитель: доцент Колдаев В.Д.');
end
else
begin
outtextxy(168,135,' Department of High Education ');
outtextxy(168,150,' Moscow State Institute of ');
outtextxy(168,160,' Electronic Technics ');
outtextxy(168,170,' (Technics University) ');
outtextxy(168,180,' Lyceum №1557 ');
outtextxy(168,210,' COURSE WORK ');
outtextxy(168,230,' ВлCalculation of integral ');
outtextxy(168,245,' by Newton-Cotes methodВ» ');
outtextxy(158,270,' Author: Konoplev A.A. ');
outtextxy(158,285,' Supervisor:senior lecturer ');
outtextxy(158,300,' Koldaev V.D. ');
end;
end;
procedure win2(ea:word;var k:word);
{Окно выбора способа подсчета }
var
c:char;
x:integer;
f:string;
begin
setcolor(2);
setfillstyle(1,5);
bar(70,200,340,330);
rectangle(75,205,335,325);
rectangle(77,207,333,323);
settextstyle(0,0,0);
setfillstyle(1,15);
bar(80,250,330,270);
setfillstyle(1,5);
bar(80,285,330,305);
if ea mod 2 =0 then
begin
outtextxy(77,220,'Выбирете способ задания значений');
outtextxy(75,230,' функции. ');
outtextxy(70,255,' По таблице(в ручную)');
outtextxy(70,295,' По расчетам(автом т.)');
end
else
begin
outtextxy(77,220,' Choose a method of putting in');
outtextxy(75,230,' the values of function. ');
outtextxy(70,255,' By the table(by hand)');
outtextxy(70,295,' By calculations(automat.)');
end;
helpwin(ea);
if ea mod 2 =0 then
begin
outtextxy(360,140,'В этом способе необходимо');
outtextxy(360,155,'самостоятельно вводить');
outtextxy(360,170,'значения функции.');
end
else
begin
outtextxy(360,140,'In this method you have');
outtextxy(360,155,'to put in values of ');
outtextxy(360,170,'function by yourself.');
end;
x:=0;
repeat
if keypressed then
begin
c:=readkey;
if (c=#80) or (c=#72) then
x:=x+1;
setfillstyle(1,15);
if (x mod 2)=0 then
begin
bar(80,250,330,270);
setfillstyle(1,5);
bar(80,285,330,305);
helpwin(ea);
if ea mod 2 =0 then
begin
outtextxy(360,140,'В этом способе необходимо');
outtextxy(360,155,'самостоятельно вводить');
outtextxy(360,170,'значения функции.');
end
else
begin
outtextxy(360,140,'In this method you have');
outtextxy(360,155,'to put in values of ');
outtextxy(360,170,'function by yourself.');
end;
end
else
begin
bar(80,285,330,305);
setfillstyle(1,5);
bar(80,250,330,270);
helpwin(ea);
if ea mod 2 =0 then
begin
outtextxy(360,140,'В этом способе компьютер');
outtextxy(360,155,'сам вычесляет значения');
outtextxy(360,170,'функции по вводимой функции.');
end
else
begin
outtextxy(360,140,'In this method PC will');
outtextxy(360,155,'automaticly count the value');
outtextxy(360,170,'of function by the function');
outtextxy(360,185,'you enter ');
end;
end;
setcolor(2);
if ea mod 2 =0 then
begin
outtextxy(70,255,' По таблице(в ручную)');
outtextxy(70,295,' По расчетам(автом т.)');
end
else
begin
outtextxy(70,255,' By the table(by hand)');
outtextxy(70,295,' By calculations(automat.)');
end;
end;
until c=#13;
k:=x mod 2;
end;
procedure wwod1(ea:word;var y:array of double;var n:integer;var a,b:real);
{Окно ручного ввода функции}
var
i,p:integer;
s,f:string;
p1:real;
c:char;
begin
wwodn(ea,n);
if n=0 then
wwodn(ea,n);
newsc(ea);
wwodab(ea,a,b);
helpwin(ea);
if ea mod 2 =0 then
begin
outtextxy(360,140,'В этом окне необходимо');
outtextxy(360,155,'постепенно вводить');
outtextxy(360,170,'значения функции.');
outtextxy(360,185,'после каждого ввода');
outtextxy(360,200,'определенного значения');
outtextxy(360,215,'нажмите ENTER.');
end
else
begin
outtextxy(360,140,'In this window you have');
outtextxy(360,155,'to gradually enter the');
outtextxy(360,170,'values of functions.');
outtextxy(360,185,'After each enter press');
outtextxy(360,200,'ENTER key.');
end;
setfillstyle(1,9);
bar(40,200,330,300);
rectangle(45,205,325,295);
rectangle(47,207,323,293);
if ea mod 2 =0 then
outtextxy(56,227,'Введите 0 -е значение финкции:')
else
outtextxy(56,227,' Enter 0 -th value of function:');
for i:=0 to n do
begin
setfillstyle(1,0);
bar(137,250,180,273);
gotoxy(19,17);
setfillstyle(1,9);
read(p1);
y[i]:=p1;
bar(120,227,134,240);
str(i+1,s);
outtextxy(120,227,s);
bar(310,220,320,250);
end;
end;
procedure wwod2(ea:word;var ea1:word;var n:integer;var a,b:real;var st:string);
{Окно 2 меню автомат. подсчета}
var
i:integer;
c,k:char;
x:longint;
f:string;
begin
repeat
x:=-600000;
if keypressed then
c:=readkey;
c:='t';
newsc(ea);
setfillstyle(1,15);
bar(70,120,342,330);
setcolor(12);
rectangle(75,125,337,325);
rectangle(77,127,335,323);
settextstyle(0,0,0);
setfillstyle(1,11);
bar(80,170,330,190);
if ea mod 2 =0 then
begin
outtextxy(80,130,'Меню ввода параметров нахождения');
outtextxy(80,140,' интеграла');
outtextxy(80,180,' Ввести количество узлов(n)');
outtextxy(80,210,' Ввести приделы интегрирования');
outtextxy(80,240,' Ввести функцию');
outtextxy(80,270,' Считать интеграл');
outtextxy(80,300,' Выход ');
end
else
begin
outtextxy(80,130,'Menu of entering the parameters');
outtextxy(80,140,' of integral');
outtextxy(80,180,' Put in the number of units ');
outtextxy(80,210,' Enter the bounds of integral');
outtextxy(80,240,' Enter function');
outtextxy(80,270,' Count integral');
outtextxy(80,300,' Exit ');
end;
helpwin(ea);
if ea mod 2 =0 then
begin
outtextxy(360,140,' Нажмите Enter для');
outtextxy(360,155,' ввода количества узлов');
end
else
begin
outtextxy(360,140,' Press Enter to put');
outtextxy(360,155,' in the number of units');
end;
repeat
if keypressed then
begin
c:=readkey;
case c of
#80:
x:=x-1;
#72:
x:=x+1;
end;
setfillstyle(1,11);
case (abs(x) mod 5) of
0:
begin
bar(80,170,330,190);
setfillstyle(1,15);
bar(80,200,330,220);
bar(80,290,330,310);
helpwin(ea);
if ea mod 2 =0 then
begin
outtextxy(360,140,' Нажмите Enter для');
outtextxy(360,155,' ввода количества узлов');
end
else
begin
outtextxy(360,140,' Press Enter to put');
outtextxy(360,155,'in the number of units.');
end;
end;
1:
begin
bar(80,200,330,220);
setfillstyle(1,15);
bar(80,170,330,190);
bar(80,230,330,250);
helpwin(ea);
if ea mod 2 =0 then
begin
outtextxy(360,140,' Нажмите ENTER для ввода');
outtextxy(360,155,'приделов интегрирования.');
end
else
begin
outtextxy(360,140,' Press ENTER to put in');
outtextxy(360,155,'the bounds of integral.');
end;
end;
2:
begin
bar(80,230,330,250);
setfillstyle(1,15);
bar(80,200,330,220);
bar(80,260,330,280);
helpwin(ea);
if ea mod 2 =0 then
begin
outtextxy(360,140,' Нажмите ENTER для ввода');
outtextxy(360,155,'функции.');
end
else
begin
outtextxy(360,140,' Press ENTER to enter');
outtextxy(360,155,'function.');
end;
end;
3:
begin
bar(80,260,330,280);
setfillstyle(1,15);
bar(80,230,330,250);
bar(80,290,330,310);
helpwin(ea);
if ea mod 2 =0 then
begin
outtextxy(360,140,' Нажмите ENTER для начала');
outtextxy(360,155,'подсчета самого интеграла.');
end
else
begin
outtextxy(360,140,' Press ENTER to begin');
outtextxy(360,155,'integral calculations.');
end;
end;
4:
begin
bar(80,290,330,310);
setfillstyle(1,15);
bar(80,260,330,280);
bar(80,170,330,190);
helpwin(ea);
end;
end;
setcolor(12);
if ea mod 2 =0 then
begin
outtextxy(80,130,'Меню ввода параметров нахождения');
outtextxy(80,140,' интеграла');
outtextxy(80,180,' Ввести количество узлов(n)');
outtextxy(80,210,' Ввести приделы интегрирования');
outtextxy(80,240,' Ввести функцию');
outtextxy(80,270,' Считать интеграл');
outtextxy(80,300,' Выход ');
end
else
begin
outtextxy(80,130,'Menu of entering the parameters');
outtextxy(80,140,' of integral');
outtextxy(80,180,' Put in the number of units ');
outtextxy(80,210,' Enter the bounds of integral');
outtextxy(80,240,' Enter function');
outtextxy(80,270,' Count integral');
outtextxy(80,300,' Exit ');
end;
end;
until c=#13;
c:='t';
case (abs(x) mod 5) of
0:
begin
wwodn(ea,n);
end;
1:
wwodab(ea,a,b);
2:
begin
helpwin(ea);
setcolor(15);
setfillstyle(1,9);
bar(70,200,340,300);
rectangle(75,205,335,295);
rectangle(77,207,333,293);
if ea mod 2 =0 then
begin
outtextxy(86,227,'Введите функцию f(x):');
setcolor(14);
outtextxy(360,140,' В этом окне необходимо');
outtextxy(360,155,' ввести саму функцию.');
outtextxy(360,200,'Примечание: 1.данная программа ');
outtextxy(360,215,'распознает только ');
outtextxy(360,230,'элементарные функции.');
outtextxy(360,245,'(x,cos(x) и др.)');
outtextxy(360,260,’2.При неправильном вводе’);
outtextxy(360,275,’по умолчанию f(x)=x;’);
outtextxy(360,275,’3.Если после нажатия ENTER’);
outtextxy(360,275,’ничего не произошло, то
outtextxy(360,275,’занововведите функцию.’);
end
else
begin
outtextxy(86,227,'Enter function f(x):');
setcolor(14);
outtextxy(360,140,' In this window you have');
outtextxy(360,155,' to enter the function.');
outtextxy(360,200,'Note: This version of ');
outtextxy(360,215,'programm can indentify only ');
outtextxy(360,230,'simple functions, as');
outtextxy(360,245,'x,cos(x) and other.');
end;
setfillstyle(1,0);
bar(86,255,330,275);
readln;
gotoxy(13,17);
read(st);
writeln(st);
readln;
end;
3:if (n<=0)or(a=b)or(st='') then
error(ea);
4:
halt;
end;
until (n>0)and(a<>b)and(st<>'')and((abs(x) mod 5)=3);
end;
procedure win3(ea:word;n:integer;a,b:real;int:double;f:string;h:array of double;var k:word);
{Последнее окно просмотра результатов}
var
i:integer;
c:char;
x:longint;
p1,p:string;
y:array[0.16] of double;
begin
funktia(n,a,b,y,1,f);
f:='('+f+')'+'dx =';
repeat
x:=-600000;
newsc(ea);
setfillstyle(1,2);
bar(170,120,490,360);
setcolor(14);
rectangle(175,125,485,355);
rectangle(177,127,483,353);
settextstyle(0,0,0);
setfillstyle(1,1);
bar(180,170,480,190);
if ea mod 2 =0 then
begin
outtextxy(180,135,Функция распознана.Интеграл подсчитан.');
outtextxy(180,180,' Посмотреть значение интеграла');
outtextxy(180,210,'Посмотреть коэффициенты Ньютона-Котеса');
outtextxy(180,240,' Посмотреть значения функции');
outtextxy(180,270,' Посмотреть график' );
outtextxy(180,300,' Считать снова');
outtextxy(180,330,' Выход ');
end
else
begin
outtextxy(180,135,'Function Indentified.Integral counted.');
outtextxy(180,180,' View value of integral');
outtextxy(180,210,' View Newton-Cotes coefficients');
outtextxy(180,240,' Veiw values of function');
outtextxy(180,270,' View graphik ' );
outtextxy(180,300,' Count again');
outtextxy(180,330,' Exit ');
end;
repeat
if keypressed then
begin
c:=readkey;
case c of
#80:
x:=x-1;
#72:
x:=x+1;
end;
setfillstyle(1,1);
case (abs(x) mod 6) of
0:
begin
bar(180,170,480,190);
setfillstyle(1,2);
bar(180,200,480,220);
bar(180,320,480,340);
end;
1:
begin
bar(180,200,480,220);
setfillstyle(1,2);
bar(180,170,480,190);
bar(180,230,480,250);
end;
2:
begin
bar(180,230,480,250);
setfillstyle(1,2);
bar(180,200,480,220);
bar(180,260,480,280);
end;
3:
begin
bar(180,260,480,280);
setfillstyle(1,2);
bar(180,230,480,250);
bar(180,290,480,310);
end;
4:
begin
bar(180,290,480,310);
setfillstyle(1,2);
bar(180,260,480,280);
bar(180,320,480,340);
end;
5:
begin
bar(180,320,480,340);
setfillstyle(1,2);
bar(180,290,480,310);
bar(180,170,480,190);
end;
end;
if ea mod 2 =0 then
begin
outtextxy(180,135,'Функция распознана.Интеграл подсчитан.');
outtextxy(180,180,' Посмотреть значение интеграла');
outtextxy(180,210,'Посмотреть коэффициенты Ньютона-Котеса');
outtextxy(180,240,' Посмотреть значения функции');
outtextxy(180,270,' Посмотреть график ' );
outtextxy(180,300,' Считать снова');
outtextxy(180,330,' Выход ');
end
else
begin
outtextxy(180,135,'Function Indentified.Integral counted.');
outtextxy(180,180,' View value of integral');
outtextxy(180,210,' View Newton-Cotes coefficients');
outtextxy(180,240,' Veiw values of function');
outtextxy(180,270,' View graphik ' );
outtextxy(180,300,' Count again');
outtextxy(180,330,' Exit ');
end;
end;
until c=#13;
c:='t';
case (abs(x) mod 6) of
0:begin
setcolor(15);
setfillstyle(1,12);
bar(140,200,490,280);
rectangle(145,205,485,275);
rectangle(147,207,483,273);
settextstyle(2,0,1);
setusercharsize(1,1,5,1);
outtextxy(170,210,'S');
settextstyle(2,0,4);
str(a:3:3,p);
outtextxy(160,257,p);
str(b:3:3,p);
outtextxy(160,212,p);
settextstyle(3,0,2);
outtextxy(180,224,f);
p:='';
str(abs(int):7:3,p);
outtextxy(190+length(f)*12,224,p);
readln;
end;
1:
begin
newsc(ea);
setfillstyle(1,2);
bar(170,120,490,180+n*15);
setcolor(14);
rectangle(175,125,485,175+n*15);
rectangle(177,127,483,173+n*15);
if ea mod 2 =0 then
begin
outtextxy(180,130,'Коэффициенты Ньютона-Котеса:');
outtextxy(180,140+(n+1)*15,'Нажмите ENTER для продолжения');
end
else
begin
outtextxy(180,130,'Newton-Cotes coefficients:');
outtextxy(180,140+(n+1)*15,'Press ENTER to continue');
end;
hkoef(n,h);
for i:=0 to n do
begin
str(i,p);str(h[i]:2:4,p1);
p:='H'+p+' = '+p1;
outtextxy(180,140+i*15,p);
end;
readln;
end;
2:begin
newsc(ea);
setfillstyle(1,2);
bar(170,120,490,180+n*15);
setcolor(14);
rectangle(175,125,485,175+n*15);
rectangle(177,127,483,173+n*15);
if ea mod 2 =0 then
begin
outtextxy(180,130,'Значения функции:');
outtextxy(180,140+(n+1)*15,'Нажмите ENTER для продолжения');
end
else
begin
outtextxy(180,130,'Values of function:');
outtextxy(180,140+(n+1)*15,'Press ENTER to continue');
end;
for i:=0 to n do
begin
str(i,p);str(y[i]:2:4,p1);
p:='Y'+p+' = '+p1;
p1:='';
outtextxy(180,140+i*15,p);
str((a+i*(b-a)/n):2:4,p1);
str(i,p);
if ea mod 2 = 0 then
p:=',При '+'X'+p+' = '+p1
else
p:=',When '+'X'+p+' = '+p1;
outtextxy(285,140+i*15,p);
end;
readln;
end;
3:
graphik(ea,a,b,f);
5:
begin
closegraph;
halt;
end;
end;
until (abs(x) mod 6)=4;
k:=abs(x) mod 6;
end;
end.
================================================
========МОДУЛЬ GRAPHIC========
================================================
unit graphic;
interface
uses
k_unit,crt,graph;
procedure hwg(ea:word);
procedure graphik(ea:word;a,b:real;f1:string);
implementation
procedure hwg(ea:word);
{Процедура окна помощи при графике}
var
f:string;
begin
settextstyle(0,0,0);
setfillstyle(1,3);
bar(150,100,390,380);
setcolor(0);
rectangle(153,103,387,377);
rectangle(155,105,385,375);
setcolor(14);
if ea mod 2 =0 then
begin
outtextxy(160,115,' ОКНО ПОМОЩИ');
outtextxy(160,140,' Для работы с графиком');
outtextxy(160,155,' используйте клавиши:');
outtextxy(160,180,' PAGE UP-первоначальный');
outtextxy(160,195,' вид графика;');
outtextxy(160,210,' HOME-начальный масштаб;');
outtextxy(160,225,' INSERT-включить/выключеть');
outtextxy(160,240,' заливку области;');
outtextxy(160,255,' DELETE-включить/выключеть');
outtextxy(160,270,' сетку;');
outtextxy(160,285,' END-показать/убрать цифры');
outtextxy(160,300,' F1- Помощь;');
outtextxy(160,315,' Стрелки ВВЕРХ/ВНИЗ- ');
outtextxy(160,330,' увеличение/уменьшение');
outtextxy(160,345,' масштаб .');
outtextxy(160,360,'Для возрата нажмите ENTER.');
end
else
begin
outtextxy(160,115,' HELP WINDOW');
outtextxy(160,140,' For the work with graphic');
outtextxy(160,155,' use this keys:');
outtextxy(160,180,' PAGE UP-Primery form of');
outtextxy(160,195,' graphik;');
outtextxy(160,210,' HOME-Primery scale;');
outtextxy(160,225,' INSERT-Turn on/off inking');
outtextxy(160,240,' the field;');
outtextxy(160,255,' DELETE-Turn on/off the');
outtextxy(160,270,' net;');
outtextxy(160,285,' END-View/delete the figures');
outtextxy(160,300,' F1- Help;');
outtextxy(160,315,' Arrows UP/DOWN-Increase/ ');
outtextxy(160,330,' lower the scale;');
outtextxy(160,360,'Press ENTER to continue.');
end;
readln;
setcolor(15);
end;
procedure graphik(ea:word;a,b:real;f1:string);
{процедура построения графиков}
var
f,f2:string;
d:char;
i,v,r:integer;
x1,x2,n,p,x:integer;
c,k,k1:longint;
y:array[0.1] of double;
begin
x1:=-240;
x2:=240;
c:=24;
setcolor(15);
n:=0;v:=0;r:=0;
repeat
cleardevice;
settextstyle(0,0,0);
if ea mod 2 =0 then
begin
outtextxy(10,1,'Нажмите F1 для помощи');
str(c/24:2:2,f);
f:='Масштаб '+f+':1';
end
else
begin
outtextxy(10,1,'Press F1 for help');
str(c/24:2:2,f);
f:='Scale '+f+':1';
end;
outtextxy(200,1,f);
settextstyle(3,0,1);
outtextxy(307,10,'y');
outtextxy(574,235,'x');
outtextxy(310,240,'0');
setlinestyle(1,7,100);
line(70,240,580,240);
line(320,20,320,460);
line(320,20,315,25);
line(321,20,326,25);
line(580,239,575,244);
line(580,240,575,235);
line(70,239,580,239);
line(321,20,321,460);
for i:=-9 to 10 do
begin
if ((320+i*24)<561) and ((320+i*24)>71) then
line(320+i*24,240,320+i*24,242);
if ((240+i*24)<461)and(240+i*24>19) then
line(320,240+i*24,322,240+i*24);
end;
setcolor(15);
for x:= -240+round((240+x1)/10) to 240+round((240+x1)/10) do
begin
funktia(1,x-1,x,y,c,f1);
k:=round(240-(y[0])*c);
k1:=round(240-(y[1])*c);
if ((k<480)and(k>0)or(k1<480)and(k1>0)) then
line(319-round((240+x1)/10)+x,k,320-round((240+x1)/10)+x,k1);
end;
if (v mod 2)=0 then
begin
funktia(1,a,b,y,1,f1);
k:=round(240-(y[0])*c);
k1:=round(240-(y[1])*c);
line(320-round((240+x1)/10)+round(a*c),k,320-round((240+x1)/10)+round(a*c),240);
line(320-round((240+x1)/10)+round(b*c),k1,320-round((240+x1)/10)+round(b*c),240);
if 320-round((240+x1)/10)+a*c<80 then
begin
funktia(1,-240/c,240/c,y,1,f1);
k:=round(240-(y[0])*c);
line(80,k,80,240);
end;
if 320-round((240+x1)/10)+b*c>560 then
begin
funktia(1,(-240-round((240+x1)/10))/c,(240-round((240+x1)/10))/c,y,1,f1);
k1:=round(240-(y[1])*c);
line(560,k1,560,240);
end;
for x:= -240 to 240 do
begin
funktia(1,x-1,x,y,c,f1);
k1:=round(240-(y[1])*c);
if ((x/c)>a) and ((x/c)0) then
begin
if (abs(240-k1)>2) then
begin
if k1<240 then
k1:=k1+1
else
k1:=k1-1;
if c>7 then
setfillstyle(6,3)
else
setfillstyle(1,3);
floodfill(320-round((240+x1)/10)+x,k1,15);
end;
end;
end;
end;
str(x1,f2);
outtextxy(1,450,f2);
if (n mod 2)=0 then
for i:=-9 to 10 do
begin
settextstyle(2,0,2);
setcolor(14);
if ((320+i*24)<561) and ((320+i*24)>71)and(i<>0) then
begin
str((i*24+round((240+x1)/10))/c:2:2,f);
p:=247;
outtextxy(310+i*24,p,f);
str(-i*24/c:2:2,f);
outtextxy(330,240+i*24,f);
end;
end;
for i:=-9 to 10 do
begin
setcolor(15);
if ((r mod 2)=1) and (i<>0) then
begin
if ((320+i*24)<561) and ((320+i*24)>71) then
line(320+i*24,20,320+i*24,460);
if ((240+i*24)<461)and(240+i*24>19) then
line(80,240+i*24,560,240+i*24);
end;
end;
setcolor(15);
d:=readkey;
case d of
#75:
begin
x1:=x1-30;
x2:=x2-30;
end;
#77:
begin
x1:=x1+30;
x2:=x2+30;
end;
#80:
if c>1 then
c:=c-1;
#72:
c:=c+1;
#71:
c:=24;
#79:
n:=n+1;
#83:
r:=r+1;
#82:
v:=v+1;
#73:
begin
c:=24;
n:=0;r:=0;v:=0;x1:=-240;x2:=240;
end;
#59:
hwg(ea);
end;
until d=#13;
end;
end.
================================================
==========МОДУЛЬ UNIT==========
================================================
{$N+}
Unit k_unit;
{Модуль нахождения интеграл от многочлена q(q-1).(q-i+1)(q-i-1).(q-n),}
{где n-точность интеграла ,i-номер коофициента. }
interface
procedure rasposn(f:string;x:real;var ec:word;var t:real);
procedure hkoef(n:integer;var h:array of double);
procedure funktia(n:integer;a,b:real;var y:array of double;c:real;f:string);
procedure koef(w:array of double;n:integer;var e:array of double);
procedure mnogochlen(n,i:integer;var c:array of double);
function facktorial(n:integer):double;
function integral(w:array of double;n:integer):double;
function mainint(n:integer;a,b:real;y:array of double):double;
implementation
procedure rasposn(f:string;x:real;var ec:word;var t:real);
{Процедура распознования функции}
var
k:word;
begin
k:=pos('x',f);
if k<>0 then
begin {Распознавание функции}
ec:=1; {Код ошибки}
t:=x;
k:=pos('abs(x)',f);
if k<>0 then t:=abs(x);
k:=pos('sin(x)',f);
if k<>0 then t:=sin(x);
k:=pos('cos(x)',f);
if k<>0 then t:=cos(x);
k:=pos('arctg(x)',f);
if k<>0 then t:=arctan(x);
k:=pos('sqr(x)',f);
if k<>0 then t:=x*x;
k:=pos('exp(x)',f);
if k<>0 then t:=exp(x);
k:=pos('cos(x)*x',f);
if k<>0 then t:=cos(x)*x;
k:=pos('ln(x)',f);
if k<>0 then
begin
if x>0 then t:=ln(x)
else
t:=0;
end;
k:=pos('sqrt(x)',f);
if k<>0 then
if x>=0 then t:=sqrt(x)
else t:=0;
k:=pos('arcctg(x)',f);
if k<>0 then t:=pi/2-arctan(x);
k:=pos('sin(x)/x',f);
if k<>0 then if x<>0 then t:=sin(x)/x;
end
else
ec:=0;
end;
procedure funktia(n:integer;a,b:real;var y:array of double;c:real;f:string);
{Процедур подсчет Y-ков и распознавания функции}
var
t,h,x:real;
k,i:integer;
es:word;
begin
h:=(b-a)/n;
for i:=0 to n do
begin
x:=(a+h*i)/c;
rasposn(f,x,es,t);
y[i]:=t;
end;
end;
procedure koef(w:array of double;n:integer;var e:array of double);
{Изменение коофициентов для интеграла}
var
t:integer;
begin
for t:=1 to n do
e[t]:=w[t]/(n-t+2);
end;
procedure mnogochlen(n,i:integer;var c:array of double);
{процедура нахождения коофициентов при Q^n(q в степени n )}
var
k,j:integer;
d:array[1.100] of double;
begin
d[1]:=1;
for j:=1 to n do
begin {Вычисление коэффициентов при раскрытии q*(q-1)*(q-2)*.*(q-n)}
d[j+1]:=d[j]*j*(-1);
if j>1 then
for k:=j downto 2 do
d[k]:=d[k]+d[k-1]*j*(-1);
end;
c[1]:=d[1]; {Деление многочлена на (q-i) по схеме Горнера}
for j:=1 to n+1 do
c[j]:=i*c[j-1]+d[j];
koef(c,n,c); {Изменение коэффициентов при интегрировании}
end;
function facktorial(n:integer):double;
{функция нахождения факториала }
var
t:integer;
s:double;
begin
s:=1;
if n=0 then
s:=1
else
for t:=1 to n do
s:=s*t;
facktorial:=s;
end;
function integral(w:array of double;n:integer):double;
{функция подсчета самого интеграла}
var
t,p:integer;
s,c:double;
begin
s:=0;p:=n;
for t:=0 to p+1 do
s:=s+w[t]*exp((p-t+2)*ln(p)); {Подсчет интеграла}
integral:=s;
end;
procedure hkoef(n:integer;var h:array of double);
{Процедура подсчета коэф. Ньютона-Котеса}
var
p,j,d,c,i:integer;
kq:array[0.20] of double;
s:array[0.20] of double;
begin
p:=n;
if (p mod 2)=1 then {Вычисление половины от всех вычислений коэффициентов}
d:=round((p-1)*0.5)
else
d:=round(0.5*p);
for i:=0 to n do
begin
mnogochlen(p,i,kq);
s[i]:=integral(kq,p); {Формирование массива из интегралов}
end;
for i:=0 to d do
begin
if ((p-i) mod 2) = 0 then
c:=1
else
c:=(-1);
h[i]:=(c*s[i])/(facktorial(i)*facktorial(p-i)*p);
h[p-i]:=h[i];
end;
end;
function mainint(n:integer;a,b:real;y:array of double):double;
{функция подсчета основного интеграла}
var
sum:double;
p,i:integer;
kq,h:array[0.20] of double;
begin
p:=n;
hkoef(n,h);
sum:=0;
for i:=0 to p do
sum:=sum+h[i]*y[i]; {Сумма произведений y-ков на коэффициенты}
mainint:=sum*(b-a);
end;
end.
================================================
=======ОСНОВНАЯ ПРОГРАММА=======
================================================
{$N+}
program Newton_Cotes_metod;{Программа нахождения определенного интеграла}
uses {методом Ньютона-Котеса }
k_unit,k_graph,graph,crt;
const
t=15;
var
c:char;
a1,b1,a,b:real;
n1,v,r,n:integer;
h,y:array[0.t] of double;
ea,k:word;
int:double;
f:string;
begin
ea:=10;
v:=detect;
initgraph(v,r,'');
cleardevice;
newsc(ea);
winwin1;
setcolor(15);
outtextxy(380,430,'Нажмите F2 для смены языка.');
repeat
win1(ea);
settextstyle(3,0,1);
outtextxy(178,340,'Press Enter..');
delay(13000);
bar(178,340,350,365);
delay(13000);
if keypressed then {Смена языка}
begin
c:=readkey;
if c=#60 then
begin
ea:=ea+1;
newsc(ea);
winwin1;
setcolor(15);
if ea mod 2 =0 then
outtextxy(380,430,'Нажмите F2 для смены языка.')
else
outtextxy(380,430,'Press F2 key to change language.');
end;
end;
until c=#13;
repeat
newsc(ea);
win2(ea,k); {Ввод способа задания функции}
case k of
0:
wwod1(ea,y,n,a,b);
1:
begin
wwod2(ea,ea,n1,a1,b1,f);
n:=n1;a:=a1;b:=b1;
k:=4;
end;
end;
if k=4 then
funktia(n,a,b,y,1,f);
int:=mainint(n,a,b,y); {Вычисление интеграла}
hkoef(n,h);
proline(ea);
win3(ea,n,a,b,int,f,h,k); {Последнее меню вывода результатов}
until k<>4;
closegraph;
end.
![]()







![]()
Рассмотрим результаты тестовых испытаний для функций sin(x) на интервале [-5;3] и exp(x) на интервале [2;8]
| n=1 | n=2 | n=3 | n=4 | n=5 | n=7 | |
| Sin(x) | 4,040017 | 3,02112 | 0,087629 | 1,779012 | 1,537481 | 1,246 |
| Exp(x) | 8965,041 | 3581,999 | 3271,82 | 3002,908 | 2990,644 | 2974,322 |
| N=9 | n=12 | |||||
| 1,273561 | 1,27366 | |||||
| 2973,593 | 2973,569 | |||||
Видно, что при увеличении числа узлов интерполяции точность растет, однако при больших n (n>15) наблюдался обратный эффект.
Рекомендуемый диапозон n: от 7 до 13.
![]()
Интерфейс программы составлен на 2 языках: русском и английском. Переход с одного языка на другой осуществляется в вводном окне путем нажатия клавишы F2. Сменить язык можно только в этой части программы.
При вводе значений функции вручную необходимо вводить только цифры и после каждого ввода нажимать клавишу ENTER.
При испытании программы под разные операционные системы(Dos, Windows 98-2k,NT, из под паскаля) происходил непонятный баг с неверным выводом на экран значений коэффициентов Ньютона-Котес
Вместе с этим смотрят:
Arvutite ja interneti kasutamine eesti elanike hulgas
