Литьё цветных металлов в металлические формы - кокили
Министерство образования Российской Федерации
КУБАНСКИЙ ГОСУДАРСТВЕННЫЙ ТЕХНОЛОГИЧЕСКИЙ УНИВЕРСИТЕТ
Кафедра АПП
тАЬЛитьё цветных металлов в металлические формы (кокили)тАЭ.
Выполнил: студент
Группы 01-КТ-61
Агранович Олег
Проверил: Лецик В.И.
Краснодар 2003 год.
ОГЛАВЛЕНИЕ
ОГЛАВЛЕНИЕ. 2
СУЩНОСТЬ ПРОЦЕССА. ОСНОВНЫЕ ОПЕРАЦИИ. ОБЛАСТЬ ИСПОЛЬЗОВАНИЯ. 3
КОКИЛИ. 6
Общие сведения. 6
Элементы конструкции кокилей. 7
Материалы для кокилей. 9
Изготовление кокилей. 10
Стойкость кокилей и пути ее повышения. 11
ТЕХНОЛОГИЯ ЛИТЬЯ В КОКИЛЬ. 13
Технологические режимы литья. 13
Особенности изготовления отливок из различных сплавов. 15
Отливки из алюминиевых сплавов. 16
Отливки из магниевых сплавов. 19
Отливки из медных сплавов. 20
Финишные операции и контроль отливок из цветных сплавов. 21
Дефекты отливок из цветных сплавов и меры их предупреждения. 21
СУЩНОСТЬ ПРОЦЕССА. ОСНОВНЫЕ ОПЕРАЦИИ. ОБЛАСТЬ ИСПОЛЬЗОВАНИЯ
Кокиль (от франц. coquille) тАФ металлическая форма, которая заполняется расплавом под действием гравитационных сил. В отВнличие от разовой песчаной формы кокиль может быть использован многократно. Таким образом, сущность литья в кок и ли состоит в применении металлических материалов для изготовления многократно используемых литейных форм, металлические части которых составляют их основу и формируют конфигурацию и свойства отливки.
Кокиль (рис. 2.1) обычно состоит из двух полуформ 1, плиты 2, вставок 10. Полуформы взаимно центрируются штырями 8, и перед заливкой их соединяют замками 9. Размеры рабоВнчей полости 13 кокиля больше размеров отливки на величину усадки сплаВнва. Полости и отверстия в отливке могут быть выВнполнены металлическими 11 или песчаными 6 стержВннями, извлекаемыми из отВнливки после ее затвердеваВнния и охлаждения до заВнданной температуры. РасВнплав заливают в кокиль через литниковую систему 7, выполненную в его стенВнках, а питание массивных
![]()
узлов отливки осущестВнвляется из прибылей (питающих выпоров) 3. При заполнении коВнкиля расплавом воздух и газы удаляются из его рабочей полости через вентиляционные выпоры 4, пробки 5, каналы 12, образующие вентиляционную систему кокиля.
Основные элементы кокиля тАФ полуформы, плиты, вставки, стержни т. д.тАФ обычно изготовляют из чугуна или стали. Выше рассмотрен кокиль простой конструкции, но в практике используют кокили различных, весьма сложных конструкций.
Основные операции технологического процесса.
Перед заливВнкой расплава новый кокиль подготовляют к работе: поверхность рабочей полости и разъем тщательно очищают от следов загрязВннений, ржавчины, масла; проверяют легкость перемещения подВнвижных частей, точность их центрирования, надежность креплеВнния. Затем на поверхность рабочей полости и металлических стержней наносят слой огнеупорного покрытия (рис. 2.2, а) тАФ облицовки и краски. Состав облицовок и красок зависит в основВнном от заливаемого сплава, а их толщина тАФ от требуемой скорости охлаждения отливки: чем толще слой огнеупорного покрытия, тем медленнее охлаждается отливка. Вместе с тем слой огнеупорного покрытия предохраняет рабочую поверхность формы от резкого повышения ее температуры при заливке, расплавления и схватыВнвания с металлом отливки. Таким образом, облицовки и краски выполняют две функции: защищают поверхность кокиля от резкого нагрева и схватывания с отливкой и позволяют регулировать скорость охлаждения отливки, а значит, и процессы ее затвердеВнвания, влияющие на свойства металла отливки.
Перед нанесением огнеупорного покрытия кокиль нагревают гаВнзовыми горелками или электрическими нагреваВнтелями до температуры 423тАФ453 К. Краски наноВнсят на кокиль обычно в виде водной суспензии чеВнрез пульверизатор. Капли водной суспензии, попадая на поверхность нагретого кокиля, испаряются, а огВннеупорная составляющая ровным слоем покрывает поверхность.
После нанесения огнеВнупорного покрытия кокиль нагревают до рабочей темВнпературы, зависящей в осВнновном от состава залиВнваемого сплава, толщины стенки отливки, ее размеВнров, требуемых свойств. Обычно температура нагрева кокиля перед заливкой 473тАФ623 К. Затем в кокиль устанавливают песчаные или керамические стержни (рис. 2.2, б), если таковые необходимы для получеВнния отливки; половины кокиля соединяют (рис. 2.2, в) и скрепВнляют специальными зажимами, а при установке кокиля на коВнкильной машине с помощью ее механизма запирания, после чего заливают расплав в кокиль. Часто в процессе затвердевания и охлаждения отливки, после того как отливка приобретет достаточную прочность, металлические стержни ВлподрываютВ», т. е. частично извлекают из отливки (рис. 2.2, г) до ее извлечения из кокиля. Это делают для того, чтобы уменьшить обжатие усаживающейся отливкой металлического стержня и обеспечить его извлечение из отливки. После охлаждения отливки до заданной температуры кокиль раскрывают, окончательно извлекают металВнлический стержень и удаляют отливку из кокиля (рис. 2.2, д). Из отливки выбивают песчаный стержень, обрезают литники, прибыли, выпоры, контролируют качество отливки. Затем цикл повторяется.
Перед повторением цикла осматривают рабочую поверхность кокиля, плоскость разъема. Обычно огнеупорную краску наносят на рабочую поверхность кокиля 1тАФ2 раза в смену, изредка восстаВннавливая ее в местах, где она отслоилась от рабочей поверхВнности. После этого при необходимости, что чаще бывает при литье тонкостенных отливок или сплавов с низкой жидкотекучестью, кокиль подогревают до рабочей температуры, так как за время извлечения отливки и окраски рабочей поверхности он охлаждаетВнся. Если же отливка достаточно массивная, то, наоборот, кокиль может нагреваться ее теплотой до температуры большей, чем требуемая рабочая, и перед следующей заливкой его охлаждают. Для этого в кокиле предусматривают специальные системы охлаждения,
Как видно, процесс литья в кокиль тАФ малооперацион-н ы и. Манипуляторные операции достаточно просты и кратковре-менны, а лимитирующей по продолжительности операцией являетВнся охлаждение отливки в форме до заданной температуры. ПрактиВнчески все операции могут быть выполнены механизмами машины или автоматической установки, что является существенным преиВнмуществом способа, и, конечно, самое главное тАФ исключается трудоемкий и материалоемкий процесс изготовления формы: КоВнкиль используется многократно.
Особенности формирования и качество отливок. Кокиль тАФ металлическая форма, обладающая по сравнению с песчаной знаВнчительно большей теплопроводностью, теплоемкостью, прочВнностью, практически нулевыми газопроницаемостью и газотвор-. ностью. Эти свойства материала кокиля обусловливают рассмотВнренные ниже особенности его взаимодействия с металлом отливки.
1. Высокая эффективность теплового взаимодействия между отливкой и формой: расплав и затвердевающая отливка охлажВндаются в кокиле быстрее, чем в песчаной форме, т. е. при одинакоВнвых гидростатическом напоре и температуре заливаемого расплава заполняемость кокиля обычно хуже, чем песчаной формы. Это осложняет получение в кокилях отливок из сплавов с пониженной жидкотекучестью и ограничивает минимальную толщину стенок и размеры отливок. Вместе с тем повышенная скорость охлаждеВнния способствует получению плотных отливок с мелкозернистой структурой, что повышает прочность и пластичность металла отлиВнвок. Однако в отливках из чугуна, получаемых в кокилях, вследВнствие особенностей кристаллизации часто образуются карбиды, ферритографитная эвтектика, отрицательно влияющие на свойства чугуна: снижается ударная вязкость, износостойкость, резко возВнрастает твердость в отбеленном поверхностном слое, что затрудняВнет обработку резанием таких отливок и приводит к необходимости подвергать их термической обработке (отжигу) для устранения отбела.
2. Кокиль практически неподатлив и более интенсивно препятВнствует усадке отливки, что затрудняет извлечение ее из формы, может вызвать появление внутренних напряжений, коробление и трещины в отливке.
Однако размеры рабочей полости кокиля могут быть выполВннены значительно точнее, чем песчаной формы. При литье в кокиль отсутствуют погрешности, вызываемые расталкиванием модели, упругими и остаточными деформациями песчаной формы, сниВнжающими точность ее рабочей полости и соответственно отливки. Поэтому отливки в кокилях получаются более точными. Точность отливок в кокилях обычно соответствует 12тАФ15-ам квалитетам по СТ СЭВ 145тАФ75. При этом точность по 12-му квалитету возВнможна для размеров, расположенных в одной части формы. Точность размеров, расположенных в двух и более частях формы, а также оформляемых подвижными частями формы, ниже. КоэфВнфициент точности отливок по массе достигает 0,71, что обеспеВнчивает возможность уменьшения припусков на обработку резаВннием.
3. Физико-химическое взаимодействие металла отливки и коВнкиля минимально, что способствует повышению качества поверхВнности отливки. Отливки в кокиль не имеют пригара. ШероховаВнтость поверхности отливок определяется составами облицовок и красок, наносимых на поверхность рабочей полости формы, и соответствует Rz = 80-10 мкм, но может быть и меньше.
4. Кокиль практически газонепроницаем, но и газотворность его минимальна и определяется в основном составами огнеупорВнных покрытий, наносимых на поверхность рабочей полости. Однако газовые раковины в кокильных отливках тАФ явление не редкое. Причины их появления различны, но в любом случае расположение отливки в форме, способ подвода расплава и вентиляционная система должны обеспечивать удаление воздуха и газов из кокиля при заливке.
Эффективность производства и область применения. ЭффекВнтивность производства отливок в кокиль, как, впрочем, и других способов литья, зависит от того, насколько полно и правильно инженер-литейщик использует преимущества этого процесса, учиВнтывает его особенности и недостатки в условиях конкретного проВнизводства.
Ниже приведены преимущества литья в кокиль на основе
производственного опыта.
1. Повышение производительности труда в результате исклюВнчения трудоемких операций смесеприготовления, формовки, очистВнки отливок от пригара. Поэтому использование литья в кокили, по данным различных предприятий, позволяет в 2тАФ3 раза повыВнсить производительность труда в литейном цехе, снизить капитальВнные затраты при строительстве новых цехов и реконструкции существующих за счет сокращения требуемых производственных площадей, расходов на оборудование, очистные сооружения, увеВнличить съем отливок с 1 м площади цеха.
2. Повышение качества отливки, обусловленное использоваВннием металлической формы, повышение стабильности показателей качества: механических свойств, структуры, плотности, шероховаВнтости, точности размеров отливок.
3. Устранение или уменьшение объема- вредных для здоровья работающих операций выбивки форм, очистки отливок от пригара, их обрубки, общее оздоровление и улучшение условий труда, меньшее загрязнение окружающей среды.
4. Механизация и автоматизация процесса изготовления отВнливки, обусловленная многократностью использования кокиля. При литье в кокиль устраняется сложный для автоматизации процесс изготовления литейной формы. Остаются лишь сборочные операции: установка стержней, соединение частей кокиля и их крепление перед заливкой, которые легко автоматизируются. ВмеВнсте с тем устраняется ряд возмущающих факторов, влияюВнщих па качество отливок при лигье в песчаные формы, таких, как влажность, прочность, газопроницаемость формовочной смеси, что делает процесс литья в кокиль более управляемым. Для получения отливок заданного качества легче осуществить автоматическое регулирование технологических параметров процесса. АвтоматиВнзация процесса позволяет улучшить качество отливок, повысить эффективность производства, изменить характер труда литейщиВнка-оператора, управляющего работой таких комплексов.
Литье в кокили имеет и недостатки.
1. Высокая стоимость кокиля, сложность и трудоемкость его
изготовления.
2. Ограниченная стойкость кокиля, измеряемая числом годных отливок, которые можно получить в,данном кокиле (см. табл. 2.3). От стойкости кокиля зависит экономическая эффективность проВнцесса особенно при литье чугуна и стали, и поэтому повышение стойкости кокиля является одной из важнейших проблем техноВнлогии кокильного литья этих сплавов.
3. ложность получения отливок с поднутрениями, для выполВннения которых необходимо усложнять конструкцию формы тАФ делать дополнительные разъемы, использовать вставки, разъемВнные металлические или песчаные стержни.
4. Отрицательное влияние высокой интенсивности охлаждения расплава в кокиле по сравнению с песчаной формой. Это ограниВнчивает возможность получения тонкостенных протяженных отлиВнвок, а в чугунных отливках приводит к отбелу поверхностного слоя, ухудшающему обработку резанием; вызывает необходимость термической обработки отливок.
5. Неподатливый кокиль приводит к появлению в отливках напряжений, а иногда к трещинам.
Преимущества и недостатки этого способа определяют р а-циональную область его использования: экономически целесообразно вследствие высокой стоимости кокилей применять этот способ литья только в серийном или массовом производстве. Серийность при литье чугуна должна составлять более 20 крупных , или более 400 мелких отливок в год, а при литье алюминиевых тАФ не менее 400тАФ700 отливок в год.
Эффективность литья в кокиль обычно определяют в сравнеВннии с литьем в песчаные формы. Экономический эффект достигается благодаря устранению формовочной смеси, повышению каВнчества отливок, их точности, уменьшению припусков на обработку, снижению трудоемкости очистки и обрубки отливок, механизации и автоматизации основных операций и, как следствие, повышению производительности и улучшению условий труда.
Таким образом, литье в кокиль с полным основанием следует отнести к трудо- и материалосберегающим, малооперационным и малоотходным технологическим процессам, улучшающим услоВнвия труда в литейных цехах и уменьшающим вредное воздействие на окружающую среду.
КОКИЛИОбщие сведения
В производстве используют кокили различных конструкций.
Классификация конструкций кокилей. В зависимости от распоВнложения поверхности разъема кокили бывают: неразъемные (вытряхные); с вертикальной плоскостью разъема; с горизонтальВнной плоскостью разъема; со сложной (комбинированной) поверхВнностью разъема.
Неразъемные, или вытряхные, кокили (рис. 2.3) применяют в тех случаях, когда конструкция отливки позволяет удалить ее вместе с литниками из полости кокиля без его разъема. Обычно эти отливки имеют достаточно простую конфигурацию.
![]()
Кокили с вертикальной плоскостью разъема (см. рис. 2.1) состоят из двух или более полуформ. Отливка может располагаться целиком в одной из половин кокиля, в двух половинах кокиля, одновременно в двух половинах кокиля и в нижВнней плите.


Кокили с горизонтальным разъемом (рис. 2.4) применяют преимущественно для простых по конфигурации, а также крупногабаритных отливок, а в отдельных случаях для отливок достаточно сложной конфигурации.
Кокили со сложной (комбинированной) поверхностью разъема (рис. 2.5) используют для изготовления отливок сложной конфигурации.
По числу рабочих полостей (гнезд), определяющих возможность одновременного, с одной заливки, изготовления того или иного количества отливок, кокили разделяют на одноместные (см. рис. 2.1) и многоместные (см. рис. 2.4).
В зависимости от способа охлаждения разлиВнчают кокили с воздушным (естественным и принудительным), с жидкостным (водяным, масляным) и с комбинированным (водо-воздушным и т. д.) охлаждением. Воздушное охлаждение испольВнзуют для малотеплонагруженных кокилей. Водяное охлаждение используют обычно для высокотеплонагруженных кокилей, а такВнже для повышения скорости охлаждения отливки или ее отдельных частей. На рис. 2.6 представлен кокиль с воздушным охлаждеВннием. Ребра на стенках кокиля увеличивают поверхность соприВнкосновения охладителя тАФ воздуха тАФ с кокилем и соответственно теплоотвод. На рис. 2.7 представлен водоохлаждаемый кокиль для отливки барабана шахтной лебедки из высокопрочного чугуна. Вода подается раздельно в обе половины кокиля, нижнюю плиту и верхнюю крышку.
Элементы конструкции кокилей
Кокиль, как и любая литейная форма,тАФ ответственный и точВнный инструмент. Технические требования к кокилям оговорены ГОСТом. Конструктивное исполнение основных элементов кокиВнлей тАФ полуформ, плит, металлических стержней, вставок тАФ завиВнсит от конфигурации отливки, а также от того, предназначена ли форма для установки на кокильную машину.
К основным конструктивным элементам кокилей относят:


![]()



формообразующие элементы тАФ половины кокилей, нижВнние плиты (поддоны), вставки, стержни; конструктивные элементы тАФ выталкиватели, плиты выталкивателей, запираюВнщие механизмы, системы нагрева и охлаждения кокиля и отдельВнных его частей, вентиляционную систему, центрирующие штыри и втулки.
Корпус кокиля или его половины выполняют коробчатыВнми, с ребрами жесткости. Ребра жесткости на тыльной, нерабочей стороне кокиля делают невысокими, толщиной 0,7тАФ0,8 толщины стенки кокиля, сопрягая их галтелями с корпусом. Толщина стенки кокиля зависит от состава заливаемого сплава и его темВнпературы, размеров и толщины стенки отливки, материала, из которого изготовляется кокиль, конструкции кокиля. Толщина стенки кокиля должна быть достаточной, чтобы обеспечить заданВнный режим охлаждения отливки, достаточную жесткость кокиля и минимальное его коробление при нагреве теплотой залитого расплава, стойкость против растрескивания.
Размеры половин кокиля должны позволять размещать его на плитах кокильной машины. Для крепления на плитах машины кокиль имеет приливы.
Стержни в кокилях могут быть песчаными и металлиВнческими.
Песчаные стержни для кокильных отливок должны обладать пониженной газотворностью и повышенной поверхностной прочВнностью. Первое требование обусловлено трудностями удаления газов из кокиля; второе тАФ взаимодействием знаковых частей стержней с кокилем, в результате чего отдельные песчинки могут попасть в полость кокиля и образовать засоры в отливке. СтержВнневые смеси и технологические процессы изготовления песчаных стержней могут быть различными тАФ по горячим ящикам (сплошВнные и оболочковые стержни), из холоднотвердеющих смесей и т. д.
В любом случае использование песчаных стержней в кокилях вызывает необходимость организации дополнительной технологиВнческой линии для изготовления стержней в кокильном цехе. Однако в конечном счете использование кокилей в комбинации с песчаныВнми стержнями в большинстве случаев оправдывает себя эконоВнмически.
Металлические стержни применяют, когда это позволяют конВнструкция отливки и технологические свойства сплава. ИспользоВнвание металлических стержней дает возможность повысить скоВнрость затвердевания отливки, сократить продолжительность цикла ее изготовления, в отдельных случаях повысить механические свойства и плотность (герметичность). Однако при использовании металлических стержней возрастают напряжения в отливках, увеличивается опасность появления в них трещин из-за затруднеВнния усадки.
Металлические стержни, выполняющие наружные поверхности отливки, называют вкладышами (рис. 2.8, а). Вкладыши затрудВнняют механизацию и автоматизацию процесса, так как их уста-



навливают и удаляют вручную. Металлические тержни, выполВнняющие отверстии и полости простых очертаний (рис. 2.8, б, см. рис. 2.1.) до момента полного извлечения отливки ВлподрываютВ» для уменьшения усилия извлечения стержня. Полости более сложВнных очертаний выполняются разъемными (рис. 2.8, в) или повоВнротными (рис. 2.8, г) металлическими стержнями.
Для надежного извлечения стержней из отливки они должны иметь уклоны 1тАФ5В°, хорошие направляющие во избежание переВнкосов, а также надежную фиксацию в форме.
Во многих случаях металлические стержни делают водоохлаж-даемыми изнутри. Водяное охлаждение стержня обычно включают после образования в отливке прочной корочки. При охлаждении размеры стержня сокращаются так, что между ним и отливкой образуется зазор, который уменьшает усилие извлечения стержня из отливки.
![]()

Для извлечения стержней в кокилях предусматривают винтоВнвые, эксцентриковые, реечные, гидравлические и пневматические механизмы. Конструкции этих устройств выполняют в соответствии с действующими ГОСТами.
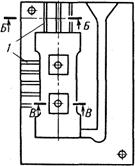
Вентиляционная система должна обеспечивать наВнправленное вытеснение воздуха из кокиля расплавом. Для выхода воздуха используют открытые выпоры, прибыли, зазоры по плоВнскости разъема
и между подвижными частями (вставками, стержВннями) кокиля и специальные вентиляционные каналы: по плосВнкости разъема делают газоотводные каналы / (см. Б тАФ Б на рис. 2.9), направленные по возможности вверх. В местных углубВнлениях формы при заполнении их расплавом могут образовываться воздушные мешки (см. А тАФ А). В этих местах в стенке кокиля устанавливают вентиляционные пробки 2. При выборе места установки вентиляционных пробок необходимо учитывать последоВнвательность заполнения формы расплавом.
Центрирующие элементы тАФ контрольные штыри и втулкитАФпредназначены для точной фиксации половин кокиля при его сборке. Обычно их количество не превышает двух. Их располагают в диагонально расположенных углах кокиля.
Запирающие механизмы предназначены для предотВнвращения раскрытия кокиля и исключения прорыва расплава по его разъему при заполнении, а также для обеспечения точности отливок. В ручных кокилях применяют эксцентриковые, клиновые, винтовые замки и другие устройства, обеспечивающие плотное соединение частей кокиля.
Закрытие и запирание кокилей, устанавливаемых на машинах, осуществляется пневматическим или гидравлическим приводом подвижной плиты машины.
Системы нагрева и охлаждения предназначены для поддержания заданного температурного режима кокиля. ПрименяВнют электрический и газовый обогрев. Первый используется для общего нагрева кокиля, второй более удобен для общего и местного нагрева. Конструкции охлаждаемых кокилей рассмотВнрены выше.
Удаление отливки из кокиля осуществляется специальными механизмами. При раскрытии кокиля отливка должна оставаться в одной из его половин, желательно в подвижной, чтобы испольВнзовать ее движение для выталкивания отливки. Поэтому выполВнняют на одной стороне отливки меньшие, а на другой большие уклоны, специальные технологические приливы и предусматривают несимметричное расположение литниковой системы в кокиле (цеВнликом в одной половине кокиля). При изготовлении крупных отлиВнвок должно быть обеспечено удаление отливки из обеих половин кокиля. Отливки из кокиля удаляются выталкивателями, которые располагают на неответственных поверхностях отливки или литниках равномерно по периметру отливки, чтобы не было пеВнрекоса и заклинивания ее в кокиле. Выталкиватели возвращаются в исходное положение пружинами (небольшие кокили) или контрВнтолкателями.
Материалы для кокилей
В процессе эксплуатации в кокиле возникают значительные термические напряжения вследствие чередующихся резких нагреВнвов при заливке и затвердевании отливки и охлаждений при расВнкрытии кокиля и извлечении отливки, нанесении на рабочую поВнверхность огнеупорного покрытия. Кроме знакопеременных термиВнческих напряжений под действием переменных температур в матеВнриале кокиля могут протекать сложные структурные изменения, химические процессы. Поэтому материалы для кокиля, особенно для его частей, непосредственно соприкасающихся с расплавом, должны хорошо противостоять термической усталости, иметь высоВнкие механические свойства и минимальные структурные превращеВнния при температурах эксплуатации, обладать повышенной ростоустойчивостью и окалиностойкостью, иметь минимальную диффуВнзию отдельных элементов при циклическом воздействии темпераВнтур, хорошо обрабатываться, быть недефицитными и недорогими. Производственный опыт показывает, что для рабочих стенок кокилей достаточно полно указанным требованиям отвечают приВнведенные ниже материалы.
| i20, i25 | кокили для мелких и средних отливок из алюминиевых, магниевых, медных сплавов, чугуна; кокили с воздушВнным и водовоздушным охлаждением |
| ВЧ42-12, ВЧ45-5 | Кокили для мелких, средних и крупных отливок из чугунов: серого, высокопрочного, ковкого; кокили с воздушным и водовоздушным охлаждением |
| Стали 10, 20, СтЗ, стали 15Л-П, 15ХМЛ | Кокили для мелких, средних, крупных и особо крупных отливок из чугуна, стали, алюминиевых, магниевых, медных сплавов |
| Медь и ее сплавы, легированные стали и сплавы с особыми свойствами | Вставки для интенсивного охлаждения отдельных часВнтей отливок; тонкостенные водоохлаждаемые кокили; массивные металлические стержни для отливок из разВнличных сплавов |
| АЛ9, АЛ11 | Водоохлаждаемые кокили с анодированной поверхВнностью для мелких отливок из алюминиевых, медных сплавов, чугуна |
Наиболее широко для изготовления кокилей применяют серый и высокопрочный чугуны марок i20, i25, ВЧ42-12, так как эти материалы в достаточной мере удовлетворяют основным требоВнваниям и сравнительно дешевы. Эти чугуны должны иметь ферритно-перлитную структуру. Графит в серых чугунах должен иметь форму мелких изолированных включений. В этих чугунах не допускается присутствие свободного цементита, так как при нагревах кокиля происходит распад цементита с изменением объема материала, в результате в кокиле возникают внутренние напряжения, способствующие короблению, образованию сетки разгара, снижению его стойкости. В состав таких чугунов для повышения их стойкости вводят до 1% никеля, меди, хрома, а соВндержание вредных примесей серы и фосфора должно быть миниВнмальным. Например, для изготовления кокилей с высокой тепло-нагружснностью рекомендуется [14] серый чугун следующего химического состава, мае. %: 3,0тАФ3,2 С; 1,3тАФ1,5 Si; 0,6тАФ0,8 Mn; 0,7тАФ0,9 Cu; 0,3тАФ0,7 Ni; 0,08тАФ0,1 Ti; до 0,12 S; до 0,1 Р.
Для изготовления кокилей используют низкоуглеродистые стали 10, 20, а также стали, легированные хромом и молибденом, например 15ХМЛ. Эти материалы обладают высокой пластичВнностью, поэтому хорошо сопротивляются растрескиванию при эксплуатации. Кокили для мелких отливок из чугуна и алюмиВнниевых сплавов иногда изготовляют из алюминиевых сплавов АЛ9 и АЛ11. Такие кокили анодируют, в результате чего на их рабочей поверхности образуется тугоплавкая (температура плавВнления около 2273 К) износостойкая пленка окислов алюминия толщиной до 0,4 мм. Высокая теплопроводность алюминиевых стенок кокиля способствует быстрому отводу теплоты от отливки.
Таблица 2.1
Материалы для изготовления деталей кокилей
| Детали кокиля | Условия работы | Материал |
| Стержни, штыри, обратные толкатели, тяги | Соприкасаются с жидким металлом, работают на | Сталь 45 |
| Стержни, вставки, выталВнкиватели с резкими перехоВндами в сечениях | истирание Оформляют глубокие полоВнсти отливок и находятся под действием высоких темВнператур | ЗОХГС, 35ХГСА, 35ХНМ, 4Х5МФС |
| Выталкиватели | Испытывают ударные наВнгрузки | У8А; У10А |
| Оси, валы, эксцентрики | Работают на истирание | Сталь 25* |
Вместе с этим смотрят:
11-этажный жилой дом с мансардой
14-этажный 84-квартирный жилой дом
16-этажный жилой дом с монолитным каркасом в г. Краснодаре
180-квартирный жилой дом в г. Тихорецке
2-этажный 3-секционный 18-квартирный жилой дом в г. Мирном