Анализ добывных возможностей скважин оборудованных УШГН, Павловского месторождения
Министерство образования
Российской Федерации
Чернушинский Государственный Политехнический Колледж
КУРСОВОЙ ПРОЕКТ
Тема: Анализ добывных возможностей скважин оборудованных УШГН, Павловского месторождения.
Выполнил: Дьячков Артём Сергеевич, студент III курса, группы №35
Специальность:0906 Эксплуатация нефтяных и газовых месторождений
Профессия: Оператор добычи нефти и газа
Руководитель: Пахомова Н.А.
Консультант по графической части: Галюк Т.Х.
Чернушка 2001
стр.
1. Введение._____________________________________________
2. Геологическая часть:
2.1 Общее сведенье о месторождении___________________
2.2 Стратиграфия____________________________________
2.3 Тектоника_______________________________________
2.4 Сведения о нефтегазоносности и водоносности разреза_
3.Техническая часть:
3.1 Применяемое оборудование________________________
- Схема установки;
- Принцип работы;
- Описание насосов.
3.2 Анализ добывных возможностей скважин____________
3.3 Анализ технологических режимов___________________
3.4 Выбор оборудования______________________________
4. Организационная часть:
4.1 Охрана недр окружающей среды____________________
4.2 Техника безопасности при эксплуатации скважин штанговыми насосами________________________________
4.3 Противопожарные мероприятия_____________________
4.5 Литература______________________________________
В нашей стране нефтяная отрасль одна из ведущих и быстро развивающихся в промышленности, в которую внедрены новейшие технологии машиностроения, автоматизации и техники. Объекты нефтяной промышленности рассредоточены по всей территории страны, в ней задействовано большое количество трудовых ресурсов России.
В курсовом проекте описана краткая геологическая характеристика Павловского месторождения и продуктивных пластов. Изучены формы залегания и состав пород нефтенасыщенных пластов. Проведён анализ добывных возможностей и технологических режим
работы скважин, расчёты по выбору оборудования, инструкции и рекомендации по эксплуатации скважин. Отражена работа штангоскважинных насосных установок (ШСНУ), и техника безопасности при их эксплуатации.
Материал собран в НГДУ ВлЧернушканефтьВ». Это крупнейшее предприятие Пермского нефтяного района, на его долю приходится до 35% ежегодно-добываемой нефти в областях, входящих в
ОАО ВлЛукойл-ПермнефтьВ». Управление разрабатывает 17 нефтяных месторождений в пяти административных районах Пермской области и Башкортостана. В его ведении 3670 скважин, средне действующий фонд 1943 из них 3 скважины фонтанные, 244 тАУ оборудованные УЦН, 1676- штанговыми и соответственно станками качалками.
В 1999г. применяются такие современные физико-химические методы повышения нефтеотдачи пластов, как применение соляной кислоты с замедлителями, также кислотных гелей, акустическое воздействие и термоизоляция на пласт, бурение вторых пластов.
Большая часть месторождения эксплуотируется с 50 тАУ 60 годов, активные запасы в значительной степени выработаны, обводнённость залежей составляет в среднем 80%.
2.1 Общее сведения о месторождении
Павловское месторождение нефти расположено на юге Пермской области в Чернушинском районе. От города Перми оно находится на расстоянии 170 км. Наиболее крупным населенным пунктом является районный центр - г. Чернушка, деревни: Дмитровка, Улык гора, Ореховая гора, Крещенка, Атняшка и др. Они равномерно располагаются по площади и приурочены к долинам небольших рек.
Сообщение между населёнными пунктами осуществляется по грунтовым дорогам, которые не пригодны к движению автотранспорта в дождливое время года и зимой. Павловский промысел связан с районным центром, асфальтированным шоссе. Связь с городом Пермью осуществляется автотранспортом, по железной дороге через Екатеринбург и самолётом.
Население на территории месторождения состоит главным образом из русских, татар, удмуртов и башкир.
Основное занятие населения сельское хозяйство, лесозаготовки. В последние время развивается нефтедобывающая промышленность.
В географическом отношении территория месторождения представляет собой всхолмленную равнину с абсолютными отметками от +140м. до +260м; расчлененную многочисленными оврагами. Реки Тюи и Танып, протекающие в меридиальном направлении являются основными.
На площади много малых рек с крутым и высоким левым склоном и пологим правым. Долины рек покрыты мелким кустарником, не редко заболочены. Все реки мелководны и не судоходны. Большая часть площади покрыта смешанными пихтово-еловыми лесами с липой, клёном, берёзой и осиной.
Климат района умеренный, континентальный. Средняя годовая температура +1,3 0С.
Максимальная в июле +380С, минимальная в январе тАУ420С. Годовое количество осадков 500-600 мл. Устойчивый снежный покров образуется в ноябре и сходит в апреле. Наибольшая высота его наблюдается в марте и достигает 65-75 см. Максимальная глубина промерзания почвы 105 см.
Основным полезным ископаемым кроме нефти и газа являются глины, галечник и медистые песчаники.
На станции Чернушка находится нефтеналивная эстакада, куда проложен нефтепровод до станции Куеда. Кроме того, подготовлен к сдаче в эксплуатацию нефтепровод Павловка-Чернушка-Колтасы.
Краткая история геологических исследований.
В 1943 году площадь Павловского месторождения была покрыта геологической съемкой. Предварительные поиски были тесно переплетены с детальными.
В сентябре 1956 года Павловское поднятие было введено в глубокую разведку. Одновременно с глубоким бурением проводилось структурно поисковое бурение с целью его оконтуривания.
В результате глубокого бурения доказана промышленная нефтеносность отложений башкирского и московского ярусов среднего карбона, яснополянского надгоризонта и турнейского яруса нижнего карбона.
С 1960 года начата пробная эксплуатация турнейской залежи.
В 1961 году залежи яснополянского надгоризонта введены в промышленную эксплуатацию.
В марте 1965 года введена в эксплуатацию башкирская залежь.
2.2 Стратиграфия.
Геологический разрез месторождения вскрыт от четвертичных отложений до верхнего девона. Максимальная вскрытая глубина скважины 2243 м.
Подробная характеристика вскрытых отложений даётся в работах (1,2), поэтому ниже приводится лишь краткое описание разреза.
Каменно угольная система. C
Нижний отдел. C1
Турнейский ярус. C1t
Сложен известняками светло-серыми, тёмно-серыми, с глинистыми прослойками, неравномерно-насыщенными. В турнейском ярусе в 4-5 метрах от кровли выделяется нефтяной пласт.
Мощность 79,5-82 м.
2.3 Тектоника.
Павловское месторождение нефти в тектоническом отношении приурочено к крупной антиклинальной складке, расположенной в южной части Чернушинского вала, осложняющего юго-западную часть Башкирского свода.
Изучение тектонического строения Павловской структуры по маркирующим горизонтам показывает полное совпадение структурных планов при некотором смещении сводной части в восточном направлении и выполаживании структуры от более древних отложений к более молодым. По девонским отложениям Павловская структура изучена очень слабо, всего лишь по 3-м скважинам (6,10,35). На оснований этих скважин, а, также учитывая региональное геологическое строение центральной части Чернушинского вала, можно предполагать о наличии положительной структуры типа купола в районе скважин 35 и 248, и вероятно небольшого купола к северо-западу от скважины № 10 в районе скважины № 6.
Павловская структура имеет форму пологого поднятия с более крупным западным крылом 1043|-3040| и пологим восточным крылом 0021|-1029|.
Общие простирание поднятия близко к мередиальному. Размеры его 34x18 км.
Павловская антиклиналь осложнена рядом локальных поднятий-куполов (Берёзовский, Деткинский, Барановский, Улыкский, Григорьевский, Павловский, Южно-Павловский и Есаульский) разделённых незначительными прогибами.
Павловское поднятие расположено в центральной части складки. Размеры поднятия-8,8x3,8км. при амплитуде 4 м. Присводовая часть поднятия осложнена 3-мя незначительными по размерам куполам, ограниченными изогипсой минус 1220 м. с вершиной в районе скважин 77, 26 и 103.
Локальные поднятия, осложняющие Павловскую структуру по нижнекаменноугольным отложениям, четко выделяются и по кровле коллекторов башкирского яруса среднего карбона.
Изменяется лишь форма и размеры некоторых локальных структур. Многие из них исчезают совсем.
2.4 Сведения о нефтегазоносности и водоносности разреза.
В процессе бурения скважин на Павловском месторождении нефтепроявления выявлены: в отложениях верхнего девона (в виде керна неравномерно-насыщенного нефтью), в турнейском ярусе нижнего карбона (залежь промышленного значения). В отложениях окско-серпуховского надгоризонта нижнего карбона (в виде керна нефтенасыщеного), в отложениях башкирского яруса среднего карбона (залежь промышленного значения), в отложениях верийског горизонта московского яруса (пласты B3, B4-залежь нефти с газовой шапкой промышленного значения), пласт B2-приток нефти дебитом 8,3 т/сут. на 5,3 мм. штуцере, в отложениях каширского и подольского горизонтов (газ с дебитом до 30 тыс.м3/сут. на 5,5 мм. штуцере), в отложениях кунгурского яруса (в виде керна, участком пропитанного нефтью).
Турнейский нефтяной пласт представлен органогенно-детритовыми известняками. Характерно чередование пористых и плотных прослоев.
Максимальная эффективная нефтенасыщенная мощность 31,2 м.
Турнейская залежь Павловского месторождения относится к типу массивных.
Центральная часть месторождения, включающая Барановский, Улыкский, Павловский, Григорьевский и Южно-Павловский купола, состовляет единую залежь с общими водонефтяным и газонефтяным контактами.
Водонефтяной контакт принят на абсолютной отметке - 798м. Размеры залежи - 17,5x17x75км. Этаж нефтеносности составляет 32,2 м. Максимальная нефтенасыщенная мощность-17,4м.
Положение газонефтяного контакта принято на отметке-785м.
Размер газовой шапки составляет 11x12,6 км. Этаж газоносности равен 19 м. Максимальная эффективная газоносная мощность-11,5м. Размер газовой шапки на Григорьевском куполе 4,6x4,75 км.
Водонасыщение пород различно и обусловлено коллекторскими свойствами, степенью трещиноватости, каверзности и другими показателями.
Представлены воды в основном высокоминерализованными и метаморфизированными хлоркальциевыми рассолами, распространенными от кристаллического фундамента до верхних каменноугольных отложений.
Основной областью питания водоносных горизонтов додевонских отложений, девона и нижнего карбона Пермского Прикамья являются западный склон Урала и Северные воды.
Ниже приводится краткая характеристика вод турнейского яруса нижнего карбона.
По своему составу пластовые воды турнейского яруса представлены рассолом хлоркальциевого типа. Удельный вес воды 1,179 г/см3. Наиболее высокая минерализация 245,7 г/л. Отношение содержания натрия к хлору равно 0,168, кальция к магнию-1,10. Коэффициент метаморфизации тАУ2,09, коэффициент сульфатности - 0,28. Содержание брома тАУ579,2 мг/л, йода тАУ6,2 мг/л, борной кислоты тАУ 76,8 мг/л.
3.1 Применяемое оборудование:
Принцип работы станка качалки.
Электродвигатель через клиноремённую передачу и редуктор придаёт двум массивным кривошипам, расположенных с двух сторон редуктора, круговое движение. Крившипнно шатунный механизм в целом преобразовывает в возвратно-поступательное движение балансира, который вращается на опорной оси, укреплённой на стойке. Балансир сообщает возвратно-поступательное движение канатной подвеске, штангам и плунжеру.
При ходе плунжера вверх нагнетательный клапан под действием жидкости закрывается и вся жидкость, находящиеся под плунжером, поднимается вверх на высоту равную длине хода плунжера. В это время скважинная жидкость через всасывающий клапан заполняет цилиндр насоса.
При ходе плунжера вниз всасывающий клапан закрывается, жидкость под плунжером сжимается, и открывается нагнетательный клапан. В цилиндр погружаются штанги, связанные с плунжером.
Таким образом, ШСН - поршневой насос однородного действия, а в целом комплекс из насоса и штанг - двойного действия.
Жидкость из НКТ вытисняется через тройник в нефтесборный трубопровод.
Принцип работы штанговой насосной установки.
Штанговая насосная установка состоит из скважинного насоса, который спускается в скважину под динамический уровень на насосно-компрессорных трубах диаметром 38-102мм. и штангах диаметром 16-25мм. индивидуального привода, состоящего из станка-качалки и электродвигателя, и устьевого оборудования, в состав которого входят: тройник с сальником и планшайба. Верхняя штанга, называемая полированным штоком, пропускается через сальник и соединяется с головкой балансира станка-качалки с помощью канатной подвески и траверсы.
Плунжерный насос приводится в действие от станка-качалки, где вращательное движение, получаемое от двигателя при помощи редуктора, кривошипно-шатунного механизма и балансира, преобразуется в возвратно-поступательное движение, передаваемое плунжеру штангового насоса через колонну штанг.
При ходе плунжера вверх под ним снижается давление, и жидкость из межтрубного пространства через открытый всасывающий клапан поступает в цилиндр насоса.
При ходе плунжера вниз всасывающий клапан закрывается, а нагнетательный клапан открывается, и жидкость из цилиндра переходит в подъёмные трубы. При непрерывной работе насоса уровень жидкости в НКТ повышается, жидкость доходит до устья скважины и через тройник переливается в выкидную линию.
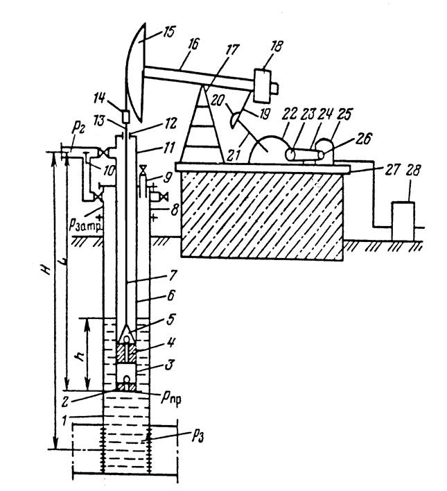
1. Эксплуатационная колонна;
2. Всасывающий клапан;
3. Цилиндр насоса;
4. Плунжер;
5. Нагнетательный клапан;
6. Насосно-компрессорные трубы;
7. Насосные штанги;
8. Крестовина;
9. Устьевой патрубок;
10. Обратный клапан для перепуска газа;
11. Тройник;
12. Устьевой сальник;
13. Устьевой шток;
14. Канатная подвеска;
15. Головка балансира;
16. Балансир;
17. Стойка;
18. Балансирный груз;
19. Шатун;
20. Кривошипный груз;
21. Кривошип;
22. Редуктор;
23. Ведомый шкив;
24. Клиноременная передача;
25. Электродвигатель на поворотной салазке;
26. Ведущий шкив;
27. Рама;
28. Блок управления.
Схема штанговой скважинно-насосной установки (УШГН).

рис 1.
Описание работы насоса.
Скважинные штанговые насосы предназначены для откачивания из нефтяных скважин жидкости обводнённостью до 90 %, температурой не более 1300С, содержанием сероводорода не более 50 г/л, минерализирующей воды не более 10 г/л.
Скважинные насосы представляют собой вертикальную конструкцию одинарного действия с неподвижным цилиндром, с подвижным металлическим плунжером и шариковыми клапанами; спускаются в скважину на колонне насоснотАУкомпрессорных труб и насосных штанг.
Скважинные насосы изготавливаются следующих типов:
В· НВ1 тАУ вставные с замком наверху;
В· НВ2 тАУ вставные с замком внизу;
В· НН тАУ не вставные без ловителя;
В· НН1 тАУ не вставной с захватным штоком;
В· НН2 тАУ не вставной с ловителем.
Выпускаются насосы следующих конструктивных исполнении:
по конструкции (исполнению) цилиндра:
5 тАУ с толсто стенным цельным (безвтулочным) цилиндром;
С тАУ с составным (втулочным) цилиндром;
по конструктивным особенностям, определяемым функциональным назначением (областью применения):
Т тАУ с полым трубчатым штоком, обеспечивающим подъём жидкостью по каналу колонны трубчатых штанг;
А тАУ со сцепляющим устройством (только для насосов типа ВлННВ»), обеспечивающим сцепление колонны насосных штанг с плунжером насоса;
Д 1 тАУ одноступенчатые, двух плунжерные, обеспечивающие создание гидравлического низа;
Д 2 - одноступенчатые, двух плунжерные, обеспечивающие двухступенчатое сжатие откачиваемой жидкости (насосы исполнении Д 1 и Д 2 тАУ одноступенчатые, одноплунжерные);
по стойкости к среде:
без обозначения тАУ стойкие к среде с содержанием механических примесей до 1,3 г/л (нормальные);
И тАУ стойкие к среде с содержанием механических примесей более 1,3 г/л (абразивостойкие).
В условном обозначении насоса, например НН25А-44-18-15-2, первые две буквы и цифры указывают тип насоса, следующие буквы тАУ исполнение цилиндра и насоса, первые две цифры диаметр насоса, последующие тАУ длину хода плунжера в мм. и напор в метрах, уменьшенные в 100 раз и последняя цифра тАУ группу посадок.
Вставные скважинные насосы закрепляются в насосно-компрессорных трубах на замковой опоре типа ОМ, в условное обозначение, в которое входит: тип опоры; условный размер опоры; номер отраслевого стандарта.
Скважинный штанговый насос тАУ гидравлическая машина объемного типа, где уплотнения между плунжером и цилиндром достигается за счёт высокой прочности их рабочих поверхностей и регламентируемых зазоров. В зависимости от размера зазора (на диаметр) в паре Влцилиндр-плунжерВ» выпускают насосы четырёх групп посадок.
Цилиндры насосов выпускают в двух исполнениях:
ЦБ тАУ цельный (без втулочный), толстостенный;
ЦС тАУ составной из набора втулок, стянутых внутри кожуха переводниками.
В зависимости от назначения и области применения скважинных насосов плунжеры и пары Влседло-шарикВ» клапанов выпускаются различных конструкций, материальных исполнении и различными видами уплотнений их рабочих поверхностей.
Плунжеры насосов выпускают в четырёх исполнениях:
П1Х тАУ с кольцевыми канавками, цилиндрической расточкой на верхнем конце и с хромовым покрытием наружной поверхности;
П2Х тАУ то же, но без цилиндрической расточки на верхнем конце;
П1И тАУ с кольцевыми канавками, цилиндрической расточкой на верхнем конце и упрочнением наружной поверхности напылением износостойкого порошка;
П2И тАУ то же, без цилиндрической расточкой на верхнем конце.
Пары Влседло-шарикВ» клапанов насоса имеют три исполнения:
К тАУ с цилиндрическим седлом и шариком из нержавеющей стали;
КБ тАУ то же, с седлом с буртиком;
КН тАУ с цилиндрическим седлом из твёрдого сплава и шариком из нержавеющей стали.
Конструктивно все скважинные насосы из цилиндра, плунжера, клапанов, замка (для вставных насосов), присоединительных и установочных деталей. При конструкции насосов соблюдается принцип максимально возможной унификации указанных узлов и деталей для удобства замены потребителем изношенных деталей и сокращения номенклатуры потребных запасных частей.
Скважинные насосы исполнения НСВ1 предназначены для откачивания из нефтяных скважин маловязкой жидкости с содержанием механических примесей до 1,3 г/л и свободного газа на приёме насоса не более 10 %.
Насос состоит из составного цилиндра исполнения ЦС, на нижний конец которого навёрнут сдвоенный всасывающий клапан, а на верхний конец тАУ замок, плунжера исполнения П1Х, подвижно расположенного внутри цилиндра, на резьбовые соединения которого навинчены: снизу тАУ сдвоенный нагнетательный клапан, а сверху тАУ клетка плунжера.
Для присоединения плунжера к колонне насосных штанг насос снабжен штоком, навинченным на клетку плунжера и закрепленный контргайкой. В расточке верхнего переводника цилиндра расположен упор, упираясь на который, плунжер обеспечивает срыв скважинного насоса с опоры. Клапаны насосов комплектуются парой Влседло-шарикВ» исполнения КБ или К.
Скважинный насос спускается на колонне насосных штанг в колонну НКТ и закрепляется в опоре.
Принцип работы заключается в следующем. При ходе плунжера вверх в межклапанном пространстве цилиндра создаётся разряжение, за счёт чего открывается всасывающий клапан и происходит заполнение цилиндра. Последующим ходом плунжера вниз межклапанный объём сжимается, за счёт чего открывается нагнетательный клапан и поступившая в цилиндр жидкость перетекает в зону над плунжером. Периодические совершаемые плунжером перемещения вверх и вниз обеспечивают откачку пластовой жидкости и нагнетания ее на поверхность.
Конструктивно скважинные насосы состоят из цельного цилиндра исполнения ЦБ с всасывающим клапаном, навинченным на нижний конец. На всасывающий клапан навинчен упорный ниппель с конусом. На верхнем конце цилиндра расположен защитный клапан, предотвращающий осаждение песка в цилиндре при остановке насоса.
Внутри цилиндра подвижно установлен плунжер исполнения П1Х с нагнетательным клапаном на нижнем конце и клеткой плунжера на верхнем конце. Клапаны насосов комплектуются парой Влседло-шарикВ» исполнения К или КБ. Для присоединения плунжера насоса к колонне насосных штанг насос снабжен штоком, навинченным на клетку плунжера и закреплённый контргайкой.
В расточке верхнего переводника цилиндра расположен упор. Насос спускается в колонну НКТ на колонне насосных штанг и закрепляется в опоре нижней частью при помощи ниппеля упорного с конусом. Такое закрепление насоса позволяет разгрузить от пульсирующих нагрузок. Это обстоятельство обеспечивает применение его на больших глубинах скважин.
Скважинные насосы исполнения НСН1 предназначены для откачивания из малодебитных, относительно неглубоких скважин маловязкой жидкости с содержанием механических примесей до 1,3 г/л и свободного газа до 10 % по объёму.
Конструктивно скважинные насосы состоят из составного цилиндра исполнения ЦС с седлом конуса на нижнем конце, в конусной расточке которого размещен всасывающий клапан. Внутри цилиндра подвижно расположен плунжер исполнения П1Х с навинченным на нижний конец наконечником, а на верхний конец тАУ нагнетательным клапаном.
На всасывающий клапан навинчен захватный шток, располагающийся внутри плунжера.
Насосы диаметром 29, 32 и 44 мм. снабжены штоком для соединения колонны насосных штанг с плунжером, а у насосов диаметром 57 мм плунжер привинчивается к насосным штангам резьбой на нагнетательном клапане.
Длина хода плунжера насосов исполнения НСН1 составляет 900мм.
Принцип работы насоса НСН1 аналогичен принципу насоса НСВ1, однако цилиндр насоса НСН1 спускается на колонне НКТ, а плунжер с клапанами тАУ на колонне насосных штанг. При подъёме штанг головка захватного штока упирается в наконечник плунжера и обеспечивает извлечение соединенного с ним всасывающего клапана для слива из колонны НКТ.

рис 2.
Процесс бурения скважины.
Скважина 890 заложена согласно технологической схемы разработки терригенной пачки нижнего карбона Турнейского пласта Павловского месторождения утверждённой Центральной комиссией по разработке нефтяных месторождений. Скважина пробурена с целью эксплуатации залежей нефти Павловского месторождения Тунейского пласта.
Описание процесса освоения скважинны.
Устье скважин оборудовано арматурой тип.
ЭТГр БЗ 65х140 №419. Арматура опрессована. Герметична.
25 июня 1989 года в скважине проведена кумулятивная перфорация ПКС-80 в интервале 1476,0-1492,0 м.(-1231,5-1247,5) всего сделано 288 отверстий.
В скважину спущены 73 мм. НКТ до глубины стоп тАУ кольца.
Скважина освоена компрессором.
73 мм. НКТ спущено 154 трубы мерой 1458,45м.
В скважине в интервале перфорации сделана соляно тАУ кислотная обработка с сульфатом аммония. За 2 часа, при Р=100 атм. закачено 12 м3. В процессе обработки давления колебалось от 150 до 90 атм. Скважина освоена компрессором. Получена нефть. Силами ЦНИПРА снята кривая восстановления давления до и после кислотной обработки.
29 августа скважина предана НДУ ВлЧернушканефтьВ».
Павловка Турнейский пласт.
Рнас (кгс/см2) | 105 |
Пластовая температура (0С) | 25 |
| Объёмный коэф. нефти (ед.) | 1,101 |
| 9 |
| 0,824 |
Рпл. начал. (кгс/см2) | 154 |
| Газовый фактор | 46 |
Газосодержание нефти (м3/т) | 46 |
| Пористость (доли ед.) | 0,1 |
Рзаб. в доб.скважинах | 70 |
| 0,912 |
| 113,6 |
| 1,64 |
| 1,181 |
| Продуктианость (г/сМПа) | 0,35 |
| Проницаемость (Д) | 0,111 |
| Гидропроводность (МПас) | 1,12 |
Пьезопроводность (см2/с) | 119 |
| Содержание: Серы (%) | 2,79 |
| Смол (%) | 18,98 |
| Парафина (%) | 3,01 |
3.2 Анализ добывных возможностей
скважин № 890, 893, 894,895, 896.
1) Определение коэффициента продуктивности скважин;
; ![]()
![]()
![]()
коэффициент продуктивности;
![]()
фактическая подача;
![]()
пластовое давление;
![]()
забойное давление.
![]()
![]()
![]()
![]()
![]()
![]()
![]()
![]()
![]()
![]()
2) Определение максимально допустимого давления;
![]()
![]()
![]()
![]()
![]()
![]()
максимально допустимое давление;
давление насыщения;
скв. № 893
![]()
![]()
скв. № 890
![]()
![]()
скв. № 894
![]()
![]()
скв. № 895
![]()
![]()
скв. № 896
![]()
![]()
3) Определение максимально допустимого дебита скважины;
![]()
![]()
максимально допустимый дебит скважины;
коэффициент продуктивности;
пластовое давление;
максимально допустимое давление.
скв № 893
![]()
![]()
скв № 890
![]()
![]()
скв № 894
![]()
![]()
скв № 895
![]()
![]()
скв № 896
![]()
![]()
4) Определение разности между max. дебитом и фактическим дебитом скважины;
![]()
![]()
разность между максимальным и фактическим дебитами;
максимально допустимый дебит скважины;
фактическая подача;
скв № 893
![]()
![]()
скв № 890
![]()
![]()
скв № 894
![]()
![]()
скв № 895
![]()
![]()
скв № 896
![]()
![]()
№ пп. | № скв. | К
| Р
| Qmax.доп
|
|
| 1 | 893 | 0,727 | 7,875 | 6,27 | 2,27 |
| 2 | 890 | 2 | 7,875 | 8,25 | 4,25 |
| 3 | 894 | 0,454 | 7,875 | 2,68 | 0,68 |
| 4 | 895 | 0,980 | 7,875 | 3,35 | -1,58 |
| 5 | 896 | 1,219 | 7,875 | 3,19 | -1,8 |
Вывод:
Исходя из расчётов, которые приведены выше видно, что в скважинах№ 893, 890, 894 разница между фактическим и максимально допустимым дебитом невелика, по этому я рекомендую оставить добычу на прежнем уровне. А у скважин № 895, 896 тАУ очень большая разница между фактическим и максимально допустимым дебитом, поэтому нужно произвести замену оборудования (ШСН).
3.3 Анализ технологических режимов.
1) Определение газового фактора;
![]()
коэффициент обводненности;
плотность нефти.
скв № 890
![]()
скв № 893
![]()
скв № 894
![]()
скв № 895
![]()
скв № 896
![]()
2) Определение относительную плотность газа по воздуху;
![]()
плотность газа;
плотность воздуха
![]()
3) Определение газосадержания;![]()
![]()
![]()
относительная плотность;
газовый фактор;
скв № 890
![]()
![]()
скв № 893
![]()
![]()
скв № 894
![]()
![]()
скв № 895
![]()
![]()
скв № 896
![]()
![]()
4)Определяем плотность пластовой жидкости;
при
:

![]()
плотность воды;
плотность нефти;
коэффициент обводненности;
газовый фактор;
объёмный коэффициент;
скв № 890

![]()
скв № 893

![]()
скв № 894

![]()
скв № 895

![]()
скв № 896
![]()

![]()
5) Определение приведенного давления;
![]()
![]()
пластовое давление;
средне критическое давление.
скв № 890
![]()
![]()
![]()
скв № 893
![]()
![]()
скв № 894
![]()
![]()
скв № 895
![]()
![]()
скв № 896
![]()
![]()
6) Определение оптимальной глубины погружения насоса под динамический уровень;
![]()
![]()
приведённое давление;
затрубное давление;
плотность жидкости или смеси;
ускорение свободного падения
скв № 890
![]()
![]()
скв № 893
![]()
![]()
скв № 894
![]()
![]()
скв № 895
![]()
![]()
скв № 896
![]()
![]()
7) Определение фактической глубины погружения насоса под динамический уровень;
![]()
![]()
глубина спуска насоса;
динамический уровень;
скв № 890
![]()
![]()
скв № 893
![]()
![]()
скв № 894
![]()
![]()
скв № 895
![]()
![]()
скв № 896
![]()
![]()
8) Определение разности между оптимальной и фактической глубиной погружения насоса;
![]()
оптимальная глубина;
фактическая глубина;
скв № 890
![]()
скв № 893
![]()
скв № 894
![]()
скв № 895
![]()
скв № 896
![]()
9) Определение коэффициента подачи насоса;
![]()
фактический дебит;
теоретический дебит;
скв № 890
![]()
скв № 893
![]()
скв № 894
![]()
скв № 895
![]()
скв № 896
![]()