Высоковольтный элегазовый баковый выключатель ВГБ-35
Выключатели высокого напряжения (ВК) предназначены для оперативных и аварийной коммутаций в энергосистемах, для выполнения операций включения и отключения отдельных цепей при ручном или автоматическом управлении. Во включенном положении ВК должен длительно пропускать токи нагрузки и кратковременно - аварийные.
Характер режима работы высоковольтных выключателей несколько необычен: нормальным для них считается как включенное положение, когда по ним проходит ток нагрузки, так и отключенное, при котором они обеспечивают необходимую электрическую изоляцию между разомкнутыми участками цепи.
Коммутация цепи, осуществляемая при переключении ВК из одного положения в другое, производится не регулярно, время от времени, а выполнение специфических требований по включению цепи при имеющемся в ней короткого замыкания (КЗ) либо по отключению КЗ вообще крайне редко.
Выключатели должны надёжно выполнять свои функции, находясь в любом из указанных положений, и одновременно быть всегда готовыми к мгновенному выполнению любых коммутационных операций, часто после длительного пребывания в неподвижном состоянии. Наиболее тяжёлым режимом для ВК является режим отключения тока КЗ.
Общие требования к конструкциям и характеристикам выключателей устанавливается стандартами: ГОСТ 687-78 ВлВыключатели переменного тока нагрузки на напряжение свыше 1000 В. Общие технические условияВ»; ГОСТ 18397--73 ВлВыключатели переменного тока на номинальное напряжение 6-220 кВ. Общие технические условияВ»; ГОСТ 12450-82 ВлВыключатели переменного тока высокого напряжения. Отключение ненагруженных линийВ». ГОСТ 8024-84 ВлДопустимые температуры нагрева токоведущих элементов, контактных соединений и контактов аппаратов и электротехнических устройств переменного тока на напряжение свыше 1000 В; ГОСТ 1516.1-75 ВлНормы испытательных напряжений внешней и внутренней изоляции электрических аппаратовВ».
В связи с тем, что российская промышленность поставляет высоковольтные электрические аппараты для районов с различными климатическими условиями, объединение сетей и создание единой энергетической системы связано с повышением технических параметров и ужесточением требований, предъявляемых к электрическим аппаратам высокого напряжения. Эти задачи становятся трудноразрешимыми при использовании традиционных методов гашения дуги, изоляционных и дугогасительных сред. Широко применяемые в настоящее время масляные и воздушные ВК имеют и свои преимущества, и свои недостатки. Они объясняются свойствами сред, используемых в этих аппаратах для изоляции и гашения дуги. Масло таит опасность пожара и взрыва. Применение воздушных выключателей связано с необходимостью производства, кондиционирования и хранения сжатого воздуха. Затруднительна эксплуатация воздушных и масляных ВК при низких температурах. Естественно поэтому, что исследователи непрерывно ведут поиски новых принципов коммутации цепей и новых сред, которые сохраняли бы преимущества традиционных сред, но не имели бы их недостатков. С основных характеристик подобной среды и начинается первая глава.
ГЛАВА ПЕРВАЯ
ТЕХНИКО-ЭКОНОМИЧЕСКАЯ ХАРАКТЕРИСТИКА ВГБ-35
1.1. ИСПОЛЬЗОВАНИЕ ЭЛЕГАЗА
В ВЫСОКОВОЛЬТНЫХ ВЫКЛЮЧАТЕЛЯХ
Наиболее распространёнными изоляционными, дугогасительными и охлаждающими средами, которые применяются в электротехническом оборудовании, является минеральное масло и воздух. Газы по сравнению с маслом и твёрдыми изоляционными материалами имеют определённые преимущества, главные из которых - ничтожнейшая проводимость и практическое отсутствие диэлектрических потерь, независимость в однородном поле электрической прочности от частоты, неповреждённость газовой изоляции заметным остаточным изменениям и малая загрязнённость под действием дуги и короны.
Электрическая прочность газовой изоляции в однородных или слабо неоднородных полях увеличивается с ростом давления и при определённых условиях может превысить электрическую прочность трансформаторного масла, фарфора и высокого вакуума.
Для упрощения конструкций оборудования с газовой изоляцией желательно, чтобы необходимая электрическая прочность была обеспечена при сравнительно небольшом избыточном давлении.
Однако при применении газа в электротехническом оборудовании, помимо изоляционных, необходимо учитывать и другие свойства газов, а именно: сам газ и продукты его разложения не должны быть токсичными; газ должен быть химически нейтрален по отношению к применённым в устройстве материалам; газ должен иметь низкую температуру сжижения, чтобы его можно было использовать при повышенных давлениях и требуемых по условиям эксплуатации температурах; газ должен обладать хорошей теплоотводящей способностью; диссоциация газа должна быть незначительной; газ должен быть пожаро- и взрывобезопасным; газ должен быть легкодоступным и недорогим.
При использовании газа в коммутационных аппаратах необходимо, кроме того, чтобы газ обладал хорошей дугогасительной способностью. С точки зрения доступности воздух имеет неоспоримое преимущество по сравнению со всеми другими газами, однако по совокупности требований он не всегда приемлем. некоторые газы и пары обладают значительно более высокой электрической прочностью, чем воздух. Однако лишь некоторые из них удовлетворяют требованиям, предъявляемым к электрической изоляции. Так, многие вещества в обычных условиях находятся в жидком состоянии, как, например, CCl4, имеющее в газообразном состоянии электрическую прочность, в 6,3 раза большую, чем воздух. Многим веществам, кроме того, свойственно более или менее интенсивное разложение в условиях электрического разряда. Наконец, некоторые вещества при разложении выделяют свободный углерод, который, оседая на поверхности твёрдых изоляционных элементов конструкции, делает их проводящими.
Единственным газом, наиболее полно удовлетворяющим поставленным требованиям, является элегаз. Чистый газообразный элегаз совершенно безвреден, химически не активен, поэтому в обычных эксплуатационных условиях он не действует ни на какие материалы, применяемые в аппаратостроении, обладает повышенной теплоотводящей способностью и является очень хорошей дугогасительной средой, позволяющей производить отключение очень больших токов при больших скоростях восстановления напряжения. В однородном поле электрическая прочность элегаза в 2,3-2,5 раза выше прочности воздуха.
Низкие температуры сжижения и сублимации дают возможность при обычных условиях эксплуатировать элегазовые аппараты без специального подогрева. Элегаз не горит и не поддерживает горения, следовательно, элегазовые аппараты являются взрыво- и пожаробезопасными.
Стоимость элегаза существенно зависит от объёма его производства. При большом его потреблении стоимость единицы объёма элегаза, имеющего такую плотность, при которой достигается равная с маслом электрическая прочность, незначительно будет отличаться от стоимости единицы объёма масла. Но при правильной эксплуатации элегаз не стареет и не требует поэтому такого тщательного ухода за собой, как масло.
Элегаз представляет собой соединение, имеющее химическую формулу SF6. При нормальных условиях это бесцветный, не имеющий запаха газ, плотность которого 6,52 кг/м3 при нормальном атмосферном давлении и температуре 0C. Он приблизительно в пять раз тяжелее воздуха. Молекулярная масса элегаза 146,06. В нём содержится 21,95% серы и 78,05% фтора.
Одним из необходимых условий возможности использования того или иного соединения в электрических аппаратах является его химическая инертность. Оно не должно вступать в реакцию ни с каким материалом, применяемым в электроаппаратостроении. Чистый элегаз при обычных условиях удовлетворяет этому требованию, несмотря на то, что в состав его молекулы входит фтор, являющийся одним из наиболее активных химических элементов. По химической инертности чистый элегаз при нормальных условиях сравним с азотом или даже инертными газами. Строение молекулы и её энергетическое состояние определяют высокую стабильность элегаза.
Молекула элегаза содержит шесть атомов фтора, расположенных в вершинах правильного октаэдра, и атом серы, который находится в центре молекулы на равных расстояниях от атомов фтора. При таком геометрическом расположении атомов в молекуле обеспечивается максимальное перекрытие электронного облака серы и фтора и понижается общая энергия молекулы. В случае недеформированных электронных оболочек атомов фтора радиус молекулы элегаза равен 3,07.10-10 м. Радиус атома серы лишь на 20% больше радиуса атома фтора. При этом соотношении радиусов атомы фтора плотно облегают центральный атом серы, обеспечивая идеальную его защиту от внешних воздействий. В возбуждённом состоянии атом серы может образовывать шесть ковалентных связей. При атмосферном давлении элегаз, как и углекислый газ, может находиться только в газообразном состоянии. При pаб = 105 Па температура перехода из твёрдого состояния в газообразное (температура возгонки) равна - 63,8C. При давлении свыше раб = 2,28.105 Па элегаз в зависимости от температуры может находиться во всех трёх агрегатных состояниях. При этом давлении температура тройной точки равна -50,8C.
1.2. ОБЩИЕ СВЕДЕНИЯ ЭЛЕГАЗОВЫХ ВЫКЛЮЧАТЕЛЕЙ
1.2.1. ТЕХНИЧЕСКИЕ ДАННЫЕ
Современные разработки конструкций выключателей с элегазовыми дугогасиВнтелями в настоящее время ведутся в различных направлениях, и прежде всего в тех, которые дают наиболее эффективное технико-экономическое использование специфических свойств этой дугогасящей и изоляционной среды. Такими направлениями являются следующие.
1. Модульные серии выключателей на высокие классы напряжения (100 кВ и выше), предназначенные для отключения предельно больших токов КЗ при наиболее неблагоприятных условиях КЗ.
2. Выключатели на номинальное напряжение 10-35 кВ в компактном исполнении для электрифицированного подвижного состава и других электрических установок специального назначения.
3. Выключатели нагрузки на номинальные напряжения 15-100 кВ и выше, предназначенные для отключения индуктивных токов ненагруженных трансформаторов и ёмкостных токов.
В настоящее время опытные и промышленные образцы и серии элегазовых выВнключателей переменного тока высокого напряжения производятся различными фирмами во всём мире, характеристики этих аппаратов приведены в таблице 1.2.1.
1.2.2. ПРЕИМУЩЕСТВА
Взрыво- и пожаробезопасность;
Быстродействие и пригодность для работы в любом цикле АПВ;
Возможность осуществления синхронного размыкания контактов непосредственно перед переходом тока через нуль;
Высокая отключающая способность при особо тяжёлых условиях отключения (отключение неудалённых коротких замыканий и др.);
Надёжное отключение ёмкостных токов холостых линий;
Малый износ дугогасительных контактов;
Лёгкий доступ к дугогасителям и простота их ревизии;
Относительно малый вес (с баковыми масляными выключателями);
Возможность создания серии с унификацией крупных узлов;
Пригодность для наружной и внутренней установки.
1.2.3. НЕДОСТАТКИ
Необходимость в наличии устройств для наполнения, перекачивания и очистки шестифтористой серы (SF6);
Относительная сложность конструкции ряда деталей и узлов, а также необходимость применения высоконадёжных уплотнений;
Относительно высокая стоимость дугогасящей среды и выключателя в целом.
Таблица 1.2.1
Технические данные элегазовых выключателей
Изготовитель (разработчик) | Тип | Uном, кВ | Iном, А | Iном.о, кА | tоткл, с | tд, с | Способ Дугогашения | Примечание |
ВлВестингаузВ» (США) | | 69 | | | 0,06 | | ПредваВнрительное Сжатие | Отключение конденсаторных батарей |
ВлВестингаузВ» (США) | 1150- SF-1000 | 115 | 400 | 5,5 | 0,08 | | Тепловое Расширение | Отключение конденсаторных батарей |
ВлВестингаузВ» (США) | VLB | 138 | 600 | до 0,6 | | | АвтопневВнматичеВнский | Выключатель нагрузки |
ВлМицубисиВ» (Япония) | 70-SF-500 | 72 | 1200 | 40,2 | | 0,015 | ПредваВнрительное Сжатие | Серия выключателей |
ВлМицубисиВ» (Япония) | 70-SF-500 | 84 | 4000 | 34,4 | | 0,015 | ПредваВнрительное Сжатие | Серия выключателей |
ВлМицубисиВ» (Япония) | 250-SF-2500 | 300 | 4000 | 48,1 | | 0,015 | ПредваВнрительное Сжатие | Серия выключателей |
ВлДенрёкуВ» (Япония) | | 84 | 1200 | 34,4 | 0,05 | | ПредваВнрительное Сжатие | |
ВлДелльВ» (Франция) | FRUL 6S6 | 23 | 400 | | | 0,015 | АвтопневВнматичеВнский | Для КРУ |
ВлДелльВ» (Франция) | | 24 | 1000 | 14,5 | | | АвтопневВнматичеВнский | Генераторный выключатель нагрузки |
ВлДелльВ» (Франция) | FRUL | 25 | 400 | | 0,04 | | АвтопневВнматичеВнский | Однофазный |
ВлСименсВ» (Германия) | H-904 | 220 | 2000 | | | 0,015 | ПредваВнрительное сжатие | Серия выключателей |
ВлМагриниВ» (Италия) | | 80,5 | 1000 | | | 0,015 | ПредваВнрительное сжатие | Серия выключателей |
ВЭИ Россия | | 27,5 | 1000 | 14,8 | 0,08 | 0,02 | АвтопневВнматичеВнский | Однофазный |
ВАЗ Россия | | 110 | 600 | 0,6 | 0,15 | | ЭлектроВнмагнитное Гашение | Выключатель нагрузки |
1.3. ОБЩИЕ СВЕДЕНИЯ ЭЛЕГАЗОВОГО
БАКОВОГО ВЫКЛЮЧАТЕЛЯ СЕРИИ ВГБ-35
Выключатель предназначен для коммутации электрических цепей при нормальных и аварийных режимах, в сетях трехфазного переменного тока частоты 50 Гц с номинальным напряжением 35 кВ. Выключатель представляет собой комплексный аппарат, состоящий из собственно выключателя, встроенных трансформаторов тока и привода.
1.4. СТРУКТУРА УСЛОВНОГО ОБОЗНАЧЕНИЯ
ВГБ Х - 35 II* - 12,5/630 Х I, где
В - выключатель; Г - элегазовый; Б - условное обозначение конструктивного исполнения (баковый); Х - условное обозначение электромагнитного привода (Э - электромагнитный постоянного тока; ЭП - электромагнитный переменного тока); 35 - номинальное напряжение, кВ; II* - категория по длине пути утечки внешней изоляции в соответствии с ГОСТ 9920-75; 12,5 - номинальный ток отключения, кА; 630 - номинальный ток, А; Х - климатическое исполнение по ГОСТ 15150-69 и ГОСТ 15543-70 (УХЛ или Т); I - категория размещения по ГОСТ 15150-69.
1.5. НАЗНАЧЕНИЕ И УСЛОВИЯ ЭКСПЛУАТАЦИИ
Выключатель изготовлен в климатическом исполнении УХЛ либо Т категории размещения 1 по ГОСТ 15150 и предназначен для наружной установки в районах с умеренным и холодным (тропическим) климатом при след. условиях:
тАв Окружающая среда невзрывоопасная, не содержащая пыли в концентрациях, снижающих параметры изделия в недопустимых пределах. По условиям загрязнения окружающая среда должна соответствовать атмосфере по ГОСТ 15150.
тАв Верхнее рабочее значение температуры окружающего воздуха для исполнения УХЛ1 - -плюс 40В°С, для исполнения Т1 - плюс 55В°С.
тАв Нижнее рабочее значение температуры окружающего воздуха для исполнения УХЛ1 - -минус 60В°С, для исполнения Т1 - минус 10В°С.
тАв Натяжение проводов в горизонтальном направлении в плоскости, перпендикуВнлярной продольной оси выключателя, не более 500 Н.
тАв Выключатель нормально работает в условиях гололеда при толщине корки льда до 20 мм и ветре скоростью до 15 м/с, а при отсутствии гололеда - при ветре скоростью до 40 м/с.
тАв Высота установки над уровнем моя не более 1000 м.
Выключатели соответствуют требованиям ГОСТ 687 "Выключатели переменного тока на напряжение свыше 1000 В. Общие технические условия".
1.6. ОСНОВНЫЕ ТЕХНИЧЕСКИЕ ДАННЫЕ
Основные технические данные выключателя представлены в таблице 1.6.
Технические данные ВГБ-35 Таблица 1.6
Наименование параметра | Установленная норма |
1. Номинальное напряжение Uном, кВ | 35 |
2. Наибольшее рабочее напряжение Uн.р, кВ | 40,5 |
3. Номинальный ток Iном, А | 630 |
4. Номинальный ток отключения Iном.о, кА | 12,5 |
5. Номинальное относительное содержание апериодической составляющей, % | не более 32 |
6. Cos тока нагрузки | 0,91 |
- наибольший пик (ток электродинамической стойкости), кА - нач. действующее значение периодической составляющей, кА - ток термической стойкости, кА - время протекания тока термической стойкости, с | 35 12,5 12,5 3 |
- наибольший пик - начальное действующее значение периодической составляющей | 35 12,5 |
9. Отключаемый ёмкостной ток одиночной конденсаторной батареи, А | не более 600 |
10. Отключаемый ток намагничивания ненагруженных трансформаторов, А | 0,24.6,5 |
11. Собственное время отключения tоткл, с | 0,04+0,005 |
12. Полное время отключения tоткл + tд, с | 0,065+0,01 |
13. Минимальная бестоковая пауза при АПВ, с | 0,03 |
14. Собственное время включения, с | не более 0,12 |
15. Разновремённость замыкания и размыкания контактов полюсов при включении и отключении, с | не более 0,01 |
16. Избыточное давление заполнения элегазом при 20С, МПа | 0,45+0,02 |
17. Избыточное давление предварительной сигнализации об утечке элегаза при 20С, МПа | 0,33 |
18. Избыточное давление автоматической подачи команды на блокировку или отключение выключателя (минимально допустимое значение) при 20С, МПа | 0,3 |
19. Длина пути утечки вводов, см (по ГОСТ 9920 - II категории загрязнения) | 105 |
- при питании постоянным током, В - при питании переменным током, В | 110 или 220 220 |
21. Диапазон рабочих напряжений электромагнитов управления, в % от номинального значения: - включающего электромагнита при питании постоянным током - включающего электромагнита при питании переменным током - отключающего электромагнита при питании постоянным током - отключающего электромагнита при питании переменным током | 85.110 90.110 70.110 65.120 |
22. Потребляемый ток (установившееся значение) электромагниВнтов, А, не более: - включающего при V=220 В (при V=110 В) - отключающего при V=220 В (при V=110 В) | 50 (100) 2,5 (5) |
23. Ном. напряжение подогревательных устройств, В | 220 |
24. Масса выключателя с приводом, кг | 80015 |
25. Масса элегаза, кг | 4 |
1.7. ВОЗМОЖНОСТИ ВЫКЛЮЧАТЕЛЯ
Выключатель выполняет следующие операции и циклы операций:
тАв Отключение (О)
тАв Включение (В)
тАв Включение-отключение (ВО)
тАв Отключение-включение (ОВ)
(при любой бестоковой паузе (1бт) между операциями, начиная с мин. значения)
тАв Коммутационный цикл 1 (О - 1бт - ВО - 180с - ВО)
тАв Коммутационный цикл 1а (О тАУ 1бт - ВО - 20с - ВО)
тАв Коммутационный цикл 2 (О-180с- ВО тАУ 180с- ВО)
Допускаемое для каждого полюса выключателя без осмотра и ремонта дугогасительных устройств, контактов и замены элегаза число операций отключения (ресурс по коммутационной стойкости) составляет не менее одной из величин:
тАв при токах в диапазоне свыше 60 до 100% ном. тока отключения - 33 операции;
тАв при токах в диапазоне от 30 до 60% номинального тока отключения - 70 операций;
тАв при номинальном токе нагрузки - 2000 операций (в том числе операций отключения емкостных токов до 600 А одиночных конденсаторных баВнтарей).
Допустимое дополнительное число операций включения составляет 50% от указанных числа операций отключения (при номинальном токе нагрузки - 100%).
Выключатель имеет следующие показатели надежности и долговечности:
тАв ресурс по механической стойкости до капитального ремонта - 5000 циклов "включение - произвольная пауза - отключение";
тАв срок службы до капитального ремонта - 15 лет с момента выпуска выключаВнтеля заводом-изготовителем (если до этого срока не исчерпаны ресурс по механической стойкости или ресурс по коммутационной стойкости);
тАв срок службы до списания - 25 лет. Ток нагрузки выключателя при температурах окружающего воздуха в течеВнние суток, не превышающих 20В°С, 0В°С, и минус 20В°С, может быть увеличен соответстВнвенно на 10, 20 и 30%.
1.8. УСТРОЙСТВО
Выключатели серии ВГБ-35 относятся к электрическим коммутационным аппаратам высокого напряжения, в которых гасящей средой является элегаз.
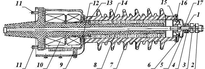
Общий вид выключателя ВГБ-35 приведен на рис. 1.8.1. Выключатель состоВнит из трех полюсов, размещенных в одном баке 3, и управляется электромагнитным приводом 7 постоянного или переменного тока. Имеется вариант установки выключателя на удлиненной свае с установкой привода на удлиненной дистанционной трубе (на 500 мм по сравнению с базовым вариВнантом) и дополнительным креплением привода к свае. Включение выключателя происходит за счет энергии включающего элекВнтромагнита привода 7, отключение - за счет отключающих пружин выключателя, взвеВндение которых происходит в процессе включения. Бак 3, вмещающий в себя трехполюсное контактно-механическое устройство (КМУ), укомплектован шестью вводами 1 со встроенными трансформаВнторами тока 2 типа ТВЭ-35, клапаном 9, подогревательным устройством 6, сигнализаВнтором давления 8 и клеммной коробкой 5.
Общий вид выключателя ВГБ-35
Рис. 1.8.1
1-ввод; 2-трасформатор тока; 3-бак; 4-фланец; 5-клемная коробка; 6-устВнройстВнво подогревательное; 7-шкаф с приводом; 8-сигнализатор давления; 9-клапан; 10-крышка; 11-механизм; 12,13,14-кольца уплотнительные.
Бак 3 заполняется на заводе-изготовителе элегазом, соответствующим ТУ 6-02-1249. Давление заполнения, приведенное к 20В°С, указано в технических данных. Внутри, на дне бака, закреплен тканевый мешок с адсорбентом, который поВнглощает как возможную влагу, так и газообразные продукты разложения, образуюВнщиеся при горении дуги.
Контактно-механическое устройство изображено в отключенном положеВннии на рис. 1.8.2, а; рис. 1.8.2, б. Оно содержит изоляционные диски 3, жестко закрепленные с помощью болтов 12 и стойки 18 на корпусе 17. Корпус 17 закреплен болтами 10 на фланце 5 бака выключателя. На дисках 3 размещены шесть дугогасительных катушек 2 и неподвижные конВнтакты 1 (по две дугогасительных катушки и два неподвижных контакта на каждый поВнлюс). Неподвижные контакты 1 состоят из основания, на котором закреплены подпруВнжиненные ламели 13и 14, причем ламели 14 снабжены дугостойкими металлокерамическими напайками. Неподвижные контакты 1 шинами 7 соединены с нижними концаВнми вводов 16. На главном валу 6 закреплена изоляционная траверса 8, несущая на своих концах, расположенных под 120В°, подвижные контакты 4 трех полюсов.

Контактно-механическое устройство
Рис. 1.8.2, а
1-неподвижный контакт; 2-дугогасительная катушка; 3-диск; 4-подвижный контакт; 5-фланец; 6-главный вал; 7-шины; 8-траверса; 9-главный рычаг; 10-болт; 11-коробка механизма; 12-болты; 13,14-ламели; 15-пружина; 16-ввод; 17-корпус; 18-стойка.
Контактно-механическое устройство

Рис. 1.8.2, б
1-неподвижный контакт; 2-дугогасительная катушка; 3-диск; 4-подвижный контакт; 5-фланец; 6-главный вал; 7-шины; 8-траверса; 9-главный рычаг; 10-болт; 11-коробка механизма; 12-болты; 13,14-ламели; 15-пружина; 16-ввод; 17-корпус; 18-стойка.
Узел крепления и уплотнения главного вала установлен на фланце 5. Наружная часть вала, с закрепленным на ней главным рычагом 9, соединена с механизмом, расположенным в коробке 11.
Включенное положение подвижного контакта 1 (4 на рис. 1.8.2) и неподвижного контакта 2(1 на рис. 1.8.2) показано на рис. 1.8.3, а. Подвижные контакты 1 снабжены наконечниками из дугостойкой металлокерамики. Взаимное расположение подвижных контактов 1 и дугогасительных катушек 6(2 на рис. 1.8.2) в отВнключенном положении выключателя показано на рис. 1.8.3, б.
Включенное положение Отключенное положение


Рис. 1.8.3, аРис. 1.8.3, б
1-подвижный контакт; 2-неподвижный контакт; 3-пружина; 4,5-ламели;
6-дугогасительная катушка; 7-диск.
Подогревательное устройство выключателя содержит два трубчатых нагреВнвателя типа ТЭН-71А и закреплено под днищем бака в специальном корпусе. КонВнцы проводов нагревателей закрыты бусами, забандажированы стеклотканью и вывеВндены через трубу бака в клеммную коробку. Нагреватели на напряжение 220 В соединяются параллельно, а на напряжение 127 В - последовательно. Электроконтактный сигнализатор давления соединен с полостью бака через клапан автономной герметизации. Сигнализатор снабжен устройством температурной компенсации, автоматически приводящей показания давления к температуре плюс 20В° С, что фактически обеспечивает контроль уровня плотности элегаза.
Сигнализатор имеет шкалу со стрелкой и две пары размыкающих контактов, что позволяет вести как визуальный контроль давления (плотности) элегаза в выключателе, так и давать предупредительные сигналы о снижении давления до 0,33 МПа и о достижении минимально допустимого давления - 0,3 МПа. Предупредительная сигнализация срабатывает только тогда, когда падение давления вызвано утечкой элегаза (понижением его плотности). Для заполнения бака элегазом и его опорожнения служит клапан 9 (см. рис. 1.8.1).
Главный вал
Узел крепления и уплотнения главного вала показан на рис. 1.8.4.
Вал 1 устаВнновлен в корпусе 2 на подшипниках качения 3 и уплотнен четырьмя манжетами 4.
Кроме того, для усиления уплотнения в корпусе имеется полость А, заполненная жидВнкостью полиметилсилоксановой ПМС-200.
Полость закрывается пробкой 5.
Рис. 1.8.4
1-вал; 2-корпус; 3-подшипники качения; 4-манжета; 5-пробка; 6-крышка.
Механизм
М
еханизм (см. рис. 1.8.5) состоит из главного рычага 5, закрепленного на главном валу 4, тяги 8, вспомогательного рычага 3, буферной пружины 6, отключаюВнщих пружин 9 и упоров 1 и 11. Вспомогательный рычаг 3 тягой 2 связан с электромагВннитным приводом. Механизм изображен в отключенном положении выключателя. Включенное положение изображено штриховыми линиями.
На оси 12 вспомогательного рычага закреплен указатель положения выключаВнтеля (на рисунке не изображен), который виден через стекло крышки, закрывающей коробку механизма.
Рис. 1.8.5
1,11-упоры; 2,8-тяги; 3-рычаг; 4-главный вал; 5-главный рычаг; 6-буферная пружина; 7-ролик; 9-отключающие пружины; 10-колодка; 12-ось.
"МЗК"-момент замыкания контактов; "В"-включенное, "О"-отключенноеположение.
Вводы (см. рис. 1.8.6) служат для подсоединения выключателя к шинам распреВнделительного устройства. Ввод состоит из литой эпоксидной втулки 8 с контактным стержнем, фарфоровой покрышки 7 и помещенных в колпак 9 трансформаторов тока 10. В зоне расположения трансформаторов тока 10 цилиндрическая поверхность эпокВнсидной втулки 8 имеет металлическое покрытие, на верхней части которого установлен экран 13. Покрытие и экран имеют потенциал земли. Пространство между втулкой 8 и фарфоровой покрышкой 7 заполнено виниполом 14 и с помощью прокладок 16, 17, наВнконечника 4 загерметизировано от окружающей среды. Трансформаторы тока 10 расклинены клиньями с резиновыми прокладками. Фланцевой частью втулки ввод крепится к баку с помощью болтов 11.
Конструкция ввода
Рис. 1.8.6
1-гайка; 2,3-стопорный винт; 4-наконечник; 5-крышка; 6-фланец; 7-фарфоровая покрышка; 8-литая эпоксидная втулка; 9-колпак; 10-трансформатор тока встроенный; 11-болты М1070; 12,15-уплотнительные кольца; 13-экран; 14-винипол; 16,17- прокладки.
В
строенный трансформатор тока типа ТВЭ-З состоит из магнито-провода и двух обмоток: защитной (ОР) и измерительной (И). По два провода от каждого трансформатора тока выведены в клеммную коробку. При отгрузке выключателя провода трансформатора тока присоединены к отводам 600/5. При необходимости переключения на другие отводы следует пользоваться электрической схемой.
К нижней части коробки механизма через дистанционную трубу присоединен шкаф с приводом 7 (см. рис. 1.8.1). Привод для управления выключателем имеет три исполнения.
Выключатели ВГБЭ-35-12,5/630 УХЛ1(Т1) комплектуются приводами ПЭМ-1 или ПЭМ-11, а выключатели ВГБЭП-35-12,5/630 УХЛ1(Г1) - приводом ПЭМ-ТТТ.
Бак и шкаф привода снабжены болтами заземления.
1.9. РАБОТА
Оперирование выключателем ВГБ-35 производится следующим образом:
1.9.1. ОПЕРАЦИЯ "ВКЛЮЧЕНИЕ"
После подачи команды на включение выходной рычаг электромагнитного привода через тягу 2 (см. рис. 1.8.5) выводит рычаг 3 с тягой 8 из "мертвого положения" и, вращая главный рычаг 5 по часовой стрелке, переводит его и главный вал 4 во включенное положение. РоВнлик сжимает отключающие пружины 9, установленные на колодке 10, а вспомогательный рычаг 3, остановленный упором 1, фиксируется в положении, определенном зазором, равным 2-3 мм. При этом в контактно-механическом устройстве (см. рис. 1.8.2) главный вал вращается соотВнветственно против часовой стрелки, поворачивая траверсу 8. Подвижные контакты 4 замыВнкают ламели неподвижных контактов 1, расположенных на левом и правом изоляционных дисках 3. Происходит замыкание силовой цепи выключателя. В приводе механизм садится на защелку и удерживает выключатель во включенном положении.
1.9.2. ОПЕРАЦИЯ "ОТКЛЮЧЕНИЕ"
После подачи команды на отключение в приводе освобождается защелка, удерВнживающая выключатель во включенном положении, и отключающие пружины 9 (см. рис. 1.8.5) поворачивают главный вал 4 вместе с закрепленными на нем траверсами 8 (см. рис. 1.8.2, а; см. рис. 1.8.2, б;), выводя подвижные контакты 4 из неподвижных 1. Возникающая при этом дуга перекидывается с ламелей 13 неподвижных контактов 1 на корпус катушки 2 и гасится при вращении между наконечником подвижного контакта и торцом катушки под действием магВннитного поля, создаваемого отключаемым током при протекании его через эту катушку.
Ролик 7 при отключении сжимает буферную пружину 6. Вспомогательный рычаг 3 с тягой 8 заходит за "мертвое положение" на расстояние 5 мм и фиксируется на упоре.
ГЛАВА ВТОРАЯ
РАiЁТ ЭЛЕКТРИЧЕСКОЙ ИЗОЛЯЦИИ
2.1. АЛГОРИТМ РАiЁТА
1. Выбор основных, подлежащих расчёту изоляционных промежутков, а также выбор форм электродов, образующих эти проводники. Расчёту подлежат:
Промежутки между токоведущими и заземлёнными частями;
Промежутки меж
Вместе с этим смотрят:
11-этажный жилой дом с мансардой
14-этажный 84-квартирный жилой дом
16-этажный жилой дом с монолитным каркасом в г. Краснодаре
180-квартирный жилой дом в г. Тихорецке
2-этажный 3-секционный 18-квартирный жилой дом в г. Мирном