ГРЭС 1500 Мвт
Министерство топлива и энергетики Российской федерации
Управление учебных заведений
ТОМЬ-УСИНСКИЙ ЭНЕРГЕТИЧЕСКИЙ ТЕХНИКУМ
КУРСОАЯ РАБОТА
по специальности______1005_____________
______________________________________
Тема_________ГРЭС-1500 МВт__________
____________________________________________________________________________
Разработал________________
Руководитель к.т.н доцент Крохин Г.Д___________
Консультанты: к.т.н доцент Крохин Г.Д._________
к.т.н доцент Пучков В.С.__________
Нестеренко Г.В__________________
Консультант-контролер Ляшенко Т.М.___________
Шифр З-1390
2000
Содержание пояснительной записки
1. Введение
2. Составление расчетной тепловой схемы электростанции. Краткая характеристика турбины.
3. Расчет тепловой схемы на номинальном режиме
4. Определение показателей экономичности электростанции при номинальном режиме для ГРЭС.
5. Определение максимального часового расхода условного топлива.
6. Выбор типа, единичной мощности и количества устанавливаемых котлов.
7.Выбор схемы топливного хозяйства ГРЭС на основном топливе.
8. выбор схемы оборудования ГРЭС.
8.1 Регенеративных подогревателей.
8.2 Деаэраторов.
8.3 Питательных насосов.
9. Выбор схемы главных паропроводов. Определение типоразмеров паропроводов.
10. Выбор схемы главных трубопроводов. Определение диаметров трубопроводов.
11. Определение потребности ГРЭС в технической воде, выбор циркуляционных насосов.
12. Выбор оборудования конденсационной установки.
13. Выбор тягодутьевых установок и дымовой трубы.
14. Выбор системы золоудаления и золоулавливания.
15. Выбор схемы водоподготовки.
16. Перечень средств автоматизации технологической защиты турбины.
17. Описание компоновки основного оборудования главного здания электростанции.
18.Мероприятия по охране труда и пожарной профилактике .
19.Мероприятия по охране окружающей среды.
20. Экономическая часть проекта:
21.Список используемой литературы.
1. Введение. Краткая характеристика ГРЭС.
Дипломный проект выполнен по теме ВлПроект тепловой части ГРЭС с подробной разработкой турбинного отделения котлотурбинного цеха.
Разрабатываемая станция установленной мощностью 1500 МВт, расположена в городе Красноярске .
Источник водоснабжения прямоточная система с питанием из реки Енисей.
Потребителем мощности является единая электрическая сеть России.
На станции установлено три энергоблока с турбинами К-500-240.
Установленное годовое число часов использования установленной мощности 6800 часов.
Вид топлива тАУ Экибастузский каменный уголь марки СС.
2. Составление расчетной тепловой схемы электростанции.
Турбина К-500-240-2
Одновальная паровая конденсационная турбина К-500-240-2 номинальной мощностью 500 МВт состоит из однопоточных цилиндров высокого и среднего давления и двух двухпоточных цилиндров низкого давления (рис. 1,1). Турбина предназначена для 
непосредственного привода генератора переменного тока, который монтируется на общем фундаменте с турбиной. Параметры пара, поступающего на турбину: р=23,5 МПа (240 кгс/см²),
=540В°С, после промперегрева: р=3,81 МПа (38,8 кгс/см²), =540В°С, давление в конденсаторах 3,9 кПа. Частота вращения роторов 50 с-², направление вращения тАУ по часовой стрелке, если смотреть со стороны переднего подшипника турбины в сторону генератора.
Турбоустановка К-500-240-2 снабжена развитой системой регенеративного подогрева питательной воды и всережимными питательными насосами с конденсационными турбинными приводами. Кроме отборов на регенерацию, обеспечивается отпуск пара на теплофикационную установку, состоящую из двух подогревателей сетевой воды, на подогрев воздуха, подаваемого в котел, а также на подогрев добавка в цикл химически обессоленной воды, подаваемой в конденсаторы.
Краткая характеристика тепловой схемы
Тепловая схема ГРЭС устанавливает взаимосвязь основных агрегатов и аппаратов электростанции, при помощи которых осуществляются выработка электрической энергии.
Проектируемая тепловая схема предусматривает установку парогенератора с турбоустановкой К-500-240-2 ХТГЗ.
Парогенератор вырабатывает перегретый пар дня турбины, который поступает в турбину сначала в часть высокого давления; отработав в ЦВД, пар подается промперегреватель парогенератора, после чего подается в часть среднего давления ЦСД. Пар отработавший в ЦСД по двум парам ресиверов направляется в цилиндры низкого давления. Далее пар выходит на подогрев питательной воды в регенеративные подогреватели Из ЧСД и ЧНД пар поступает на девять нерегулируемых отборов (регенеративные подогреватели) низкого давления, ПВД и в деаэратор. Конденсат из подогревателей обычно большей частью сливается в предыдущий подогреватель с более низкой температурой, низким давлением (каскадный слив).
Поступающая в парогенератор вода не должна содержать газов (О2 и СО2), могущих вызвать коррозию. Газы из воды удаляются как правило в термических деаэраторах, обогреваемых паром. Для этой цели в схеме установлены деаэратора с деаэрационными колонками ДСП-800, , они включены параллельно, и осуществляют нагрев конденсата до 164,2В°С при давлении 0,7 МПа, установлены на высоте 28 м для подпора питательного насоса. Деаэратор является одновременно ступенью нерегулируемого подогрева питательной воды. Из деаэратора питательная вода подается питательными насосами в. регенеративные подогреватели расположенные после питательного насоса, которые называются подогревателями высокого давления.
Конденсат турбины, подаваемый насосами через ПНД в охладитель эжектора, отсасывает воздух из конденсата (которому требуется вода как можно низкой температуры), а затем в охладитель выпоров из уплотнений турбины. Суммарный подогрев конденсата в этих подогревателях бывает до 70В°С.
Для резервирования отборов турбины или для получения пара других параметров, а также для осуществления оперативного пуска и остановки турбины и котла, установлены редукционно-охладительные установки РОУ, в которых достигается необходимое снижение давления и температуры пара.
3.Расчет тепловой схемы при нормальном режиме.
Исходные данные:
Прототип: турбина К-500-240-2
Начальные параметры пара и питательной воды: Р0 = 24 мПа, t0=555ºC, t пит. в 265ºС.
Давление пром. перегрева Рпп = 3,7 мПа. Температура пром. перегрева tпп = 555ºC
Конечное давление Р2=Рк= 0,0035 мПа.
Удельный объем конденсата после конденсатора Vк=39,48 .
Температура конденсата на выходе из конденсатора tк = 26,692ºC.
КПД цилиндра высокого давления hoi цвд=0,93
КПД цилиндра низкого и среднего давления hoi цсд и цнд = 0,95
КПД генератора hген=0,998, электомеханический КПД hмех=0,992
Проточная часть по отборам
| № | Р. мПа | tºC | D т/ч |
| 1 | 5,85 | 336 | 100 |
| 2 | 4,15 | 294 | 147,05 |
| 3 | 1,75 | 432 | 77 |
| 4 | 1,13 | 374 | 34,4 |
| 5 | 0,53 | 286 | 46,4 |
| 6 | 0,3 | 223 | 44,4 |
| 7 | 0,158 | 169 | 34 |
| 8 | 0,084 | 113 | 7,1+5,8 |
| 9 | 0,0165 | 56 | 28,8 |
1.1 Построение ориентировочного рабочего процесса турбины.
С учетом заданного значения КПД hoi цвд, цсд и цнд, строим hs диаграмму процесса расширения пара в проточной части. Для упрощения расчетов, пренебрегаем потерями в промперегреве, и на выхлопе турбины.
Порядок построения ориентировочного рабочего процесса в турбине, следующий:
1) По заданному давлению Р0 и температуре t0, по давлению и температуре промперегрева, Рпп и tпп, по давлению в конденсаторе Рк, с учетом значения КПД.
2) По известным Ро, Рпп, Рк, hoi, определятся значение энтальпии для каждой из этих точек.
ho=3365, h2t=1865, hпп=3580,
Определяем тепловой перепад проточной части турбины.
Н0ад= h0-h2t=3365-1865=1500 кжд/кг
3) Внутренний тепловой перепад турбины равен:
Hi= hoi цвд*hoi цсд+цнд*H0ад=1500*0,93*0,95= =1325,25 кДж/кг
Оцениваем предварительно теплоперепад через первую регулирующую ступень h0рс=100 кДж/кг.
Выбираем одновенечную регулирующую ступень.
II Определение ориентировочного расхода пара.
1) Расход пара на турбину по предварительно заданному КПД .(без учета утечек пара через концевые уплотнения)
D= Nрэ*10³ = 500000 =
Н0т´hoi´hген´hмех 1500´0,88´0,992´0,998
= 382,6 кг/с; 1377 т/ч
где hoi тАУ относительный внутренний КПД турбоустановки
равный hoi=hцвд´hцсд+цнд 0,88
Расчет подогревателей.
1) Выбираем схему подогрева воды с включением смешивающего подогревателя тАУ деаэратора, и схему перекачки дренажа подогревателей. Распределим регенеративный подогрев с использованием пара из отборов турбины. Для этого определяем три базовых точки:
а) в конденсаторе tк = f(Рк`) = 26,692ºС;
б) в деаэраторе tд = f(Pд) = f(7 бар) = 164,17;
в) за последним по ходу воды подогревателем t п.в. = 265ºС ;
2) В каждом подогревателе низкого давления (пнд) вода должна подогреваться на 20-30ºС, в деаэраторе на 15-30ºС, в подогревателе высокого давления (пвд) на 30-40ºС. Равномерно распределим подогрев конденсата между пнд1 и деаэратором, приняв подогрев в основном эжекторе и охладителе пароуплотнения равной 5ºС , температуру насыщения в деаэраторе tд.нас = 16,8 получим:
tк = t эж + t п.в. = 26,69 + 23,2 = 31,69ºС
tпнд1 = 31,69 + 23,2 = 54,9 ºС
tпнд2 = 54,9 + 23,2 = 78,1ºС
tпнд3 = 78,1 + 23,2 = 101,3ºС
tпнд4 = 101,3 + 23,2 = 124,5ºС
tпнд5 = 124,5 + 23,2 = 147,4ºС
деаэратор = tпнд5+ tд.нас = 147,4+16,8 =164,2ºС
2) Определяем повышение температуры в пвд.
tпвд= tп.в.-tд/n = 265-164.2/3=33,6ºС
Где n - число подогревателей высокого давления.
tпвд3=164,2+33,6= 197,8В°С
tпвд2= 197,8+33,6=231,4В°С
tпвд1=231,4+33,6=265В°С
4) Определяем температуры насыщения пара в отборах, как сумму температуры за подогревателем и величины недогрева. (для пнд dtns=3ºС, для пвд dtns=5ºС):
Для пнд:
tns9 = tпнд9 + dtns =54,9 + 3 = 57,9ºС
tns8=tпнд8+dtns=78,1+3=81,1ºС
tns7=tпнд7+dtns=101,3+3=104,1ºС
tns6=tпнд6+dtns=124,5+3=127,5ºС
tns5=tпнд5+dtns=147,4+3=150,4ºС
для пвд:
tns3 = tпвд3 + dtns=197,8+5=202,8ºС
tns2 = tпвд2 + dtns=231,4+5=236,4ºС
tns1 = tпвд1 + dtns=265+5=270ºС
5) По температурам насыщения из таблиц ВлТеплофизические свойства воды и водяного параВ» уточним давление в отборах.
Р9=0,18 бар
Р8=0,49 бар
Р7=1,16 бар
Р6=2,49 бар
Р5=4,75 бар
Р4д=7 бар
Р3=16,55 бар
Р2=31,13бар
Р1=55,05 бар
Определяем долю расхода пара на отбор :
ai=Gi/G
a1=27,1/382,6=0,0708
a2=40,97/382,6=0,107
a3=21,38/382,6=0,0558
a4=9,4/382,6=0,0243
a5=12,8/382,6=0,0331
a6=12,3/382,6=0,0318
a7=9,4/382,6=0,0243
a8=3,58/382,6=0,009
a9=7.7/382,6=0,019
aк примем исходя из условия, что расход в конденсатор составляет 0,674
Sai=1,04
3) На h-s диаграмме по известным данным отложим параметры отборов.
h01= 3010-2975=35 кДж/кг
h02=2930-2875=55 кДж/кг
h03=3360-3340=20 кДж/кг
h04=3240-3218=22 кДж/кг
h05=3040-3015=25 кДж/кг
h06=2910-2875=35 кДж/кг
h07=2790-2750=40 кДж/кг
h08=2675-2620=65 кДж/кг
h09=2430-2375=55 кДж/кг
(Этот раздел (3) советую проверять)
Определение размеров регулирующей ступени.
Диаметр регулирующей ступени определяется величиной теплового перепада, и отношением U/C1
1)Тепловой перепад на регулирующую ступень выбирается для конденсационной турбины большой мощности h0рс = 100 кДж/кг
1) Принимаем степень реакции. r = 0, 14
2) Определяем теплоперепад.
h0с = h0рс´(1-r) = 100´(1-0,1) = 86 кДж/кг
3) Определяем скорость пара на выходе из сопел.
С1= 44,72´f´h0с = 44,72´0,94´Ö86= 389,8м/с
Где ~ =0,94 тАУ скоростной коэффициент сопел
4) Принимаем отношение скоростей наивыгоднейшее для данной ступени.
U/Сф = 0,45
5) Определяем окружную скорость
U = С1´(U/Сф) = 389,8´0,45= 175,4м/с
6) Определяем средний диаметр ступени
dср = 60´U/pn = 60´219,2/3,14~3000 = 1,11м.
Где p=3,14 n = 3000 об./мин.
Определяем размер 1 не регулируемой ступени.
Задаемся рядом тепловых перепадов.
Для активной ступени, примем тепоперепад ступени равным h0 =
60 кДж/кг. (для активной 30-60 кДж/кг),
Степень реакции примем r = 0,2
1) Определяем скорость пара на выходе из сопел.
С1= 44,72´f´Öh0.1. = 44,72´0,95´Ö60 = 329,1м/с
Где ф = 0,95 - скоростной коэффициент сопел;
2) Задаем отношение скоростей для 1 не регулируемой активной ступени.
U/Сф = 0,45
3) Определяем окружную скорость 1 не регулируемой ступени.
U = С1´(U/Сф) = 329,1´0,45 = 148,1м/с
4) Определяем средний диаметр 1 не регулируемой ступени
dср = 60 U/p´n = 60´148,2/3,14´ 3000 = 0,94 м.
Где и =3,14 п = 3000 об./мин.
5) Определяем высоту сопловой решетки.
L1=10³´Gчвд´V1t/pdср´m´С1t´sina1´е
Где Gчвд тАУ расход пара на чвд, рваный 336 кг/с
V1t - удельный объем пара в конце изоэнторпийного расширения в соплах, определяется из hs диаграммы. И равен 0,028 м'/кг
С1t тАУ Теоретическая скорость истечения пара из сопловой решетки.
С1t=44,724Öh0.1=346 м/с
е тАУ степень парциальности, принимается равным единице.
a1э тАУ эффективный угол выхода потока из сопловой части. Принимаем 12В°.
m - коэффициент расхода сопловой решетки 0,97
L1=50 мм
Высота рабочей решетки первой не регулируемой ступени.
L2=L1+D1+D2 мм. Значения D1 тАУ внутренней, D2 тАУ внешней перекыш принимаем из таблиц. D1=1мм, D2=2,5 мм
L2=53,5 мм.
Построим треугольники скоростей для 1 не регулируемой ступени.
Масштаб: в 1 мм тАУ 5 м/с
Построив входной треугольник, находим угол входа на рабочие
лопатки b1=23В°, и W1=180 м/с.
Для построения выходного треугольника, найдем выходной угол
рабочих лопаток
b2=b1-(2В°¸4В°), b2=20В°
Располагаемый теплоперепад на рабочих лопатках:
h02=r´h0=0,2´60=12 кДж/кг
Найдем энергию торможения пара перед рабочими лопатками:
hw1=hw1²/2000=180²/2000=16,2 кДж/кг
Найдем полное теплопадение на рабочих лопатках:
h02*=h02+hw1=12+16,2=28,2 кДж/кг
Относительная скорость на выходе из рабочих лопаток.
W2= 44,72´y´Öh02=223 м/с
где y=0,94
из полученных данных строим выходной треугольник.
По треугольнику находим угол a2=50В°;
абсолютную скорость пара за ступенью
С2=100м/с.
Полученные данные заносим в таблицу 1.
Ориентировочный расчет последней ступени.
Определяем диаметр последней ступени, высоту сопловой и рабочей лопаток, и теплового перепада.
1) Диаметр последней ступени
![]()
dz=ÖDz´V2z´l/p´C2z´sina
где Dz тАУ расход пара через ЧНД, равен 211 кг/с
V2t тАУ удельный объем пара за рабочей решеткой последней ступени,
равен 39 м³/кг
С2z тАУ абсолютная скорость пара за последней ступенью.
принимаем 240 м/с
l - отношение диаметра к длине рабочей лопатки.
l=dz/L2z l=2,43;
a2z тАУ угол потока абсолютной скорости; принимаем 90В°
Подставив приведенные значения, получим:
dz=5,7 м, так как в данной турбине ЧНД выполнена двухпоточной,
dz=dz/2=5,7/2=2,39м.
Определим окружную скорость.
Uz=dz´p´/60 = 2,39´3,14´3000/60 = 375,23 м/с
где n тАУ число оборотов турбины, n=3000
Угол выхода b2 находим по формуле:
b2=arcsin´C2z´sina1z =36В°
W2z
где a1z=33В°
W2z находим по треугольнику скоростей W2z=440 м/с

масштаб: в 1мм 5м/с
3) Определим длину рабочей лопатки.
L2z=dz/l=2,39/2,43=0,983 м.
4) Определяем скорость пара на выходе из сопел.
С1=Uz´(U/Сф) = 375,32´0,7 =263 м/с.
Где (U/Сф) тАУ нивыгоднейшее соотношение скоростей для последней ступени. Для реактивных ступеней принимаем 0,7.
5) Определим угол входа b1 по треугольникам скоростей. b1=40В°
6) Определяем теплоперепад в соплах последней ступени.
h0с=1/2000[(C1/j)²-mс´С2пр²] кДж/кг
Где j=0,95
mс для реактивной ступени равна единице.
C2пр=0,75´С2z = 240´0,75 = 180 м/с
Подставив имеющиеся данные получим:
h0с=22,1 кДж/кг
7) Определяем теплоперепад срабатываемый на рабочих лопатках.
h0л=1/2000[(W2/y)²-W1]
где y - скоростной коэффициент рабочих лопаток, y=0,95
W1 находим по треугольнику скоростей, W1= 210 м/с.
Подставив имеющиеся данные получим:
h0л =85,2 кДж/кг
8) Определяем теплоперепад последней ступени.
h0z=h0с+h0л= 22,1+85,2= 107,3 кДж/кг
9) Определяем степень реакции ступени:
r=h0л/h0и=85,2/107,3=0,79.
Таблица 1.

4. Определение показателей тепловой экономичности при номинальном режиме.
4.1 Определение удельного расхода пара.
Мерой технического совершенства конденсационного турбоагрегата в первом приближении может служить удельный расход пара d0
d0= D0 = 1500000 =3 кг/кВт *ч
![]()
Wэ 500000
где D0 расход пара на турбину в кг/ч; Wэ электрическая мощность турбоагрегата, в кВт/ч.
4.2 КПД ГРЭС.
Общий КПД энергоблока составляется из четырех КПД.
hс=hпг*hтр*hту*hсн
hср КПД собственных нужд 0,95
где hпг тАУ КПД парогенератора, hпг=0,9175
hтр тАУ КПД транспорта тепла, hтр= 0,985
hту тАУ КПД турбоустановки равен: hту= 3600
qту
где qту тАУ удельный расход тепла на турбоустановку
![]()
qту= Qту =4164860000 = 8329,72 кДж/(кВт/ч)
Wэ 500000
где Qту расход тепла на турбоустановку
Qту= D0(h0-hп.в.)+Dпп(hпп``-hпп`)=
= 1500000(3365-1156)+1252000(3580-2900)= =4164860000 кВт
![]()
hту= 3600 = 3600 =0,43
qту 8329,
тогда КПД энергоблока будет равен:
hс=0,92*0,985*0,43*0,96= 0,37
Так как на проектируемой ГРЭС устанавливается три одинаковых энергоблока, то общий КПД ГРЭС будет равен КПД блока.
4.3 Определение удельного расхода условного топлива.
удельный расход условного топлива (нетто) определяется по формуле:
bу= 34,12 = 34,12 = 92,21г/МДж=332 г/кВт
![]()
hс 0,37
5. Определение максимального часового расхода условного топлива.
Максимальный часовой расход условного топлива будем считать по формуле.
Вmax= n´Qка.max ´4,19/10³
hка´Qраб. усл.
Где n тАУ число котлов;
Qка max - максимальный расход тепла на парогенератор;
Qраб. усл тАУ низшая теплота сгорания условного топлива 7000 ккал или 29330 кДж;
hка тАУ КПД котлоагрегата;
Ву.max = n´4562850000 ´4,19/10³= 510,т/ч
0,92´7000
Максимальный часовой расход натурального топлива будем считать по формуле
Вmax= n´Qка.max ´4,19/10³
hка´Qраб. нат.
Где n тАУ число котлов;
Qка max - максимальный расход тепла на парогенератор;
Qраб. усл тАУ низшая теплота сгорания натурального топлива (экибастузский каменный уголь марки СС) 4000 ккал или 16760 кДж;
hка тАУ КПД котлоагрегата;
Вн.max= n´4562850000 ´4,19/10³= 893,т/ч
0,92´4000
6.Выбор типа , единичной мощности и количество устанавливаемых котлов. Краткая характеристика котла.
6.1 По данным задания, и характеристике устанавливаемой турбины, выбор котла произведем по рекомендации (л2; стр5). Выбираем прямоточный однокорпусный котел СКД типа П-57, котороый предназначен для сжигания углей Экибастузского месторождения. На проектируемой ГРЭС установим три котла данного типа, по одному на каждый энергоблок.
6.2 Расчет тепловой нагрузки парогенератора.
Qка=D0(h0-hп.в.)+Dпп(hпп``-hпп`).
где D0 - производительность парогенератора в кг/ч.
Dпп тАУ расход вторичного пара.
Qка= 1650000(3365-1156)+ 1350000 (3580-2900)= 4562850000 кВт.
6.2 Расход топлива подаваемого в топку.
Вр= Qка = 296726, кг/ч, или 296,7 т/ч
Qр´hка´4,19
где Qр тАУ низшая теплота сгорания топлива 4000 ккал
(Экибастузский каменный уголь марки СС)
hка тАУ КПД парогенератора.
Суточное потребление одного котла:
Всут= 296,7´24= 7121,5 т.
Суточное потребление топлива электростанцией на три энергоблока:
Вст. сут= 7121,5´3= 21364,3 т.
Месячное потребление:
Вмес.= 21364,3´30= 640929 т.
6.3 Котел П-57 энергоблока 500 МВт
Однокорпусный прямоточный паровой котел (моноблок) для сжигания экибастузских каменных углей, отличающимися многозольностью, абразивностью и тугоплавкостью золы, получил маркировку П-57
(Пп-1650-255). В связи с особыми свойствами золы компоновка агрегата выполнена ЗиО по Т -образной схеме с твердым шлакоудалением . Паропроизводительность котла 460 кг/с (1650 т/ч) давление пара 24,5 МПа, температура 545В°С, расход вторичного пара 375 кг/с, температура промперегрева -545В°С, температура" питательной воды 270В°С, КПД- 91,75 %.
Рабочая среда в котле движется двумя подъемными потоками. Зона максимальной теплоемкости вынесена в конвективный газоход. Средняя массовая скорость в НРЧ -2000 кг/(м³с). Экраны из плавниковых труб, агрегат цельносварной с уравновешенной тягой. Панели СРЧ, экранирующие боковые стены; на уровне выходного окна из топки образуют фестон. Змеевики конвективных поверхностей перпендикулярны фронту, длиной в половину глубины конвективной шахты, поэтому все камеры трубных пакетов расположены на фронте и задней стене; пакеты опираются через стойки на пять балок. Все поверхности нагрева размещены симметрично относительно вертикальной оси котла, что облегчает регулирование параметров по потокам воздействием подачи вода - топливо: На растопочных режимах включают - рециркуляционные насосы ограниченной производительности.
Промперегреватель размещен по ходу газов после конвективного перегревателя высокого давления (КПВД) в зоне умеренных температур газов Тракт промперегревателя выполнен в четыре потока, которые направляются последовательно в паро-паровой теплообменник 1, конвективные поверхности первой 5 и второй 4 ступеней. Регулирование промперегрева осуществляется изменением пропуска вторичного пара через ППТО.
На котле установлено восемь углеразмольных мельниц, одна из них резервная, система пылеприготовления с прямым вдуванием. 24 горелки установлены в два яруса на боковых стенах топки. Очистка стен топки осуществляется аппаратами ОПР-5, а устройства по очистке конвективных поверхностей отсутствуют в расчете на самоочистку за счет наличия в зоне экибастузских каменных углей песка.
В конструкции котла воплощены прогрессивные идеи, в том числе: крупноблочное изготовление поверхностей нагрева (коэффициент блочности 78 %, число блоков - 3150 шт.), возможность выполнения. Механизированного ремонта, автоматизация процессов регулирования в широком диапазоне нагрузок др. Головные агрегаты показали высокую надежность и экономичность в работе, что позволило котлу П-57 присвоить Знак качества. В связи с повышением поставочной зольности экибастузского угля ЗиО провел дальнейшую модернизацию агрегата с изменением наименования П-57-3. (л3; стртАж.)

6.4 Выбор системы пылеприготовления для котла П-57
Выбираем индивидуальную систему пылеприготовления с прямым вдуванием тАУ с непосредственной подачей пыли в топку без промежуточного бункера пыли.
Для экибастузского каменного угля, характерезующегося большим выходом летучих (30%), целесообразно применение молотковых мельниц.
Выбираем восемь молотковых мельниц типа ММТ тАУ2000/2590/750, производительностью 44 т/ч, одна их которых резервная.

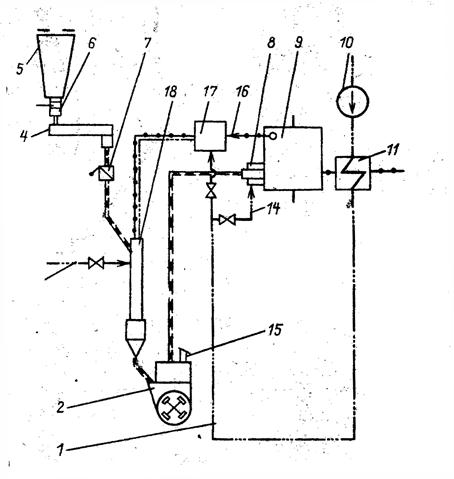
рис. 6.2 индивидуальная система пылеприготовления с прямым вдуванием с молотковыми мельницами с газовой сушкой.
1 тАУ короб горячего воздуха, 2 тАУ мельница, 3 тАУ присадка холдного воздуха, 4 тАУ питатель сырого топлива, 5 тАУ бункер сырого топлива;
6 тАУ шибера; 7 тАУ клапан мигалка; 8 тАУ горелка; 9 тАУ котел; 10 тАУ дутьевой вентилятор; 11 тАУ воздухоподогреватель; 14 короб вторичного воздуха; 15 тАУ взрывные клапана; 16 тАУ газоход; 17 тАУ смеситель; 18 тАУ устройство нисходящей сушки.
7. Выбор схемы топливного хозяйства ГРЭС на основном топливе.
Основным топливом проектируемой ГРЭС является экибастузский
каменный уголь, марки СС.
СХЕМА ТОПЛИВНОГО ХОЗЯЙСТВАЭЛЕКТРОСТАНЦИИ
Топливно-транспортное хозяйство современных тепловых электростанций представляет собой комплекс сооружений, машин и механизмов, предназначенных для:
1) приема поступающих и отправки разгруженных железнодорожных маршрутов;
2) размораживания топлива в полувагонах перед разгрузкой, если поступает смерзшееся топливо;
3) разгрузки поступивших железнодорожных маршрутов;
4) внутристанционного транспорта топлива к бункерам парогенераторов или на склад;
5) хранения и выдачи топлива со склада;
6) дробления топлива до установленного нормами размера кусков;
7) распределения топлива по бункерам парогенераторов.
Кроме того, в тракте топливоподачи устанавливают механизмы для улавливания и удаления металлических и древесных предметов из потока топлива с целью предохранения технологического оборудования от поломок, пробоотборные и проборазделочные установки, а также контрольно-измерительные приборы, измеряющие количество поступающего топлива.
Подъездные пути.
Уголь на ГРЭС поставляется железнодорожным транспортом.
Подъездные пути эксплуатируются по договору с предприятием Министерства путей сообщения, (ЕТП) заключаемому на основании ВлЕдиного технологического процесса работы подъездных путей и станций примыканияВ».Норма простоя вагонов с углем под разгрузкой определяется в результате расчетов в ЕТП затрат времени на следующие операции: подачу маршрута с углем со станции примыкания на ГРЭС; взвешивание угля, разбивку маршрута на ставки и маневровые работы на ГРЭС; разгрузку вагонов с углем ; сбор порожняка иего возврат на станцию примыкания.
Топливо доставляется в четырехосных полувагонах грузоподъемностью 63 тонны.
7. 1 Размораживающие устройства.
Восстановление сыпучести смерзшегося в полувагонах топлива осуществляют разогревом его в размораживающих устройствах. Для проектируемой ГРЭС наиболее эффективным является пленочное оттаивание топлива от стенок полувагонов в размораживающем устройстве, с последующей разгрузкой их вагоноопрокидывателем.

рис 7.2
На рисунке показано размораживающее устройство комбинированного типа. Стенки полувагонов нагреваются от трубчатых излучателей обогреваемых паром и имеющих температуру поверхности 150 - 200В°С. Кроме трубчатых излучателей в размораживающем устройстве установлены вентиляторы для циркуляции горячего воздуха.
Расчет вместимости размораживающего устройства.
Вместимость определяется по формуле : n= B(tр+tм)
где tр=1,5 ч и tм=0,5ч; В тАУ Часовой q
расход топлива эл.станцией т/ч; q тАУ усредненная грузоподъемность полувагона т. Размораживающее устройство тАУ двухпутное, комбинированное.
n= 877´(1,5+0,5) =28 вагонов.
63
Разгрузочные устройства с вагоноопокидывателям.
Этот тип разгрузочного устройства применяют при поступлении на электростанции низкокачественного топлива с повышенной влажностью, низкой сыпучестью, склонного к смерзанию при низкой температуре.
Применять вагоноопрокидыватели экономически целесообразно на тепловых электростанциях с расходом топлива свыше 150 т/ч. Разгрузочные устройства с вагопоопрокидывателями позволяют снизить количество эксплуатационного персонала, занятого на разгрузке, уменьшить длительность простоя железнодорожных полувагонов на территории ТЭС, разгружать большое количество топлива в минимально короткие сроки.
На электростанциях с расходом топлива, от 400 до 1250 т/ч, как правило, устанавливают два вагоноопрокидывателя.
На проектируемой ГРЭС установим два роторных вагоноопрокидывателя, которые разгружают полувагоны поворотом их вокруг продольной оси на 175В°. (рис )
Роторные вагоноопрокидыватели требуют значительного заглубления подбункерного помещения.

рис 7.3
МЕХАНИЗМЫ ВНУТРИСТАНЦИОННОГО
ТРАНСПОРТА
Транспорт твердого топлива от разгрузочных устройств до бункеров сырого топлива в главном корпусе, на склад и со склада осуществляется ленточными конвейерами. Ленточные конвейеры могут быть следующих типов: стационарные и передвижные с движением ленты в одном направлении и с движением ленты попеременно в одном из двух направлений (реверсивные).
Ленточные конвейеры имеют высокую производительность, являются надежным и экономичным механизмом непрерывного действия, ремонт и обслуживание которого сравнительно просты. Конвейеры применяют горизонтальные, наклонные, горизонтально-наклонные. Угол наклона конвейеров с гладкой лентой принимается не более 18В° для всех видов твердого топлива. В местах загрузки конвейера крупнокусковым топливом угол наклона конвейера ограничивается 12 тАУ 15В° для предотвращения скатывания крупных кусков.
Через пересыпные короба топливо загружается на верхнюю рабочую ветвь ленты и транспортируется к месту разгрузки, которая происходит через концевые барабаны или осуществляется специальными разгрузочными устройствами в необходимых местах.
Основным элементом ленточного конвейера является бесконечная лента, огибающая два или несколько барабанов и поддерживаемая роликами. Скорость движения ленты конвейера принимается от 2,0 до 2,5 м/с.

рис 7.4
Для обеспечения надежности на электростанциях всегда устанавливают два параллельных конвейера. Конвейеры устанавливаются в закрытых отапливаемых помещениях, включая галереи и эстакады. Высота галерей (эстакад) в свету не ниже 2,2 м, ширина исходя из обеспечения прохода между конвейерами не менее 1000 мм и боковых проходов 700 мм. Через каждые 75 - 100 м предусматриваются переходные мостики через конвейеры.
Дробильные устройства.
До поступления в мельницы парогенераторов топливо измельчается в молотковых дробилках до размеров кусков не более 15 мм, а при высокой влажности до 25 мм. Для станции с потреблением топлива в 877 т/ч, выберем две молотковых дробилки . М20´30, производительностью 1000 тАУ 1250 т/ч.
по одной на каждую нитку
Топливные склады.
Топливные склады выполняются открытыми. Склад, организуемый для планового и долговременного хранения топлива в целях обеспечения электростанции топливом при длительных задержках в его доставке, называется резервным складом или резервной частью склада. Склад, организуемый для систематического выравнивания расхождения в количестве прибывающего на электростанцию топлива и подаваемого в данный момент в бункера котельной, называется расходным.
Резервные и расходные склады угля располагаются на территории электростанции поблизости от главного корпуса и могут совмещаться на одной площадке. В этом случае из-за нечеткой границы между ними значительная часть резервного склада переходит в разряд расходного. На таких совмещенных складах хранить топливо необходимо в соответствии с нормами, установленными для резервных складов.
Вместимость складов угля и сланцев принимается, как правило, равной 30-суточному расходу топлива. Если электростанция проектируется с учетом расширения, то должна предусматриваться и возможность расширения склада.
Для определения емкости топливного склада рассчитаем месячный расход топлива при максимальной нагрузке.
Часовой расход топлива на проектируемой ГРЭС - 877 т, суточный тАУ 21048 т, месячный - 631440 т.
Для проектируемой ГРЭС выбираем кольцевой склад с поворотным штабелеукладчиком и роторным перегружателем.
На рисунке показана компоновка такого склада емкостью 650000 т. угля.
Из разгрузочного устройства ленточными конвейерами уголь подается к штабелеукладчику. Поворотным штабелеукладчиком, на стреле которого установлены два конвейера: стационарный и передвижной реверсивный тАУ топливо подается на склад. Склад в этом случае имеет форму кольца трапецеидального профиля. Со склада топливо выдается поворотным роторным перегружателем, мост которого вращается относительно той же вертикальной оси центральной колонны, что и штабелеукладчик.
Центральная вертикальная колонна и бетонное кольцо., ограничивающее внутренний диаметр штабеля, являются опорами, по которым происходит передвижение штабелеукладчика и роторного перегружателя.
Описанная механизация угольного склада позволяет полностью или частично автоматизировать складские операции с производительностью до 1800 тАУ 2000 т/ч.

8. Выбор оборудования схемы ГРЭС
8.1 РЕГЕНЕРАТИВНЫЕ ПОДОГРЕВАТЕЛИ
Регенеративная установка, предназначенная для подогрева поступающей в котел питательной воды паром из нерегулируемых отборов турбины, состоит из части низкого давления (от конденсатора до деаэратора) и части высокого давления (от деаэратора до котла). Основными элементами регенеративной установки в части низкого давления являются пять поверхностных подогревателей ПНД-1, ПНД-2, ПНД-З, ПНД-4, ПНД-5, находящихся по водяной стороне од напором конденсатных насосов. В части высокого давления для регенеративного подогрева питательной воды предназначены три поверхностных подогревателя ПВД-7, ПВД-8 и ПВД-9, находящихся по водяной стороне под напором питательных насосов.
Вся регенеративная установка выполнена однониточной.
Характеристики регенеративных подогревателей, применяемых в турбоустановке, приведены табл. 8.1 (л2; стр 114)
таблица 8.1
номер отбо ра | тип подогревателя | поверхность нарева м² | параметры паорвого пространства (в корпусе) | давле ние воды кгс/см² | рас ход воды т/ч | гидравлическое сопротивление кПа | ||
давле ние МПа | температура В°С | |||||||
пнд1 пнд2 пнд3 пнд4 пнд5 | VIII VII VI V IV | ПН-800-29-7-III НЖ ПН-800-29-7-II НЖ ПН-800-29-7-I НЖ ПН-900-29-7-II НЖ ПН-900-29-7-I НЖ | 722 1000 705 1015 900 | 0,49 0,49 0,49 0,49 0,49 | 53,6 94,2 109,9 225 285 | 2,84 2,84 2,84 2,84 2,84 | 1067 1067 1179 1179 1271 | 59,78 67,62 79,38 89,2 79,38 |
пвд7 пвд8 пвд9 | III II I | ПВ-200-380-17 ПВ-200-380-44 ПВ-200-380-61 | 2150 2150 2150 | 1,67 4,31 5,98 | 423 304 345 | 37,24 37,24 37,24 | 1705 1625 1504 | 404,7 453,7 327,32 |
В состав питательно-деаэраторной установки входят деаэраторы, пусковые подогреватели низкого давления, предвключенные (бустерные) и главные питательные насосы, приводные турбины питательных насосов с вспомогательным оборудованием.
8.2 Деаэратор.
Выбираем деаэратор производства БКЗ с деаэрационной колонкой ДП-1600 производительностью по питательной воде 1600 т/ч, который осуществляют нагрев конденсата до 164,2 В°С и удаление из него неконденсирующихся газов. Номинальное давление в деаэраторах 0,69 МПа (7,0 кгс/см²). Деаэратор установлен на отметке 28 м, что обеспечивает необходимый подпор давления на всосе бустерных насосов с запасом от вскипания 13 В°С.
Питание деаэратора паром осуществляется из следующих источников:
из IV отбора при эксплуатации блока с нагрузкой выше 0,7-0,75 максимальной;
из III отбора в диапазоне нагрузок 0,5-0,7 минимальной;
из коллектора собственных нужд при нагрузке ниже 0,5 максимальной ( в том числе в период пуска и после сброса нагрузки.)
8.3 Приводная турбина энергоблока.
Приводная турбина питательных насосов энергоблока 500 МВт с одновальным турбоагрегатом соединяется со стороны выхлопной части с зубчатой муфтой с валом питательного насоса, а со стороны переднего подшипника через одноступенчатый редуктор бустерным насосом.
Турбина питается паром из IV отбора главной турбины,. Энергоблок имеет по два турбонасоса с произво
Вместе с этим смотрят:
11-этажный жилой дом с мансардой
14-этажный 84-квартирный жилой дом
16-этажный жилой дом с монолитным каркасом в г. Краснодаре
180-квартирный жилой дом в г. Тихорецке
2-этажный 3-секционный 18-квартирный жилой дом в г. Мирном