Доклад по волоконной оптике
Санкт-Петербургский Государственный Технический Университет
Радиофизический факультет
Доклад
по волоконной оптике
студентов группы 2094/1
Михеева Евгения
и Агафонова Максима
10 ноября 2001 года Санкт-Петербург
Введение
История вопроса
Разумеется, нет ничего нового в использовании частот оптического диапазона для передачи информации. Визуальные методы связи широко используются не только человеком, но и в животном мире. Человек применял оптические сигналы для передачи информации на большие расстояния еще во времена первобытной цивилизации. Днем он использовал для этого, например, дымовые сигналы или отраженный солнечный свет, а ночью сигнальные огни. В подтверждение этого можно привести два примера из истории Древней Греции.
В пьесе Эсхила ВлАгамемнонВ», написанной в V веке до н.э. и описывающей события из греческой мифологии, происходившее за тысячелетие до ее написания, приведены объяснения Клитемнестры того, как она узнала предыдущей ночью о падении Трои:
ВлГефест, пославшей с Иды вестовой огонь. Огонь огню, костер костру известие передавалВ».
Затем она дает графическое описание девяти символов, использованных для передачи новостей из Средней Азии в Аргос с помощью сигнальных огней.
Немного позже Геродот опишет, как в 480 г. до н.э. персидский полководец Мордониус, размышлял об отправлении теми же средствами аналогичного послания о взятии Афин своему императору Кирксу. Однако его мечта осталась неосуществленной.
В каждом из приведенных примеров информация передавалась с помощью заранее обусловленного сигнала. Хотя в древние времена были и более сложные методы сигнализации, однако на протяжении столетий вплоть до изобретения флажковой сигнализации в конце XVIII столетия, по-видимому использовались только сигнальные огни. Со временем они были заменены машинным на суше и флажковой сигнализацией и проблесковыми сигнальными лампами на море. Последние, в свою очередь, были заменены телефоном и телеграфной радиосвязью. К этому времени произошли существенные изменения в форме (характере) передаваемой информации. Все ранние системы передачи информации были такими, которые теперь мы назвали бы цифровыми системами, в то время как телефон и радио позволили передавать аналоговую информацию в аналоговом виде, т.е. в виде электрического колебания, непрерывно изменяющегося во времени.
Новизна и преимущество современных оптических систем связи заключается в том, что оптический сигнал обычно распространяется направленно по световодной системе и обеспечивает высокую информационную емкость канала связи.
Можно сказать, что современная эра оптической связи началась с изобретения лазера в 1958 г. и последовавшем вскоре созданием первых лазеров в 1961 г. По сравнению с излучением обычных источников оптического диапазона лазерное излучение обладает высокой монохроматичностью и когерентностью и имеет очень большую интенсивность. Лазерное излучение в самом деле очень похоже на излучение обычных радиопередатчиков СВЧ диапазона, поэтому было совершенно естественно использовать его в качестве несущего колебания в системах связи. На первом этапе основной причиной интереса к лазерному излучению была возможность получения исключительно широкой полосы пропускания при условии осуществления его модуляции в полосе частот, составляющей всего несколько процентов от основной частоты излучения лазера. В самом деле лазерная система связи на гелий-неоновом лазере имеет полосу пропускания 470 ГГц (1% от основной частоты), в которой можно разместить одновременно около миллиона телевизионных каналов.
В 60-е годы было предложено много технических решений по осуществлению различных видов модуляции лазерных излучателей (частотный, фазовый, амплитудный, по интенсивности и полярности, частотно-импульсный), а также был создан ряд лазерных систем связи, использующих распространение света в свободном пространстве.
В это же время широко проводились эксперименты по созданию направляющих систем связи, в которых пучок вводился в канал передачи с помощью линз, располагаемых друг от друга на расстоянии 10 или 100 метров. Благодаря работам К.С. Као с сотрудниками из Standard Telecommunications Laboratories в Харлоу (Англия) появился новый подход к созданию направляющих лазерных систем связи. Они предложили для передачи светового сигнала использовать длинные оптически волокна, подобные тем, которые уже использовались в эндоскопии и других областях. Можно утверждать, что статья Као и Хокэма, опубликованная в 1966 году, заложила основу теории волоконно-оптической связи.
Основной причиной, сдерживающей практическую реализацию этой идеи, было большое затухание сигнала в оптическом волокне. Если в ясный день ослабление оптического сигнала в атмосфере составляет всего несколько дБ на километр, то имевшиеся в то время лучшие стекла обладали минимальными потерями в видимой области спектра (порядка 1000 дБ/км). Главный тезис Као и Хокэма сводился к тому, что, если бы удалось уменьшить затухание в стекле в видимой или ближней инфракрасной области спектра до 20 дБ/км, то стало бы возможным создание практических волоконно-оптических систем связи. При таком уровне затухания в волокне мощность передаваемого сигнала уменьшилась бы 106 раз при прохождении расстояния 3 км. Производители стекла во главе с фирмой Corning (США) нашли пути удаления примесей из материала волокна и достигли этого требуемого уровня потерь в 1970 году, а к 1975 г. уменьшили их до 20 дБ/км. Японские исследователи опубликовали результаты по получению рекордно малых потерь в волокне, а именно 0,5 дБ/км в 1976 г. и 0,2 дБ/км в 1979 г. Если потерь 0,2 дБ/км могли быть обеспечены на большой длине волокна, то мощность передаваемого сигнал уменьшилась бы лишь в 2 раза после прохождения им расстояния 15 км. Следует, однако, подчеркнуть, что приведенные рекордно малые потери были получены в лабораторных условиях на более длинных волнах (1,55 мкм) и были достигнуты главным образом благодаря удалению из волокна ионов гидроксила.
К 1980 г. многие фирмы в ряде стран уже выпускали волокно с потерями менее 10 дБ/км и были созданы надежные полупроводниковые источники оптического излучения (на GaAs) и фотодетекторы (на Si). Во всех странах, имеющих развитую индустрию связи, стали проводится всесторонние испытания волоконно-оптических линий связи (ВОЛС), включаемых в обычные телефонные сети.
Используемые в ВОЛС полупроводниковые источники света имеют неизменно широкую полосу излучения, составляющую около 30 нм у светодиодов (СД) и около 3 нм у полупроводниковых лазеров. Это означает, что по сравнению с современной сложной системой радиосвязи оптические системы связи первого поколения оказываются сравнительно простыми и, по существу, состоят только из включаемого и выключаемого источника широкополосного ВлшумаВ». Некоторые самые ранние системы телеграфной радиосвязи использовали этот же принцип до появления перестраиваемых избирательных систем, позволивших использовать узкополосные несущие колебания. Теоретически исключительно широкая полоса пропускания оптических систем связи оказалась нереалезуемой на практике, однако в результате проведенных исследований все же была создана простая и дешевая оптическая система связи.
Краткий обзор развития линий связи
Линии связи возникли одновременно с появлением электрического телеграфа. Первые линии связи были кабельными. Однако вследствие несовершенства конструкции кабелей подземные кабельные линии связи вскоре уступили место воздушным. Первая воздушная линия большой протяженности была построена в 1854 г. между Петербургом и Варшавой. В начале 70-х годов прошлого столетия была построена воздушная телеграфная линия от Петербурга до Владивостока длиной около 10 тыс. км. В 1939 г. была пущена в эксплуатацию величайшая в мире по протяженности высокочастотная телефонная магистраль МоскватАФХабаровск длиной 8300 км.
Создание первых кабельных линий связано с именем русского ученого П. Л. Шиллинга. Еще в 1812 г. Шиллинг в Петербурге демонстрировал взрывы морских мин, использовав для этой цели созданный им изолированный проводник.
В 1851 г. одновременно с постройкой железной дороги между Москвой и Петербургом был проложен телеграфный кабель, изолированный гуттаперчей. Первые подводные кабели были проложены в 1852 г. через Северную Двину и в 1879 г. через Каспийское море между Баку и Красноводском. В 1866 г. вступила в строй кабельная трансатлантическая магистраль телеграфной связи между Францией и США,
В 1882тАФ1884 гг. в Москве, Петрограде, Риге, Одессе были построены первые в России городские телефонные сети. В 90-х годах прошлого столетия на городских телефонных сетях Москвы и Петрограда были подвешены первые кабели, насчитывающие до 54 жил. В 1901 г. началась постройка подземной городской телефонной сети.
Первые конструкции кабелей связи, относящиеся к началу XX века, позволили осуществлять телефонную передачу на небольшие расстояния. Это были так называемые городские телефонные кабели с воздушно-бумажной изоляцией жил и парной их скруткой. В 1900тАФ1902 гг. была сделана успешная попытка повысить дальность передачи методами искусственного увеличения индуктивности кабелей путем включения в цепь катушек индуктивности (предложение Пупина), а также применения токопроводящих жил с ферромагнитной обмоткой (предложение Крарупа). Такие способы на том этапе позволили увеличить дальность телеграфной и телефонной связи в несколько раз.
Важным этапом в развитии техники связи явилось изобретение, а начиная с 1912тАФ1913 гг. освоение производства электронных ламп. В 1917 г. В. И. Коваленковым был разработан и испытан на линии телефонный усилитель на электронных лампах. В 1923 г. была осуществлена телефонная связь с усилителями на линии ХарьковтАФМоскватАФПетроград.
В 30-х годах началось развитие многоканальных систем передачи. В последующем стремление расширить спектр передаваемых частот и увеличить пропускную способность линий привело к созданию новых типов кабелей, так называемых коаксиальных. Но массовое изготовление их относится лишь к 1935 г., к моменту появления новых высококачественных диэлектриков типа эскапона, высокочастотной керамики, полистирола, стирофлекса и т. д. Эти кабели допускают передачу энергии при частоте токов до нескольких миллионов герц и позволяют производить по ним передачу телевизионных программ на большие расстояния. Первая коаксиальная линия на 240 каналов ВЧ телефонирования была проложена в 1936 г. По первым трансатлантическим подводным кабелям, проложенным в 1856 г., организовывали лишь телеграфную связь, и только через 100 лет, в 1956 г., была сооружена подводная коаксиальная магистраль между Европой и Америкой для многоканальной телефонной связи.
В 1965тАФ1967 гг. появились опытные волноводные линии связи для передачи широкополосной информации, а также криогенные сверхпроводящие кабельные линии с весьма малым затуханием. С 1970 г. активно развернулись работы по созданию световодов и оптических кабелей, использующих видимое и инфракрасное излучения оптического диапазона волн.
Создание волоконного световода и получение непрерывной генерации полупроводникового лазера сыграли решающую роль в быстром развитии волоконно-оптической связи. К началу 80-х годов были разработаны и испытаны в реальных условиях волоконно-оптические системы связи. Основные сферы применения таких систем тАФ телефонная сеть, кабельное телевидение, внутриобъектовая связь, вычислительная техника, система контроля и управления технологическими процессами и т. д.
В России и других странах проложены городские и междугородные волоконно-оптические линии связи. Им отводится ведущее место в научно-техническом прогрессе отрасли связи.
Линии связи и основные свойства ВОЛС
На современном этапе развития общества в условиях научно-технического прогресса непрерывно возрастает объем информации. Как показывают теоретические и экспериментальные (статистические) исследования, продукция отрасли связи, выражающаяся в объеме передаваемой информации, возрастает пропорционально квадрату прироста валового продукта народного хозяйства. Это определяется необходимостью расширения взаимосвязи между различными звеньями народного хозяйства, а также увеличением объема информации в технической, научной, политической и культурной жизни общества. Повышаются требования к скорости и качеству передачи разнообразной информации, увеличиваются расстояния между абонентами. Связь необходима для оперативного управления экономикой и работы государственных органов, для повышения обороноспособности страны и удовлетворения культурно-бытовых потребностей населения.
В эпоху научно-технической революции связь стала составным звеном производственного процесса. Она используется для управления технологическими процессами, электронно-вычислительными машинами, роботами, промышленными предприятиями т. д. Непременным и одним из наиболее сложных и дорогостоящих элементов связи являются линии связи (ЛС), по которым передаются информационные электромагнитные сигналы от одного абонента (станции, передатчика, регенератора и т.д.) к другому (станции, регенератору, приемнику и т. д.) и обратно. Очевидно, что эффективность работы систем связи во многом предопределяется качеством ЛС, их свойствами и параметрами, а также зависимостью этих величин от частоты и воздействия различных факторов, включая мешающие влияния сторонних электромагнитных полей.
Различают два основных типа ЛС: линии в атмосфере (радиолинии РЛ) и направляющие линии передачи (линии связи).
Отличительной особенностью направляющих линий связи является то, что распространение сигналов в них от одного абонента (станции, устройства, элемента схемы и т. д.) к другому осуществляется только по специально созданным цепям и трактам ЛС, образующим направляющие системы, предназначенные для передачи электромагнитных сигналов в заданном направлении с должными качеством и надежностью.
В настоящее время по линиям связи передаются сигналы от постоянного тока до оптического диапазона частот, а рабочий диапазон длин волн простирается от 0,85 мкм до сотен километров.
Различают три основных типа ЛС: кабельные (КЛ), воздушные (ВЛ), волоконно-оптические (ВОЛС). Кабельные и воздушные линии относятся к проводным линиям, у которых направляющие системы образуются системами тАЬпроводниктАФдиэлектриктАЭ, а волоконно-оптические линии представляют собой диэлектрические волноводы, направляющая система которых состоит из диэлектриков с различными показателями преломления.
Волоконно-оптические линии связи представляют собой системы для передачи световых сигналов микроволнового диапазона волн от 0,8 до 1,6 мкм по оптическим кабелям. Этот вид линий связи рассматривается как наиболее перспективный. Достоинствами ВОЛС являются низкие потери, большая пропускная способность, малые масса и габаритные размеры, экономия цветных металлов, высокая степень защищенности от внешних и взаимных помех.
Основные требования к линиям связи
В общем виде требования, предъявляемые высокоразвитой современной техникой электросвязи к междугородным линиям связи, могут быть сформулированы следующим образом:
В· осуществление связи на расстояния до 12500 км в пределах страны и до 25 000 для международной связи;
В· широкополосность и пригодность для передачи различных видов современной информации (телевидение, телефонирование, передача данных, вещание, передача полос газет и т. д.);
В· защищенность цепей от взаимных и внешних помех, а также от грозы и коррозии;
В· стабильность электрических параметров линии, устойчивость и надежность связи;
В· экономичность системы связи в целом.
Кабельная линия междугородной связи представляет собой сложное техническое сооружение, состоящее из огромного числа элементов. Так как линия предназначена для длительной работы (десятки лет) и на ней должна быть обеспечена бесперебойная работа сотен и тысяч каналов связи, то ко всем элементам линейно-кабельного оборудования, и в первую очередь к кабелям и кабельной арматуре, входящим в линейный тракт передачи сигналов, предъявляются высокие требования. Выбор типа и конструкции линии связи определяется не только процессом распространения энергии вдоль линии, но и необходимостью защитить расположенные рядом ВЧ цепи от взаимных мешающих влияний. Кабельные диэлектрики выбирают исходя из требования обеспечения наибольшей дальности связи в каналах ВЧ при минимальных потерях.
В соответствии с этим кабельная техника развивается в следующих направлениях:
1. Преимущественное развитие коаксиальных систем, позволяющих организовать мощные пучки связи и передачу программ телевидения на большие расстояния по однокабельной системе связи.
2. Создание и внедрение перспективных ОК связи, обеспечивающих получение большого числа каналов и не требующих для своего производства дефицитных металлов (медь, свинец).
3. Широкое внедрение в кабельную технику пластмасс (полиэтилена, полистирола, полипропилена и др.), обладающих хорошими электрическими и механическими характеристиками и позволяющих автоматизировать производство.
4. Внедрение алюминиевых, стальных и пластмассовых оболочек вместо свинцовых. Оболочки должны обладать герметичностью и обеспечивать стабильность электрических параметров кабеля в течение всего срока службы.
5. Разработка и внедрение в производство экономичных конструкций кабелей внутризоновой связи (однокоаксиальных, одночетверочных, безбронных).
6. Создание экранированных кабелей, надежно защищающих передаваемую по ним информацию от внешних электромагнитных влияний и грозы, в частности кабелей в двухслойных оболочках типа алюминий тАФ сталь и алюминий тАФ свинец.
7. Повышение электрической прочности изоляции кабелей связи. Современный кабель должен обладать одновременно свойствами как высокочастотного кабеля, так и силового электрического кабеля, и обеспечивать передачу токов высокого напряжения для дистанционного электропитания необслуживаемых усилительных пунктов на большие расстояния.
Таблица №1 Достоинства и недостатки оптоволоконной связи
![]()
Открытые системы связи
![]() | |||
Направляющие системы связи

Конструкция и характеристика оптических кабелей связи
Классификация оптических кабелей связи
Оптический кабель состоит из скрученных по определенной системе оптических волокон из кварцевого стекла (световодов), заключенных в общую защитную оболочку. При необходимости кабель может содержать силовые (упрочняющие) и демпфирующие элементы.
Существующие ОК по своему назначению могут быть классифицированы на три группы: магистральные, зоновые и городские. В отдельные группы выделяется подводные, объектовые и монтажные ОК.
Магистральные ОК предназначаются для передачи информации на большие расстояния и значительное число каналов. Они должны обладать малыми затуханием и дисперсией и большой информационно-пропускной способностью. Используется одномодовое волокно с размерами сердцевины и оболочки 8/125 мкм. Длина волны 1,3..1,55 мкм.
Зоновые ОК служат для организации многоканальной связи между областным центром и районами с дальностью связи до 250 км. Используются градиентные волокна с размерами 50/125 мкм. Длина волны 1,3 мкм.
Городские ОК применяются в качестве соединительных между городскими АТС и узлами связи. Они рассчитаны на короткие расстояния (до |10 км) и большое число каналов. Волокна-градиентные (50/125 мкм). Длина волны 0,85 и 1,3 мкм. Эти линии, как правило, работают без промежуточных линейных регенераторов.
Подводные ОК предназначаются для осуществления связи через большие водные преграды. Они должны обладать высокой механической прочностью на разрыв и иметь надежные влагостойкие покрытия. Для подводной связи также важно иметь малое затухание и большие длины регенерационных участков.
Объектовые ОК служат для передачи информации внутри объекта. Сюда относятся учрежденческая и видеотелефонная связь, внутренняя сеть кабельного телевидения, а также бортовые информационные системы подвижных объектов (самолет, корабль и др.).
Монтажные ОК используются для внутри- и межблочного монтажа аппаратуры. Они выполняются в виде жгутов или плоских лент.
Оптические волокна и особенности их изготовления
Основным элементом ОК является оптическое волокно (световод), выполненное в виде тонкого стеклянного волокна цилиндрической формы, по которому передаются световые сигналы с длинами волны 0,85..1,6 мкм, что соответствует диапазону частот (2,3..1,2) тАв 1014 Гц.
Световод имеет двухслойную конструкцию и состоит из сердцевины и оболочки с разными показателями преломления . Сердцевина служит для передачи электромагнитной энергии. Назначение оболочки тАФ создание лучших условий отражения на границе тАЬсердцевина тАФ оболочкатАЭ и защита от помех из окружающего пространства.
Сердцевина волокна, как правило, состоит из кварца, а оболочка может быть кварцевая или полимерная. Первое волокно называется кварцтАФкварц, а второе кварцтАФполимер (кремнеор-ганический компаунд). Исходя из физико-оптических характеристик предпочтение отдается первому. Кварцевое стекло обладает следующими свойствами: показатель преломления 1,46, коэффициент теплопроводности 1,4 Вт/мк, плотность 2203 кг/м3.
Снаружи световода располагается защитное покрытие для предохранения его от механических воздействий и нанесения расцветки. Защитное покрытие обычно изготавливается двухслойным: вначале кремнеорганический компаунд (СИЭЛ), а затемтАФэпоксидакрылат, фторопласт, нейлон, полиэтилен или лак. Общий диаметр волокна 500..800 мкм (рис. 1).

Рис. 1. Сечение оптического волокна:
1тАФ сердцевина ; 2 тАФ оболочка ; 3 тАФ защитное покрытие
![]() | ![]() | ||
В существующих конструкциях ОК применяются световоды трех типов: ступенчатые с диаметром сердцевины 50 мкм, градиентные со сложным (параболическим) профилем показателя преломления сердцевины и одномодовые с тонкой сердцевиной (6..8 мкм) (рис. 2).

Рис. 2. Оптические волокна:
а тАФ профиль показателя преломления; б тАФ прохождение луча; 1 тАФ ступенчатые; 2 тАФ градиентные; 3 тАФ одномодовые
По частотно-пропускной способности и дальности передачи лучшими являются одномодовые световоды, а худшими тАФ ступенчатые.
Важнейшая проблема оптической связи тАФ создание оптических волокон (ОВ) с малыми потерями. В качестве исходного материала для изготовления ОВ используется кварцевое стекло , которое является хорошей средой для распространения световой энергии. Однако, как правило, стекло содержит большое количество посторонних примесей, таких как металлы (железо, кобальт, никель, медь) и гидроксильные группы (ОН). Эти примеси приводят к существенному увеличению потерь за счет поглощения и рассеяния света. Для получения ОВ с малыми потерями и затуханием необходимо избавиться от примесей, чтобы было химически чистое стекло.
В настоящее время наиболее распространен метод создания ОВ с малыми потерями путем химического осаждения из газовой фазы.
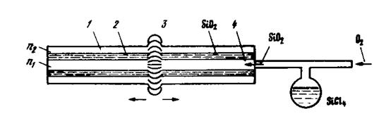
Получение ОВ путем химического осаждения из газовой фазы выполняется в два этапа: изготовляется двухслойная кварцевая заготовка и из нее вытягивается волокно. Заготовка изготавливается следующим образом (рис. 3).

Рис. 3. Изготовление заготовки методом химического осаждения из газовой фазы:
1тАФопорная трубка (оболочка ); 2тАФосажденные продукты (сердцевина ); 3тАФнагревательная спираль; 4 тАФ газообразный поток кварца
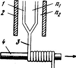
Во внутрь полой кварцевой трубки с показателем преломления длиной 0,5..2 м и диаметром 16..18 мм подается струя хлорированного кварца и кислорода . В результате химической реакции при высокой температуре (1500..1700В° С) на внутренней поверхности трубки слоями осаждается чистый кварц . Таким образом, заполняется вся внутренняя полость трубки, кроме самого центра. Чтобы ликвидировать этот воздушный канал, подается еще более высокая температура (1900В° С), за счет которой происходит схлопывание и трубчатая заготовка превращается в сплошную цилиндрическую заготовку. Чистый осажденный кварц затем становится сердечником ОВ с показателем преломления , а сама трубка выполняет роль оболочки с показателем преломления . Вытяжка волокна из заготовки и намотка его на приемный барабан производятся при температуре размягчения стекла (1800..2200В° С). Из заготовки длиной в 1 м получается свыше 1 км оптического волокна (рис. 4).

Рис. 4. Вытягивание волокна из заготовки:
1 тАФ заготовка; 2 тАФ печь; 3 тАФ волокно; 4 тАФ приемный барабан
Достоинством данного способа является не только получение ОВ с сердечником из химически чистого кварца, но и возможность создания градиентных волокон с заданным профилем показателя преломления. Это осуществляется: за счет применения легированного кварца с присадкой титана, германия, бора, фосфора или других реагентов. В зависимости от применяемой присадки показатель преломления волокна может изменяться. Так, германий увеличивает, а бор уменьшает показатель преломления. Подбирая рецептуру легированного кварца и соблюдая определенный объем присадки в осаждаемых на внутренней поверхности трубки слоях, можно обеспечить требуемый характер изменения по сечению сердечника волокна.
Конструкции оптических кабелей
![]() |
Конструкции ОК в основном определяются назначением и областью их применения. В связи с этим имеется много конструктивных вариантов. В настоящее время в различных странах разрабатывается и изготавливается большое число типов кабелей.
Рис. 5. Типовые конструкции оптических кабелей:
атАФповивная концентрическая скрутка; бтАФскрутка вокруг профилированного сердечника; втАФплоская конструкция; 1тАФ волокно; 2тАФ силовой элемент; 3тАФ демпфирующая оболочка; 4тАФзащитная оболочка; 5тАФпрофилированный сердечник; 6тАФ ленты с волокнами
Однако все многообразие существующих типов кабелей можно подразделять на три группы (рис.5):
8. кабели повивной концентрической скрутки
9. кабели с фигурным сердечником
10. плоские кабели ленточного типа.
Кабели первой группы имеют традиционную повивную концентрическую скрутку сердечника по аналогии с электрическими кабелями. Каждый последующий повив сердечника по сравнению с предыдущим имеет на шесть волокон больше. Известны такие кабели преимущественно с числом волокон 7, 12, 19. Чаще всего волокна располагаются в отдельных пластмассовых трубках, образуя модули.
Кабели второй группы имеют в центре фигурный пластмассовый сердечник с пазами, в которых размещаются ОВ. Пазы и соответственно волокна располагаются по геликоиде, и поэтому они не испытывают продольного воздействия на разрыв. Такие кабели могут содержать 4, 6, 8 и 10 волокон. Если необходимо иметь кабель большой емкости, то применяется несколько первичных модулей.
Кабель ленточного типа состоит из стопки плоских пластмассовых лент, в которые вмонтировано определенное число ОВ. Чаще всего в ленте располагается 12 волокон, а число лент составляет 6, 8 и 12. При 12 лентах такой кабель может содержать 144 волокна.
В оптических кабелях кромеОВ, как правило, имеются следующие элементы:
В· силовые (упрочняющие) стержни, воспринимающие на себя продольную нагрузку, на разрыв;
В· заполнители в виде сплошных пластмассовых нитей;
В· армирующие элементы, повышающие стойкость кабеля при механических воздействиях;
В· наружные защитные оболочки, предохраняющие кабель от проникновения влаги, паров вредных веществ и внешних механических воздействий.
В России изготавливаются различные типы и конструкций ОК. Для организации многоканальной связи применяются в основном четырех- и восьмиволоконные кабели.
![]() |
Представляют интерес ОК французского производства (рис.6). Они, как правило, комплектуются из унифицированных модулей, состоящих из пластмассового стержня диаметром 4 мм с ребрами по периметру и десяти ОВ, расположенных по периферии этого стержня. Кабели содержат 1, 4, 7 таких модулей. Снаружи кабели имеют алюминиевую и затем полиэтиленовую оболочку.
Рис. 6. Конструкции оптических кабелей французского производства:
а тАФ 10-волоконный модуль; б тАФ 70-волоконный кабель; 1 тАФ оптические волокна; 2 тАФ фигурный сердечник;
3 тАФ силовой элемент; 4 тАФ пластмассовая лента; 5тАФмодуль на десять волокон; 6 тАФ алюминиевая оболочка; 7тАФполиэтиленовая оболочка
![]() |
Американский кабель, широко используемый на ГТС, представляет собой стопку плоских пластмассовых лент, содержащих по 12 ОВ. Кабель может иметь от 4 до 12 лент, содержащих 48тАФ 144 волокна (рис.7).
Рис. 7. Американский кабель плоской конструкции:
атАФлента с 12 волокнами; бтАФсечение кабеля; втАФобщий вид кабеля; 1тАФоптическое волокно; 2тАФполиэтиленовая лента; 3тАФстопка лент из 144 волокон; 4тАФ защитное покрытие; 5 тАФ внутренняя полиэтиленовая оболочка; 6 тАФ пластмассовые ленты; 7 тАФ силовые элементы; в тАФ полиэтиленовые оболочки
На (рис.8) показан японский ОК с алюминиевой оболочкой и наружным полиэтиленовым шлангом.

Рис. 8. Японский оптический кабель:
1 тАФ оптические волокна; 2тАФмедный силовой элемент; 3 тАФ демпфирующее покрытие; 4тАФнаружная оболочка
В Англии построена опытная линия электропередачи с фазными проводами, содержащими ОВ для, технологической связи вдоль ЛЭП. Как видно из (рис.9), в центре провода ЛЭП располагаются четыре ОВ.

Рис. 9. Оптический кабель, встроенный в фазный провод ЛЭП:
1 тАФ оптические волокна; 2 тАФ защитное покрытие; 3 тАФ проводники ЛЭП
Применяются также подвесные ОК (рис.10). Они имеют металлический трос, встроенный в кабельную оболочку. Кабели предназначаются для подвески по опорам воздушных линий и стенам зданий.

Рис. 10. Подвесной оптический кабель с встроенным тросом:
1тАФоптические волокна; 2тАФстальной трос; 3 тАФ полиэтиленовая оболочка
Для подводной связи проектируются ОК, как правило, с наружным броневым покровом из стальных проволок (рис.11). В центре располагается модуль с шестью ОВ. Кабель имеет медную или алюминиевую трубку. По цепи тАЬтрубкатАФводатАЭ подается ток дистанционного питания на подводные необслуживаемые усилительные пункты.

Рис.11. Подводный оптический кабель:
а тАФ шестиволоконный модуль (3 варианта); бтАФподводный кабель; 1тАФоптический модуль; 2тАФшесть оптических волокон; 3тАФсиловой элемент из стальной проволоки; 4 тАФ полиэтиленовая оболочка модуля; 5 тАФпластмассовые трубки; 6тАФзаполнение компаундом; 7тАФстальная броня; 8 тАФ медная или алюминиевая трубка; 9тАФполиэтиленовый шланг
Оптические кабели российского производства
Первое поколение ОК, созданных в 1986тАФ1988 гг., включает кабели городской (ОК-50), зоновой (ОЗКГ) и магистральной (ОМЗКГ) связи. Современные требования развития связи потребовали создания новых усовершенствованных типов ОК (второе поколение). Такими кабелями, разработанными в период 1990тАФ1992 гг., являются: ОККтАФдля городской связи (прокладка в канализации), ОКЗтАФдля зоновой и ОКЛтАФдля линейной магистральной связи.
Отличительные особенности ОК второго поколения:
В· переход на волны 1,3 и 1,55 мкм;
В· применение одномодовых волокон;
В· модульные конструкции кабелей (каждый модуль на 1, 2, 4 волокна);
В· наличие медных жил для дистанционного электропитания;
В· разнообразие типов наружных оболочек (стальные ленты, проволоки, стеклопластик, полиэтилен, оплетка);
В· широкополосность и большие длины регенерационных участков.
Кабель ОКК по сравнению с ОК-50 имеет меньшее затухание, большие дальность связи и широкополосность. Кабель ОКК состоит из градиентных и одномодовых волокон.
Новый зоновый кабель ОКЗ имеет различные типы оболочек, позволяющих использовать его в различных условиях эксплуатации (земля, вода, подвеска).
Кабель междугородной связи ОК.Л по сравнению с предшествующим (ОМЗКГ) обладает большей длиной трансляционного участка и позволяет применять наиболее мощную систему передачи на 7680 каналов (тАЬСопка-5тАЭ).
Рассмотрим конструкции отечественныхОК.
Кабель городской связи типа ОК-50содержит четыре или восемь волокон (рис.12). Волокна свободно расположены в полимерных трубках. Скрутка тАФ повивная, концентрическая. В центре размещен силовой элемент из высокопрочных полимерных нитей. Снаружи имеется, полиэтиленовая оболочка.

Рис. 12. Оптический кабель городской связи ОК-50:
1 тАФ силовой элемент; 2 тАФ пластмассовая трубка; 3 тАФ волокно; 4 тАФ пластмассовая лента; 5тАФполиэтиленовая оболочка
Четырехволоконный кабель ОК-4 имеет принципиально ту же конструкцию и размеры, что и восьмиволоконный, но только четыре волокна в нем заменены пластмассовыми стержнями. Изготавливаются также кабели, содержащие больше число волокон. Городские кабели прокладываются в телефонные канализации.
Кабель городской связи типа ОКК, прокладываемый в канализации, содержит 4, 8 или 16 волокон (рис.13). Кабель имеет градиентные волокна с диаметром сердцевины 50 мкм (ОКК-50-01) или одномодовые волокна с диаметром сердцевины 10 мкм (ОКК-10-02).

Рис. 13. Оптический кабель городской связи марки ОККС:
1 тАФ силовой элемент (стеклопластик); 2 тАФ оптическое волокно; 3 тАФ пластмассовая лента; 4 тАФ стеклопластиковые стержни; 5тАФполиэтиленовый шланг
Силовой центральный элемент выполнен из стеклопластиковых стержней или стального троса, изолированного полиэтиленом. Поверх наложена скрутка из восьми оптических модулей или корделей. В каждом модуле может содержаться 1, 2 или 4 ОВ. Затем наложены фторопластная лента и полиэтиленовый шланг.
Кабели, предназначенные для прокладки в грунтах, зараженных грызунами или подверженных механическим воздействиям, имеют еще броневой покров из стеклопластиковых
стержней, а поверх неготАФполиэтиленовый шланг (ОККС). Известны конструкции, в которых вместо стержней применяется оплетка (ОККО).
Для подводных речных переходов применяется кабель в алюминиевой оболочке с броневым покровом из круглых стальных проволок и полиэтиленовым шлангом (ОККАК). Для станционных вводов и монтажа создан кабель ОКС.
![]() |
Кабель зоновой связи марки ОЗКГ (рис.14) содержит восемь градиентных волокон, расположенных в пазах профилированного пластмассового сердечника. Так как кабель предназначен для непосредственной прокладки в грунт, он имеет защитный броневой покров из стальных проволок диаметром 1,2 мм. Дистанционное электропитание регенераторов осуществляется по четырем медным изолированным проводникам диаметром 1,2 мм, расположенным в броневом покрове кабеля. Снаружи кабель имеет полиэтиленовую оболочку.
Рис. 14. Оптический кабель зоновой связи марки ОЗКГ:
1тАФ профилированный сердечник; 2 тАФ силовой элемент; 3 тАФ волокно; 4 тАФ внутренняя пластмассовая оболочка; 5тАФстальная проволока; 6тАФнаружная полиэтиленовая оболочка; 7тАФ
Вместе с этим смотрят:
11-этажный жилой дом с мансардой
14-этажный 84-квартирный жилой дом
16-этажный жилой дом с монолитным каркасом в г. Краснодаре
180-квартирный жилой дом в г. Тихорецке
2-этажный 3-секционный 18-квартирный жилой дом в г. Мирном






