Получение изделий литьем металлов
Глава 1
Изготовление заготовок литьем металлов.
1.Сущность процессов литья металлов и задача литейного производства.
Литьем (или литейным производством) называют метод производства, при котором изготовляют фасонные заготовки деталей путем заливки расплавленного металла в заранее приготовленную литейную форму, полость которой имеет конфигурацию заготовки детали. После затвердевания и охлаждения металла в форме получают отливку-заготовку детали.
Основной задачей литейного производства является изготовление литейных сплавов отливок, имеющих разнообразную конфигурацию с максимальным приближением их формы и размеров к форме и размерам детали (при литье невозможно получить отливку, форма и размеры которой соответствует форме и размерам детали).
Инструментом литейного производства является литейная форма - приспособление образующее рабочую полость, при заливке которой расплавленным металлом и после охлаждения получают отливку.
По степени использования формы делят на :
разовые;
полупостоянные;
постоянные;
Разовые формы служат для изготовления только одной отливки и изготовляют их из кварцевого песка, зерна которого соединены каким-либо связующим веществом.
Полупостоянныеформы - это формы в которых получают несколько отливок (до 10-20), такие формы изготовляют из керамики.
Постоянные формы - формы, в которых получают от нескольких десятков до нескольких сотен тысяч отливок. Такие формы изготовляют обычно из чугуна или стали.
Различные по форме, размерам и точности отливки из различных сплавов невозможно наиболее экономично получить одним и тем же способом. Экономически целесообразно изготовлять отливку с определенными качественными свойствами каким-либо одним или двумя способами. В настоящее время в производстве используют около 15 способов литья, а в производстве приборов применяют следующие способы литья:
1) литье в песчаные формы ("землю");
2) литье в ЖСС (жидкие самоотвердевающие смеси);
3) литье в оболочковые формы;
4) литье в кокиль (металлические защищенные формы);
5) литье по выплавляемым моделям;
6) литье под давлением;
7) центробежное литье;
2. Отливки-заготовки деталей АСУ и ЭВМ.
Отливки в АСУ и ЭВМ широко используются там, где необходимо обеспечить высокие требования к
прочности и жесткости:
-рамки ТЭЗов;
-панелей ТЭЗов;
-кронштейны и угольники рам;
-корпуса различных разъемов в процессоре;
теплопроводности:
-корпуса реверсных электродвигателей НПМ и других электродвигателей;
-радиаторы в ячейках питания для транзисторов, диодов в процессоре и внешних устройствах.
Масса отливок колеблется от нескольких граммов до нескольких десятков килограммов.
Конфигурация отливок может быть любой, она определяется возможностью изготовления технологической оснастки - формы, литейными свойствами сплавов, способом литья. Выбор способа литья в зависимости от конфигурации отливки основывается чаще всего на экономических соображениях, реже из условия высокой производительности и др.
3. Основные этапы производства отливок.
Последовательность производства отливок рассмотрим на примере литья в песчаные формы. Этот способ изучается в учебных мастерских:
1. Разработка чертежа отливки.
2. Изготовление модели и стержневого ящика.
3. Изготовление формы из заранее приготовленной формовочной смеси.
4. Сборка формы (установка ранее изготовленного из стержневой
смеси стержня и соединение частей формы).
5. Заливка формы ранее расплавленным сплавом или металлом.
6. Охлаждение формы с отливкой.
7. Освобождение отливки от формы.
8. Отрезка литников и прибылей
9. Отжиг отливок.
10. Термообработка.
11. Контроль.
4. Основные свойства литейных сплавов и влияние их на качество
отливок.
К основным свойствам литейных сплавов относят следующие:
Жидкотекучесть - это способность сплава в жидком состоянии заполнять литейную форму и воспроизводить ее очертания в отливке. Жидкотекучесть определяют по стандартной пробе в виде канала определенной длины и диаметра с литниковой чашей (рис 1).

Рис.1. Простейшая проба на жидкотекучесть.
Жидкотекучесть определяют по длине пути, пройденному жидким металлом до затвердевания. Чем длиннее пруток, тем больше жидкотекучесть. Высокую жидкотекучесть (>700 мм) имеют силумины, серый чугун, кремнистая латунь;
среднюю жидкотекучесть (350-340 мм) имеют углеродистые стали, белый чугун, алюминиево-медные и алюминиево-магниевые сплавы;
низкую жидкотекучесть имеют магниевые сплавы.
С повышением температуры сплава жидкотекучесть увеличивается.
Кристаллизация - это процесс перехода от жидкого состояния расплава к твердому состоянию с образованием структуры. Кристаллизация сплава происходит в направлении перпендикулярном поверхности теплоотвода. Скорость кристаллизации меняется от максимальной у поверхности до минимальной в центре стенки отливки (рис.2).


Рис. 2. Изменение кристаллической структуры по сечению отливки.
1 - литейная “корка”. 2 - столбчатые кристаллы.
3 - крупнозернистые кристаллы. 4 - литейная форма.
Для создания равномерной кристаллической структуры желательно уменьшить толщину отливки. Наилучшие свойства имеют сплавы при мелкокристаллической (мелкозернистой) структуре. Изменением скорости охлаждения невозможно достигнуть равномерной структуры. С целью получения мелкозернистой структуры в сплавы вводят особые добавки - модификаторы для силумина АЛ -2 - натрий, для серого чугуна - магний.
Процесс кристаллизации и кристаллическое строение отливки зависят от ее формы, температуры заливки сплава, от марки сплава, от вида литейной формы. На рис.2 показана качественная картина влияния этих параметров на кристаллическое строение отливки.
3. Усадка - свойство металлов и сплавов уменьшать свои размеры и объем при затвердевании и охлаждении. При затвердевании отливки выделяются также ранее растворенные расплавом газы. Усадка может способствовать образованию усадочных раковин, а выделяющиеся при охлаждении отливки газы способствуют образованию газовых раковин. Различают линейную и объемную усадку.
Линейнаяусадка изменяет линейные размеры отливки по сравнению с соответствующими размерами формы и при неблагоприятной конструкции заготовки образует трещины и коробление из-за торможения усадки в отдельных местах.

Объемная усадка приводит к образованию усадочных раковин (рис.3)

Рис. 3. Схема образования усадочной раковины (а - г) и схема вывода усадочной раковины в прибыль (д).

На рис.3 представлена схема образования концентрированной усадочной раковины. Часто имеют место случаи образования рассеянных раковин. При затвердевании в полости формы есть три фазы сплава:
1) жидкая,
2) твердая,
3) жидкая и твердая или двухфазная зона.
При затвердевании в двухфазной зоне могут возникнуть рассеянные поры. Увеличение толщины твердого слоя происходит до тех пор пока в двухфазной зоне не возникает сплошной скелет из кристаллов. Теперь жидкий металл, питающий затвердевающую зону встречает значительное сопротивление своему продвижению, которое увеличивается по мере уменьшения ячеек указанного скелета. И при прекращении питания каких-либо ячеек при дальнейшем охлаждении в них возникает усадочная межкристаллическая раковина. Раковины там меньше, чем позже прекратилась связь жидкого раствора с питаемой ячейкой.
В этом случае возникает рассеянная микропористость. Эти поры нарушают сплошность металла и могут при значительных механических нагрузках являться концентраторами напряжений (как надрезы) и тем самым ухудшать механические свойства деталей.
Для уменьшения влияния на качество отливки усадочных концентрированных раковин применяют два способа:
а) одновременное затвердевание,
б) направленное затвердевание.
Одновременное затвердевание - это одновременная и равномерная кристаллизация расплава во всех частях отливки, что обеспечивается определенными условиями. Приближенно эти условия можно считать выполненными, если толщина отливки во всех ее точках неизменна или изменяется равномерно. Наилучшим образом соблюдаются эти условия при возможно меньшей толщине стенки.
При направленном затвердевании кристаллизация отливки происходит последовательно в направлении противоположном вектору отвода тепла и источнику питания жидким сплавом. При направленном затвердевании отливка получается наиболее плотной, без концентрированных раковин, которые выводятся в прибыль.
Направленное затвердевание можно осуществить несколькими путями:
а) охлаждением нижней части формы или нагревом прибыли;
б) конструкцией отливки, имеющей с постепенно увеличивающейся толщиной в направлении к прибыли;
в) подводом расплавленного металла под прибыль.
4. Поглощение газов в значительной мере зависит от вида и свойств газа, природы растворителя, температуры и давления. Если воде с повышением температуры растворимость газов уменьшается, то в жидких металлах и сплавах растворимость газов может увеличиваете с увеличением температуры.
Для уменьшения объема растворенных газов, газовых раковин и пористости применяют следующие методы:
а) дегазации исходных (шихтовых) материалов;
б) дегазацию жидкого металла перед заливкой в форму;
в) предупреждения выделения газов из раствора в процессе кристаллизации металла в форме.
5. Склонность к образованию неметаллических включений.
В затвердевшем сплаве окислы, нитриды, более тугоплавкие соединения и др., являются телами, нарушающими сплошность и единообразие его структуры. Неметаллические включения неблагоприятно оказываются на физико-химических свойствах,
6. Ликвация.
При охлаждении сплава в форме вследствие неодинаковой удельной массы, неодинаковой температуры кристаллизации составляющих сплава в отдельных участках возникает химическая неоднородность - ликвация. Ликвация зависит от скорости охлаждения большая скорость охлаждения способствует получению более однородного по химическому составу отливки, к получению отливки с лучшими механическими свойствами.
4. Литейные сплавы и их характеристика.
Чугун - многокомпонентный сплав железа с углеродом и другими компонентами (углерода 2-4%).На характер кристаллизации чугуна влияют содержание элементов (C, Si, Mn, P, S ) и скорости охлаждения. При этом структура и свойства чугунов различны:
если весь углерод кристаллизуется в виде графита, а металлическая основа в виде феррита, то получают серый чугун,
если же весь углерод кристаллизуется в составе цементита Fe3C , то получают белый чугун.
В половинчатом чугуне находятся одновременно графит и свободный цементит. Получающиеся при кристаллизации структуры можно существенно изменить последующей термообработкой.
Чугун широко применяют благодаря хорошим технологическим свойствам (хорошая жидкотекучесть и обрабатываемость резанием) и малой относительной стоимости.
Стали - железоуглеродистые сплавы, содержащие до 2% С. Кроме углерода в сталях содержатся Mn, Si, S, P, N, H, O и другие элементы. Стали с добавкой Cr, Ni, Mo, V, W имеют особые физические, физико-химические свойства или повышенную прочность.
В производстве применяют три группы литейных сталей: конструкционные, инструментальные и легированные. Литейные свойства сталей ниже литейных свойств чугунов, легированные стали имеют плохие литейные свойства. При усадке получают раковины и пористость.
Плотные (без пор и раковин) отливки получают при правильной их конструкции, то есть когда есть прибыль или обеспечено направленное затвердевание. Усадка в твердом состоянии может вызвать горячие или холодные трещины, коробление отливок, высокие внутренние напряжения и изменение литейных размеров.
Алюминиевые сплавы - сплавы основной составной частью которых является алюминий. В качестве дополнительных компонентов, создающих те или иные специфичные технологические свойства, применяют кремний, медь, магний, титан, натрий, марганец.
Добавка кремния улучшает литейные свойства, добавка меди улучшает обрабатываемость резанием, магний увеличивает коррозионную стойкость и прочность.
Магниевые сплавы - сплавы на магниевой основе и в зависимости от требуемых свойств содержащие добавки: марганец, алюминий, цинк, цирконий и другие редкоземельные элементы. Литейные свойства удовлетворительные.
Медные сплавы - сплавы не медной основе с добавками различных элементов; различают две основные группы медных сплавов:
латуни - сплав меди с цинком;
бронзы - сплав меди с другими (Кроме цинка) элементами.
Литейные свойства - удовлетворительные.
Титановые сплавы - сплавы на основе титана, содержащие добавки, которые создают особые свойства. Литье этих сплавов связано с большими технологическими трудностями (из-за активного взаимодействия расплава с материалами формы).
5. Основные способы литья, применяемые в приборостроении.
1. Литье в ЖСС.
Литье в песчаные формы обеспечивает невысокое качество поверхности (ниже Rz =320 мкм), низкую точность (ниже 16 квалитета), трудно автоматизируется и не обеспечивает удовлетворительные условия труда. Для получения более высоких качественных показателей применяют литье в формы из жидких самоотвердевавщих смесей (ЖСС). Этот способ литья применяют в любом виде производства.
Формовочная смесь состоит из связки - жидкой композиции и огнеупорной составляющей - наполнителя. Наполнителем являются мелкозерничтые кварцевые пески и феррохромовый шлак. В жидкую композицию входит жидкое стекло, поверхностно-активные вещества и вода.
Для приготовления формовочной смеси - ЖСС - используют специальные установ`ки (рис.4. 1).

Рис. 4. 1 Схема получения оболочки бункерным способом.
Сначала в растворомешалке тщательно перемешивают песок и шлак в течение 1-1,5 мин, затем - жидкая композиция и производят перемешивание 1,5-2 мин. При этом образуется пенообразная масса, имеющая жидкотекучесть.
Модели и стержневые ящики изготовляют из дерева и металла. Поверхность деревянных моделей и стержневых ящиков покрывают нитрошпаклевкой и затем красят нитрокраской, так как ЖСС обладает повышенной прилипаемостью к дереву.
Изготовление форм и стержней длится несколько секунд путем подачи под действием собственной массы ЖСС на модель или в стержневой ящик. Для их легкого отделения от застывшей формы модели и подмодельные плиты покрывают разделительным покрытием. Изготовление формы занимает несколько секунд. Затем форму подвергают сушке.
Дальнейшие операции: сборки и заливки формы и другие делают также как и при литье в песчано-глинистые формы. Так как заливку металла осуществляют в сухую форму, теплопроводность которой меньше чем теплопроводность сырой формы, то можно получать более тонкие стенки.
Применение способа. Способ применяют для изготовления больших корпусов приборов из чугуна и алюминиевых сплавов с толщиной стенки 4..6 мм, точностью 14..16 квалитета, шероховатостью поверхности Rz =80..40 мкм,
Процесс мощно легко механизировать в автоматизировать.
2. Литье в оболочковые формы.
Этот способ является, как и предыдущие, способом литья в разовые формы. Для изготовления тонких оболочковых форм нужно в 20-30 раз меньше формовочных материалов, чем для песчаных или форм из ЖСС. Способ применяют для стальных, и для алюминиевых отливок, простой конфигурации без внутренних полостей в серийном производстве.
Формовочная смесь состоит из мелкозернистого песка (размер зерна 0,25..0,06мм) и термореактивной смолы - пульвербакелита.
Способ обеспечивает получение шероховатости поверхности Rz =80..40 мкм, и точность - 12..14 квалитет. Способ легко можно механизировать и автоматизировать.
Применяют следующие способы:
-бункерный;
-прессования через резиновую диафрагму;
-пескодувный.
В основе бункерного способа положен принцип поворотного бункера
Порядок получения оболочки следующий (рис. 4.2).

Рис. 4. 2 Схема получения оболочки бункерным способом.
Нагретую до 200оС и смазанную разделительным слоем (силикововый лак №5) модель закрепляют на съемной крышке бункера, затем бункер поворачивают на 180о и формовочная смесь попадает на модель, пульвербакелит расплавляется и склеивает песчинки, образуя оболочку. Толщина оболочки зависит от времени выдержки формовочной смеси на модели. В течение 15-20 с образуется оболочка толщиной 8-12 мм. Затем бункер поворачивают в исходное положение, нерасплавленная смесь ссыпается вниз, а модель с оболочкой помещают в электропечь с температурой 250-300о С, где происходит окончательная полимеризация пульвербакелита. Наилучшее качество отливок получают при использования вибрации бункера, несколько хуже при прессовании оболочек через резиновую диафрагму.
Полученную оболочку снимают с модели специальными механизированными выталкивателями, встроенными в модельную плиту.
Затем оболочковые полуформы склеивают клеем БФ-2 или №88 в нагретом состоянии, а перед заливкой зажимают пневматическими зажимами с резиновыми амортизаторами или устанавливают в рабочем положении в формовочном ящике с помощью песка или металлической дроби (рис.5).

рис.5. Оболочковая форма перед заливкой металла.
Литье в кокиль.
В приборостроении литье в кокиль (кокиль - это металлическая форма, имеющая защитную огнеупорную облицовку на рабочей поверхности) применяют для отливки толстостенных деталей из алюминиевых или магниевых сплавов, реже из чугуна в серийном и массовом производстве.
Экономическая целесообразность кокильного литья зависит от стойкости металлической формы (табл.1)
Таблица 1. Стойкость кокиля в зависимости от его материала и
заливаемого сплава.
Сплав
Температура заливки в оС
zМатериал кокиля
Стойкость (количество заливок) Алюминиевый 650..670 сталь 25..35 75000 Магниевый 670..700 жаропрочный чугун В450-1.5 50000 Чугуны 1200..1250 жаропрочный чугун В450-1.5 3000
Для равномерного охлаждения отливки металлическая форма должна иметь стенки постоянной толщины, равной
b=13=0.6отл
где - толщина стенки кокиля, мм.
dотл - средняя толщина стенки отливки, мм.
На рис.6 представлена конструкция створного кокиля с одной вертикальной плоскостью
разъема.

Рис. 6. Створочный кокиль с вертикальной плоскостью разъема.
Для предохранения от коробления форма имеет ребра жесткости (рис.7.1).
Рис.7.1 Кокиль с вертикальной плоскостью разъема:
1 - вентиляционные каналы.
2 - металлические стержни.
3,5 - две головки кокиля.
4 - литник.
6 - ребра жесткости.
Отверстия в отливках оформляют металлическим или песчаным стержнями. Металлические стержни применяют для неглубоких отверстий, имеющих конусность 10о. В остальных случаях применяют сухие песчаные стержни. Рекомендуют применять также оболочковые стержни.
В массовом производстве закрытие и открытие кокиля и удаление отливки осуществляют автоматически. Для этого применяют станки с пневматическим или гидравлическим приводом.
Для повышения стойкости кокилей их рабочую поверхность вскрывают после изготовления каждых 50..100 отливок огнеупорной облицовки толщиной 0,1.0,5 мм (ее состав в %-х для алюминиевых сплавов: окись цинка 5, жидкое стекло - 2, вода - 93).
Кроме облицовки перед каждой заливкой рабочую поверхность кокиля смазывают тонким слоем краски на основе мела и жидкого стекла.
Качественные параметры отливок: точность 12..13 квалитет, шероховатость поверхности - Rz =80..20 мкм.
4. Литье по выплавляемым моделями
Литье по выплавляемым моделям применяют в приборостроении для изготовления отливок различной сложности из любых сплавов массой от нескольких граммов до нескольких килограммов с толщиной стенок 0,4-20 мм, точностью размеров до 12 квалитета и шероховатостью поверхности до Rz =20 мкм. Способ применяют при любом виде производства.
Процесс литья заключается в изготовлении моделей из легкоплавкого материала, покрытия моделей тонкой огнеупорной оболочкой , выплавление модельного материала из огнеупорной оболочки и заливки освободившейся от моделей полости металлом.
В процессе литья по выплавляемым моделям применяют две формы. Первую форму используют для изготовления моделей, вторая форма - это литейная изготовляемая на основе мелкого песка и связующего вещества.
Конструкция модельной формы - прессформы зависит от вида производства. Для опытного и единичного производства применяют прессформы с ручным разъемом и выталкиванием, в серийном и массовом производстве изготовление моделей механизировано или автоматизировано. На рис.7.2 показана конструкция прессформы для ручной работы.

Рис. 7.2 Прессформа для изготовления выплавляемых моделей
Размеры рабочей полости определяют с учетом усадки материала и изменения размеров формы при нагреве.
Изготовление моделей и модельных блоков. Для изготовления моделей применяют выплавляемые, растворяемые и выжигаемые модельные составы. Наиболее часто применяют выплавляемые составы. Основными компонентами выплавляемых составов являются парафин и стеарин. Примеры составов:
(температура запрессовки 42-45оС)
ПС-50-50 - парафин 50%, стеарин 50%
ПС-70-30 - парафин 70%, стеарин 30%
(температура запрессовки 58-60оС)
ППэ-85-15 - парафин 85%, полиэтилен 15%
Модельный состав расплавляют в водяном термостате и заливают под давлением 0,5..0,6 МПа/мм2 в прессформу. Для получения более точных деталей нужно запрессовывать модельный состав при температуре 42..43оС, когда усадка равна 0,8% (При 50оС - усадка 2-2,5%). После охлаждения модельного состава до 15..18оС модель удаляют из формы. Для быстрого охлаждения прессформы охлаждают в холодильнике до 10оС. После этого модели зачищают по плоскости разъема и собирают в блок. Сборку моделей в блок (рис.8)

Рис. 8. Модель и блок моделей с нанесенной оболочкой.
выполняют путем сварки моделей со стояком с помощью разогретого ножа - полосы.
Изготовление и заливка литейной формы.
Для изготовления литейной формы используют суспензию, состоящую из мелкозернистого кварцевого песка - маршалита и жидкого связующего вещества - этилсиликата, приготовляемого на основе этилового спирта. Суспензию на блок наносят погружением. Для удержания на поверхности блока суспензии на него наносят крупнозернистый песок, который при последующих погружениях (4..5) способствует увеличению толщины покрытия. Обычно получают толщину формы 5..6 мм. Свеженанесенное покрытие не обладает прочностью и удерживается на поверхности модели только благодаря смачиванию. Для придания прочности покрытию его сушат, при сушке одновременно с испарением влаги происходит затвердевание связующего вещества этилсиликата (переход его из золя в гель). Сушка 2-го слоя происходит 2-4 часа при температуре 18-20оС. Для ускорения затвердевания связующего применяют аммиачную среду. В этом случае затвердевание протекает за 2..3 минуты. Для занесения следующего слоя суспензии необходимо полное исчезновение запаха аммиака, что обычно происходит за 7..10 минут на воздухе. Весь процесс изготовления одного слоя длится 15-20 минут вместо 2-4 часов.
Выплавление моделей осуществляют в горячей воде или горячим воздухом или другими способами. Наиболее часто выплавляют модельный состав горячей водой. Для этого блок моделей с формой помещают литниковой частью вверх в корзину, погружаемую на 10-15 минут в воду с температурой 85-90оС.
После выплавления модельного состава модельные блоки прокаливают для удаления из них остатков модельного состава и влаги. Кроме того при прокаливании форму нагревают до 900-1000оС, что повышает заполняемость формы. Перед прокаливанием оболочки (формы) заформовывают, то есть засыпают в ящике-опоке наполнителем. В качестве наполнителя применяют смесь песка и шамотной крошки. В таком виде форма представлена на рис.9.

Рис. 9. Заформованная оболочковая форма для литья по выплавляемым моделям.
Прокаливание длится 3-4 часа Непосредственно после прокаливания форму заливают расплавом, полученным в электрической индукционной печи, после охлаждения блока отливок форму разрушают и очищают от следов керамического покрытия путем погружения в каустическую соду на 3-4 часа. Отрезку отливок от питателей и стояков производят тонкими абразивными кругами.
5. Литье под давлением.
Литье под давлением является самым производительным способом изготовления тонкостенных деталей сложной конфигурации в серийном и массовом производстве.
Процесс литья заключается в заливке расплавленного металла в камеру сжатия машины и последующем выталкивании его через литниковую систему в полость металлической формы, которая заполняется под давлением. Заполнение полости происходит при высокой скорости впуска металла, которая обеспечивает высокую кинетическую энергию, поступающего в форму металла:

где m - масса расплавленного металла, v - скорость металла,
- давление, gm - удельная масса металла.
Энергия движения струи при резком замедлении ее скорости в форме до нуля частично переходит в тепловую энергию, повышающую температуру металла в его жидкотекучестъ и создает гидродинамическое давление на стенку формы:

Скорость выпуска при литье под давлением в зависимости от типа отливки и сплава может быть в пределах от 0,5 до 120 м/с. Различают три способа литья под давлением.
1. Литье с низкими скоростями впуска (0,5-2,5 м/с), обеспечивающее заполнение формы сплошным ламинарным потоком. Применяют этот способ для изготовления толстостенных отливок из алюминиевых сплавов и латуней.
2. Литье со средними скоростями впуска (2-15 м/с), обеспечивающее турбулентное движение расплавленного металла, при котором в результате срыв струй захватываются в поток металла пузырьки воздуха, оттесняемые затвердевающим сплавом к середине отливки. Это создает воздушную пористость, которую удалить почти невозможно, но можно уменьшить под действием высокого давления. Изготовляют при этом отливки средней сложности.
3. Литье с высокими скоростями впуска (более 30 м/с), обеспечивает заполнение только в режиме турбулентного течения истока расплава, но и со значительным его распылением, результатом которого является еще больший объем захваченного в полость отливки воздуха, для уменьшения воздушной пористости и в этом случае создают высокое давление [до 500МПа(н/мм2)] Этот способ применяют для тонкостенных отливок сложной конфигурации.
Для литья под давлением применяют литейные машины с горячей и холодной камерой прессования.
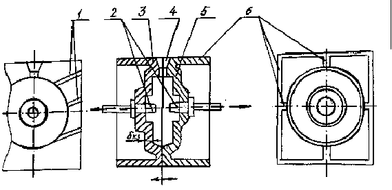
Машины с горячей камерой прессования применяют для отливок, материал которых имеет температуру плавления не более 450В°С. Схема процесса литья на машине с горячей камерой прессования представлена на рис.10.

Рис. 10. Схема литья под давлением на машине с горячей камерой прессования.
Камера сжатия такой машины погружена всегда в расплав металла, а при поднятии вверх прессующего поршня заполняется расплавом и при рабочем ходе (вниз) прессующего поршня расплав из камеры сжатия вытесняется в рабочую полость литейной формы. После охлаждения отливки форму раскрывают и отливку из нее при этом удаляют.
Машины для литья под давлением с холодное камерой прессования применяет для отливок, материал которых имеет температуру плавления 450В°С. В производстве применяют машины с вертикальной и горизонтальной камерой прессованиям Использование машин с горизонтальной камерой прессования предпочтительнее, так как в них меньше потери тепла, давления и металла из-за более короткой литниковой системы. Схема процесса литья на машине с горизонтальной камерой прессования представлена на рис.11.


Выталкивание отливки
Рис. 11. Схема литья под давлением на машине с холодной горизонтальной камерой прессования;
камера сжатия;
прессующий поршень;
водоохлаждающие каналы;
стержень;
выталкиватель;
подвижная полуформа;
неподвижная полуформа;
С помощью мерного ковша расплав заливают в камеру сжатия, откуда прессующий поршень вытесняет его в рабочую полость формы. Здесь расплав остывает и затем при раскрытии формы отливка автоматически удаляется из формы. Для поддержания температуры формы на определенном уровне (предупреждения перегрева) в форме предусмотрено охлаждение водой с помощью специальных каналов.
Требования и литейным сплавам для литья под давлением:
1. Достаточная прочность при высоких температурах, чтобы отливка не ломалась при выталкивании.
2. Минимальная усадка.
3. Высокая жидкотекучесть при небольшом перегреве.
4. Небольшой интервал кристаллизации
5. Этим требованиям удовлетворяют сплавы на основе цинка, алюминия, магния и меди.
Основными факторами, определяющими выбор того или иного способа литья под давлением (в зависимости от скорости впуска) и сплава является конфигурация отливки и требования к качеству.
1. При литье под давлением получают высокое качество отливок. Достижимая точность: 9-11 квалитет по размерам, получаемым в одной части литейной формы и 11-12 квалитет по размерам, получаемым в двух частях формы. Точность зависит от точности изготовления формы, обычно форму изготовляют на 1-2 квалитета точнее детали. Выше указана экономически достижимая в производстве точность.
2. Шероховатость поверхности отливки зависит от шероховатости поверхности рабочей поверхности формы, продолжительности ее эксплуатации и материала отливки. Обычно рабочую поверхность формы полируют (при этом достигают параметр Ra=0,16 мкм). При литье до 500 отливок получают шероховатость поверхности Ra=1,25-0,63 мкм - для отливок из цинковых сплавов. Ra =2,5-1,25 мкм - для отливок из алюминиевых сплавов и Ra =2,5- Rz мкм - для медных сплавов, а при изготовлении 10000 отливок соответственно получают Ra =2,5-1,25 мкм, Ra =2.5 - Rz =20 мкм, Rz = 160-80 мкм.
3. При питье под давлением механические свойства неравномерны по толщине отливки и отличаются в лучшую сторону по сравнению с этими свойствами отливок полученных другим способом. При быстром охлаждении у отливок образуется литейная корочка с мелкозернистой структурой, толщина которой не более 1-1-1,5мм. Поэтому тонкостенные отливки имеют мелкозернистую структуру, повышенную прочность (на 20-30%).
4. Важным показателем качества является пористость, вскрываемая при механической обработке и являющаяся причиной брака. Так как пористость всегда имеет место при литье сложных тонкостенных деталей, то необходимо применять конструктивные меры для предупреждения вскрытия пор. В этом случае для уменьшения влияния воздушной пористости на качество необходимо устранять механическую обработку отливок, предусматривать отливку отверстий. А при необходимости механообработки назначать припуск не более 0,5 мм.
Особенностью конструкции отливок при литье под давлением является наличие приливов для выталкивателей. Приливы для выталкивателей создают в тонкостенных отливках со стороны подвижной части формы для предупреждения деформации и прокола отливок выталкивателями.
- Технологические требования к конструкции отливок
(технологичность).
Одними из основных параметров, определяющих технологические требования к конструкции отливок, являются литейные свойства сплавов.
Эти свойства определяют следующее основные требования:
равностенность;
радиусы закругления;
плавные переходы:
уклоны (или конусность);
отверстия;
армирование.
Установим действительную необходимость соблюдения этих требований. Равностенность - требование заключается в назначении одинаковой толщины стенок на всем протяжении и в различных основных плоскостях (рис.12).
Это обеспечивает равномерность и одновременность усадки и отсутствие усадочных раковин, которые обычно в этом случае выводят в приливы-прибыли или в литниково-питающую систему. Одновременно с равностененностью необходимо стремиться к тонкостенности для устранения крупнозернистой структуры, увеличения прочности. В тонкостенных отливках для создания необходимой жесткости предусматривают ребра жесткости (рис.12).

Рис. 12. Влияние толщины стенки на качество отливки;
а) неравностенная отливка,
б) равностенная отливка.
Толщина ребер жесткости внешних dр=(0.8-0.9)d, внутренних dр=(0,6-0,7)d , где (d - средняя толщина стенки детали. Толщина стенок зависит от способа литья площади сплошной поверхности и сплава, что представлено в следующей таблице.
Таблица 2. Зависимость толщины стенок от способа литья.
Способ литья и сплав Средняя толщина стенки в мм при площади отливки до 400 см2
По выплавляемым моделям 1.5..3 Под давлением: цинковых сплавов 1..2 Под давлением: алюминиевых и медных сплавов 1..3 Под давлением: латунь 1..3.5 В кокиль 4..5 В оболочковые формы 2..3 По ЖСС 4..5
Радиусы закругления назначают для предупреждения образования усадочных трещин, возникающих вследствие неравномерности кристаллизации (рис.13).

Рис.13. Влияние радиуса сопряжения стенок на качество отливок.
Кроме внутренних сопрягают также и внешние острые кромки для предупреждения образования трещин в формах. Острые кромки допускают только на плоскостях разъема. Величина рекомендуемых внутренних и внешних радиусов сопряжения отливок зависит от способа литья:
Таблица 3. Зависимость радиусов скругления от способа литья.
Способ литья внутренний радиус внешний радиус В песчаные оболочковые формы 5 3 В кокиль 3 2 По выплавляемым моделям 1 0.5 Под давлением 0.8 0.3
Плавные переходы. Переходы от толстых сечений к тонким для предупреждения образования трещин в граничных зонах при охлаждении отливки должны быть выполнены постепенно (рис.14).

Рис. 14 Плавные переходы от толстых к тонким сечениям отливки
Величину участка сопряжения определяет соотношение толщин стенок.
Уклоны (конусность) необходимы на поверхностях, расположенных плоскости разъема формы, для обеспечени
Вместе с этим смотрят:
11-этажный жилой дом с мансардой
14-этажный 84-квартирный жилой дом
16-этажный жилой дом с монолитным каркасом в г. Краснодаре
180-квартирный жилой дом в г. Тихорецке
2-этажный 3-секционный 18-квартирный жилой дом в г. Мирном