Поляризационные приборы
Московский ордена Ленина, ордена Октябрьской
Революции и ордена Трудового Красного Знамени
ГОСУДАРСТВЕННЫЙ ТЕХНИЧЕСКИЙ
УНИВЕРСИТЕТ
имени Н.Э.Баумана.
________________________________________________
Факультет РЛ
Кафедра РЛ3
Реферат
по дисциплине
"Поляризационные
приборы"
студентки
Сальниковой Любови Юрьевны
группа РЛ 3-101.
Преподаватель
Зубарев Вячеслав Евгеньевич
Введение
Поляризационные приборы основаны на явлении поляризации света и предназначены для получения поляризованного света и изучения тех или иных процессов, происходящих в поляризованных лучах.
Поляризационные приборы широко применяют в кристаллографии и петрографии для исследования свойств кристаллов; в оптической промышленности для определения напряжений в стекле; в машиностроении и приборостроении для изучения методом фотоупругости напряжений в деталях машин и сооружений; в медицине; в химической, пищевой, фармацевтической промышленности для определения концентрации растворов. Поляризационные приборы получили распространение также для изучения ряда явлений в электрическом и магнитном поле.
Приборы для определения внутренних натяжений
Т-образные установки МИСИ
Т-образные установки МИСИ предназначаются для изучения деформации методом оптически чувствительных покрытий.
В полярископах Т-образного вида (рис. 1) свет от источника 1 проходит поляризатор 2, отражается от полупрозрачного зеркала 3, проходит оптически чувствительное покрытие 4 и, отразившись от поверхности образца 5, входит в анализаторную часть установки. Она содержит анализатор 8, сменные компенсатор 6 и пластинку, 7 в 1/4 волны и экран полярископа 9.
Рис. 1. Схема Т-образного полярископа
В соответствии со схемой, представленной на рис. 1, разработана Т-образная установка (рис. 2), получившая наименование отражательного полярископа.

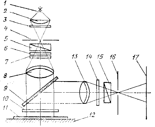
Рис. 2. Отражательный полярископ МИСИ по Т-образной схеме.Источник света 1 (лампа ДРШ-250) с помощью конденсора 2 проецируется на диафрагму 4 (диаметр отверстия 2 мм), помещенную в фокусе объектива 8.
Для снижения влияния инфракрасной радиации источника в схему введен теплофильтр 3. Расходящийся плоскополяризованный световой поток после диафрагмы 4 проходит поляризатор 5, пластинку 6 в 1/4 волны, светофильтр 7 и попадает на объектив 8 (фокусное расстояние 300 мм). После объектива свет параллельным пучком проходит две полупрозрачные пластины 9 и 10, оптически чувствительное покрытие 11 и попадает на образец 12. После отражения в обратном ходе свет попадает в анализаторную часть установки, где объективом 13 фокусируется на диафрагму 16. ПоляризационВнная картина после дополнительного светофильтра 14 и анализатора 15 рассматривается на экране полярископа l7.

Рис. 3. Схема V-образного полярископа
К установкам данного типа относятся также отражательный полярископ OП-2, переносный малогабаритный полярископ ОП-3 и др.V-образные полярископы
V-образные полярископы используются для тех же целей, что и Т-образные. В полярископах V-образного вида (рис. 3) естественный монохроматический свет от источника 1 проходит поляризатор 2, становясь при этом плоскополяризованным. Проходя пластинку 3 в 1/4 волны и оптически чувствительное покрытие 4, свет отражается от объекта исследования 5 (от пластически деформируемого образца), проходит вторую пластинку 6 в 1/4 волны, анализатор 7 и образует изохроматическую картину на экране полярископа 8.
Для получения картины хорошего качества варьируется толщина покрытия 4 (в пределах 0,5 тАФ 1,5 мм и угол a между оптическими осями поляризаторной и анализаторной части (в пределах 6В°ё15В°)
Рис. 4. Схема кругового поляриметра СМ
Приборы для определения угла поворота плоскости поляризации
Круговой поляриметр СМ
Круговой поляриметр СМ (рис. 4) предназначен для определения угла поворота плоскости поляризации в жидких оптически активных веществах.
Осветитель 1 (лампа накаливания или натриевая лампа ДНаО140) устанавливается в фокальной плоскости оптической системы 8. В конструкции узла осветителя предусмотрены подвижки для установки нити накала лампы на оптической оси. При работе с лампой накаливания перед оптической системой 3 вводится желтый светофильтр 2. Параллельный монохроматический пучок лучей, выходящий из системы 3, проходит через поляризатор 4 (поляроид, заклеенный между двумя стеклами), кварцевую пластинку 5, создающую совместно с поляроидом полутеневую картину с тройным полем зрения, и кварцевую кювету 6 с исследуемым раствором. Обычно длина кюветы выбирается такой, чтобы концентрации 10-3 кг/см3 соответствовал угол поворота плоскости поляризации y = 1В°.
После кюветы расположен анализатор 7, аналогичный поляризатору 4, и телескопическая система, состоящая из объектива 10 и окуляра 11, через который ведется наблюдение при уравнивании освещенностей частей поля зрения.
Отсчет осуществляется по градусной шкале 8 неподвижного лимба (с оцифровкой от 0В° до 360В°) с помощью двух диаметрально противоположных нониусов 9 (шкалы нониусов имеют по 20 делений; цена одного деления 0,05В°). Из показаний двух нониусов берут среднее значение (для учета эксцентриситета лимба). Отсчет снимается при наблюдении лимба и нониуса через лупы 12.
Автоматический спектрополяриметр

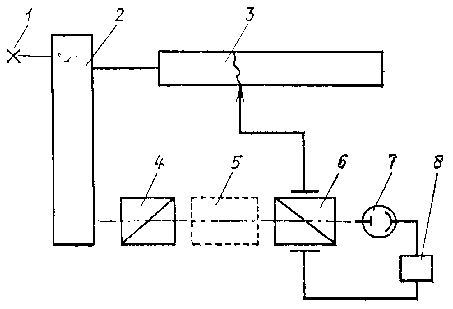
Рис. 5. Схема автоматического спектрополяриметраАвтоматиВнческий спектрополяриметр (рис. 5) предназначен для измерения угла поворота плосВнкости поляризации в диапазоне длин волн 0,24ё0,60 мкм.
Источник света 1 сменный тАФ лампа накаливания при работе в видимой части спектра и ртутная лампа сверхвысокого давления для измерения в ультрафиолетовой области. Излучение от лампы 1 проходит через двойной монохроматор 2 (с зеркальной оптикой и кварцевыми призмами), попадает на электромеханический поляризатор-модулятор 4, проходит исследуемый образец 5, анализатор 6 и попадает на фотоумножитель 7.
В зависимости от угла между направлениями колебаний, пропускаемых поляризатором и анализатором, меняется частота переменной составляющей потока, попадающего на фотоумножитель.
Сигнал, преобразованный в электрический и усиленный в усилителе 8, питает управляющую обмотку реверсного двигателя, который через редуктор вращает анализатор 6 до тех пор, пока из сигнала не исчезнет первая гармоника. Вращение анализатора регистрируется на самописец 3, связанном передающим устройством со шкалой длин волн монохроматора.
С помощью описанного прибора измеряется вращательная дисперсия образцов с поглощением до 80%. Предел измеряемых углов вращения В±2В°.
Список использованной литературы
Лабораторные оптические приборы: Учебное пособие для приборостроительных и машиностроительных ВУЗов. Г. И. Федотов, Р. С. Ильин, Л. А. Новицкий, В. Е. Зубарев, А. С. Гоменюк.
Оглавление
Введение 3
Приборы для определения внутренних натяжений 3
Т-образные установки МИСИ 3
V-образные полярископы 6
Приборы для определения угла поворота плоскости поляризации 8
Круговой поляриметр СМ 8
Автоматический спектрополяриметр 9
Список использованной литературы 11
Оглавление 11
Вместе с этим смотрят:
11-этажный жилой дом с мансардой
14-этажный 84-квартирный жилой дом
16-этажный жилой дом с монолитным каркасом в г. Краснодаре
180-квартирный жилой дом в г. Тихорецке
2-этажный 3-секционный 18-квартирный жилой дом в г. Мирном