Построение и исследование динамической модели портального манипулятора
Для решения задачи выбора оптимальной скорости перемещения звеньев манипулятора с шаговым двигателем, с целью увеличения его быстродействия, необходимо учитывать переходные процессы возникающие при позиционировании рабочих органов. Переходные процессы в виде затухающих механических колебаний возникают под действием инерционных нагрузок и приводят к увеличению времени позиционирования при выполнении переходов технологического процесса, например, при сборке, сверлении, контроле и др. Для планирования траектории необходимо знать время затухания колебаний до значения допустимой погрешности позиционирования, при котором рабочий орган манипулятора может продолжать движение. С целью определения времени такого переходного процесса создана модель манипулятора портального типа с консольной подвижной частью.
- Моделирование динамики манипулятора
- Методы построения динамической модели манипулятора
Динамическая модель манипулятора может быть построена на основе использования известных законов ньютоновской или лагранжевой механики. Результатом применения этих законов являются уравнения, связывающие действующие в сочленениях силы и моменты с кинематическими характеристиками и параметрами движения звеньев. Таким образом, уравнения динамики движения реального манипулятора могут быть получены традиционными методами Лагранжа тАУ Эйлера или Ньютона тАУ Эйлера. С помощью этих двух методов получен ряд различных форм уравнения движения, эквивалентных в том смысле, что они описывают динамику движения одной и той же физической системы.
Вывод уравнений динамики движения манипулятора методом Лагранжа тАУ Эйлера отличается простотой и единством подхода. В рамках предположения о том, что звенья представляют собой твердые тела, этот подход приводит в общем случае к системе нелинейных дифференциальных уравнений второго порядка. Уравнения Лагранжа тАУ Эйлера обеспечивают строгое описание динамики состояния манипулятора и могут быть использованы для разработки усовершенствованных законов управления в пространстве присоединенных переменных. В меньшей степени они используются для решения прямой и обратной задач динамики. Прямая задача состоит в том, чтобы по заданным силам и моментам определить обобщенные ускорения, интегрирование которых позволяет получить значения обобщенных координат и скоростей. Обратная задача динамики заключается в том, чтобы по заданным обобщенным координатам, скоростям и ускорениям определить действующие в сочленениях манипулятора силы и моменты.
С целью получения более эффективных с вычислительной точки зрения алгоритмов можно использовать уравнения Ньютона тАУ Эйлера. Вывод уравнений движения манипулятора методом Ньютона тАУ Эйлера прост по содержанию, но весьма трудоемок. Результатом является система прямых и обратных рекуррентных уравнений, последовательно применяемых к звеньям манипулятора. С помощью прямых уравнений последовательно от основания к схвату вычисляются кинематические характеристики движения звеньев, такие, как линейные и угловые скорости и ускорения, линейные ускорения центров масс звеньев. Обратные уравнения позволяют последовательно от схвата к основанию вычислить силы и моменты, действующие на каждое из звеньев. Наиболее важный результат такого подхода состоит в том, что время, необходимое для вычисления обобщенных сил и моментов прямо и пропорционально числу сочленений, но не зависит от реализующейся в процессе движения конфигурации манипулятора. Это позволяет реализовывать простые законы управления манипулятором в реальном времени.
Низкая вычислительная эффективность уравнений Лагранжа тАУ Эйлера обусловлена в основном тем, что для описания кинематической цепи используются матрицы преобразования однородных координат. Уравнения Ньютона тАУ Эйлера обладают большей вычислительной эффективностью, что связано с их рекуррентной природой. Однако такие рекуррентные уравнения не обладают “аналитичностью”, столь полезной при синтезе управления в пространстве состояний. Для синтеза законов управления желательно иметь в распоряжении замкнутую систему дифференциальных уравнений, точно описывающих динамику движения манипулятора.
В связи с тем что для построения модели динамики переходных процессов и дальнейшего анализа полученных уравнений необходима аналитическая форма, решено использовать для получения уравнений динамики метод Лагранжа тАУ Эйлера.
- Уравнения динамики манипулятора
Уравнения Лагранжа второго рода для голономной системы с степенями свободы, которым отвечают обобщенные координаты
(j = 1,2,тАж,), имеют вид
| (1.1) |
где
тАУ функция Лагранжа, разности кинетической Т и потенциальной П энергий системы;
тАУ обобщенные силы управляющих приводов, приведенные к j-ой обобщенной координате: они имеют размерность моментов, если
тАУ угол поворота, или сил, если
тАУ линейное перемещение.
С учетом того, что
и
, перепишем уравнение (1.1) в виде
| (1.2) |
где
,
.
В последних равенствах через
обозначены внешние обобщенные силы, вызванные весом звеньев и груза, удерживаемого в захватном устройстве. При наличии внешнего воздействия тАУ силы
, приложенной к захватному устройству, в правую часть равенства для
надо добавить член
, характеризующий это воздействие:
| (1.3) |
Используем выражение (1.2) для вывода уравнений динамики манипулятора. Рассматривая исполнительный механизм манипулятора как систему из твердых тел, запишем его кинетическую энергию T в виде суммы кинетических энергий звеньев:
| (1.4) |
В свою очередь величину
определим по формуле [3]
| (1.5) |
где
тАУ масса звена i;
тАУ скорость некоторой точки звена
, принятой за полюс;
тАУ вектор радиус центра инерции звена в системе осей с ним связанных, начало которой совпадает с полюсом
;
тАУ тензор инерции звена в точке
;
тАУ вектор угловой скорости звена в принятой системе координат.
Выражение (1.5) принимает наиболее простой вид, если за полюс звена принять его центр инерции; величина
будет равна нулю и выражение (1.5) упростится:
| (1.6) |
Кроме того, в большинстве случаев звенья манипулятора представляют собой твердые тела, обладающие симметрией относительно трех ортогональных осей, проведенных через центр инерции. Напомнив правило разметки осей систем координат, связанных со звеньями, в соответствии с которым одна из осей системы
совпадает с осью звена (вектором
), а две другие образуют с ней правую триаду, получим при помещении точки
в центр инерции
(см. рис. 1.1) оси полученной системы
становятся главными осями инерции и тензор вектора в точке
имеет вид диагональной матрицы
| (1.7) |
моменты инерции относительно осей в которой определяются выражениями
| (1.8) |
и для звеньев заданной конфигурации являются известными константами. При отсутствии осевых симметрий тензор инерции звена в точке
характеризуется матрицей
| (1.9) |
центробежные моменты в которой определяются выражениями
| (1.10) |
и также являются известными константами.
Определим вектор скорости центра инерции звена i через проекции на оси связанной с ним системы координат как
| (1.11) |
или через проекции на оси неподвижной системы осей в виде
| (1.12) |
По аналогии с
введем вектор угловой скорости звена
| (1.13) |
и запишем равенство (1.6) в развернутой форме для случая, когда звенья манипулятора обладают симметрией относительно главных осей инерции. Для этого подставим выражения
,
,
из (1.7), (1.11), (1.13) в (1.6) и получим
| (1.14) |
При использовании вектора скорости центра инерции в форме (1.14) выражение
| (1.15) |
с учетом которого равенство (1.4) принимает вид
| (1.16) |
- Построение динамической модели переходных процессов манипулятора МРЛ-901П
2.1 Модель переходных процессов в манипуляторе МРЛ-901П
М
одель портального манипулятора МРЛ-901П представлена на рис. 2.1. Деформирующимися элементами в манипуляторе являются: зубчатый ремень, обозначенный пружиной; консольная часть, на которой имеется сосредоточенная масса m. Деформация поперечной консоли обозначена на схеме углом
. Исходными данными для расчета такой модели будут: значение подвижной массы m, плечо приложения этой массы l, а также коэффициент натяжения зубчатого ремня, определяемый как отношение прогиба ремня к его длине и влияющий на жесткость, и демпфирование модуля линейного перемещения.
При остановке электроприводов подвижные массы будут продолжать движение под действием инерционных сил, в результате чего точки А и Б займут положение
и
соответственно, затем остановятся и под действием сил упругой деформации пружины и балки начнут совершать колебательное движения.
Рассматриваемая модель имеет три степени свободы, обозначим независимые обобщенные координаты как
,
и
. Для описания данной модели воспользуемся уравнением Лагранжа второго рода:
| (2.1) |
где T кинетическая энергия системы; Q обобщенная сила; k количество степеней свободы.
Кинетическая энергия системы с тремя степенями свободы является однородной квадратичной формой обобщенных скоростей [5]:
| (2.2) |
Коэффициенты
являются функциями координат
,
и
.
Предположим, что обобщенные координаты отсчитываются от положения равновесия, где
.
Располагая коэффициенты
по степеням и пологая для упрощения записи
, получим:
| (2.3) |
Потенциальная энергия
системы:
| (2.4) |
При этом учитываем, что в положении равновесия
обобщенные силы также обращаются в нуль.
В (2.4) для упрощения приняты следующие обозначения:
,
,
,
,
,
.
Для составления дифференциальных уравнений свободных колебаний в форме уравнений Лагранжа второго рода, выразим потенциальную энергию через обобщенные координаты. Рассмотрим равновесие системы, на которую действуют силы 
тАж,
. Потенциальная энергия в состоянии устойчивого равновесия имеет минимум, равный нулю, а при вызванном действием сил
отклонении от него выражается квадратичной формой вида (2.4).
Элементарная работа всех сил действующих на систему, по принципу возможных перемещений должна быть равна нулю:
| (2.5) |
Замечая, что
|
а также приравнивая к нулю коэффициенты при независимых вариациях
,
и
, получаем три уравнения:
| (2.6) |
Здесь
,
и
обобщенные силы для системы сил 
тАж,
, уравновешивающих потенциальные силы, возникающие при отклонении системы из положения равновесия
. Заменяя в (2.6) производные потенциальной энергии их выражениями согласно (2.4), получим систему уравнений, определяющих значение координат
,
и
в положении равновесия:
| (2.7) |
причем
,
и
.
Решение системы (2.7) имеет вид:
| (2.8) |
где
| (2.9) |
.
На систему действуют обобщенные силы, которыми являются инерционные силы и силы сопротивления движению. Обычно в сложных системах в целях упрощения [4, 5] силу сопротивления принимают пропорциональной первой степени скорости движения. С целью упрощения условимся, что угол
мал и координаты массы m можно записать как
. Поэтому на основании кинетостатики можем записать:
| (2.10) |
где
обобщенная сила,
коэффициент сопротивления пропорциональный первой степени скорости движения массы m. Так как масса собственно консоли манипулятора МРЛ-901П меньше массы закрепленных на ней рабочих головок, захватов и деталей, для упрощения примем условие, что точка исследования колебаний (практически рабочий орган манипулятора) совпадает с точкой приложения сосредоточенной массы m.
Сила
действует на все звенья манипулятора следовательно:
| (2.11) |
Коэффициенты
в (2.7) будем определять из того, что согласно (2.11) звенья можно рассматривать независимо друг от друга. Положим сначала, что
действует только по координате
, затем только по координате
и наконец только по координате
, тогда в выражение (2.7) можно переписать:
| (2.12) |
таким образом
, используя (2.9) находим:
| (2.13) |
Коэффициенты
,
и
определяют податливость звеньев манипулятора по координатам
,
и
соответственно. Выражая податливость звеньев через их жесткость, запишем:
| (2.14) |
где
,
и
жесткости звеньев по координатам
,
и
соответственно.
Подставляя (2.14) , (2.11) и (2.10) в (2.8) получим:
| (2.15) |
Для решения этой системы нужно выразить скорость и ускорение массы m через их составляющие:
| (2.16) |
Поскольку в манипуляторе суммарную жесткость удобно экспериментально определять, прикладывая соответствующее усилие к его рабочему органу, и так как в конечном итоге необходимо определить положение массы m, координаты которой выражаются как
, то для этого достаточно сложить уравнения в выражении (2.15):
| (2.17) |
или:
| (2.18) |
где С суммарная жесткость звеньев манипулятора.
Анализ показывает, что величина C является переменной и зависит от плеча приложения l сосредоточенной массы m.
Преобразуя (2.18), получаем уравнение описывающие переходный процесс в системе:
| (2.19) |
Уравнение (2.19) легко решается классическим способом при следующих начальных условиях:
| (2.20) |
где
скорость рабочего органа манипулятора в момент выхода на конечную точку.
Выражение (2.19) представляет собой линейное дифференциальное уравнение второго порядка. Будем искать частное решение уравнения в виде:
| (2.21) |
где
и
произвольные постоянные, которые могут быть определены из начальных условий: при t = 0;
и
корни характеристического уравнения:
| (2.22) |
Решение уравнения (2.22) будет иметь вид:
| (2.23) |
Определим произвольные постоянные
и
, решая систему уравнений:
| (2.24) |
Решение системы (2.24) будет иметь вид:
| (2.25) |
если учесть (2.20) то:
| (2.26) |
подставляя (2.26) в (2.21) и с учетом (2.23) имеем:
| (2.27) |
где
реальная часть;
мнимая часть.
Тогда разделяя реальную и мнимую части в (2.27) получим:
| (2.28) |
Учитывая что:
| (2.29) |
имеем:
| (2.30) |
Преобразуя (2.30) получим решение уравнения (2.19):
| (2.31) |
Прологарифмируем выражение (2.31) предварительно подставив в него значение допустимой погрешности позиционирования:
| (2.32) |
где
допустимая погрешность позиционирования.
Преобразуя (2.32) получим выражение для определения времени переходного процесса:
| (2.33) |
Для расчета жесткости C и коэффициента демпфирования
в модели используются экспериментально полученные зависимости. В частности коэффициент демпфирования определяется по осциллограмме затухания колебаний рабочего органа.
Таким образом, время переходного процесса, для данного типа манипулятора при заданной массе положении рабочего органа определяется по выражению (2.33), в котором коэффициенты жесткости и демпфирования предварительно определены экспериментально.
2.2 Анализ переходных процессов в манипуляторе МРЛ-901П
Источниками возникновения переходных процессов в манипуляторе МРЛ-901П являются: зубчатая ременная передача линейного модуля манипулятора и его свободная консоль.
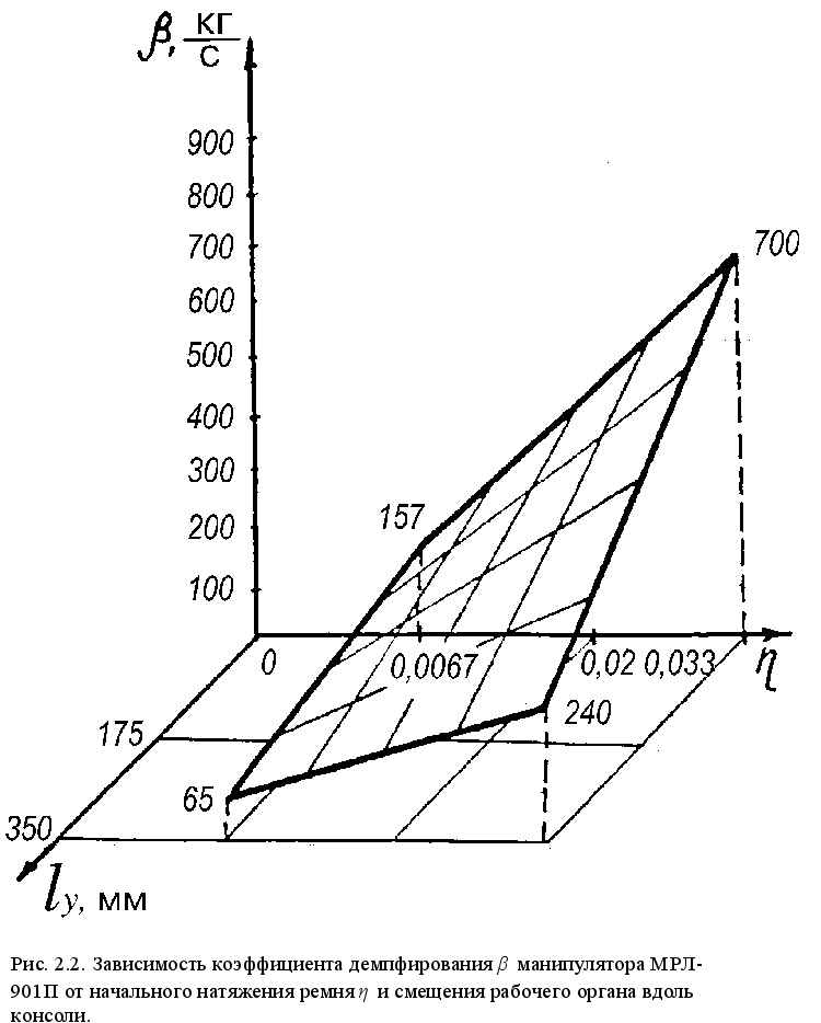
На этапе зондирующих экспериментов исследовались парные зависимости коэффициента демпфирования от натяжения зубчатого ремня и смещения рабочего органа вдоль консоли. Результаты анализа полученных осциллограмм сведены в таблицы 2.1 и 2.2.
Анализ результатов показывает, что натяжение зубчатого ремня существенным образом влияет на коэффициенты демпфирования модуля линейного перемещения: так при увеличении начального натяжения ремня от минимального значения = 0,03778 до максимального = 0,00667 (в исследуемых приделах) коэффициент демпфирования уменьшается в 3 раза. Таким образом, можно сделать вывод о том, что демпфирование линейного модуля с зубчатой ременной передачей может задаваться и варьироваться в широких пределах, как на этапе конструирования, так и в процессе его эксплуатации.
| Табл. 2.1 | |||||
| Результаты анализа осциллограмм собственных колебаний рабочего органа манипулятора МРЛ-901П на консоли | |||||
Величина смещения рабочего органа вдоль консоли ly, мм | Период колебаний рабочего органа T, с. | Частота колебаний , с-1 | Логарифмический декремент затухания | Коэффициент демпфирования кг/c | Время затухания колебаний tп.п., с. |
| 0 | 0,057 | 17,54 | 0,956 | 369 | 0,6 |
| 175 | 0,067 | 15 | 0,693 | 227,55 | 0,9 |
| 350 | 0,08 | 12,5 | 0,446 | 122,65 | 1,2 |
Анализ результатов исследований показывает, что смещение рабочего органа манипулятора МРЛ-901П вдоль свободной консоли, также как и
| Табл. 2.2 | ||||||||||
| Результаты исследований демпфирующих свойств модуля линейного перемещения с ременной передачей | ||||||||||
Номер опыта | Номер параллельного опыта | Случайный порядок проведения | Степень начального натяжения | Период колебаний Т, с. | Логарифмический декремент затухания | Коэффициент демпфирования кг/c | Среднее время затухания | |||
| опытов | ремня | парал-лельные опыты | среднее | парал-лельные опыты | среднее | парал-лельные опыты | среднее | колебаний tп.п., с | ||
| 1 | 3 | 0,1 | 1,15 | 460,15 | ||||||
| 2 | 1 | 0,102 | 1,23 | 482,35 | ||||||
| 1 | 3 | 12 | 0,03778 | 0,113 | 0,105 | 1,383 | 1,253 | 489,72 | 477,33 | 0,4 |
| 4 | 7 | 0,108 | 1,258 | 465,91 | ||||||
| 5 | 11 | 0,102 | 1,244 | 488,52 | ||||||
| 1 | 4 | 0,125 | 0,85 | 272,12 | ||||||
| 2 | 15 | 0,128 | 0,815 | 254,68 | ||||||
| 2 | 3 | 10 | 0,02 | 0,117 | 0,12 | 0,756 | 0,8 | 258,3 | 266,67 | 0,45 |
| 4 | 9 | 0,115 | 0,79 | 275,08 | ||||||
| 5 | 14 | 0,115 | 0,789 | 273,17 | ||||||
| 1 | 6 | 0,12 | 0,486 | 162,11 | ||||||
| 2 | 5 | 0,12 | 0,493 | 164,25 | ||||||
| 3 | 3 | 3 | 0,0067 | 0,132 | 0,128 | 0,496 | 0,504 | 150,32 | 157,47 | 0,6 |
| 4 | 8 | 0,14 | 0,544 | 155,43 | ||||||
| 5 | 2 | 0,128 | 0,5 | 155,24 | ||||||
увеличение начального натяжения ремня, вызывает уменьшение коэффициентов демпфирования, что существенно (в 2тАж3 раза) увеличивает время полного затухания собственных колебаний рабочего органа (см. табл. 2.1 и 2.2), и, как следствие снижает реальную производительность.
Смещение рабочего органа относительно основания и увеличение натяжения ремня приводит также к уменьшению частоты собственных колебаний манипулятора, что должно учитываться при использовании его в технологических процессах, связанных с резонансными явлениями.
Комплексные исследования демпфирующих свойств манипулятора осуществлялись с целью установления численной зависимости коэффициента демпфирования от величины начального натяжения ремня и смещения рабочего органа вдоль консоли. В качестве функции отклика выбиралась линейная модель. База данных для построения плана экспериментов сведена в табл. 2.
Основные уровни и интервалы варьирования выбирались на основе результатов зондирующих экспериментов, а также исследований жесткости и точносных параметров манипулятора МРЛ-901П.
| Табл. 2.3 | ||||
| База данных для построения плана экспериментов | ||||
Наименование фактора | Условное обозначение | Область определения | Основной уровень | Интервал варьирования |
Начальное натяжение ремня | X1 | 0..0,04 | 0,02 | 0,013 |
Величина смещения рабочего органа манипулятора вдоль консоли ly, мм | X2 | 0..350 | 175 | 175 |
Матрица планирования и результаты экспериментов сведены в табл. 2.4.
Проводилась полная статистическая обработка результатов экспериментов, позволившая получить адекватную модель зависимости коэффициентов демпфирования от исследуемых факторов в виде:
| (2.34) |

Поверхность отклика представлена на рис. 2.2. Выражение (2.34) позволяет получить численное значение коэффициента демпфирования, необходимое для расчета продолжительности переходного процесса при позиционировании.
| Табл. 2.4 | ||||||||
| Матрица планирования и результатов экспериментов по комплексному исследованию демпфирующих свойств манипулятора МРЛ-901П | ||||||||
Номер опыта |
|
|
|
| Среднее значение коэффициента демпфирования, кг/c | Дисперсия среднего арифметического | Вычисленное значение | |
| 1 | +1 | +1 | +1 | +1 | 240 | 64 | 240 | |
| 2 | +1 | +1 | -1 | -1 | 700 | 49 | 700 | |
| 3 | +1 | -1 | +1 | -1 | 65 | 4 | 65 | |
| 4 | +1 | -1 | -1 | +1 | 157 | 16 | 157 | |
Экспериментальные исследования времени переходного процесса осуществлялись при помощи комплекта виброизмерительной аппаратуры АВ-44, вибродатчик которой крепился на рабочем органе манипулятора.
2.3 Определение жесткости звеньев манипулятора МРЛ-901П
Жесткость звеньев манипулятора МРЛ-901П определялась по экспериментальным замерам деформации консоли манипулятора при действии на нее определенного усилия.
| Таблица 2.5 | ||||
| Деформация звеньев манипулятора МРЛ-901П под действием возмущающих сил | ||||
Возму- щающая сила | Деформация звеньев манипуляционной системы , мм | |||
| Ось X | Ось Y | |||
| Y=0 |
|
| ||
| 0 | 0 | 0 | 0 | 0 |
| 10 | 0,111 | 0,135 | 0,178 | 0,111 |
| 20 | 0,206 | 0,234 | 0,390 | 0,206 |
| 30 | 0,265 | 0,334 | 0,560 | 0,265 |
| 40 | 0,302 | 0,418 | 0,750 | 0,302 |
| 50 | 0,345 | 0,507 | 0,930 | 0,348 |
| 60 | 0,390 | 0,580 | 1,090 | 0,393 |
| 70 | 0,418 | 0,658 | 0,421 | |
| 80 | 0,460 | 0,745 | 0,465 | |
| 90 | 0,498 | 0,825 | 0,505 | |
| 100 | 0,534 | 0,902 | 0,540 | |
Результаты исследования жесткости приведены в таблице 2.5. По этим данным были построены график зависимости деформации от смещения рабочего органа (рис. 2.3) и график зависимости деформации от натяжения зубчатого ремня (рис.2.4).


2.4 Исследование быстроходности манипулятора
Быстроходность манипулятора характеризуется временем перемещения рабочего органа в требуемую точку. Теоретические предпосылкиуказывают, что непосредственное влияние на величину этого времени оказывают совместные механические характеристики (СМХ) электроприводов манипулятора.
Иcследование СМХ осуществлялось путем анализа тахограмм движения манипулятора МРЛ-901П, зарегистрированных самописцемН338Д/1.Статистически обработанные результаты экспериментов сведены в таблицу 2.6 и представлены в графическом виде на рис. 2.5.
Анализ экспирементальных данных показывает, что связь силы тяги, а, следовательно, и допустимого ускорения
со значением достигнутой скорости
существенно нелинейна. Для определения квазиоптимальных режимов движения манипулятора необходимо связать параметры a и V аналитическим выражением.
Представим каждое значение
СМХ в виде разности
, где
статическая тяговая синхронизирующая сила, а
потери тяговой силы, зависящие от скорости движения манипулятора.
Такая запись СМХ имеет то очевидное приемущество, что для каждого конкретного образца манипулятора указанной модели могут быть введены уточнения формулы путем измерения одного лишь значения
.
Следовательно, определение эмпирической формулы CМХ сводится к отысканию зависимости
. Воспользовавшись способом отыскания эмпирических формул, приведенным в [7], легко установить, что экспериментальные точки
наиболее точно отображают линейную зависиюсть на полулогарифмической функцональной координатной сетке. Из этого следует, что выражение
может быть описано логарифмической функцией. Из
Результаты исследований совместной механической характеристики манипулятора МРЛ
Вместе с этим смотрят:
11-этажный жилой дом с мансардой
14-этажный 84-квартирный жилой дом
16-этажный жилой дом с монолитным каркасом в г. Краснодаре
180-квартирный жилой дом в г. Тихорецке
2-этажный 3-секционный 18-квартирный жилой дом в г. Мирном
(j = 1,2,тАж,),
,
.
.
,
.
,
,
,

.
.
,
.
(j = 1,2,тАж,k),
,

.
,
,
,
,
,
,
.
,
.
,
,
.
.
,

.
,

,






