Разработка технологии производства сгущенного молока с сахаром
В последние 10 лет в России активно развиваются новые направления производства, связанные с выработкой продуктов со сложным жировым составом. В состав таких продуктов наряду с молочным жиром входят растительные масла и продукты их модификаций. Большой интерес к производству продуктов со сложным жировым составом обусловлен формированием новых взглядов на рациональное питание, развитием современных технологий, дефицитом качественного молочного сырья и высокой его стоимостью, ростом конкуренции со стороны импортной продукции.
Структура потребления явно смещается в сторону масел со сложным жировым составом. Это не только продукт с хорошим соотношением цена тАУ качество, но и удовлетворяющие определённые потребности потребителя по жирности и составу жиров, в том числе и как продукты здорового питания.
Использование сухого молока в качестве сырья позволит решить такие проблемы как сезонный дефицит молока и позволит снизить себестоимость продукта за счет того, что существует возможность восстановления сухого молока до более высокого содержания сухих веществ, чем в обычном молоке.
1 Литературный обзор
1.1Российский рынок молочных консервов
1.1.1 Производство молочных консервов
Производство молочных консервов в России непрерывно растет. Стойкие и транспортабельные, они дают возможность потреблять молоко в тех регионах, в которых отсутствует молочное скотоводство. Для туристов и экипажей кораблей эти продукты просто незаменимы.
Все более широкое применение они находят в домашнем применении. В дальнейшем потребление молочных консервов будет увеличиваться, так как расширяется их ассортимент [13].
За 2003 г. производство молочных консервов в целом по России выросло на 7,1% по сравнению с предыдущим 2002 г. и составило 581,0 туб [1].
Можно выделить округа, где произошло увеличение выработки молочных консервов по отношению к прошлому году: Центральный тАУ объем производства вырос на 12%; Южный ВнВн тАУ на 31%; Сибирский тАУ на 2%.
Однако на фоне общего роста производства молочных консервов существуют округа, где объем их выпуска за данный период снизился. К ним относятся: Северо-Западный, Приволжский, Уральский.
В табл. 1 представлено соотношение объемов производства молочных консервов за 2003 г. по отношению к предыдущему году в разрезе федеральных округов[1].
Таблица 1.1. Производство молочных консервов за 2003,2002гг[1].
![]()
| Федеральный округ | Производство молочных консервов, туб | Изменение, % | |
| 2003 г. | 2002 г. | ||
| Россия (всего) | 581,0 | 542,4 | 107,1 |
| Центральный | 343,9 | 307,0 | 112,0 |
| Северо-Западный | 23,1 | 28,7 | 80,5 |
| Южный | 46,2 | 35,3 | 131,0 |
| Приволжский | 19,9 | 23,3 | 85,5 |
| Уральский | 71,8 | 73,5 | 97,7 |
| Сибирский | 76,1 | 74,6 | 102,0 |
На рис.1.1 показана доля основных федеральных округов тАУ производителей молочных консервов за 2003 год.
рис.1.1. Доля основных экономических районов тАУ производителей
молочных консервов за 2003 г.
Анализ данных представленного рисунка устанавливает, что на долю Центрального, Сибирского и Уральского федеральных округов приходится 84,5% от общероссийского производства молочных консервов.
Долгое время многие специалисты считали данный рынок недостаточно перспективным, т.к. по оценкам некоторых экспертов, значительная доля (до 40%) приходилась на заказ со стороны силовых структур государства [3]. На сегодняшний день к одним из основных потребителей сгущенного молока относят различных производителей других пищевых продуктов. Его используют в кондитерской промышленности для производства ириса, молочных (типа ВлКоровкиВ»), сбивных, помадных и ликёрных конфет, ассорти, начинок для конфет; в производстве мороженого; в хлебопекарной промышленности тАУ для производства тортов, пирожных, рулетов, кремов [27].
Что же касается непосредственно населения, то по данным исследования, проверенного компанией ВлЭрконпродуктВ», сгущённое молоко как особый вид сладкого продукта потребляют около 45% россиян с периодичностью от одного до нескольких раз в месяц в зависимости от исследуемой местности.
Средняя российская цена на сгущённое молоко за банку массой 400 г в 2003 г. колебалась в пределах 12 тАУ 17 руб. (по данным системы ММЦ) [3].
По оценкам различных экспертов 50 тАУ 70% рынка сгущённого молока заняты консервами, изготовленными не по ГОСТу, а в соответствии с ТУ тАУ с добавлением в продукт растительных жиров.
Основных причин в производстве сгущённого молока с растительными жирами две.
Первая тАУ недостаток молочного сырья. Другая существенная причина тАУ использование растительных ингредиентов ведёт к снижению себестоимости, что составляет по оценкам экспертов, не менее 35 тАУ 40% [3].
1.1.1.2 Производство сухого цельного молока
Производство сухого цельного молока в 2003 г. в целом по России составило 76,7 тыс.т, это меньше на 5,3%, чем в предыдущем 2002 г [1]. Однако в Центральном и Уральском округах произошло увеличение производства сухого цельного молока на 7,4% и на 7,2% соответственно. В остальных наблюдается снижение объёмов производства.
В таблице 2 представлено соотношение объёмов производства сухого цельного молока за 2003 г. по отношению к 2002 г. в разрезе федеральных округов [1].
Таблица 1.2. Производство сухого цельного молока за 2003, 2002 гг [1].
| Федеральный округ | Производство сухого цельного молока, тыс.т | Изменение, % | |
| 2003 г. | 2002 г. | ||
| Россия, всего | 76,7 | 80,9 | 94,7 |
Центральный | 27,6 | 25,7 | 107,4 |
| Северо-Западный | 4,2 | 6,1 | 68,7 |
| Южный | 3,4 | 3,7 | 92,0 |
| Приволжский | 17,4 | 18,8 | 92,3 |
| Уральский | 4,4 | 4,1 | 107,2 |
| Сибирский | 19,7 | 22,6 | 87,2 |
| Дальневосточный | - | - | - |
На рис.1.2 показана доля основных федеральных округов производителей сухого цельного молока в 2003 г.
рис.1.2. Доля основных экономических районов тАУ производителей сухого цельного молока
Видно, что производство сухого цельного молока в Центральном, Сибирском и Приволжском округах составляет 84,4% от всего производства сухого цельного молока в России за 2003 год.
На 15.11.2003 г. оптово-отпускная цена на сухое цельное молоко по России и Сибирскому региону составляли от 39,6 д. 81,0 руб./кг и от 48,0 до 58,0 руб./кг соответственно. Розничная цена сухого цельного молока по России и Сибирскому региону колебалась в пределах от 50,0 до 125,0 руб./кг и от 50,0 до 90,0 руб./кг соответственно [2]. В Сибирском округе максимальное значение цен на сухое цельное молоко значительно ниже максимальных значений по России, а розничная цена сухого цельного молока вообще минимальна по России.
1.1.1.3 Производство сухого обезжиренного молока.
За 2003 г. в России было произведено 97,3 тыс.т сухого обезжиренного молока тАУ это на 7,2% ниже чем в 2002 г.
Однако в таких регионах как Северо-Западный и Уральский производство сухого обезжиренного молока увеличилось на 22,9% и 12,9% соответственно, в остальных округах наблюдалось снижение объёмов производства. В таблице 3 представлены соотношения объёмов производства сухого обезжиренного молока за 2003 г. и 2002 г.
Таблица 1.3. Производство сухого обезжиренного молока за 2003,
2002 гг[1].
| Федеральный округ | Производство СОМ, тыс.т | Изменение, % | |
| 2003 г. | 2002 г. | ||
| Россия, всего | 97,3 | 104,8 | 92,8 |
Центральный | 30,3 | 32,0 | 93,8 |
| Северо-Западный | 5,3 | 4,3 | 122,9 |
| Южный | 9,5 | 10,9 | 87,5 |
| Приволжский | 32,4 | 34,5 | 93,9 |
| Уральский | 3,7 | 3,3 | 112,9 |
| Сибирский | 16,3 | 19,7 | 82,9 |
| Дальневосточный | 0,03 | 0,2 | 15,4 |
На рис.1.3 представлена доля основных федеральных округов тАУ производителей СОМ в 2003 г.

рис.1.3. Доля основных экономических районов тАУ производителей
сухого обезжиренного молока
На долю Центрального, Приволжского и Сибирского округов приходится 80,8% производства от всего производства СОМ в России.
По данным Минсельхоза России [2] на 15.11.2003 г. цены на СОМ составляли: Оптово-отпускные цены (с НДС) 28,30 и 65,0 руб./кг минимальная и максимальная соответственно и розничные цены (с НДС) 45,0 и 72,0 min и max соответственно тАУ по России.
Для Западно-Сибирского региона оптово-отпускные цены 36,0 (min) и 56,0 (max), а также розничные цены 55,0 (min) и (max).
1.1.2 Комбинированное и модифицированное сгущённое молоко с сахаром
Резкое ухудшение экологической обстановки во всём мире, связанное с техническим прогрессом, а также недостаток или избыток отдельных компонентов пищи привели к появлению новых и резкому увеличению числа известных болезней, связанных с неправильным питанием.
Для сохранения здоровья человека продукты питания должны обеспечивать улучшение обмена веществ, повышение сопротивляемости организма к неблагоприятным воздействиям внешней среды. В связи с этим актуальной является разработка специализированных продуктов сбалансированного состава, обладающих лечебно-профилактическим действием с учётом физиологических потребностей различных возрастных групп населения.
Создание продуктов ВлздоровогоВ» питания, имеющих сбалансированный состав, может быть реализовано за счёт их многокомпонентности, в частности путём комбинирования сырья животного растительного происхождения [20].
Использование сухого молочного сырья и растительных жиров при производстве сгущённого молока с сахаром также решает такие проблемы, как дефицит молочного сырья и снижение себестоимости продукта.
Сухое молоко, жиры и специальные смеси, используемые в качестве ингредиентов при производстве рекомбинированных молочных консервов, должны быть хорошего качества и обладать необходимыми функциональными характеристиками, обеспечивающими готовый продукт определёнными свойствами.
Сухое молоко выбирают с учётом его состава, физических и химических и микробиологических характеристик. Наиболее важной характеристикой СОМ является его способность придавать продукту нужную вязкость. Важно знать условия производства, поскольку и тепловая обработка и гомогенизация могут повлиять на вязкость вырабатываемого сгущённого молока с сахаром.
Сгущенные молочные консервы вырабатывают по традиционной технологии в соответствии с ГОСТом 2903-78 и по различным ТУ.
Традиционная технология сгущенного молока с сахаром.
Сгущенные молочные консервы вырабатывают двух видов: с сахаром и без него (стерилизованные).
Сгущенные молочные консервы с сахаром. Имеют однородную по всей массе консистенцию без ощутимых органолептически кристаллов лактозы, белый с кремовым оттенком цвет (для неВнжирных консервов допускается голубоватый оттенок, а для конВнсервов с наполнителем тАФтемно-коричневый). Эти консервы обВнладают сладким вкусом с выраженным оттенком пастеризованВнного молока или сливок, а консервы с наполнителями тАФ хорошо выраженными вкусом и запахом натурального кофе или какао. В настоящее время изготовляют большой ассортимент сгущенных консервов с сахаром, нежирных и с массовой долей влаги от 26 до 30 %, сухих веществ от 26 до 36, жира от 5 до 19 и сахарозы от 37 до 44 %, кислотностью от 37 до 60 Т. В готовых консервах обВнщее количество бактерий в 1 г допускается не более 50 000 (для молока сгущенного с сахаром, нежирного и пахты) и 35 000 (для сгущенных консервов с сахаром, кофе и какао), бактерии группы кишечной палочки в 0,1 г продукта и патогенные микроорганизВнмы не допускаются.
Предприятия отрасли выпускают следующие виды консервов: цельное сгущенное молоко с сахаром, сгущенные сливки с сахаВнром; нежирное сгущенное молоко с сахаром; сгущенную пахту с сахаром; натуральный кофе со сгущенным молоком и сахаром, какао со сгущенным молоком и сахаром, какао со сгущенными сливками и сахаром и другие с различными оригинальными наВнзваниями.
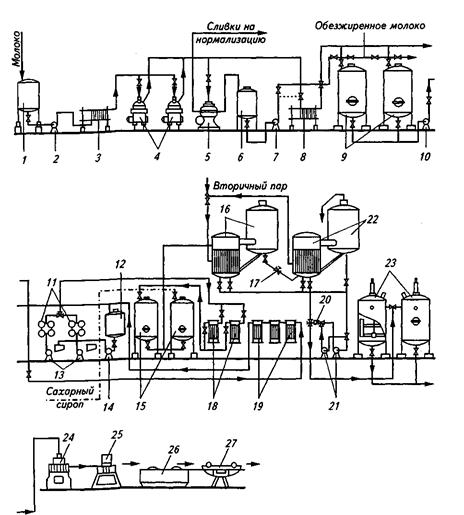
Сгущенные молочные консервы с сахаром вырабатывают по одной технологической схеме (рис. 1.4). Режимные параметры зависят от конкретного вида консервов.
Технологический процесс производства сгущенных консервов с сахаром состоит из следующих основных операций: приемка и подготовка сырья и компонентов, нормализация, пастеризация, гомогенизация, приготовление и добавление сахарного сиропа, сгущение, охлаждение сгущенного продукта, фасование, упакоВнвывание (закатывание) и хранение.
Приемку молочного сырья и его подготовку (очистку, охлажВндение и резервирование) проводят так же, как и при выработке других молочных продуктов. Компоненты готового продукта по рецептуре подготавливают согласно действующей документации. После подготовки молоко нормализуют с учетом содержания в готовом продукте жира, сухого молочного остатка, сухого обезВнжиренного молочного остатка (СОМО) и соотношения жира и СОМО (Жпр/СОМОлр). Это соотношение сравнивают с соотноВншением в перерабатываемой партии молока (ЖМ/СОМОМ). Если ЖМ/СОМОМ >Жпр/СОМОпр, то для нормализации исходного моВнлока используют обезжиренное молоко; если ЖМ/СОМОЫ < Жпр/ СОМОпр, то молоко нормализуют сливками; если Жи/СОМОм = ЖПр/СОМОпр, то молоко не нормализуют.
Нормализованную молочную смесь пастеризуют при темпераВнтуре 85тАФ95 или 105тАФ112В°С без выдержки. Для нежирных конВнсервов обезжиренное молоко и пахту пастеризуют при 75тАФ77В°С с выдержкой 10 мин и при 85тАФ90В°С без выдержки. В нормализоВнванное молоко перед пастеризацией можно вносить 25%-ный водный раствор соли-стабилизатора в количестве 0,008тАФ0,01 % массы
молока. После пастеризации молоко рекомендуется охлаВндить до 70тАФ75В°С и направить на сгущение. Выдержка молока при температуре пастеризации обеспечивает получение готового продукта повышенной вязкости.
Перед сгущением допускается гомогенизация молока. Ее приВнменяют в зимнее время, а также для консервов вязкостью менее 2,5 Па тАв с. Гомогенизацию проводят при температуре 60тАФ65 В°С и рабочем давлении 8тАФ10МПа, а для сгущенных консервов с кофе тАФ при 75тАФ80 В°С и 10тАФ12 МПа.
Сахарный сироп готовят путем растворения необходимого коВнличества сахара в питьевой воде температурой 60тАФ70 "С. После смешивания сахара с водой смесь доводят до кипения и очищаВнют. Сахарные сиропы рекомендуется готовить с концентрацией сахара 65тАФ70 %. С целью предотвращения расщепления (инверВнсии) сахарозы, а также засахаривания и загустения сироп нельзя выдерживать более 20 мин от начала кипения до начала его смеВншивания с молоком. Температура сиропа при смешивании должВнна быть 90тАФ95 В°С.
Сахарный сироп может поступать в вакуум-аппарат установВнки в смеси с молоком или поэтапно: сироп тАФ молоко тАФ сироп. Перед поступлением в выпарной аппарат молочную смесь с саВнхарным сиропом, молоко или сироп фильтруют.
|
Вместе с этим смотрят:
11-этажный жилой дом с мансардой
14-этажный 84-квартирный жилой дом
16-этажный жилой дом с монолитным каркасом в г. Краснодаре
180-квартирный жилой дом в г. Тихорецке
2-этажный 3-секционный 18-квартирный жилой дом в г. Мирном
