Сооружения для забора воды
СОДЕРЖАНИЕ
1. СООРУЖЕНИЯ ДЛЯ ЗАБОРА ВОДЫ ИЗ ПОВЕРХНОСТНЫХ ИСТОЧНИКОВ 2
1.1. Классификация способов и сооружений для забора воды из поверхностных источников. 2
1.2. Выбор схемы и места расположения водозабора. 3
2. СООРУЖЕНИЯ ДЛЯ ЗАБОРА ВОДЫ ИЗ ПОДЗЕМНЫХ ИСТОЧНИКОВ 5
2.1. Основные типы сооружений для забора подземных вод. 5
2.2. Горизонтальные водозаборы. 5
2.3. Трубчатые колодцы. 5
2.4. Шахтные колодцы. 7
2.5. Лучевой водосбор. 7
2.6. Каптажные водосборные сооружения. 7
ЛИТЕРАТУРА. 11
1. СООРУЖЕНИЯ ДЛЯ ЗАБОРА ВОДЫ ИЗ ПОВЕРХНОСТНЫХ ИСТОЧНИКОВ
1.1. Классификация способов и сооружений для забора воды из поверхностных источников.
Водозаборные сооружения из поверхностных источников должны обеспеВнчивать:
- получение расчетного расхода воды из водоисточника и подачу его потребителю;
- предохранять систему водоснабжения от проникания в нее сора, наносов, планктона, рыбы, льда и от биологических обрастаний.
Соблюдение всех этих требований учитывают при выборе типа и оборудоВнвания водозабора и места его расположения.
Все многообразие применяемых на практике сооружений для забора воды из поверхностных источников можно классифицировать по следующим признаВнкам:
1. Назначению
- хозяйственно-питьевые, технические, ирригационные и пр.;
- месту расположения водоприемника - береговые, русловые, приплотинные и пр.;
2. Типу водоема:
- речные, озерные, водохранилищные и морские;
-требуемой категории надежности подачи воды - три категории в соответстВнвии с указаниями СНиПа;
3. Производительности:
- малые (до 1 м /с), средние (1-6 м3/с), большие (свыше 6 м3/с);
4. Конструктивным и технологическим особенностям:
- совмещенные, разВндельные, ковшевые, приплотинные и т.п.;
5. Длительности периода эксплуатации:
- постоянные и временные;
6. Степени стационарности:
- стационарные и нестационарные (плавучие, фуникулерные).
По степени трудности забора воды природные условия поверхностных исВнточников водоснабжения, согласно СНиП, подразделяют на четыре группы. При этом учитываются мутность воды, неустойчивость берегов и дна, русловые и леВндовые режимы, лесосплав, засоренность водоисточника, наличие водорослей, дрейсены, балянуса, мидий и пр.
В зависимости от сложности природных условий, типа водоприемника и доступности водоприемных отверстий для обслуживания водозаборы по степени надежности забора воды подразделяют на три категории:
I - водозабор, допускающий снижение получения воды в течение 3 суток на 30 % расчетного расхода. Перерыв в подаче воды или снижение подачи ниже укаВнзанного предела допускается на 10 мин.
II - водозабор, допускающий снижение получения расчетного расхода воды на 30 % в течение 10 суток. Перерыв в подаче воды или ее снижение ниже укаВнзанного предела допускается не более чем на 6 ч.
III - водозабор, допускающий снижение получения воды в течение до 15 суВнток на 30 % расчетного расхода. Перерыв в подаче воды или ее снижение ниже указанного предела допускается не более чем на 24 ч.
Береговые незатопленные водоприемники с водоприемными отверстиями, всегда доступными для обслуживания, с механизированной очисткой их сороудерживающих решеток относят к водоприемникам I степени надежности забора воды в средних природных условиях. Русловые затопленные водоприемники всех типов, удаленные от берега и недоступные в периоды половодья, шторма, ледоВнхода, шуго-хода и т. п., относят к водоприемникам II степени надежности забора воды в средних природных условиях. Фуникулер и плавучие водоприемники всех видов для средних условий работы относят к водоприемникам III степени наВндежности забора воды.
1.2. Выбор схемы и места расположения водозабора.
Выбор схемы и места расположения водозабора обосновывается прогнозаВнми качества воды в источнике, переформирования побережья и русла, гидротехВннического режима.
При амплитуде колебания уровней воды в источнике более 6 м и при глубиВннах у берега, достаточных для нормального забора воды, следует применять береговые совмещенные водозаборы (рис. 1а). Для водозаборов средней проВнизводительности при малой высоте всасывания насосов возможно совмещение берегового колодца и насосной станции. Для водозаборов небольшой производиВнтельности, при достаточных глубинах у берега для нормального забора воды можно принимать водоприемники раздельного типа (рис. 1 б). При амплитуде коВнлебания уровней воды в источнике до 6 м и при глубинах у берега, недостаточВнных для забора воды, водозаборы малой производительности рекомендуется принимать руслового типа (рис. 1в), при этом насосная станция может быть конВнструктивно объединена с береговым колодцем или расположена отдельно.



Рис. 1. Схемы речных водозаборов:
а - береговой совмещенный; б - береговой раздельный;
в - русловой; г - приплотинный.


2.1. Основные типы сооружений для забора подземных вод.
При выборе источника централизованного хозяйственно-питьевого водоВнснабжения, прежде всего, рассматривают подземные воды, залегающие в горных породах верхнего слоя земной коры. Вначале изучают возможность использоваВнния межпластовых напорных вод, затем межпластовых безнапорных, далее трещинно-карстовых и грунтовых вод.
Для забора подземных вод, залегающих в различных породах и на разных глубинах, применяют следующие типы водозаборных устройств и сооружений: трубчатые и шахтные колодцы, горизонтальные водосборы, комбинированные водозаборы, лучевые водосборы, сооружения для каптажа родниковых вод. Тип водоприемного сооружения зависит от глубины залегания подземных вод, мощВнности и водообильности водоносного пласта, характера водовмещающей породы, наличия давления в пласте и т.п.
2.2. Горизонтальные водозаборы.
Горизонтальные водозаборы применяют при небольшой глубине залегания водоносного пласта (до 5 - 8 м) и малой его мощности. Они представляют собой дренажные трубы или галереи (рис. 4), размещаемые в пределах водоносного пласта на подстилающем водоупоре перпендикулярно направлению грунтового потока. Вокруг дренажных труб или галерей сооружают гравийные фильтры. ВоВнда, фильтруемая из грунта в дренажные трубы или галереи, поступает по ним в . водосборный колодец (резервуар), откуда откачивается насосами. На водосборВнных линиях через каждые 25 - 50 м предусматривают смотровые колодцы.
2.3. Трубчатые колодцы.
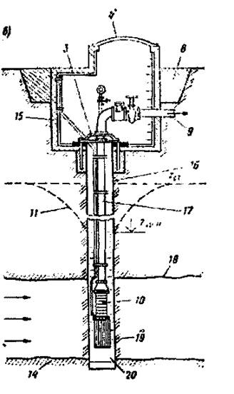
Трубчатые колодцы сооружают бурением в грунте вертикальных цилиндриВнческих выработок - скважин, стенки которых в большинстве пород необходимо укреплять обсадными трубами (стальными, асбестоцементными, полиэтиленовыВнми), образующими трубчатый колодец (рис. 36). Для приема воды из грунта колодец в пределах водоносного горизонта выполняют из перфорированных труб, снабженных специальным фильтром, не проницаемым для частиц породы.


Рис. 3. Приток грунтовых (а) и напорных (б) вод соответственно к шахтному (несовершенному) и трубчатому (совершенному) колодцам: 1 - водоприемные отверстия; 2 - ствол; 3 - оголовок; 4 - крышка; 5 - венВнтиляционная труба; 6 - отмостка; 7 - водоотводящая канава; 8 - глиняный замок; 9 - напорный трубопровод; 10 - насос; 11 - кривая депрессии; 12 -. приемный клапан; 13 - обратный фильтр; 14 - водоупор; 15 - шахта; 16 -обсадные трубы; 17 - водоподъемные трубы; 18 - водоупорная кровля; 19 - фильтр; 20 - отстойник.
Трубчатые колодцы применяют при глубоком залегании водоносных плаВнстов и их значительной мощности. Отличительная особенность трубчатых коВнлодцев - малый диаметр и большая длина цилиндрической части. Трубчатые коВнлодцы могут быть использованы для получения подземных безнапорных и наВнпорных вод. Колодец может быть доведен до подстилающего водоупорного плаВнста (совершенный колодец, рис. 36) или оканчиваться в толще водоносного плаВнста (несовершенный колодец). Для водоснабжения крупных объектов предусматривают несколько трубчатых колодцев, объединяемых в общую систему водоВнсборных сооружений.
2.4. Шахтные колодцы.
Шахтные колодцы сооружают из бетона, железобетона, кирпича, бута и деВнрева для приема обычно безнапорных вод при относительно небольшой глубине их залегания (до 40 м). Обычно шахтные колодцы не доходят до водоупора (коВнлодцы несовершенного типа) и получают воду через днище и отверстия в стенках (рис. За). Шахтные колодцы имеют значительную площадь поперечного сечения и небольшую вертикальную часть. На дне и в отверстиях стен шахтных колодцев размещают фильтры для предотвращения попадания в них частиц породы.
2.5. Лучевой водосбор.
Лучевой водосбор является сооружением инфильтрационного типа, испольВнзуемым для забора подрусловых и подземных вод из водоносных пластов неВнбольшой мощности, лежащих на глубине до 20 м. Вода отбирается перфорироВнванными трубчатыми дренами, расположенными в пределах водоносных пород и присоединяемыми радиально к сборному шахтному колодцу (рис. 5).
2.6. Каптажные водосборные сооружения.
Каптажные водосборные сооружения устраивают двух типов: для каптажа восходящих родников водоприемные сооружения представляют собой шахты или резервуары, размещаемые над местом наиболее интенсивного выхода подземных вод (рис. 6а); для каптажа нисходящих родников сооружают приемные камеры, располагаемые в месте интенсивного выхода родниковой воды (рис. 6б). В стенке камеры, обращенной к фронту поступления подземных вод, предусматривают воВндоприемные окна.



Рис. 4. Схема горизонтального водосбора (а) и конструкции дрен из щебня (б) и бетонных труб (в, г):
I - смотровые колодцы; 2 - водосборный колодец: 3 - дренажные трубы; 4- насосная станция; 5 - насыпной грунт; 6 - глиняный экран; 7 - песок; 8 - гравий; 9 - щебень; 10 - труба с отверстиями для входа воды;
I1 - бетонная подушка.





Рис. 6. Водоприемные сооружения для каптажа восходящих (а) и нисходящих (б) родников:
I - выход подземных вод; 2 - водоприемная камера; 3 - глиняный замок;
4 - служебный мостик; 5 - вентиляционная труба; 6 - вход в каптажную камеру; 7 - перелив; 8 - расходная труба; 9, 10 - грязевая и дренажная трубы;
II - водоприемное отверстие; 12 - обратный фильтр.
ЛИТЕРАТУРА
1. Абрамов Н. Н. Водоснабжение. М.: Стройиздат, 1982.
2. Алферова Л. А., Нечаев А. П. Замкнутые системы водного хозяйства промышленных предприятий. М.: Стройиздат, 1984.
3. Кучеренко Д. И., Гладков В. А. Оборотное водоснабжение. М.: Стройиздат, 1980.
4. Николадзе Н. Н. Водоснабжение. М.: Стройиздат, 1989.
5. Сомов М. А. Водопроводные системы и сооружения. М.: Стройиздат, 1988.
Министерство образования Российской Федерации
Камский государственный политехнический институт
Реферат
по дисциплине Влинженерные сетиВ»
на тему:
СООРУЖЕНИЯ ДЛЯ ЗАБОРА ВОДЫ
Выполнил: студент гр. 3305-У
Андреева Ю.В.
Проверил: преподаватель
Безбородова И.Н.
Набережные Челны, 2003 г.
Вместе с этим смотрят:
11-этажный жилой дом с мансардой
14-этажный 84-квартирный жилой дом
16-этажный жилой дом с монолитным каркасом в г. Краснодаре
180-квартирный жилой дом в г. Тихорецке
2-этажный 3-секционный 18-квартирный жилой дом в г. Мирном