Технология оборудования сварки
Российский государственный профессионально педагогический университет
Контрольная работа
По предмету: ВлТехнология и оборудование сваркиВ»
Вариант 9
Выполнил студент гр. ЗСМ 411
Соколов М. В.
Проверил Преподаватель
_________________
Екатеринбург
2004
Содержание
1.Описать конструкцию и принцип действия
универсальных газовых гореВнлок
(с указанием марки и технических характеристик) для
сварки, резки и поВндогрева металлов. 3
2. Обосновать выбор технологии газовой сварки
легированной стали З0ХГСА. При рассмотрении
этого вопроса выявить связь выбранного режима
(предварительного, сопутствующего и последующего
подогрева) с составом стали, структурными
изменениями в металле шва и зоне термического
влияния. Результаты оформить в виде таблиц. 9
3. Условия и требования к разрезаемому металлу,
определяющие возможВнность протекания процесса резки.
Рассчитать расход режущего кислорода при
ручной кислородной резке
стали толщиной 50-100мм и 500мм. 13
4. Список литературы 16
1.Описать конструкцию и принцип действия универсальных газовых гореВнлок (с указанием марки и технических характеристик) для сварки, резки и поВндогрева металлов.
Горелка тАУ это устройство, предназначенное для получения пламени необходимой тепловой мощности, размеров и формы. Все существующие конструкции газо-плазменных горелок можно классифицировать следующим образом:
1) по способу подачи горючего газа в смесительную камеру тАФ инжекторные и безынжекторные;
2) по мощности пламени тАФ микро мощности (10тАФ60 дм3/ч ацеВнтилена); малой мощности (25тАФ400 дм3/ч ацетилена); средней мощВнности (50тАФ2800 дм3/ч ацетилена) и большой мощности (2800тАФ 7000 дм3/ч ацетилена);
3) по назначению тАФ универсальные (сварка, резка, пайка, наВнплавка, подогрев); специализированные (только сварка или только подогрев, закалочные и пр.);
4) по числу рабочих пламен тАФ одноплеменные и многопламенВнные;
5) по способу применения тАФ для ручных способов газопламенВнной обработки; для механизированных процессов.
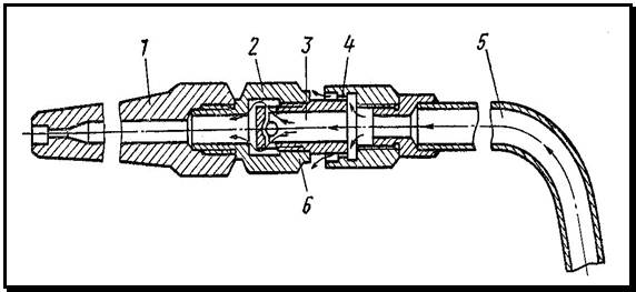
Инжекторные горелки. Кислород через ниппель / инжекторной горелки проходит под избыточным давлением 0,1тАФ0,4 МПа (1 тАФ 4 кгс/см2) и с большой скоростью выходит из центрального канала инжектора 8(рис. 1). При этом струя кислорода создает разрежеВнние в ацетиленовых каналах рукоятки 3, за счет которого ацетилен подсасывается (инжектируется) в смесительную камеру 10,откуда образовавшаяся горючая смесь направляется в мундшук 13и на выходе сгорает. Инжекторные горелки нормально работают при изВнбыточном давлении поступающего ацетилена 0,001 МПа (0,01 кгс/см2) и выше.
Повышение давления горючего газа перед горелкой облегчает работу инжектора и улучшает регулировку пламени, хотя при этих условиях приходится прикрывать вентиль горючего газа на горелке, что может привести к возникновению хлопков и обратных ударов пламени. Поэтому при использовании инжекторных горелок рекоВнмендуется поддерживать перед ними давление ацетилена (при раВнботе от баллона) в пределах 0,02тАФ0,05 МПа (0,2тАФ0,5 кгс/см2).
Рис. 1. Инжекторная горелка:

1 тАФ кислородный ниппель; 2 тАФ ацетиленовый ниппель; 3 тАФ рукоятка; 4 тАФ кислородная трубка; 5 тАФ вентиль для кислорода; 6 тАФ корпус; 7 тАФ вентиль для ацетилена; 8 тАФ инВнжектор; 9 тАФ накидная гайка; 10 тАФ смесительная камера; 11 тАФ наконечник; 12 тАФ соедиВннительный ниппель; 13 тАФ мундштук
Инжекторные горелки рассчитывают таким образом, чтобы они обеспечивали некоторый запас ацетилена, т. е. при полном открыВнтии ацетиленового вентиля горелки расход ацетилена увеличивался бы по сравнению с паспортным для инжекторных горелок тАФ не менее чем на 15%; для инжекторных резаков тАФ не менее чем на 10% максимального паспортного расхода ацетилена.
На рис. 2 показаны в качестве примера конструкции инжекторВнных горелок средней мощности ГС-3 и малой мощности ГС-2 для сварки металлов. Горелки снабжают набором сменных наконечниВнков, различающихся расходом газа и предназначаемых для сварки металлов разной толщины. Номер требуемого наконечника выбирают в соответствии с требуемой тепловой мощностью пламени, выраженной в дм3/ч ацетилена. К рукоятке горелки ГС-3 можно присоединять и другие наконечники, например многопламенные для подоВнгрева, для пайки, вставные резаки для резки металла
Рис. 2. Внешний вид и разрез горелок

а)тАФ типа ГС-3; б) тАФ типа ГС-2; 1 тАФ трубка наконечника; 2 тАФ смесительная камера; 3 и 5 тАФ уплотнительные кольца из масло термостойкой резины; 5 тАФ маховичок; 6 тАФ шариковый клапан; 7 тАФ пластмассовая рукоятка; 8 тАФ ацетиленовый ниппель; 9 тАФ корпус; 10 тАФ инжектор; 11 тАФ накидная гайка; 12 тАФ мундштук
Для сварки и наплавки металлов большой толщины, нагрева и других работ, требующих пламени большой мощности, используют инжекторные горелки ГС-4 с наконечниками № 8 и 9:
№ наконечника 8 9
Расход газов, дм3/ч:
ацетилена... 2800тАФ4500 4500тАФ7000
кислорода... 3100тАФ5000 5000тАФ8000
Толщина свариваемой
стали, мм.... 30тАФ50 50тАФ100
В наконечниках ГС-4 инжектор и смесительная камера установВнлены непосредственно перед мундштуком. Горючий газ подается в инжектор по трубке, расположенной внутри трубки подачи кислоВнрода. Этим предупреждается нагревание горючего газа и смеси отраженной теплотой пламени, что снижает вероятность обратных ударов пламени и хлопков при использовании пламени большой мощности. Горелка ГС-4 может работать на пропан бутане, для чего снабжена двумя наконечниками с сетчатыми мундштуками, рассчиВнтанными на расходы: № 8 тАФ пропан бутана 1,7тАФ2,7, кислорода 6тАФ9,5 м3/ч; № 9 тАФ пропан бутана 2,7тАФ4,2, кислорода 9,5тАФ 14,7 м3/ч.
Рис. 3. Наконечник с подогревателем для сварки на пропан бутане

1 тАФ мундштук; 2 тАФ подогревающая камера; 3 тАФ подогреватель; 4 тАФ сопла подогревателя; 5 тАФ трубка горючей смеси; 6 тАФ подогревающие пламена.
Мундштуки горелок малой мощности или имеющих водяное охлаВнждение изготовляют из латуни ЛС59-1. В горелках средней мощности мундштуки для лучшего отвода теплоты изготовляют из меди МЗ или хромистой бронзы Бр Х0,5, к которой не так пристают брызги расплавленного металла. Для получения пламени правильной формы и устойчивого его горения выходной канал не должен иметь заусенВнцев, вмятин и других дефектов, а внутренняя поверхность канала должна быть чисто обработана. Снаружи мундштук рекомендуется полировать.
Горелки для газов заменителей отличаются от ацетиленовых тем, что снабжены устройством для дополнительного подогрева и перемешивания газовой смеси до выхода ее из канала мундштука. Серийно выпускаемые горелки ГЗУ-2-62 и ГЗМ-2-62М для этого имеют подогреватель и подогревательную камеру, расположенные на наконечниках между трубкой подвода горючей смеси и мундВнштуком (рис. 3). Часть потока смеси (5тАФ10%) выходит через доВнполнительные сопла подогревателя и сгорает, образуя факелы, поВндогревающие камеру из коррозионно-стойкой стали. Температура смеси на выходе из мундштука повышается на 300тАФ350В° С и соотВнветственно возрастает скорость сгорания и температура основного сварочного пламени. Горелки могут работать на пропан-бутан-кислородной и метан-кислородной смеси; ими можно сваривать стали толщиной до 5 мм (в отдельных случаях до 12 мм) с удовлетвоВнрительными показателями по производительности и качеству сварки. Наконечники этих горелок рассчитаны на следующие расходы газов:
№ наконечника 0 1 2 3
Расход, дм3/ч:
пропан-бутана 15тАФ40 30-70 70тАФ140 140-240
кислорода 50тАФ140 105тАФ260 260тАФ540 520-840
№ наконечника 4 5 6 7
Расход, дм3/ч:
пропан-бутана 240тАФ400 400тАФ650 650тАФ1050 1650тАФ1700
кислорода.... 840тАФ1400 1350тАФ2200 2200тАФ3600 3500тАФ5800
При переводе на пропан-бутан горелок, рассчитанных для раВнботы на ацетилене, следует брать наконечник, на два номера больВнший, и ввертывать в него мундштук, на один номер больший, а инжектор тАФ на один номер меньший, чем при сварке металла той же толщины на ацетиленокислородной смеси.
Специальные наконечники. Для сварки в тяжелых условиях нагрева, например крупных чугунных отливок с подогревом, приВнменяют специальные теплоустойчивые наконечники НАТ-5-6 и НАТ-5-7. В этих наконечниках мундштук и трубка снабжены тепВнлоизоляционной прослойкой из асбеста, разведенного на воде или жидком стекле, и покрыты сверху кожухом из стали Х25Т. Они могут длительно работать без хлопков и обратных ударов. Для этих работ используют также обычные наконечники, снабженные дополнительной трубкой для подвода охлаждающего воздуха.
Безынжекторные горелки. В отличие от инжекторных в данных горелках сохраняется постоянный состав смеси в течение всего вреВнмени работы горелки, независимо от ее нагрева отраженной теплотой пламени. В, инжекторных же горелках нагрев мундштука и смесиВнтельной камеры ухудшает инжектирующее действие струи кислоВнрода, вследствие чего поступление ацетилена уменьшается и смесь обогащается кислородом. Это приводит к хлопкам и обратным удаВнрам пламени, тАФ приходится прерывать сварку и охлаждать наВнконечник.
Безынжекторные горелки, в которых ацетилен и кислород поВнступают в смесительное устройство под равными давлениями, при нагревании не меняют состава смеси, поскольку при нагревании мундштука если и уменьшается поступление газов в горелку, то оно одинаково как для кислорода, так и для ацетилена. СледоваВнтельно, относительное содержание их в смеси, т. е. состав смеси, остается постоянным. На рис. 4, а показана схема безынжекторВнной горелки, на рис. 4, б тАФ схема устройства для питания безынжекторной горелки ГАР (равного давления).кислородом и ацетилеВнном через постовой беспружинный регулятор ДКР (см. рис. 23). Горелка ГАР комплектуется семью наконечниками на расходы ацеВнтилена 50тАФ2800 дм3/ч. Каждый наконечник имеет смесительную камеру с двумя калиброванными отверстиями: центральным для кислорода и боковым для ацетилена.
Рис 4. Безынжекторная горелка

1 тАФ мундштук; 2 тАФ трубка наконечника; 3 тАФ вентиль кислорода; 4 тАФ ниппель кислорода; 5 тАФ ниппель ацетилена; 6 тАФ вентиль ацетилена; 7 тАФ редуктор кислородный; 8 тАФ редуктор ацетиленоВнвый; 9 тАФ регулятор ДКР; 10 тАФ шланги; 11 тАФ горелка ГАР
Камерно-вихревые горелки. Для некоторых процессов газоплаВнменной обработки тАФ нагрева, пайки, сварки пластмасс и т. п. не требуется высокой температуры ацетиленокислородного пламени. Для этих процессов можно использовать камерно-вихревые горелки, работающие на пропано-воздушной смеси. В этих горелках вместо мундштука имеется камера сгорания, в которую поступают пропан и воздух под давлением 0,05тАФ0,2 МПа (0,5тАФ2 кгс/см2). Пропан подается в камеру через центральный канал, а воздух, вызывающий также вихреобразование, поступает по многозаходной спирали, обеспечивающей ВлзакруткуВ» газовой смеси в камере сгорания. ПроВндукты сгорания выходят через концевое сопло камеры сгорания с большой скоростью, образуя пламя достаточно высокой темпераВнтуры (1500тАФ1600В° С). Горелки позволяют получать пламя с темпеВнратурой 350тАФ1700В° С.
Горелки специальные. К таким горелкам относятся, например, многопламенные для очистки металла от ржавчины и краски; газо-воздушные для пайки и нагрева, работающие на ацетилене газах заменителях; керосино кислородные для распыленного жидкого горючего; многопламенные кольцевые для газопрессовой сварки; для поверхностной закалки; для пламенной наплавки; для сварки термопластов и многие другие.
Принципы устройства и конструкции их во многом аналогичны используемым для сварочных горелок. Отличие состоит в основном; в тепловой мощности и размерах пламени или суммы пламен (при многопламенных горелках), а также размерах и форме мундштука.
2. Обосновать выбор технологии газовой сварки легированной стали З0ХГСА. При рассмотрении этого вопроса выявить связь выбранного режима (предварительного, сопутствующего и последующего подогрева) с составом стали, структурными изменениями в металле шва и зоне термического влияния. Результаты оформить в виде таблицы.
Газовая сварка характеризуется высокими значениями вводимой в изделие удельной энергии εи достигающими величин порядка 200тАФ400 Дж/мм2, большей зоной теплового влияния, меньшей проВнизводительностью, чем дуговая сварка.
Газовую сварку применяют при изготовлении и ремонте издеВнлий из тонколистовой стали; при ремонтной сварке литых изделий из чугуна, бронзы, алюминиевых сплавов; при монтажной сварке стыков трубопроводов малых и средних диаметров (до 100 мм) с толщиной стенки до 5 мм и фасонных частей к ним; при сварке узлов конструкций из тонкостенных труб; при сварке изделий из алюминия и его сплавов, меди, латуни и свинца; при наплавке латуни и бронзы на детали из стали и чугуна; при наплавке тверВндых и износоустойчивых сплавов, а также при сварке ковкого и высокопрочного чугуна с применением прутков из латуни и бронзы.
Газовой сваркой можно сваривать почти все металлы, испольВнзуемые в технике. Чугун, медь, латунь, свинец легче поддаются газовой сварке, чем дуговой. Простота оборудования, независиВнмость от источника энергоснабжения, возможность широкого регуВнлирования скорости нагрева и охлаждения металла при сварке позволяют применять этот процесс при ремонтных и монтажных работах. Сталь толщиной свыше 6 мм газовой сваркой соединяют редко.
Таблица 1.
Влияние примесей на свойства металла шва и около шовной зоны
| Наименование, химический символ примеси | В каком виде находится примесь в металле | Взаимодействие с кислородом металла сварочной ванны, шлака, газа | Дефекты сварной конструкции | Причины образования трещин | Допустимость (желательна \нежелательна) присутствия примеси в | Максимально допустимое содержание примеси в % | Характерные свойства основного металла при наличии данной примеси | Свариваемость металла | ||||
| В около шовной зоне | В металле шва | Холодных | Горячих | Основном металле | Присадочной проволоке | |||||||
| Включение окислов, непровар | ||||||||||||
Таблица 2.
| Свариваемый металл | Пламя и его мощность дм3/ч | Присадочная проволока | Флюсы | Термообработка после сварки | Способ сварки | Наличие трещин | Нагрев перед сваркой | Свариваемость |
| 1 | 2 | 3 | 4 | 5 | 6 | 7 | 8 | 9 |
| 30ХГСА | 75-100 | Св-08 Св-08А Св-18ХГСА Св-18ХМА |
|
3. Условия и требования к разрезаемому металлу, определяющие возможВнность протекания процесса резки. Рассчитать расход режущего кислорода при ручной кислородной резке стали толщиной 50-100мм и 500мм.
Подвергаемый газовой резке металл должен удовлетворять ряду определенных условий (требований).
Температура плавления металла должна быть выше темпераВнтуры воспламенения его в кислороде (температуры начала интенВнсивного окисления металла). В противном случае металл под дейстВнвием подогревающего пламени резака будет плавиться и принудиВнтельно удаляться кислородной струей без необходимого окисления, характеризующего процесс газовой резки. При этих условиях шлак не образуется, и расплавляемый металл, трудно удаляемый кислоВнродной струей, будет образовывать на кромках реза наплывы. При этом производительность процесса крайне низкая, рез большой ширины и исключительно неровный.
Низкоуглеродистая сталь этому условию удовлетворяет. ТемпеВнратура ее плавления составляет ~ 1500В° С, а температура восплаВнменения в кислороде 1350тАФ1360В° С. Однако с повышением содержаВнния углерода в стали способность ее поддаваться газовой резке падает (так как температура плавления стали снижается, а темпеВнратура воспламенения в кислороде возрастает). Кроме того, в образующихся при резке шлаках увеличивается количество не окисленного железа, сильно затрудняющего процесс резки из-за образования грата (сплава шлака с металлом), трудно отделяемого от кромок реза. Тем более не поддается газовой резке чугун, содержание углеВнрода в котором составляет более 1, 7%.
Температура плавления металла должна быть выше темпеВнратуры плавления образуемых в процессе резки окислов.
Низкоуглеродистая сталь образует три окисла железа: FeO с температурой плавления 1270В° С, Fe3O4 с температурой плавления 1538В°С и Fe2. O3 с температурой плавления 1562В°С. Допуская, что нее эти окислы железа присутствуют в шлаке, температура плавВнления которого в среднем ниже 1500В° С, можно считать, что низкоВнуглеродистая сталь удовлетворяет и этому условию, тем более, что на поверхности ее при нагревании не образуется пленки тугоВнплавких окислов, препятствующих контакту кислородной струи с металлом. Однако целый ряд металлов и сплавов, например алюминий, магний, сплавы этих металлов, а также высоколегированные стали, содержащие высокий процент хрома, этому условию резки не удовлетворяют. При нагревании этих сплавов в процессе резки на их поверхности образуется пленка тугоплавкого окисла, изолирующая металл от контакта с кислородом.
Тепловой эффект образования окисла металла должен быть достаточно высоким. Это условие диктуется тем, что при резке стали, подогревающее пламя резака сообщает металлу сравнительно неВнбольшую часть теплоты тАФ около 5тАФ30% ее общего количества, выделяемого в процессе резки. Основное же количество теплоты (70тАФ95%) выделяется при окислении металла.
Низкоуглеродистая сталь образует при резке три окисла железа, выделяющих при своем образовании в среднем около 627 тАФ 666, 8 кДж/моль (150тАФ160 ккал/г-мол). Этого количества теплоты окаВнзывается достаточно, для протекания эффективного процесса газовой резки стали.
Иначе обстоит дело с резкой меди и ее сплавов. Помимо высокой тепло производительности меди, сильно затрудняющей начало проВнцесса резки, главной причиной, делающей газовую резку меди неВнвозможной, является низкое тепловыделение при окислении, поВнскольку при образовании СиО выделяется теплоты всего 156, 8 кДж/моль (37, 5 ккал/г-мол), а при образовании Си2О 169, 7 кДж/моль (40, 6 ккал/г-мол). Этого количества теплоты для начала и поддерВнжания процесса резки меди недостаточно, в связи с чем процесс газоВнвой резки этого металла невозможен.
Консистенция образующихся окислов Должна быть жидкой, т. е. появляющиеся при резке шлаки должны быть жидкотекучими. Это условие хорошо выполняется при резке низко- и среднеуглероВндистой стали, низколегированной стали и титановых сплавов.
Газовая резка сплавов, содержащих высокий процент кремния пли хрома сильно затруднена или невозможна. Так, например, неВнвозможна резка серого чугуна, содержащего высокий процент кремния (до 3,5тАФ4,5%), окись которого (SiO2) сильно повышает вязкость.
Теплопроводность металла должна быть возможно низкой. В противном случае бывает трудно, а иногда и невозможно (при большой массе высокотеплопроводного металла) достигнуть конВнцентрированного нагрева металла.
Низкоуглеродистая сталь, теплопроводность которой невелика {коэффициент теплопроводности λ = 0,63 Дж/(см. сК) [λ, = 0,12 кал/(см. -с-В° С]}, не вызывает трудностей ни в начальный момент, ни в процессе резки. В этом случае подогрев металла в начальной точке реза до воспламенения осуществляется быстро, без заметного отвода теплоты в массу разрезаемого металла.
Что касается начального подогрева до воспламенения таких металлов, как медь и алюминий, то для этих металлов из-за высокой теплопроводности начальный подогрев связан с большими трудВнностями и в большинстве случаев становится возможным только после предварительного подогрева разрезаемых листов или загоВнтовок до достаточно высокой температуры (меди до 700тАФ800В° С, алюминия до 300тАФ500В° С). Высокая теплопроводность меди и алюВнминия тАФ одна из причин, затрудняющих и делающих невозможной газовую резку этих металлов.
Анализируя приведенные выше условия газовой резки, можно констатировать, что всем этим условиям хорошо удовлетворяет чистое железо и низкоуглеродистая сталь. С повышением содержаВнния углерода в стали способность ее поддаваться газовой резке падает.
1. А. И. Акулов, Г. А. Бельчук, В. П. Демянцевич ВлТехнология и оборудование сварки плавлениемВ»
2. Г. Б. Евсеев, Д. Л. Глизманенко ВлОборудование и технология газопламенной обработки металлов и неметаллических материаловВ»
3. Г. Л. Петров ВлСварочные материалыВ»
Вместе с этим смотрят:
11-этажный жилой дом с мансардой
14-этажный 84-квартирный жилой дом
16-этажный жилой дом с монолитным каркасом в г. Краснодаре
180-квартирный жилой дом в г. Тихорецке
2-этажный 3-секционный 18-квартирный жилой дом в г. Мирном